- Tổng quan
- Nội dung
- VB gốc
- Tiếng Anh
- Hiệu lực
- VB liên quan
- Lược đồ
-
Nội dung hợp nhất
Tính năng này chỉ có tại LuatVietnam.vn. Nội dung hợp nhất tổng hợp lại tất cả các quy định còn hiệu lực của văn bản gốc và các văn bản sửa đổi, bổ sung, đính chính... trên một trang. Việc hợp nhất văn bản gốc và những văn bản, Thông tư, Nghị định hướng dẫn khác không làm thay đổi thứ tự điều khoản, nội dung.
Khách hàng chỉ cần xem Nội dung hợp nhất là có thể nắm bắt toàn bộ quy định hiện hành đang áp dụng, cho dù văn bản gốc đã qua nhiều lần chỉnh sửa, bổ sung.
- Tải về
Thông tư 13/2012/TT-BCT Quy chuẩn kỹ thuật quốc gia về thuốc nổ Anfo
| Cơ quan ban hành: | Bộ Công Thương |
Số công báo:
Số công báo là mã số ấn phẩm được đăng chính thức trên ấn phẩm thông tin của Nhà nước. Mã số này do Chính phủ thống nhất quản lý.
|
Đã biết
|
| Số hiệu: | 13/2012/TT-BCT | Ngày đăng công báo: |
Đã biết
|
| Loại văn bản: | Thông tư | Người ký: | Nguyễn Nam Hải |
|
Ngày ban hành:
Ngày ban hành là ngày, tháng, năm văn bản được thông qua hoặc ký ban hành.
|
12/06/2012 |
Ngày hết hiệu lực:
Ngày hết hiệu lực là ngày, tháng, năm văn bản chính thức không còn hiệu lực (áp dụng).
|
Đã biết
|
|
Áp dụng:
Ngày áp dụng là ngày, tháng, năm văn bản chính thức có hiệu lực (áp dụng).
|
Đã biết
|
Tình trạng hiệu lực:
Cho biết trạng thái hiệu lực của văn bản đang tra cứu: Chưa áp dụng, Còn hiệu lực, Hết hiệu lực, Hết hiệu lực 1 phần; Đã sửa đổi, Đính chính hay Không còn phù hợp,...
|
Đã biết
|
| Lĩnh vực: | Công nghiệp |
TÓM TẮT THÔNG TƯ 13/2012/TT-BCT
Nội dung tóm tắt đang được cập nhật, Quý khách vui lòng quay lại sau!
Tải Thông tư 13/2012/TT-BCT
|
BỘ CÔNG THƯƠNG Số: 13/2012/TT-BCT |
CỘNG HÒA XÃ HỘI CHỦ NGHĨA VIỆT NAM Hà Nội, ngày 12 tháng 06 năm 2012 |
THÔNG TƯ
BAN HÀNH QUY CHUẨN KỸ THUẬT QUỐC GIA VỀ THUỐC NỔ ANFO
Căn cứ Nghị định số 189/2007/NĐ-CP ngày 27 tháng 12 năm 2007 của Chính phủ quy định chức năng, nhiệm vụ, quyền hạn và cơ cấu tổ chức của Bộ Công Thương và Nghị định số 44/2011/NĐ-CP ngày 14 tháng 6 năm 2011 về sửa đổi, bổ sung Điều 3 Nghị định 189/2007/NĐ-CP ngày 27 tháng 12 năm 2007;
Căn cứ Luật Tiêu chuẩn và Quy chuẩn kỹ thuật ngày 29 tháng 6 năm 2006;
Căn cứ Nghị định số 127/2007/NĐ-CP ngày 01 tháng 8 năm 2007 của Chính phủ quy định chi tiết thi hành một số điều của Luật Tiêu chuẩn và Quy chuẩn kỹ thuật;
Căn cứ Thông tư số 23/2007/TT-BKHCN ngày 28 tháng 9 năm 2007 của Bộ Khoa học và Công nghệ hướng dẫn xây dựng, thẩm định và ban hành quy chuẩn kỹ thuật,
Điều 1. Ban hành kèm theo Thông tư này Quy chuẩn kỹ thuật quốc gia về thuốc nổ Anfo.
Điều 2. Thông tư này có hiệu lực thi hành từ ngày 26 tháng 7 năm 2012.
Điều 3. Chánh Văn phòng Bộ, Chánh Thanh tra Bộ, các Vụ trưởng, Tổng cục trưởng, Cục trưởng thuộc Bộ, Giám đốc Sở Công Thương các tỉnh, thành phố trực thuộc Trung ương, Thủ trưởng các cơ quan, tổ chức và cá nhân có liên quan chịu trách nhiệm thi hành Thông tư này.
|
Nơi nhận: |
KT. BỘ TRƯỞNG |
QCVN 04 : 2012/BCT
QUY CHUẨN KỸ THUẬT QUỐC GIA
VỀ THUỐC NỔ ANFO
National Technical Regulations
on ANFO explosives
Lời nói đầu
QCVN 04 : 2012/BCT do Vụ Khoa học và Công nghệ soạn thảo, trình duyệt; Bộ Khoa học và Công nghệ thẩm định; Bộ Công Thương ban hành kèm theo Thông tư số 13/2012/TT-BCT ngày 12 tháng 6 năm 2012.
QUY CHUẨN KỸ THUẬT QUỐC GIA
VỀ THUỐC NỔ ANFO
National Technical Regulations
on ANFO explosives
1. Quy định chung
1.1. Phạm vi điều chỉnh
Quy chuẩn kỹ thuật này quy định về các chỉ tiêu kỹ thuật, phương pháp thử và các quy định khác đối với thuốc nổ ANFO.
1.2. Đối tượng áp dụng
Quy chuẩn kỹ thuật này áp dụng đối với mọi tổ chức, cá nhân trong nước, nước ngoài hoạt động liên quan tới thuốc nổ ANFO trên lãnh thổ Việt Nam, trừ trường hợp Điều ước Quốc tế mà Việt Nam là thành viên có quy định khác.
1.3. Giải thích từ ngữ
1.3.1. Thuốc nổ: Là hóa chất hoặc hỗn hợp hóa chất được sản xuất, sử dụng nhằm tạo ra phản ứng nổ dưới tác động của các kích thích cơ, nhiệt, hóa hoặc điện.
1.3.2. Khối lượng riêng rời: Là khối lượng của một đơn vị thể tích thuốc nổ ANFO ở trạng thái rời đổ đống hay còn gọi là khối lượng riêng đổ đống hoặc tỷ trọng rắc.
1.4. Tài liệu viện dẫn
1.4.1. QCVN 02 : 2008/BCT Quy chuẩn kỹ thuật quốc gia về an toàn trong bảo quản, vận chuyển, sử dụng và tiêu hủy vật liệu nổ công nghiệp.
1.4.2. Nghị định số 89/2006/NĐ-CP ngày 30 tháng 8 năm 2006 về nhãn hàng hóa.
1.4.3. TCVN 6421 : 1998 Vật liệu nổ công nghiệp - Xác định khả năng sinh công bằng cách đo sức nén trụ chì.
1.4.4. TCVN 6422 : 1998 Vật liệu nổ công nghiệp - Xác định tốc độ nổ.
1.4.5. TCVN 6423 : 1998 Vật liệu nổ công nghiệp - Xác định khả năng sinh công bằng bom chì (Phương pháp Trauzel).
2. Quy định kỹ thuật
2.1. Thành phần chế tạo thuốc nổ ANFO
Thành phần chế tạo thuốc nổ ANFO được nêu trong Bảng 1.
Bảng 1 - Thành phần chế tạo thuốc nổ ANFO
|
TT |
Tên nguyên liệu |
Tỷ lệ khối lượng, % |
|
1 |
Amôni nitrat (NH4NO3 - độ tinh khiết ≥ 98,5%) |
94 ± 0,5 |
|
2 |
Dầu Điêzen |
6 ± 0,5 |
2.2. Chỉ tiêu kỹ thuật của thuốc nổ ANFO
Các chỉ tiêu kỹ thuật của thuốc nổ ANFO được nêu trong Bảng 2.
Bảng 2 - Các chỉ tiêu chất lượng thuốc nổ ANFO
|
TT |
Chỉ tiêu |
Mức |
Phương pháp thử |
|
1 |
Khối lượng riêng rời, g/cm3 |
0,8 ÷ 0,95 |
|
|
2 |
Tốc độ nổ, m/s |
3.000 ÷ 4.500 |
TCVN 6422 : 1998 |
|
3 |
Khả năng sinh công bằng cách đo độ giãn bom chì, cm3 |
300 ÷ 330 |
TCVN 6423 : 1998 |
|
4 |
Sức nén trụ chì, mm |
≥ 15 |
TCVN 6421 : 1998 |
|
5 |
Thời hạn đảm bảo, ngày |
90 |
|
2.3. Bao gói, ghi nhãn
2.3.1. Bao gói
Thuốc nổ ANFO được bao gói trong vỏ bao hai lớp, lớp vỏ trong bằng màng PE, lớp vỏ ngoài bằng bao PP. Khối lượng tịnh mỗi bao 25 kg hoặc khối lượng và quy cách khác theo nhu cầu sử dụng.
2.3.2. Ghi nhãn
Trên vỏ mỗi bao thuốc nổ ANFO phải ghi nhãn đúng theo quy định về nhãn hàng hóa theo Nghị định số 89/2006/NĐ-CP ngày 30 tháng 8 năm 2006 và quy định của quy chuẩn QCVN 02 : 2008/BCT.
2.3.3. Bảo quản, vận chuyển, tiêu hủy
Việc bảo quản, vận chuyển, tiêu hủy thuốc nổ ANFO phải thực hiện theo đúng quy định của quy chuẩn QCVN 02 : 2008/BCT.
3. Phương pháp thử
3.1. Xác định khối lượng riêng rời
3.1.1. Nguyên tắc
Khối lượng riêng rời của thuốc nổ ANFO được xác định bằng cách đổ tự do thuốc nổ từ một khoảng cách nhất định vào dụng cụ đã biết trước thể tích. Từ thể tích dụng cụ và khối lượng thuốc nổ ANFO đã chiếm chỗ xác định được khối lượng riêng rời.
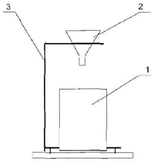
3.1.2. Thiết bị, dụng cụ
3.1.2.1. Cân phân tích, độ chính xác đến 10-4g.
3.1.2.2. Bộ dụng cụ xác định khối lượng riêng rời (hình 1).
3.1.2.3. Thước gạt.
3.1.2.4. Nước cất, theo TCVN 4851-1989
3.1.2.5. Hỗn hợp K2Cr2O7/H2SO4.
3.1.2.6. Bình hút ẩm.
3.1.3. Tiến hành
3.1.3.1. Xác định khối lượng riêng rời được tiến hành trong phòng thí nghiệm có độ ẩm không khí Wa <>
3.1.3.2. Rửa sạch các bình hứng bằng hỗn hợp K2Cr2O7/H2SO4, tráng lại bằng nước cất 3 lần. Sấy khô bình hứng ở 100 - 105 0C; để nguội trong bình hút ẩm đến nhiệt độ phòng rồi cân và ghi khối lượng G1i.
3.1.3.3. Đặt bình hứng dưới phễu sao cho đáy phễu hướng đồng trục với tâm của bình hứng, đáy phễu cách mặt bình hứng khoảng 15÷20 mm. Cố định khoảng cách này trong cả quá trình làm thí nghiệm.
3.1.3.4. Đổ thuốc nổ ANFO vào phễu sao cho nó rơi xuống đầy bình hứng phía dưới. Dùng thước phẳng gạt ngang mặt bình hứng. Cân khối lượng bình hứng đã chứa thuốc nổ và ghi khối lượng G2i.

CHÚ DẪN:
1- Bình hứng
2- Phễu
3- Giá đỡ
Hình 1. Bộ dụng cụ để xác định khối lượng riêng rời
3.1.4. Tính kết quả
3.1.4.1. Khối lượng riêng rời của thuốc nổ ANFO trong từng lần thử (Si) được tính theo công thức:

Trong đó:
- Vi là thể tích bình hứng thứ i, cm3.
- G1i là khối lượng bình hứng trong lần thử thứ i, gam
- G2i là khối lượng bình hứng và mẫu trong lần thử thứ i, gam.
- i là thứ tự lần thử từ 1 đến 3.
3.1.4.2. Thí nghiệm được lặp lại 3 lần để lấy kết quả trung bình. Chênh lệch kết quả giữa các lần thí nghiệm không được lớn hơn 0,05 g/cm3.
3.2. Xác định thành phần thuốc nổ
3.2.1. Nguyên tắc
Dùng bộ chiếc soclet để tách dầu diêzen khỏi thuốc nổ ANFO, sau đó cân để xác định lượng dầu. Hiệu số khối lượng giữa mẫu thuốc nổ và dầu diêzen chính là khối lượng Amôni nitrat.
3.2.2. Dụng cụ và hóa chất:
- Cân phân tích độ chính xác đến 10-4g.
- Chén cân.
- Cốc 250 ml.
- Bộ chiết soclet.
- Bếp cách thủy.
- Túi vải mịn hoặc giấy lọc định tính.
- Điêtyl ête.
- Nước dùng để phân tích trong phòng thí nghiệm, theo TCVN 4851 : 1989.
3.2.3. Tiến hành
3.2.3.1. Rửa sạch, sấy khô và cân khối lượng của cốc 250 ml, g.
3.2.3.2. Cân khoảng 50g mẫu (M) cho vào túi vải mịn hoặc giấy lọc định tính, gói thành cuộn hình trụ để có thể đưa vào phễu bộ chiết soclet. Đặt mẫu vào phễu của bộ chiết, lấy 200 ml Điêtyl ête đổ vào bộ chiết cùng vài viên đá bọt. Lắp hệ thống sinh hàn đảm bảo nhiệt độ nước sinh hàn không vượt quá 30 0C (trường hợp thời tiết nóng), lắp kín toàn bộ hệ thống.
3.2.3.3. Đặt toàn bộ lên bếp cách thủy và duy trì nhiệt độ của hệ thống ở 65÷750C trong 90 phút. Trong quá trình chiết có thể thêm khoảng 100 ml Điêtyl ête vào hệ thống để bù cho lượng bay hơi.
3.2.3.4. Thu toàn bộ lượng Điêtyl ête còn ở bình chiết và trên phễu chiết vào cốc 250 ml. Làm bay hơi hết Điêtyl ête trên bếp cách thủy và cân khối lượng cốc sau khi đun cạn (G1). Tiến hành cân với độ chính xác đến 10-4 g. Thực hiện phân tích mẫu ba lần.
3.2.4. Tính kết quả
3.2.4.1. Tỷ lệ dầu nhiên liệu (XD), tính theo phần trăm khối lượng, được xác định theo công thức:
Trong đó:
- G1 là khối lượng cốc sau khi bay hơi hết Điêtyl ête, gam;
- G2 là khối lượng ban đầu của cốc, gam;
- M là khối lượng mẫu, gam
3.2.4.2. Tỷ lệ thành phần của Amôni nitrat (XAN), tính theo phần trăm khối lượng, được xác định theo công thức:
XAN = 100 - XD, %
3.3. Xác định khả năng sinh công bằng cách đo độ dãn bom chì
Thực hiện theo TCVN 6423 : 1998 Vật liệu nổ công nghiệp - Xác định khả năng sinh công bằng bom chì.
3.4. Xác định sức nén trụ chì
Thực hiện theo TCVN 6421 : 1998 Vật liệu nổ công nghiệp - Xác định khả năng sinh công bằng cách đo sức nén trụ chì.
3.5. Xác định tốc độ nổ
Thực hiện theo TCVN 6422 : 1998 Vật liệu nổ công nghiệp - Xác định tốc độ nổ.
4. Tổ chức thực hiện
4.1. Vụ Khoa học và Công nghệ thuộc Bộ Công Thương có trách nhiệm phối hợp với các cơ quan liên quan hướng dẫn, kiểm tra, giám sát việc thực hiện Quy chuẩn kỹ thuật này.
4.2. Các tổ chức, cá nhân có liên quan đến hoạt động vật liệu nổ công nghiệp trên lãnh thổ Việt Nam tuân thủ quy định tại Quy chuẩn kỹ thuật này.
4.3. Trường hợp các tài liệu viện dẫn trong Quy chuẩn kỹ thuật này có sửa đổi, bổ sung hoặc thay thế thì áp dụng theo quy định của văn bản mới./.
Bạn chưa Đăng nhập thành viên.
Đây là tiện ích dành cho tài khoản thành viên. Vui lòng Đăng nhập để xem chi tiết. Nếu chưa có tài khoản, vui lòng Đăng ký tại đây!
Bạn chưa Đăng nhập thành viên.
Đây là tiện ích dành cho tài khoản thành viên. Vui lòng Đăng nhập để xem chi tiết. Nếu chưa có tài khoản, vui lòng Đăng ký tại đây!