- Tổng quan
- Nội dung
- Tiêu chuẩn liên quan
- Lược đồ
- Tải về
Tiêu chuẩn Quốc gia TCVN 11069-1:2015 ISO/TS 14256-1:2003 Chất lượng đất-Xác định nitrat, nitrit và amoni trong đất ẩm hiện trường bằng cách chiết với dung dịch kali clorua-Phần 1: Phương pháp thủ công
| Số hiệu: | TCVN 11069-1:2015 | Loại văn bản: | Tiêu chuẩn Việt Nam |
| Cơ quan ban hành: | Bộ Khoa học và Công nghệ | Lĩnh vực: | Tài nguyên-Môi trường |
|
Ngày ban hành:
Ngày ban hành là ngày, tháng, năm văn bản được thông qua hoặc ký ban hành.
|
2015 |
Hiệu lực:
|
Đã biết
|
| Người ký: | Đang cập nhật |
Tình trạng hiệu lực:
Cho biết trạng thái hiệu lực của văn bản đang tra cứu: Chưa áp dụng, Còn hiệu lực, Hết hiệu lực, Hết hiệu lực 1 phần; Đã sửa đổi, Đính chính hay Không còn phù hợp,...
|
Đã biết
|
TÓM TẮT TIÊU CHUẨN VIỆT NAM TCVN 11069-1:2015
Nội dung tóm tắt đang được cập nhật, Quý khách vui lòng quay lại sau!
Tải tiêu chuẩn Việt Nam TCVN 11069-1:2015
TIÊU CHUẨN QUỐC GIA
TCVN 11069-1:2015
ISO/TS 14256-1:2003
CHẤT LƯỢNG ĐẤT - XÁC ĐỊNH NITRAT, NITRIT VÀ AMONI TRONG ĐẤT ẨM HIỆN TRƯỜNG BẰNG CÁCH CHIẾT VỚI DUNG DỊCH KALI CLORUA - PHẦN 1: PHƯƠNG PHÁP THỦ CÔNG
Soil quality - Determination of nitrate, nitrite and ammonium in field-moist soils by extraction with potassium chloride solution - Part 1: Manual method
Lời nói đầu
TCVN 11069-1:2015 hoàn toàn tương đương với ISO 14256-1:2003. ISO/TS 14256-1:2003 đã được rà soát và phê duyệt lại vào năm 2015 với bố cục và nội dung không thay đổi.
TCVN 11069-1:2015 do Ban kỹ thuật tiêu chuẩn quốc gia TCVN/TC 190 Chất lượng đất biên soạn, Tổng cục Tiêu chuẩn Đo lường Chất lượng đề nghị, Bộ Khoa học và Công nghệ công bố.
Bộ TCVN 11069 (ISO 14256) Chất lượng đất - Xác định nitrat, nitrit và amoni trong đất ẩm hiện trường bằng cách chiết với dung dịch kali clorua gồm các tiêu chuẩn sau:
- TCVN 11069-1:2015 (ISO/TS 14256-1:2003) Phần 1: Phương pháp thủ công;
- TCVN 11069-2:2015 (ISO 14256-2:2004) Phần 2: Phương pháp tự động với phân tích dòng chảy phân đoạn,
CHẤT LƯỢNG ĐẤT - XÁC ĐỊNH NITRAT, NITRIT VÀ AMONI TRONG ĐẤT ẨM HIỆN TRƯỜNG BẰNG CÁCH CHIẾT VỚI DUNG DỊCH KALI CLORUA - PHẦN 1: PHƯƠNG PHÁP THỦ CÔNG
Soil quality - Determination of nitrate, nitrite and ammonium in field-moist soils by extraction with potassium chloride solution - Part 1: Manual method
1 Phạm vi áp dụng
Tiêu chuẩn này quy định phương pháp xác định nitrat, nitrit và amoni trong dịch chiết mẫu đất ẩm hiện trường bằng kali clorua 1 mol/L.
Tiêu chuẩn này áp dụng cho mọi loại đất đã được làm đồng nhất theo các phương pháp thích hợp.
2 Tài liệu viện dẫn
Các tài liệu viện dẫn sau rất cần thiết cho việc áp dụng tiêu chuẩn này. Đối với các tài liệu viện dẫn ghi năm công bố thì áp dụng phiên bản được nêu. Đối với các tài liệu viện dẫn không ghi năm công bố thì áp dụng phiên bản mới nhất, bao gồm cả các sửa đổi, bổ sung (nếu có).
TCVN 4851:1989 (ISO 3696:1987) Nước dùng cho phòng thí nghiệm - Yêu cầu kỹ thuật và phương pháp thử.
TCVN 6648:2000 (ISO 11465:1993), Chất lượng đất - Xác định chất khô và hàm lượng nước theo khối lượng - Phương pháp khối lượng.
3 Nguyên tắc
Mẫu đất đã được làm đồng nhất được chiết bằng dung dịch kali clorua 1 mol/L. Nồng độ của hợp chất nitơ vô cơ nitrat, nitrit và amoni trong dịch chiết được xác định bằng phương pháp quang phổ.
4 Xử lý mẫu đất
Tránh để mẫu đất bị nóng lên trong quá trình lấy mẫu.
Vận chuyển đến phòng thử nghiệm phải được bố trí theo cách không làm mẫu bị nóng. Nên vận chuyển trong hộp lạnh, đặc biệt trong giai đoạn cuối mùa xuân và mùa hè.
Nếu mẫu được phân tích trong vòng ba ngày, chỉ cần bảo quản mẫu ở 4 °C là đủ, nếu không thể, mẫu cần được bảo quản ở - 20 °C (làm đông lạnh sâu) để đảm bảo lưu giữ trong vài tuần, không có bất kỳ thay đổi đáng kể nào trong thành phần của nitơ khoáng.
Khi xác định thành phần nitơ khoáng trong mẫu đất đã được làm đông lạnh sâu, nhiệt độ và khoảng thời gian của quá trình tan băng cần phải được kiểm soát. Mẫu có thể được làm tan băng ở nhiệt độ phòng, nếu chúng được làm đồng nhất và được chiết trong vòng 4 h sau khi bắt đầu quá trình tan băng. Cũng có thể tan băng ở 4 °C, nhưng khoảng thời gian tan băng không được vượt quá 48 h.
Khoảng thời gian cần cho quá trình tan băng bị ảnh hưởng nhiều bởi cỡ mẫu. Kích thước mẫu đất trước khi làm đông lạnh sâu nên nhỏ như mẫu dùng cho phân tích.
5 Mẫu phòng thí nghiệm
Mẫu phòng thí nghiệm được tạo ra bằng cách làm đồng nhất mẫu đất ban đầu, hoặc mẫu đất được làm đông lạnh sâu và tan băng. Quá trình làm đồng nhất có thể thực hiện bằng cách trộn kỹ toàn bộ mẫu đất, bằng tay hoặc sử dụng máy trộn cơ học để đảm bảo rằng các hạt kết của đất được chia thành các hạt có đường kính nhỏ hơn 5 mm.
Sử dụng găng tay cao su khi trộn đất bằng tay.
Sử dụng một phần mẫu phòng thí nghiệm để xác định hàm lượng nước theo TCVN 6648 (ISO 11465).
Nếu mẫu đất không thể phân tích trong khoảng thời gian đã đưa ra ở trên đối với mẫu đất tươi, do vậy mẫu phải được làm đông lạnh sâu, nên đồng nhất mẫu trước khi làm đông lạnh và chỉ làm đông lạnh lượng đất cần cho phân tích (xem Điều 4).
6 Cách tiến hành
6.1 Chiết
6.1.1 Nguyên tắc
Mẫu đất ẩm hiện trường được chiết bằng dung dịch kali clorua 1 mol/I với tỷ lệ 1:5 (nồng độ khối lượng) ở 20 °C ± 2 °C. Sau chiết 1 h, ly tâm dung dịch để xác định hợp chất nitơ vô cơ trong dung dịch nổi phía trên.
Trong các điều kiện khí hậu khác, có thể chọn nhiệt độ không đổi khác. Nhiệt độ chiết được dùng phải được nêu trong báo cáo thử nghiệm.
CHÚ THÍCH 1: Quá trình chiết được thực hiện tại nhiệt độ không đổi gần bằng 20 °C ± 2 °C bởi vì nhiệt độ trong quá trình chiết làm ảnh hưởng đến lượng nitơ amoni có thể chiết được[1].
Nên tiến hành ly tâm bởi vì phần lớn giấy lọc hấp thụ amoni hoặc có thể gây nhiễm bẩn mẫu. Khi dịch chiết được lọc, giấy lọc cần phải được bảo quản ít nhất một tuần trong bình hút ẩm trên axit sunfuric đậm đặc hoặc môi trường làm khô có chứa axit sunfuric, và phải đổ bỏ 20 mL dịch lọc đầu tiên.
Cách khác, có thể thu được dung dịch nổi phía trên bằng cách để đất lắng trong 4 h ở nhiệt độ không quá 4 °C.
6.1.2 Thuốc thử
Chỉ sử dụng thuốc thử cấp phân tích được công nhận.
6.1.2.1 Nước với độ dẫn điện riêng không lớn hơn 0,2 mS/m tại 25 °C [loại 2 theo TCVN 4851 (ISO 3696)].
6.1.2.2 Dung dịch kali clorua, c(KCI) = 1 mol/L.
Hòa tan 74,55 g kali clorua (KCI) trong nước (6.1.2.1). Thêm nước đến 1 L.
6.1.3 Thiết bị, dụng cụ
6.1.3.1 Cân, độ chính xác 0,1 g và 0,001 g.
6.1.3.2 Bình polyten, có dung tích danh định 500 mL, có nắp vặn hoặc các bình chứa phù hợp khác không hấp thụ nitrit hoặc amoni và không giải phóng chúng vào dung dịch.
6.1.3.3 Máy lắc, đảo ngược, tần suất 40 min-1.
6.1.3.4 Máy ly tâm, có khả năng giữ các ống có dung tích danh định 100 mL.
6.1.3.5 Ống ly tâm polyten, dung tích danh định 100 mL.
6.1.3.6 Bình thủy tinh, loại bình nón Erlenmeyer, dung tích danh định 100 mL.
6.1.4 Cách tiến hành
Cân 40,0 g mẫu phòng thí nghiệm vào bình (6.1.3.2). Thêm 200 mL dung dịch kali clorua (6.1.2.2) ở nhiệt độ 20 °C. Lắc bằng máy lắc cơ học (6.1.3.3) trong 1 h ở 20 °C ± 2 °C. Gạn khoảng 60 ml huyền phù dịch chiết cho vào ống ly tâm (6.1.3.5) và ly tâm bằng máy (6.1.3.4) trong 10 min ở khoảng 3000 g. Gạn dung dịch nổi phía trên vào bình thủy tinh (6.1.3.6) và đo hàm lượng nitrat, nitrit và amoni, như mô tả tại quy trình sau (6.2, 6.3 và 6.4, tương ứng) sử dụng các phần mẫu nhỏ phù hợp.
Cũng tiến hành phép thử mẫu trắng bằng cách chỉ thêm dung dịch kali clorua (6.1.2.2) vào bình polyten (6.1.3.2).
Đo thành phần nitơ liên quan cần phải được tiến hành ngay, muộn nhất là một ngày sau khi chiết. Nếu không thể thực hiện được, dịch chiết cần phải được bảo quản tại nhiệt độ không quá 4 °C trong tủ lạnh, nhiều nhất trong một tuần.
CHÚ THÍCH: Ngoài việc sử dụng phương pháp thủ công, cũng có thể thực hiện phân tích dòng chảy liên tục. Phương pháp này được nêu tại TCVN 11069-2 (ISO 14256-2)[13].
6.2 Xác định tổng nitrat và nitrit
6.2.1 Nguyên tắc
Nitrat trong dịch chiết đất được khử thành nitrit bằng cách cho dịch chiết đi qua cột khử có chứa bột cadimi đồng hóa. Nitrit có trong đất ban đầu, và nitrit được tạo ra do quá trình khử, tạo thành một hợp chất diazo trong môi trường axit sau khi cho sulfanilamit và N-(1-naphthyl) etylendiamin dihydroclorua (thuốc thử Griess-llosvay). Độ hấp thụ của dung dịch được đo ở bước sóng 543 nm.
Dưới các điều kiện hiếu khí, hàm lượng nitrit trong đất được bỏ qua. Trong trường hợp này, xác định hàm lượng nitrit là không cần thiết, và phương pháp cho hàm lượng nitrat trực tiếp.
6.2.2 Thiết bị, dụng cụ
Thiết bị phòng thí nghiệm thông thường, và các thiết bị dụng cụ sau.
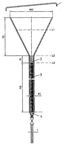
6.2.2.1 Cột khử theo như Hình 1.
Kích thước tính bằng milimét

CHÚ DẪN
1 nắp
2 nút làm từ bông coton (6.2.2.3)
3 bột cadimi thô (6.2.3.7)
4 nút làm từ bông coton (6.2.2.3)
Hình 1 - Cột khử nitrat thành nitrit
6.2.2.2 Máy đo quang phổ, phù hợp đo tại bước sóng 543 nm, cùng với cuvet có chiều dài quang học 10 mm.
6.2.2.3 Bông, sạch và chịu hóa chất, không có nitơ tự do, ví dụ bông coton.
6.2.2.4 pH-met có điện cực bằng thủy tinh và điện cực chuẩn hoặc điện cực kết hợp có tính năng hoạt động tương đương.
6.2.3 Thuốc thử
6.2.3.1 Nước có độ dẫn điện riêng không lớn hơn 0,2 mS/m tại 25 °C [nước loại 2 theo TCVN 4851 (ISO 3696)].
6.2.3.2 Natri nitrat (NaNO3)
6.2.3.2.1 Dung dịch nitrat gốc, ρ(NO3-N) = 600 mg/L.
Hòa tan 3,641 g natri nitrat (6.2.3.2) trong nước và thêm nước đến 1 L.
Dung dịch này bên trong 6 tháng, nếu bảo quản trong bình thủy tinh tối ở 4 °C.
6.2.3.2.2 Dung dịch chuẩn nitrat, ρ(NO3-N) = 6 mg/L.
Dùng pipet lấy 10 mL dung dịch gốc (6.2.3.2.1) vào bình định mức 1 L và thêm nước đến vạch mức. Dung dịch này được chuẩn bị trong ngày.
6.2.3.3 Natri nitrit (NaNO2)
6.2.3.3.1 Dung dịch gốc nitrit, ρ(NO2-N) = 600 mg/L.
Hòa tan 2,958 g natri nitrit (6.2.3.3) trong nước và thêm nước đến 1 L.
Dung dịch này bền trong 6 tháng, nếu bảo quản trong bình thủy tinh tối ở 4 °C.
6.2.3.3.2 Dung dịch chuẩn nitrit, ρ(NO2-N ) = 6 mg/L.
Dùng pipet lấy 10 mL dung dịch gốc (6.2.3.3.1) vào bình định mức 1 L và thêm nước đến vạch mức. Dung dịch này được chuẩn bị trong ngày.
6.2.3.4 Amoni clorua (NH4CI)
6.2.3.5 Dung dịch amon, w(NH4OH) = 6 %. Hòa tan khoảng 250 mL dung dịch amon đậm đặc, w(NH4OH) = 32%, vào khoảng 500 mL nước. Thêm nước đến 1 L.
6.2.3.6 Dung dịch đệm amoni clorua (pH 8,7 đến 8,8).
6.2.3.6.1 Dung dịch gốc, ρ(NH4CI) = 100 g/L.
Hòa tan vào bình định mức 100 g amoni clorua (6.2.3.4) trong khoảng 0,8 L nước. Điều chỉnh pH nằm trong khoảng từ 8,7 đến 8,8 bằng dung dịch amon (6.2.3.5) và thêm nước đến 1 L.
6.2.3.6.2 Dung dịch đệm pha loãng, ρ(NH4CI) = 10 g/L.
Pha loãng 100 mL dung dịch gốc (6.2.3.6.1) thành 1 L bằng nước.
6.2.3.7 Bột cadimi thô (cỡ hạt 0,3 mm đến 0,8 mm).
6.2.3.8 Axit phosphoric, w(H3PO4) = 80%.
6.2.3.9 Axit clohydric, ρ(HCI) = 1,12 kg/L.
6.2.3.10 Sunfanilamit, C6H6N2O2S.
6.2.3.11 Dung dịch sunfanilamit.
Trong một bình định mức 1000 mL có chứa khoảng 600 mL nước, thêm 200 mL axit phosphoric (6.2.3.8), trộn đều và hòa tan 80 g sulfanilamit (6.2.3.10) vào đó. Thêm nước đến vạch mức. Dung dịch này có thể bảo quản được ít nhất một năm trong tủ lạnh.
6.2.3.12 N-(1-naphtyl)etylendiamin dihydroclorua, C12H16N2Cl2.
6.2.3.12.1 Dung dịch N-(1-naphtyl)etylendiamin dihydroclorua.
Hòa tan 0,40 g N-(1-naphtyl)etylendiamin dihydroclorua (6.2.3.12) trong 100 mL nước. Dung dịch này cần phải bảo quản trong tủ lạnh. Loại bỏ thuốc thử khi thuốc thử trở nên tối màu.
6.2.3.13 Thuốc thử màu
Trộn 20 mL dung dịch sunfanilamit (6.2.3.11), 20 mL dung dịch N-(1-naphtyl)etylendiamin dihydroclorua (6.2.3.12.1) và 20 mL axit phosphoric (6.2.3.8). Bảo quản dung dịch này trong tủ lạnh và đổ bỏ chúng khi trở nên tối màu.
6.2.3.14 Đồng sunphat, CuSO4.5H2O.
6.2.4 Chuẩn bị bước khử
6.2.4.1 Chuẩn bị cadimi đồng hóa
Phủ lên 10 g bột cadimi (6.2.3.7) bằng axit clohydric (6.2.3.9) và trộn đều trong 10 min. Sau đó rửa ít nhất năm lần bằng nước.
Sau khi rửa, phủ lên bột cadimi bằng nước. Sau đó, thêm khoảng 0,5 g đồng sunphat (6.2.3.14). Trộn trong 1 min. Sau đó rửa ít nhất mười lần bằng nước cho đến Khi loại bỏ hết đồng đen bị keo tụ.
Phủ lên lớp bột trên lần nữa bằng axit clohydric (6.2.3.9) và trộn đều trong 1 min. Rửa ít nhất năm lần bằng nước.
Bột cadimi đã chuẩn bị cần phải được sử dụng trong vòng 1 h để chuẩn bị cột khử (6.2.4.2). Giữ bột trong nước cho đến khi sử dụng.
6.2.4.2 Chuẩn bị cột khử
Hình 1 chỉ ra cột khử có kích thước theo khuyến nghị. Để làm đầy và làm trống cột dễ dàng, phần giữa của cột phải được làm bằng oxit silic (silica).
Đặt một nút bông nhỏ (6.2.2.3) ở đáy của cột. Sau đó làm đầy cột bằng nước đến mức L1 và tắt khóa nước. Thêm cadimi đã đồng hóa (6.2.4.1) vào cột từ từ, cho đến khi đạt đến mức L3 (Hình 1).
Gõ nhẹ vào cột trong quá trình làm đầy để lắng cadimi. Đặt một nút bông nhỏ lên trên đỉnh của cột.
CHÚ THÍCH 1: Nút này sẽ làm dừng sự chảy thêm, khi bề mặt dung dịch thải đã đạt đến mức L2. Nút này cũng hoạt động như một cái lọc có thể thay thế khi cần.
Nếu cột không được sử dụng trong vòng 1 h, rót dung dịch đệm pha loãng (6.2.3.6.2) vào cột, cho đến khi đạt đến mức L1. Để chảy khoảng 2 mL. Sau đó đóng khóa. Đặt một cái nắp lên bề mặt của phễu để tránh sự bay hơi và tránh bụi. Theo cách này, cột có thể được bảo quản trong vài tuần. Tuy nhiên, kiểm tra hiệu suất cột theo 6.2.5.5, trước khi sử dụng cột lại.
CHÚ THÍCH 2: Cadimi đã chuẩn bị mà không cần làm đầy cột ngay có thể được sấy khô và bảo quản cho những lần chuẩn bị lại sau này.
6.2.5 Cách tiến hành
6.2.5.1 Chuẩn bị cột khử cho từng loạt phân tích
Mở khóa. Để dung dịch đệm pha loãng chảy ra ngoài cột. Nếu cần, tráng phễu nhiều lần bằng nước để loại bỏ muối từ bề mặt của chúng.
Thấm qua cột:
- 20 mL dung dịch đệm pha loãng (6.2.3.6.2);
- 20 mL dung dịch đệm đậm đặc (6.2.3.6.1);
- 20 mL dung dịch đệm pha loãng (6.2.3.6.2);
Khi các thể tích dung dịch đệm này đã chảy qua, cột đã sẵn sàng cho một loạt quy trình khử.
6.2.5.2 Bước khử
Đóng khóa. Tiến hành khử từng dung dịch dưới đây như sau:
Rót 1 mL
- hoặc dung dịch chiết trắng (BE) thu được theo 6.1.4;
- hoặc dung dịch chiết (SE) thu được theo 6.1.4;
- hoặc dung dịch chuẩn nitrat (NAS) (6.2.3.2.2);
- hoặc dung dịch chuẩn nitrit (NIS) (6.2.3.3.2);
- hoặc dung dịch chuẩn không (ZS) (nước).
Sau khi dung dịch chảy qua, tiến hành các bước sau:
a) Cho thêm 10 mL dung dịch đệm (6.2.3.6.2) vào phễu.
b) Mở khóa và thu lấy dịch chảy ra vào ống dung tích 30 mL Quá trình thấm sẽ dừng khi bề mặt của dung dịch chạm đến đỉnh của nút bông (6.2.2.3) tại mức L2 (xem Hình 1). Tại thời điểm này, thêm 20 mL dung dịch đệm (6.2.3.6.2) vào phễu. Khi dung dịch này đã chảy hết, tháo ống thu dung dịch đã khử. Tráng thêm cột bằng 10 mL dung dịch đệm (6.2.3.6.2).
6.2.5.3 Phát triển màu
Cho thêm 0,20 mL thuốc thử màu (6.2.3.13) vào từng ống chứa dịch đã khử. Lắc đều. Để yên trong khoảng từ 60 min đến 90 min ở nhiệt độ phòng.
6.2.5.4 Đo quang phổ
Sử dụng máy đo quang phổ (6.2.2.2) đo độ hấp thụ của dịch chiết đất (SE), (xem 6.1.4), dịch chiết trắng (xem 6.1.4), dung dịch chuẩn nitrat (NAS), (xem 6.2.3.2.2), dung dịch chuẩn nitrit (NIS) (xem G.2.3.3.2) và dung dịch chuẩn không [ZS (nước)] tại 543 mm.
Nồng độ tổng nitrat và nitrit trong dịch chiết đất không được vượt quá nồng độ nitrat của dung dịch chuẩn nitrat, hoặc không được vượt quá phần tuyến tính của đường chuẩn. Nếu điều này xảy ra, pha loãng dịch chiết đất phù hợp bằng dung dịch chiết (6.1.2.2) và lặp lại quy trình đã nêu ở trên (6.2.5.2 đến 6.2.5.4).
6.2.5.5 Đánh giá độ thu hồi nitrat
So sánh độ hấp thụ của dung dịch chuẩn nitrat với độ hấp thụ của dung dịch chuẩn nitrit. Độ hấp thụ này không được sai khác quá 5%. Nếu chúng vượt quá 5%, loại bỏ bột cadimi ra khỏi cột và chuẩn bị lại theo 6.2.4.
6.2.5.6 Tính hàm lượng nitơ trong đất
Hàm lượng cả hai dạng nitơ, nitrat và nitrit trong đất, biểu thị bằng miligam nitơ trên kilogam của mẫu đất sấy khô, w[NO3+NO2)-N], được tính theo Công thức (1):
|
| (1) |
Trong đó
| 6 | là nồng độ khối lượng của dung dịch chuẩn nitrat, tính bằng miligam nitrat-nitơ trên lít của dung dịch [mg(NO3-N)/L]; | |
| αSE | là độ hấp thụ của dịch chiết đất; | |
| αBE | là độ hấp thụ của dịch chiết mẫu trắng; | |
| αNAS | là độ hấp thụ của dung dịch chuẩn nitrat; | |
| αZS | là độ hấp thụ của dung dịch chuẩn không; | |
| D | là hệ số được dùng khi pha loãng dịch chiết mẫu đất ban đầu; Hệ số này bằng thể tích cuối cùng của dung dịch chiết đã pha loãng, chia cho thể tích dung dịch chiết được dùng để pha loãng; | |
| R | là hệ số đưa vào tính toán tỷ lệ của thể tích của dung dịch với khối lượng của mẫu đất sấy khô sau khi chiết. Hệ số này được biểu thị bằng mililit trên gam, và được tính theo Công thức (2); | |
|
| (2) | |
Trong đó
VES là thể tích của dung dịch chiết, tính bằng mililit;
mS là khối lượng đất ẩm được dùng để chiết, tính bằng gam;
ww là phần khối lượng (tính theo phần trăm) của hàm lượng nước dựa trên mẫu đất khô, được xác định theo TCVN 6648 (ISO 11465).
CHÚ THÍCH 1: Dung dịch của mẫu đất ẩm làm tăng đáng kể thể tích của dịch chiết đất, khi được so sánh với thể tích của dung dịch chiết. Yếu tố này được tính đến bằng công thức để tính R.
CHÚ THÍCH 2: Theo các công thức nêu ở trên (xem 6.1), VES bằng 200 mL, và mS bằng 40 g.
6.3 Xác định nitrit
6.3.1 Nguyên tắc
Nitrit ban đầu có trong đất tạo thành một hợp chất diazo trong môi trường axit sau khi cho sulfanilamit và N-(naphtyl)etylendiamin dihydrodoma (thuốc thử Griess-llosvay). Độ hấp thụ của nó được đo tại bước sóng 543 nm.
6.3.2 Thiết bị, dụng cụ
Thiết bị phòng thí nghiệm thông thường, và các thiết bị, dụng cụ sau
6.3.2.1 Máy đo quang phổ, phù hợp để đo tại bước sóng 543 nm, cùng với cuvet có chiều dài quang học 10 mm.
6.3.3 Thuốc thử
6.3.3.1 Nước có độ dẫn điện riêng không lớn hơn 0,2 mS/m tại 25 °C [nước loại 2 theo TCVN 4851 (ISO 3696)].
6.2.3.2 Natri nitrit, (NaNO2)
6.2.3.2.1 Dung dịch nitrit gốc, ρ(NO2-N) = 600 mg/L.
Hòa tan 2,958 g natri nitrit (6.3.3.2) trong 500 mL nước và thêm nước đến 1 L.
Dung dịch này bên trong 6 tháng, nếu bảo quản trong bình thủy tinh tối ở 4 °C.
6.3.3.2.2 Dung dịch chuẩn nitrit, ρ(NO2-N) = 6 mg/L.
Dùng pipet lấy 10 mL dung dịch gốc (6.3.3.2.1) vào bình định mức 1 L và thêm nước đến vạch mức. Dung dịch này được chuẩn bị trong ngày.
6.3.3.3 Amoni clorua (NH4CI)
6.3.3.4 Axit phosphoric, w(H3PO4) = 80 %.
6.3.3.5 Sunfanilamit, C6H8N2O2S.
6.3.3.6 Dung dịch sunfanilamit.
Trong một bình định mức 1000 mL có chứa khoảng 600 mL nước, thêm 200 mL axit phosphoric (6.3.3.4), trộn đều và hòa tan 80 g sulfanilamit (6.3.3.5) vào đó. Thêm nước đến vạch mức. Dung dịch này có thể bảo quản được ít nhất một năm trong tủ lạnh.
6.3.3.7 N-(1-naphtyl)etylendiamin dihydroclorua, C12H16N2Cl2.
6.3.3.7.1 Dung dịch N-(1-naphtyl)etylendiamin dihydroclorua.
Hòa tan 0,40 g N-(1-naphtyl)etylendiamin dihydroclorua (6.3.3.7) trong 100 mL nước. Dung dịch này cần phải bảo quản trong tủ lạnh. Loại bỏ thuốc thử khi thuốc thử trở nên tối màu.
6.3.3.8 Thuốc thử màu
Trộn 20 mL dung dịch sunfanilamit (6.3.3.6), 20 mL dung dịch N-(1-naphtyl)etylendiamin dihydroclorua (6.3.3.7.1) và 20 mL axit phosphoric (6.3.3.4). Bảo quản dung dịch này trong tủ lạnh và loại bỏ dung dịch khi trở nên tối màu.
6.3.4 Cách tiến hành
Chuẩn bị các ống 30 mL có chứa 1,00 mL
- hoặc dung dịch chiết (SE) thu được theo 6.1.4;
- hoặc dung dịch chiết trắng (BE) thu được theo 6.1.4;
- hoặc dung dịch chuẩn nitrit (NIS) (6.3.3.2.2);
- hoặc dung dịch chuẩn không (ZS) (nước).
Cho vào mỗi ống 20 mL nước
Cho thêm 0,20 mL thuốc thử màu (6.3.3.8) vào từng ống chứa dung dịch ở trên. Lắc đều. Để yên trong khoảng từ 60 min đến 90 min ở nhiệt độ phòng.
Sử dụng máy đo quang phổ (6.3.2.1) đo độ hấp thụ của dịch chiết đất (SE), (xem 6.1.4), dịch chiết trắng (BE) (xem 6.1.4), dung dịch chuẩn nitrit (NIS) (xem 6.3.3.2.2) và dung dịch chuẩn không [ZS (nước)] tại 543 nm.
Nồng độ nitrit trong dịch chiết đất không vượt quá nồng độ nitrit của dung dịch chuẩn nitrit, hoặc phần tuyến tính của đường chuẩn không bị vượt quá. Nếu điều này xảy ra, pha loãng dịch chiết đất phù hợp bằng dung dịch chiết KCI (6.1.2.2) và lặp lại phép đo.
6.3.5 Tính kết quả
Hàm lượng nitrit trong đất, biểu thị bằng miligam nitơ trên kilogam của mẫu đất sấy khô, w[(NO2)-N], được tính theo Công thức (3):
|
| (3) |
Trong đó
| 6 | là nồng độ khối lượng của dung dịch chuẩn nitrit, tính bằng miligam nitrit-nitơ trên lít của dung dịch [mg(NO2-N)/L]; |
| αSE | là độ hấp thụ của dịch chiết đất; |
| αBE | là độ hấp thụ của dịch chiết mẫu trắng; |
| αNAS | là độ hấp thụ của dung dịch chuẩn nitrit; |
| αZS | là độ hấp thụ của dung dịch chuẩn không; |
| D | là hệ số được dùng khi dịch chiết mẫu đất ban đầu phải pha loãng; hệ số này bằng thể tích cuối cùng của dung dịch chiết đã pha loãng, chia cho thể tích dung dịch chiết được dùng để pha loãng; |
| R | là hệ số đưa vào tính toán tỷ lệ của thể tích của dung dịch với khối lượng của mẫu đất sấy khô sau khi chiết. Hệ số này được biểu thị bằng mililit trên gam, và được tính theo Công thức (2). |
6.4 Xác định ion amoni
6.4.1 Nguyên tắc
lon amoni có trong dung dịch đất và được giải hấp chọn lọc ra khỏi bề mặt đất bằng dung dịch chiết. Tại giá trị pH cao và có sự xuất hiện của ion hypoclorit chúng tạo thành monocloramin, phản ứng với phenol để tạo thành phức indophenol xanh. Độ hấp thụ của phức được đo tại bước sóng 630 nm.
6.4.2 Thiết bị, dụng cụ
Thiết bị phòng thí nghiệm thông thường, và các thiết bị, dụng cụ sau
6.4.2.1 Máy đo quang phổ, phù hợp để đo tại bước sóng 630 nm, cùng với cuvet có chiều dài quang học 10 mm.
6.4.3 Thuốc thử
6.4.3.1 Nước có độ dẫn điện riêng không lớn hơn 0,2 mS/m tại 25 °C [nước loại 2 theo TCVN 4851 (ISO 3696)].
6.4.3.2 Axit sunphuric, ρ(H2SO4) = 1,84 kg/L
6.4.3.3 Amoni clorua (NH4CI)
6.4.3.3.1 Dung dịch gốc amoni, ρ(NH4-N) = 200 mg/L.
Hòa tan 764 mg của amoni clorua (6.4.3.3) trong nước, cho thêm 0,30 mL axit sunfuric (6.4.3.2) để ngăn ngừa hoạt động của vi sinh vật trong bảo quản, và thêm nước đến 1 L.
Dung dịch này bền đến một tháng nếu bảo quản trong chai thủy tinh tối màu ở 4 °C.
6.4.3.3.2 Dung dịch chuẩn amoni, ρ(NH4-N) = 2,00 mg/L
Dùng pipet lấy 2,50 mL dung dịch gốc amoni (6.4.3.3.1) vào bình định mức 250 mL, và thêm nước đến vạch mức. Dung dịch này được chuẩn bị hàng ngày.
6.4.3.4 Phenol, C6H5OH
6.4.3.4.1 Dung dịch phenol, ρ(C6H6O) = 70 mg/L
Hòa tan 70 g phenol (6.4.3.4) trong 1000 mL nước. Dung dịch này bền ít nhất một năm ở nhiệt độ phòng nếu bảo quản trong bình thủy tinh có màu nâu.
6.4.3.5 Natri nitroprusit ngậm hai phân tử nước, Na2[Fe(CN)5NO].2H2O.
6.4.3.5.1 Dung dịch nitroprusit, ρ{Na2[Fe(CN)5NO].2H2O} = 0,8 g/L.
Hòa tan 0,8 g natri nitroprusit (6.4.3.5) trong 1 L nước. Dung dịch này bền trong ít nhất 3 tháng ở nhiệt độ phòng nếu bảo quản trong chai thủy tinh màu nâu.
6.4.3.6 Natri xitrat ngậm hai phân tử nước, C6H5Na3O7.2H2O
6.4.3.7 Natri hydroxyt, NaOH.
6.4.3.8 Dung dịch đệm
Hòa tan, trong khoảng 500 mL nước, 280 g natri xitrat (6.4.3.6) và 22,0 g natri hydroxyt (6.4.3.7). Thêm nước đến 1 L.
6.4.3.9 Muối natri của axit dicloroisoxyanurat ngậm hai phân tử nước, C3Cl2N3NaO3.2H2O.
6.4.3.10 Thuốc thử màu No.1
Hỗn hợp 15 mL dung dịch nitroprusit (6.4.3.5.1) và 15 mL dung dịch phenol (6.4.3.4.1) với 750 mL nước. Phải chuẩn bị dung dịch này ngay trước khi dùng.
6.4.3.11 Thuốc thử màu No.2
Hòa tan 5,0 g axit dicloroxyanuric (6.4.3.9) trong 1 L dung dịch đệm (6.4.3.8). Dung dịch này có thể bảo quản trong ít nhất 1 tháng trong tủ lạnh.
6.4.4 Cách tiến hành
Cho vào bộ bình thủy tinh 100 mL (tốt nhất loại bình nón Erlenmeyer), 10,0 mL của
- hoặc dung dịch chiết (SE) thu được theo 6.1.4;
- hoặc dung dịch chiết trắng (BE) thu được theo 6.1.4;
- hoặc dung dịch chuẩn amoni (AIS) (6.4.3.3.2);
- hoặc dung dịch chuẩn không (ZS) (nước).
Thêm 40 mL thuốc thử màu No.1 (6.4.3.10) vào từng bình. Lắc đều và để yên trong 15 min. Sau đó thêm 1,00 mL thuốc thử màu No.2 (6.4.3.11) vào từng bình. Để yên ít nhất 5 h trước khi đo. Trong thời gian này, nhiệt độ của dung dịch phải duy trì trong khoảng từ 15 °C đến 35 °C.
Sử dụng máy đo quang phổ (6.4.2.1) đo độ hấp thụ của dịch chiết đất, (SE xem 6.1.4), dịch chiết trắng (BE, xem 6.1.4), dung dịch chuẩn amoni (AIS) (xem 6A3.3.2) và dung dịch chuẩn không [ZS (nước)].
Nồng độ amoni trong dịch chiết đất (SE) không vượt quá nồng độ amoni của dung dịch chuẩn amoni (AIS), hoặc không vượt quá phần tuyến tính của đường chuẩn. Nếu điều này xảy ra, pha loãng dịch chiết đất phù hợp bằng dung dịch chiết (6.1.2.2) và lặp lại phép đo.
6.4.5 Tính kết quả
Hàm lượng ion amoni trong đất, biểu thị bằng miligam nitơ trên kilogam của mẫu đất sấy khô, w[NH4)-N], được tính theo Công thức (4):
|
| (4) |
Trong đó
| 2 | là nồng độ khối lượng của dung dịch chuẩn amoni, tính bằng miligam amoni-nitơ trên lít của dung dịch [mg(NH4-N)/L]; |
| αSE | là độ hấp thụ của dịch chiết đất; |
| αBE | là độ hấp thụ của dịch chiết mẫu trắng; |
| αNAS | là độ hấp thụ của dung dịch chuẩn amoni; |
| αZS | là độ hấp thụ của dung dịch chuẩn không; |
| D | là hệ số được dùng khi dịch chiết mẫu đất ban đầu phải pha loãng; hệ số này bằng thể tích cuối cùng của dung dịch chiết đã pha loãng, chia cho thể tích dung dịch chiết được dùng để pha loãng; |
| R | là hệ số đưa vào tính toán tỷ lệ của thể tích của dung dịch với khối lượng của mẫu đất sấy khô sau khi chiết. Công thức để tính R được nêu tại 6.2.5.6. |
7 Báo cáo thử nghiệm
Báo cáo thử nghiệm phải gồm các thông tin sau:
a) Viện dẫn tiêu chuẩn này;
b) Đặc điểm nhận dạng đầy đủ mẫu đất;
c) Kết quả của phép xác định;
d) Mọi chi tiết không quy định trong tiêu chuẩn này hoặc có thể ảnh hưởng đến kết quả, ví dụ nhiệt độ của dung dịch chiết.
THƯ MỤC TÀI LIỆU THAM KHẢO
[1] TCVN 6910-2:2001 (ISO 5725-2:1994), Độ chính xác (độ đúng và độ chụm của phương pháp đo và kết quả đo. Phần 2 - Phương pháp cơ bản xác định độ lặp lại và độ tái lập của phương pháp đo tiêu chuẩn.
[2] AMINOT, A. and CHAUSSEPIED, M. Manuel des analyses chimiques en milieu marin. Centre National pour l'Exploitation des Océans, 1983, p. 395
[3] BERTHELOT, M. Report Chem. Appliqué 1,1859, p. 284
[4] GRASSHOFF, K. Zur Bestimmung von Nitrat in Meer- und Trinkwasser. Kieler Meeresforschung 20, 1964, pp. 5-11
[5] GRASSHOFF, K. and JOHANNSEN, H. A new sensitive and direct method for the automatic determination of ammonia in sea water. J. Cons., Cons. Int. Expor. Mer. 34,1972, pp. 516-521
[6] GRIESS, P. Bemerkungen zu der Abhandlung der HH. Welsidsky und Benedikt über einige Azo- Verbindungen. Chem. Ber. 12,1879, pp. 426-428
[7] ILOSVAY, M.L. Le site azoteux dans la salive et dans I'air exhalé. Bull. Soc. Chim. 2, 1889, pp. 388-391
[8] KOROLEFF, F. Direct determination of ammonia in natural waters as indophenol blue. ICES, C.M. 1969/C: 9 Hydr. Commun, 1969
[9] Patton, C.J. and CROUCH, S.R. Spectrophotometric and kinetics investigation of the Berthelot reaction for the determination of ammonia. Anal. Chem. 49, 1977, pp. 464-468
[10] SOLORZANO, L. Determination of ammonia in natural waters by the phenol-hypochlorite method. Limnol. Oceanogr. 14, 1969, pp. 799-801
[11] STRICKLAND, J.D.H. and PARSONS, T.R. A practical handbook of sea water analysis. Bull. Fish. Res. Bd. Can. 167, 1972, p. 311
[12] Wood, E.D., ARMSTRONG, F.A.J. and RICHARDS, F.A. Determination of nitrate in sea water by cadmium-copper reduction to nitrite. J. Marine Biot. Ass. U.K. 47, 1967, pp. 23-31.
[13] TCVN 11069-2 (ISO 14256-2), Chất lượng đất - Xác định nitrat, nitrit và amoni trong đất ẩm hiện trường bằng cách chiết với kali clorua - Phần 2: Phương pháp tự động với phân tích dòng chảy phân đoạn.
Bạn chưa Đăng nhập thành viên.
Đây là tiện ích dành cho tài khoản thành viên. Vui lòng Đăng nhập để xem chi tiết. Nếu chưa có tài khoản, vui lòng Đăng ký tại đây!