- Tổng quan
- Nội dung
- VB gốc
- Tiếng Anh
- Hiệu lực
- VB liên quan
- Lược đồ
-
Nội dung hợp nhất
Tính năng này chỉ có tại LuatVietnam.vn. Nội dung hợp nhất tổng hợp lại tất cả các quy định còn hiệu lực của văn bản gốc và các văn bản sửa đổi, bổ sung, đính chính... trên một trang. Việc hợp nhất văn bản gốc và những văn bản, Thông tư, Nghị định hướng dẫn khác không làm thay đổi thứ tự điều khoản, nội dung.
Khách hàng chỉ cần xem Nội dung hợp nhất là có thể nắm bắt toàn bộ quy định hiện hành đang áp dụng, cho dù văn bản gốc đã qua nhiều lần chỉnh sửa, bổ sung.
- Tải về
Quyết định 3598/QĐ-UBND Hà Nội 2018 điều chỉnh, bổ sung quy trình duy trì hệ thống thoát nước đô thị
| Cơ quan ban hành: | Ủy ban nhân dân Thành phố Hà Nội |
Số công báo:
Số công báo là mã số ấn phẩm được đăng chính thức trên ấn phẩm thông tin của Nhà nước. Mã số này do Chính phủ thống nhất quản lý.
|
Đang cập nhật |
| Số hiệu: | 3598/QĐ-UBND | Ngày đăng công báo: | Đang cập nhật |
| Loại văn bản: | Quyết định | Người ký: | Nguyễn Thế Hùng |
|
Ngày ban hành:
Ngày ban hành là ngày, tháng, năm văn bản được thông qua hoặc ký ban hành.
|
17/07/2018 |
Ngày hết hiệu lực:
Ngày hết hiệu lực là ngày, tháng, năm văn bản chính thức không còn hiệu lực (áp dụng).
|
Đang cập nhật |
|
Áp dụng:
Ngày áp dụng là ngày, tháng, năm văn bản chính thức có hiệu lực (áp dụng).
|
Đã biết
|
Tình trạng hiệu lực:
Cho biết trạng thái hiệu lực của văn bản đang tra cứu: Chưa áp dụng, Còn hiệu lực, Hết hiệu lực, Hết hiệu lực 1 phần; Đã sửa đổi, Đính chính hay Không còn phù hợp,...
|
Đã biết
|
| Lĩnh vực: | Tài nguyên-Môi trường |
TÓM TẮT QUYẾT ĐỊNH 3598/QĐ-UBND
Nội dung tóm tắt đang được cập nhật, Quý khách vui lòng quay lại sau!
Tải Quyết định 3598/QĐ-UBND
|
ỦY BAN NHÂN DÂN Số: 3598/QĐ-UBND |
CỘNG HÒA XÃ HỘI CHỦ NGHĨA VIỆT NAM Hà Nội, ngày 17 tháng 07 năm 2018 |
QUYẾT ĐỊNH
-------------------------
ỦY BAN NHÂN DÂN THÀNH PHỐ HÀ NỘI
Căn cứ Luật Tổ chức chính quyền địa phương ngày 19/6/2015;
Căn cứ Luật Ngân sách nhà nước ngày 25/6/2015;
Căn cứ Nghị định số 177/2013/NĐ-CP ngày 14/11/2013 của Chính phủ quy định chi tiết và hướng dẫn thi hành một số điều của Luật Giá;
Căn cứ Nghị định số 130/2013/NĐ-CP ngày 16/10/2013 của Chính phủ về sản xuất và cung ứng sản phẩm, dịch vụ công ích;
Căn cứ Nghị định số 80/2014/NĐ-CP ngày 06/8/2014 của Chính phủ về Thoát nước và xử lý nước thải;
Căn cứ Quyết định số 77/2014/QĐ-UBND ngày 10/10/2014 của UBND thành phố Hà Nội ban hành Quy chế lựa chọn nhà thầu sản xuất và cung cấp sản phẩm, dịch vụ công ích trên địa bàn Thành phố Hà Nội.
Căn cứ Quyết định số 6842/QĐ-UBND ngày 13/12/2016 của UBND thành phố Hà Nội về việc công bố quy trình, định mức kinh tế kỹ thuật và đơn giá duy trì hệ thống thoát nước đô thị trên địa bàn thành phố Hà Nội;
Xét đề nghị tại Tờ trình số 375/TTrLN:XD-TC-LĐTB&XH ngày 27/12/2017 của Liên Sở: Xây dựng - Tài chính - Lao động Thương binh và Xã hội, Báo cáo số 55/BCLS ngày 12/3/2018 của Liên Sở: Xây dựng - Tài chính và Báo cáo số 176/BC-SXD ngày 15/6/2018 của Sở Xây dựng,
QUYẾT ĐỊNH:
Điều 1. Công bố điều chỉnh, bổ sung quy trình, định mức kinh tế kỹ thuật duy trì hệ thống thoát nước đô thị trên địa bàn thành phố Hà Nội, cụ thể như sau:
- Phụ lục 01: Quy trình công tác duy trì hệ thống thoát nước đô thị thành phố Hà Nội.
+ Điều chỉnh 02 quy trình: Quy trình nạo vét bùn cống ngầm thủ công; Nạo vét bùn mương, sông bằng dây chuyền thiết bị cơ giới được công bố tại Quyết định số 6842/QĐ-UBND ngày 13/12/2016 của UBND Thành phố (Quyết định 6842/QĐ-UBND ngày 13/12/2016).
+ Bổ sung 01 quy trình: Công tác xử lý, duy trì chất lượng nước hồ bằng chế phẩm Redoxy-3C.
- Phụ lục 02: Định mức công tác duy trì hệ thống thoát nước đô thị thành phố Hà Nội.
+ Điều chỉnh 06 định mức: Công tác nạo vét bùn cống ngầm bằng thủ công; Công tác nạo vét bùn cống ngang bằng thủ công; Công tác nạo vét bùn mương, sông bằng thủ công; Công tác nạo vét bùn cống ngang bằng thủ công có cơ giới hỗ trợ; Công tác quản lý, duy trì hồ điều hòa. Công tác quản lý, duy trì bè thủy sinh trên sông hồ được công bố tại Quyết định 6842/QĐ-UBND ngày 13/12/2016.
+ Bổ sung 01 định mức: Công tác xử lý, duy trì chất lượng nước hồ bằng chế phẩm Redoxy-3C.
(Chi tiết tại phụ lục kèm theo Quyết định này)
Điều 2. Hiệu lực thi hành: Quyết định này có hiệu lực kể từ ngày ký. Đối với những nội dung không điều chỉnh, bổ sung tại Quyết định này tiếp tục thực hiện theo Quyết định 6842/QĐ-UBND ngày 13/12/2016.
Điều 3. Tổ chức thực hiện: Chánh Văn phòng UBND Thành phố, Giám đốc các Sở: Xây dựng, Tài chính, Lao động Thương binh và Xã hội, Tài nguyên và Môi trường, Kế hoạch và Đầu tư, Giám đốc Kho bạc Nhà nước thành phố Hà Nội, Chủ tịch UBND các quận, huyện, thị xã Sơn Tây và các tổ chức, cá nhân có liên quan chịu trách nhiệm thi hành Quyết định này./.
|
Nơi nhận: |
TM. ỦY BAN NHÂN DÂN |
PHỤ LỤC 1
QUY TRÌNH CÔNG NGHỆ ĐIỀU CHỈNH, BỔ SUNG CÔNG TÁC DUY TRÌ, SỬA CHỮA HỆ THỐNG THOÁT NƯỚC ĐÔ THỊ THÀNH PHỐ HÀ NỘI
(Kèm theo Quyết định số 3598/QĐ-UBND ngày 17 tháng 07 năm 2018 của UBND Thành phố Hà Nội)
1. CÔNG TÁC CHUẨN BỊ:
1.1. An toàn lao động:
- Trước khi làm việc phải trang bị đầy đủ bảo hộ lao động theo đúng quy định: Quần áo lội, ủng cao su, găng tay cao su, mũ, khẩu trang, quần áo bảo hộ lao động
1.2. Chuẩn bị dụng cụ:
- Cuốc chim, xà beng, xô múc bùn, choạc gấp phản quang có hai mặt biển báo nguy hiểm, biển báo công trường (trường hợp thi công tại ngã 3, 4,... nhất thiết phải bố trí đủ biển báo nguy hiểm hoặc biển báo công trường hoặc chóp nhựa phản quang hay rào chắn khu vực thi công), quả găng, tre thông, dây thông, móng, thang lên xuống (do một số tuyến các thang của hố ga lâu ngày bị hỏng), xe gom bùn, đèn pin, xẻng, cuốc.
Lưu ý: Đối với rãnh, chuẩn bị thêm máy khoan khi cần thiết phải khoan mở mạch trước khi mở các tấm đan.
1.3. Cấp bậc công việc trung bình: bậc 4/7
2. NỘI DUNG QUY TRÌNH:
2.1. Thời gian làm việc:
- Sáng: Bắt đầu từ 7h30’ đến 12h00’
- Chiều: Bắt đầu từ 13h00’ đến 16h30’
- Thời gian nghỉ:
+ Nghỉ trưa từ 12h00’ đến 13h00’
+ Giữa giờ làm việc sáng và chiều nghỉ giải lao 15’
2.2. Phương tiện:
- Là các loại phương tiện chuyên dùng vận chuyển bùn
2.3. Thực hành thao tác.
- Một dây truyền làm việc bố trí tối thiểu 7 người.
Bước 1:
- Công nhân có mặt đúng giờ tại địa điểm tập kết.
- Chuẩn bị công cụ dụng cụ, bảo hộ lao động.
- Tổ trưởng công đoàn kiểm tra an toàn BHLĐ và công cụ dụng cụ. Các công nhân phải mang mặc đầy đủ trang thiết bị phòng hộ cá nhân theo từng vị trí trong dây truyền và triển khai các thiết bị an toàn khu vực thi công, có đầy đủ công cụ dụng cụ lao động.
Bước 2:
- Di chuyển từ nơi tập kết đến vị trí thực hiện.
- Tổ trưởng sản xuất phân công nhiệm vụ từng công nhân trong dây truyền sản xuất;
Bước 3:
- Tại 2 ga của hai đầu đoạn cống thi công, bố trí mỗi ga 3 công nhân (khoảng cách trung bình giữa 2 ga là 30m)
- Đặt biển báo nguy hiểm cảnh báo tại các hố ga thi công.
- Bố trí người cảnh giới giao thông để đảm bảo an toàn và chống ùn tắc tại khu vực thi công
- Mở ít nhất từ 2 hố ga trở lên chờ khí độc bay đi.
Bước 4:
- Xúc bùn dưới hố ga đưa lên xe gom bùn đặt tại miệng ga.
Bước 5:
* Đối với cống có tiết diện D ≤ 600 mm và các loại cống khác có kích thước bề rộng tương đương
- Dùng que tre luồn xuống cống đưa được dây thông có buộc quả găng vào trong lòng cống.
- Kéo quả găng nhiều lần trong lòng cống để gạt bùn về 2 hố ga.
* Đối với cống có tiết diện D > 600 mm và các loại cống khác có kích thước bề rộng tương đương
- Công nhân thay phiên nhau chui vào lòng cống bốc, xúc bùn vào trong xô, vận chuyển bùn ra ga.
Trường hợp mực nước trong cống lớn mà công nhân không thể chui vào lòng cống nạo vét được thì phải dung bao tải đắp chặn hai đầu ga, cống, bơm nước để thi công.
Bước 6:
- Xúc bùn dưới hố ga đưa lên xe gom bùn đặt tại miệng ga.
- Khi bùn đầy xe gom, đẩy về vị trí tập kết tạm, đổ vào thùng chứa bùn.
Công việc kéo quả găng và xúc bùn từ hố ga như trên được thực hiện cho đến khi trong lòng cống và ga hết bùn.
- Vệ sinh mặt bằng xung quanh miệng ga thi công, đậy nắp ga.
Bước 7: Thu gom, vận chuyển bùn về bãi đổ
- Lái xe đưa xe ra tuyến theo giờ quy định
- Đến điểm xe gom bùn tập kết tạm, dừng xe cách mép vỉa hè từ 0,1 - 0,15m, thuận chiều giao thông.
- Nâng thùng bùn lên xe
- Thu gom, quét dọn, vệ sinh sạch sẽ bùn đất rơi vãi xung quanh vị trí thu gom.
- Vận chuyển phương tiện về bãi đổ theo đúng quy định
Bước 8: Cuối giờ làm việc hàng ngày
- Vệ sinh địa điểm tập kết tạm.
- Kiểm tra, thu dọn, vệ sinh dụng cụ; kiểm tra, vệ sinh BHLĐ; đưa công cụ dụng cụ lao động, BHLĐ về nơi quy định.
- Vệ sinh phương tiện, đưa phương tiện vận chuyển về bãi tập kết
- Vệ sinh cá nhân.
3. ĐIỀU KIỆN ÁP DỤNG:
- Chiều dày bùn trong lòng cống, rãnh trước nạo vét ≥ 1/3 đường kính cống (chiều cao đối với rãnh, cống bản).
- Áp dụng cho công tác nạo vét bùn cống, rãnh các loại.
4. YÊU CẦU CHẤT LƯỢNG:
- Lượng bùn còn lại trong ga và cống, rãnh sau khi nạo vét ≤ 5cm.
- Bùn nạo vét phải được vận chuyển hết về bãi chứa bùn quy định.
- Trong suốt quá trình di chuyển từ khi bắt đầu tuyến thu gom đến nơi xử lý các loại phương tiện vận chuyển phế thải phải đảm bảo vệ sinh môi trường, chở đúng trọng tải quy định.
1. CÔNG TÁC NẠO VÉT BÙN MƯƠNG, SÔNG THOÁT NƯỚC BẰNG MÁY XÚC ĐẶT TRÊ XÀ LAN KẾT HỢP VỚI LAO ĐỘNG THỦ CÔNG VÀ CÁC THIẾT BỊ KHÁC (DÂY TRUYỀN C2)
1.1 Phạm vi áp dụng quy trình công nghệ C2:
- Áp dụng để nạo vét cho các sông, mương rộng, có độ sâu nạo vét lớn mà các quy trình công nghệ khác không thi công được.
- Các sông và mương rộng này phải có địa điểm để tập kết xà lan, máy xúc, thuyền chở bùn và các thiết bị nạo vét khác như xe téc chở bùn, xe hút chân không, xe tải tự đổ có thể tiếp cận được để tác nghiệp.
- Áp dụng cho các sông và mương rộng có mực nước cao so với mực bùn để xà lan không bị mắc cạn, mực nước phải ≥ 1m.
1.2 Đặc điểm quy trình công nghệ C2:
- Việc nạo vét sông, mương theo quy trình công nghệ C2 đạt hiệu quả cao và có tác dụng làm tăng lưu lượng dòng chảy.
- Trong khi thi công có thể đào rộng, sâu lòng mương nếu cần, đồng thời nạo vét được tất cả lớp bùn đất, vật cứng, rác tồn đọng lâu ngày dưới lòng mương.
- Chú ý an toàn cho người và thiết bị do thi công trên mặt nước.
1.3 Thiết bị, dụng cụ, vật tư phục vụ quy trình công nghệ C2:
a) Thiết bị trung tâm:
|
- Máy xúc tay gầu ngắn PC60-7 (hoặc tương đương): b) Thiết bị, dụng cụ tham gia thi công: |
01 cái |
|
- Xà lan máy xúc PC60-7: |
01 cái |
|
- Thuyền chở bùn 6m3: |
03 cái |
|
- Xe hút chân không 4T: |
02 xe |
|
- Xe téc chở bùn 4T |
04 xe |
|
- Xe tự đổ 4T: |
02 xe |
|
- Xe téc chở nước 4m3: |
01 xe |
|
- Xe chuyên dụng vận chuyển máy xúc: |
Phục vụ theo ca |
|
- Xe chuyên dụng chở xà lan: |
Phục vụ theo ca |
|
- Xe cẩu 30T: |
Phục vụ theo ca |
|
- Dụng cụ cầm tay (cuốc, xẻng, cưa tay, thang ...) |
01 bộ |
c) Dụng cụ, thiết bị đảm bảo an toàn lao động và an toàn giao thông:- Các loại dây neo xà lan và thuyền chở bùn.
- Biển báo, cọc phân chia giới hạn khu vực thi công (số lượng đủ phục vụ an toàn giao thông).
- Bảo hộ lao động: Bộ quần áo và trang bị bảo hộ lao động: 21 bộ
1.4 Nhân lực tham gia thi công quy trình công nghệ C2
|
- Công nhân lái và điều khiển máy xúc: |
02 công nhân |
|
|
- Công nhân điều khiển xà lan: |
02 công nhân |
|
|
- Công nhân lái và điều khiển xe hút chân không: |
02 công nhân |
|
|
- Công nhân điều khiển lái thuyền chở bùn: |
02 công nhân |
|
|
- Công nhân sử dụng vòi hút bùn: |
02 công nhân |
|
|
- Công nhân lái và điều khiển xe téc chở bùn: |
04 công nhân |
|
|
- Công nhân lái xe téc chở nước: |
01 công nhân |
|
|
- Công nhân lái xe tự đổ: |
02 công nhân |
|
|
- Công nhân thủ công phục vụ tác nghiệp (xúc đất, đá, rác lên xe tải): |
02 công nhân |
|
|
- Tổ trưởng phụ trách thi công bố trí thiết bị thi công hợp lý, quan sát đảm bảo an toàn trong quy trình thi công: |
01 công nhân |
|
|
Tổng cộng: |
20 công nhân |
|
Sơ đồ công nghệ QTCN C2:

Mô tả khái quát hoạt động của quy trình công nghệ C2:
- Sau khi máy xúc được gá chắc chắn trên xà lan và neo xà lan ổn định trên mặt sông, mương cần thi công, người công nhân lái máy xúc bắt đầu thao tác máy xúc, xúc bùn vào các thuyền chở bùn được neo đậu ở vị trí thuận tiện nhất cho việc nhận bùn.
- Khi thuyền đã đầy bùn người công nhân điều khiển thuyền chở bùn vào vị trí tập kết đã bố trí sẵn để xe téc và xe hút chân không hút bùn dễ dàng.
- Xe hút chân không thao tác hút bùn từ thuyền chở bùn lên các xe téc chở bùn và lên chính nó vào cuối các ca làm việc.
- Khi hút đảm bảo thao tác chắt, ép nước để đảm bảo các xe khi đi đổ bùn là bùn đặc.
- Các vật rắn, đất đá, rác có trong thuyền chở bùn được công nhân xúc vào các xô chứa đổ lên xe tải tự đổ.
- Các thuyền thay nhau vào nhận bùn và chở về vị trí hút bùn liên tục trong quá trình thi công.
1.5 Các bước công nghệ QTCN C2:
a. Chuẩn bị địa điểm thi công:
- Nhận địa điểm thi công, xác định địa điểm tập kết và các tài liệu liên quan.
- Chuẩn bị và xử lý mặt bằng để đưa thiết bị vào vị trí thi công.
- Bố trí xe chuyên dụng vận chuyển xà lan và máy xúc đến địa điểm thi công (đặt ở vị trí để cẩu xuống sông, mương dễ dàng).
- Lắp ghép xà lan, cẩu đặt xà lan xuống sông, mương.
- Cẩu đặt máy xúc lên xà lan, vị trí đặt theo chỉ dẫn cán bộ kỹ thuật.
- Néo chằng cột xà lan ổn định.
- Gá, kẹp máy xúc chắc chắn.
Lưu ý: (Bố trí người bảo vệ các thiết bị trên ngoài giờ làm việc).
- Nhận điều động thiết bị, nhân lực.
- Chuẩn bị dầu mỡ, kiểm tra thiết bị, nhận nhiên liệu cho tất cả các thiết bị.
- Chuẩn bị các dụng cụ cầm tay như cuốc, xẻng, xô bùn....
- Chuẩn bị đủ dụng cụ an toàn giao thông và dụng cụ bảo hộ lao động.
b. Tập kết thiết bị và tiến hành thi công:
* Chuẩn bị thi công:
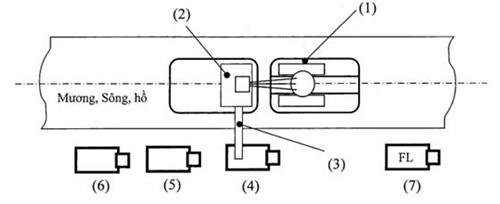
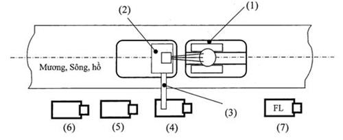
Sau khi các thiết bị đã được tập kết đúng vị trí thi công quá trình thi công được bố trí theo sơ đồ tổng thể sau:

Máy xúc (1) đặt trên xà lan, sau khi người công nhân điều khiển đã kiểm tra đảm bảo chắc chắn, an toàn bắt đầu thao tác, xúc bùn đổ vào thuyền chở bùn (5).
* Tiến hành thi công:
- Dùng máy xúc (1) xúc bùn từ dưới sông, mương lên cho vào thuyền chở bùn
- Khi thuyền chở bùn (5) đầy bùn các công nhân điều khiển thuyền sẽ đưa thuyền về vị trí tập kết.
- Các thuyền chở bùn còn lại lần lượt được đưa vào vị trí nhận bùn và về vị trí tập kết để hút bùn đảm bảo được liên tục.
- Bùn trong thuyền được xe hút chân không (3) hút vào xe téc chở bùn (2) và chính nó khi cuối ca làm việc không phải hút cho xe téc nữa.
- Xe téc chở bùn và xe hút chân không phải thực hiện quá trình tách, ép nước để đảm bảo bùn trong téc khi xe đi đổ là bùn đặc.
- Các vật cứng, đất đá, rác có trong thuyền chở bùn được công nhân xúc vào xô đổ lên xe tải tự đổ. Xe tải tự đổ đầy (đủ tải) sẽ đi đổ tại bãi đổ.
- Các xe téc còn lại đỗ ở vị trí thuận tiện vào vị trí làm việc khi xe téc trước đó đầy bùn đi đổ tại bãi đổ bùn.
- Quá trình vận hành tiếp tục đến khi đạt yêu cầu nạo vét đoạn mương, sông cần thi công.
- Cuối ca xe hút chân không sẽ trực tiếp hút bùn cho chính mình và thao tác chắt, ép nước đảm bảo khi đi đổ là bùn đặc.
* Kết thúc thi công:
- Nghiệm thu kết quả nạo vét
- Vệ sinh hiện trường, vệ sinh dụng cụ, thiết bị, công nhân nhờ nước của xe téc nước.
- Chuyển đến địa điểm thi công tiếp theo hoặc trở về vị trí tập kết.
* Yêu cầu chất lượng:
- Mặt mái bờ mương, sông (trong phạm vi nạo vét) sạch sẽ, cao trình đáy mương, sông đạt yêu cầu quy định, sai số cho phép sau khi nạo vét ≤ 10% Hnạo vét yêu cầu.
Lưu ý:
* Khi xúc bùn dưới sông, mương nếu gầu xúc lên khỏi mặt nước mà trong gầu còn chứa nhiều nước phải gạn nước trước khi đổ bùn vào thuyền chở bùn.
* Trường hợp nếu có gầu ngoạm sẽ thay gầu xúc bằng gầu ngoạm.
2. CÔNG TÁC NẠO VÉT BÙN MƯƠNG, SÔNG, HỒ BẰNG MÁY XÚC ĐẶT TRÊN XÀ LAN KẾT HỢP VỚI LAO ĐỘNG THỦ CÔNG VÀ CÁC THIẾT BỊ CƠ GIỚI KHÁC (DÂY CHUYỀN C2 CẢI TIẾN)
2.1 Phạm vi áp dụng quy trình công nghệ:
- Áp dụng để nạo vét cho các mương, sông, hồ rộng, có độ sâu và khối lượng nạo vét lớn mà các quy trình công nghệ khác không thi công được hoặc không hiệu quả.
- Các mương, sông, hồ này phải có địa điểm để tập kết ponton, máy xúc, máy bơm bùn và các thiết bị nạo vét khác như xe téc chở bùn, xe phản lực, xe tải tự đổ có thể tiếp cận được để tác nghiệp.
- Áp dụng cho các mương, sông, hồ rộng có mực nước cao so với mực bùn để ponton không bị mắc cạn, mực nước phải ≥ 1m.
2.2 Đặc điểm quy trình công nghệ:
- Việc nạo vét mương, sông, hồ theo quy trình công nghệ C2 cải tiến đạt hiệu quả cao nhờ áp dụng máy bơm bùn để chuyển bùn lên thẳng xe téc bùn thay cho việc sử dụng xe hút chân không hút bùn từ các thuyền chở bùn lên xe téc bùn.
- Trong khi thi công có thể đào rộng hoặc sâu lòng mương, sông, hồ nếu cần, đồng thời nạo vét được tất cả lớp bùn đất, vật cứng, rác tồn đọng lâu ngày dưới lòng mương.
- Chú ý an toàn cho người và thiết bị do thi công trên mặt nước và áp lực từ máy bơm bùn. Khi bơm bùn có thể gây nguy hiểm cho người vận hành và người xung quanh do áp lực đẩy, do gió mạnh hoặc ống dẫn bị sự cố...
2.3 Thiết bị, dụng cụ, vật tư phục vụ quy trình công nghệ C2:
d) Thiết bị trung tâm:
|
- Máy xúc tay gầu ngắn (hoặc gầu ngoạm) dung tích 0,4m3: |
01 cái |
|
- Máy bơm bùn công suất 40-60 m3/h e) Thiết bị, dụng cụ tham gia thi công: |
01 cái |
|
- Ponton: |
02 cái |
|
- Xe téc chở bùn 4T |
07 xe |
|
- Xe tự đổ 4T : |
01 xe |
|
- Xe phản lực: |
01 xe |
|
- Xe téc chở nước 4m3: |
01 xe |
|
- Xe chuyên dụng vận chuyển máy xúc: |
Phục vụ theo ca |
|
- Xe chuyên dụng chở xà lan: |
Phục vụ theo ca |
|
- Xe cẩu 30T: |
Phục vụ theo ca |
|
- Ống dẫn bùn Ø150 bằng thép đặt trên hệ phao nổi: |
Theo địa hình |
|
- Giá chữ A đỡ ống bơm bùn |
01 bộ |
|
- Máy bơm nước động cơ xăng công suất 3CV: |
01 máy |
|
- Thuyền tôn |
01 cái |
|
- Bộ đàm cầm tay |
03 máy |
|
- Tôn lót đường KT 1,5x6,0m |
01 tấm |
|
- Dụng cụ cầm tay (cuốc, xẻng, cưa tay, thang ...) |
01 bộ |
|
- Các loại dây neo xà lan và thuyền chở bùn. |
f) Dụng cụ, thiết bị đảm bảo an toàn lao động và an toàn giao thông:
|
- Biển báo, cọc phân chia giới hạn khu vực thi công (số lượng đủ phục vụ an toàn giao thông). |
|
|
- Bảo hộ lao động: Bộ quần áo và trang bị bảo hộ lao động: |
20 bộ |
* Nhân lực tham gia thi công quy trình công nghệ C2 cải tiến
|
- Công nhân lái và điều khiển máy xúc: |
01 công nhân |
|
- Công nhân điều khiển xà lan: |
01 công nhân |
|
- Công nhân điều khiển máy bơm bùn: |
01 công nhân |
|
- Công nhân lái và điều khiển xe téc chở bùn: |
07 công nhân |
|
- Công nhân lái và điều khiển xe phản lực |
02 công nhân |
|
- Công nhân lái xe téc chở nước: |
01 công nhân |
|
- Công nhân lái xe tự đổ: |
01 công nhân |
|
- Công nhân thủ công phục vụ tác nghiệp (căn chỉnh ống dẫn, vòi phun bùn, xúc đất, đá, rác lên xe tải): |
05 công nhân |
|
- Tổ trưởng phụ trách thi công bố trí thiết bị thi công hợp lý, quan sát đảm bảo an toàn trong quy trình thi công: |
01 công nhân |
|
Tổng cộng: |
20 công nhân |
Sơ đồ công nghệ QTCN C2 cải tiến:

Mô tả khái quát hoạt động của quy trình công nghệ C2 cải tiến:
- Sau khi máy xúc, máy bơm bùn được gá chắc chắn trên ponton và neo ponton ổn định trên mặt mương, sông, hồ cần thi công, người công nhân lái máy xúc bắt đầu thao tác, xúc bùn vào miệng thu của máy bơm bùn, công nhân điều khiển máy bơm bùn thao tác bật bơm để đưa bùn vào bờ thông qua hệ thống ống dẫn bằng thép được đặt trên các phao nổi. Trong quá trình bơm bùn cần vận hành thêm máy bơm nước động cơ xăng tiếp nước vào miệng thu để chuyển bùn dễ dàng hơn.
- Trên bờ, công nhân phục vụ điều chỉnh họng dẫn bùn để chuyển bùn vào xe téc bùn thông qua cửa nắp trên. Thực hiện thao tác chắt, ép nước để đảm bảo các xe khi đi đổ bùn là bùn đặc.
- Các vật rắn, đất đá, rác trong miệng thu của máy bơm được công nhân tập kết vào các xô đặt trên ponton. Cuối ca làm việc hoặc khi khối lượng nhiều, công nhân chuyển vật rắn, đất đá, rác xuống thuyền, vận chuyển vào bờ và đổ lên xe tải tự đổ để vận chuyển về bãi đổ quy định.
- Giữa ca và cuối ca làm việc, sử dụng xe phản lực thau rửa ống dẫn bùn để đảm bảo đường ống thông suốt, không bị tắc do bùn đất. Trong trường hợp ống dẫn bị tắc (nước, bùn phun mạnh qua các khớp nối) thì phải dừng bơm, tháo mối nối tại các vị trí bất lợi (đoạn gấp khúc), dùng xe phản lực thông tắc trước khi bơm bùn lại.
2.4 Các bước công nghệ QTCN C2 cải tiến:
* Chuẩn bị địa điểm thi công:
- Nhận địa điểm thi công, xác định địa điểm tập kết và các tài liệu liên quan.
- Chuẩn bị và xử lý mặt bằng để đưa thiết bị vào vị trí thi công.
- Bố trí xe chuyên dụng vận chuyển ponton, máy xúc, máy bơm bùn và hệ thống ống dẫn đến địa điểm thi công (đặt ở vị trí để cẩu xuống sông, hồ dễ dàng).
- Lắp ghép ponton, cẩu đặt ponton xuống mương, sông, hồ.
- Cẩu, lắp đặt máy xúc, máy bơm bùn lên ponton, vị trí đặt theo chỉ dẫn cán bộ kỹ thuật. Gá, kẹp máy xúc, máy bơm bùn chắc chắn
- Neo, chằng, cột ponton ổn định.
- Cẩu và khớp nối các ống dẫn dưới nước đảm bảo chiều dài ống dẫn là hợp lý nhất.
- Lựa chọn vị trí thu gom bùn, dựng giá chữ A để lắp đặt họng xả bùn cho các xe téc.
- Cẩu, lắp đặt tấm tôn lót đường KT 1,5x6,0m tại vị trí dự kiến xe téc vào thu gom bùn để đảm bảo an toàn cho vị trí thi công, tránh bị lún sụt, hư hỏng vỉa hè...
* Lưu ý:
- Bố trí người bảo vệ các thiết bị trên ngoài giờ làm việc.
- Điều động thiết bị, nhân lực khi cần thiết.
- Chuẩn bị dầu mỡ, kiểm tra thiết bị, nhận nhiên liệu cho tất cả các thiết bị. Đối với máy xúc, máy bơm bùn, đầu và cuối ca làm việc: kiểm tra thiết bị, tiếp nhiên liệu cho thiết bị thông qua các thùng chứa tiêu chuẩn và được vận chuyển bằng thuyền ra vị trí đặt thiết bị.
- Chuẩn bị các dụng cụ cầm tay như cuốc, xẻng, xô bùn....
- Chuẩn bị đủ dụng cụ an toàn giao thông và dụng cụ bảo hộ lao động.
c. Tập kết thiết bị và tiến hành thi công:
* Chuẩn bị thi công:
Sau khi các thiết bị đã được tập kết đúng vị trí thi công quá trình thi công được bố trí theo sơ đồ tổng thể sau:

Máy xúc (1) và máy bơm (2) đặt trên ponton, sau khi người công nhân điều khiển đã kiểm tra đảm bảo chắc chắn, an toàn thì bắt đầu thao tác thi công.
* Tiến hành thi công:
- Dùng máy xúc (1) xúc bùn từ dưới mương, sông, hồ lên, cho vào miệng thu của máy bơm bùn (2). Đồng thời di chuyển xe téc chở bùn (4) vào vị trí thu gom bùn của hệ thống ống thép dẫn bùn (3).
- Khi xe téc chở bùn (4) vào vị trí, công nhân sẽ vận hành máy bơm bùn (2) để vận chuyển bùn lên xe tec thông qua cửa nắp phía trên của xe. Khi bùn được chuyển đầy lên xe téc (4), công nhân trên bờ sẽ thông báo cho công nhân vận hành máy bơm (2) tạm dừng bơm.
- Xe téc (4) sẽ vận chuyển bùn về bãi đổ, xe téc (5) sẽ tiến đến vị trí thi công, công nhân tiếp tục vận hành máy bơm bùn. Tương tự, các xe téc còn lại đỗ ở vị trí thuận tiện sẽ vào vị trí làm việc khi xe téc trước đó đầy bùn và đi đổ tại bãi đổ bùn.
- Xe téc chở bùn phải thực hiện quá trình tách, ép nước để đảm bảo bùn trong téc khi xe đi đổ là bùn đặc.
- Giữa ca và cuối ca làm việc, xe phản lực (7) sẽ tiến lại gần vị trí ống dẫn bùn, vận hành xe phun nước phản lực để đưa đầu phun nước vào trong ống dẫn bùn để xúc, rửa ống dẫn, đảm bảo ống dẫn không còn bùn đất bên trong, đảm bảo hiệu quả cao nhất cho thời gian thi công tiếp theo.
- Các vật cứng, đất đá, rác có trong miệng thu của máy bơm bùn được công nhân xúc vào xô để trên ponton. Cuối ca làm việc hoặc khi lượng vật cứng, đất đá nhiều, sẽ được công nhân chuyển xuống thuyền, di chuyển vào bờ và đổ lên xe tải tự đổ. Xe tải tự đổ đầy (đủ tải) sẽ đi đổ tại bãi đổ.
- Quá trình vận hành tiếp tục đến khi đạt yêu cầu nạo vét đoạn sông, hồ cần thi công.
- Khi khu vực thi công nạo vét xong, dùng mia, thước thép kiểm tra cao độ đáy nạo vét. Nếu đạt yêu cầu, nhả các dây neo ponton để di chuyển đến vị trí thi công tiếp theo, đồng thời tháo/lắp, di chuyển đường ống dẫn bùn tương ứng.
Lưu ý: Trong quá trình thi công, cần phải phối hợp nhịp nhàng giữa công nhân lái máy xúc, vận hành máy bơm bùn, công nhân tại khu vực xả bùn và công nhân lái xe vận chuyển để đảm bảo hiệu quả cao nhất. Tổ trưởng thi công bao quát toàn bộ hiện trường, sử dụng bộ đàm để phối hợp giữa các bộ phận.
* Kết thúc thi công:
- Nghiệm thu kết quả nạo vét.
- Vệ sinh hiện trường, vệ sinh dụng cụ, thiết bị, công nhân nhờ nước của xe téc nước và xe phản lực.
- Chuyển đến địa điểm thi công tiếp theo hoặc trở về vị trí tập kết.
*. Yêu cầu chất lượng:
- Mặt mái bờ mương, sông, bờ kè hồ (trong phạm vi nạo vét) sạch sẽ
- Cao trình đáy mương, sông, hồ đạt yêu cầu quy định, sai số cho phép sau khi nạo vét ≤ 10% Hnạo vét yêu cầu.
3. NẠO VÉT MƯƠNG, SÔNG THOÁT NƯỚC BẰNG XE HÚT CHÂN KHÔNG KẾT HỢP VỚI CÁC THIẾT BỊ KHÁC (DÂY CHUYỀN C3)
3.1 Phạm vi áp dụng QTCN C3:
Áp dụng cho các tuyến mương không thi công được bằng dây chuyền C2, không đảm bảo cho thiết bị tiếp cận gần để thi công, các mương có chiều sâu tính từ mặt nước (khoảng < 1m) để công nhân có thể lội xuống mương làm việc.
Trường hợp mương có chiều sâu lớn, chiều sâu tính từ mặt nước > 1m, công nhân không thể lội xuống làm việc thì phải tiến hành đắp chặn, bơm nước để thi công.
3.2 Đặc điểm QTCN C3:
- Quy trình này áp dụng hiệu quả cho nhiều đoạn mương trên địa bàn Hà Nội mà không thi công được (quy trình C2); Các mương nhỏ, nông người công nhân có thể lội xuống mương trực tiếp cầm vòi hút bùn. Đặc biệt có thể nối dài nhiều ống hút với nhau để nạo vét các đoạn mương nằm sâu trong khu dân cư.
- Hiệu suất nạo vét phụ thuộc khá nhiều vào đặc điểm bùn trong đoạn mương thi công. Nếu bùn có lẫn nhiều gạch, đá, rác thì hiệu suất sẽ thấp.
- Trong các trường hợp đoạn mương có nhiều rác trôi nổi, nhiều vật cứng có kích thước lớn phải dùng cào thu gom vớt lên trước khi hút. Nếu việc chuẩn bị và thu gom các tạp chất trên đoạn mương thi công tốt thì năng suất của quy trình công nghệ này sẽ đạt hiệu quả cao.
3.3 Thiết bị, dụng cụ, vật tư phục vụ thi công QTCN C3:
a. Thiết bị trung tâm:
|
- Xe hút chân không 4T: |
01 xe |
b. Thiết bị, dụng cụ khác phục vụ tham gia thi công:
|
- Xe téc chở bùn 4T: |
03 xe |
|
- Xe téc nước 4m3: |
01 xe |
|
- Máy bộ đàm (2 máy): |
1 bộ |
|
- Ống hút (10m/ống): |
5-10 ống |
|
- Dụng cụ cầm tay (Cào, xẻng, thùng xách bùn ...mỗi loại 01 chiếc) |
01 bộ |
c. Dụng cụ, thiết bị bảo đảm an toàn lao động và an toàn giao thông:
|
- Biển báo, cọc phân chia giới hạn khu vực thi công: |
01 bộ |
|
- (số lượng đủ phục vụ an toàn giao thông): |
|
|
- Bộ quần áo lội nước: |
02 bộ |
|
- Găng tay cao su: |
02 đôi |
|
- Bảo hộ lao động cho công nhân (quần áo, mũ, ủng...) |
10 bộ |
d. Nhân lực tham gia thi công QTCN C3
|
- Lái và điều khiển 01 xe hút chân không và 03 xe téc chở bùn: |
04 công nhân |
|
|
Lái xe téc nước: |
01 công nhân |
|
|
Thao tác vòi hút bùn: |
02 công nhân |
|
|
Phục vụ tác nghiệp (thu gom rác, vật cứng, nối ống hút...) |
02 công nhân |
|
|
Tổ trưởng: chỉ huy và tham gia chung: |
01 công nhân |
|
|
Cộng: |
10 Công nhân |
|
3.4 Sơ đồ công nghệ QTCN C3:

Mô tả khái quát hoạt động của QTCN C3
- Sau các bước chuẩn bị như điều khiển giao thông, chuẩn bị khác, tập kết các thiết bị, lắp các ống hút chuẩn bị thi công.
- Bằng lao động thủ công, thu gom rác và các vật cứng có kích thước lớn trên đoạn mương thi công.
- Xe hút chân không hút bùn vào xe téc. Thao tác đầy đủ các công đoạn chắt và ép nước đảm bảo xe đầy bùn ở trạng thái bùn đặc mới đi đổ. Tiếp tục hút bùn cho xe téc chở bùn tiếp theo và cuối cùng có thể hút trực tiếp cho xe hút chân không.
3.5 Các bước công nghệ cơ bản của QTCN C3:
a) Trước khi đưa thiết bị đến địa điểm thi công
- Nhận nhiệm vụ, tài liệu, xác định địa điểm thi công.
- Nhận dụng cụ, điều động thiết bị và nhân lực.
- Khởi động thử để kiểm tra thiết bị
- Nhận nhiên liệu, dầu mỡ cho các thiết bị
- Nhận nước cho xe téc nước.
- Nhận dụng cụ cầm tay (cào, xẻng, thùng).
- Nhận và kiểm tra trang thiết bị bảo hộ lao động.
- Đưa thiết bị đến hiện trường thi công.
b) Tập kết thiết bị và tiến hành thi công
* Chuẩn bị trước khi thi công
- Sau khi đưa thiết bị, dụng cụ đến địa điểm tập kết, sẽ bố trí thiết bị theo sơ đồ sau:
+ Khi có đường giao thông cắt ngang mương cần thi công

Xe hút chân không 8T (1).
Xe téc chở bùn (2) tham gia thi công đầu tiên.
Xe téc chở bùn (3) - (4) tham gia thi công tiếp theo.
+ Khi không có đường giao thông cắt ngang mương cần thi công
Nói chung trong mọi trường hợp, các thiết bị thi công triển khai theo nguyên tắc: xe téc chở bùn tham gia thi công đầu tiên tiếp cận gần mương thi công nhất có thể được, xe hút chân không 8T đổ gần xe téc chở bùn này. Các xe téc chở bùn còn lại đổ ở vị trí thích hợp và thuận tiện sẵn sàng tham gia thi công khi được yêu cầu.
- Sau khi đổ ở vị trí thích hợp có thể tắt máy các thiết bị, đặt biển báo, cọc phân cách khu vực thi công.
- Chuẩn bị và đấu nối đường ống hút của 02 xe (1) và (2) đồng thời công nhân chuẩn bị dụng cụ, quần áo lội nước.
- Khảo sát và kiểm tra điều kiện thi công của đoạn mương.
* Tiến hành thi công:
- Dùng dụng cụ thủ công vớt rác, phế thải và gạch đá có kích thước lớn từ khu vực sắp hút bùn và cả đoạn mương thi công.
- Người công nhân đưa vòi hút xuống khu vực đã hút rác và di chuyển nó trong quá trình hút bùn.
- Vận hành xe hút chân không (8 tấn) và tiến hành hút bùn, chắt và ép tách bớt nước liên tục đến khi đầy téc bùn của xe téc chở bùn đầu tiên.
- Tháo đường ống nối và xe téc chở bùn đầu tiên đi đổ bùn tại bãi đổ bùn.
- Xe téc chở bùn thứ 2 vào vị trí xe téc đầu tiên và đấu nối đường ống hút với xe hút chân không (8 tấn). Đồng thời nối dài thêm ống hút có vòi hút.
- Vận hành xe hút bùn chân không và di chuyển vòi hút như mô tả ở trên để hút bùn cho xe téc chở bùn thứ 2 đến khi đầy bùn và đi đổ tại bãi đổ bùn và xe téc thứ 3 vào vị trí thay thế..
- Các xe téc sau khi đi đổ ở bãi đổ bùn về tiếp tục vào vị trí sẵn sàng thi công.
- Quá trình vận hành tiếp tục đến khi đạt yêu cầu nạo vét đoạn mương cần thi công.
- Cuối ca xe hút chân không sẽ trực tiếp hút bùn cho chính mình và thao tác chắt, ép nước đảm bảo khi đi đổ là bùn đặc.
- Trong quá trình thiết bị làm việc công nhân bằng biện pháp thủ công tiếp tục thu gom rác và vật cứng có kích thước lớn trước vòi hút bùn để làm sạch mương và tránh tắc ống hút.
* Kết thúc thi công:
- Nghiệm thu kết quả nạo vét
- Vệ sinh hiện trường, vệ sinh dụng cụ, thiết bị, công nhân nhờ nước của xe téc nước.
- Chuyển đến địa điểm thi công tiếp theo hoặc trở về vị trí tập kết.
7. Yêu cầu chất lượng:
- Mặt mái bờ mương (trong phạm vi nạo vét) sạch sẽ, cao trình đáy mương đạt yêu cầu quy định, sai số cho phép sau khi nạo vét ≤ 10% Hnạo vét yêu cầu.
8. Lưu ý:
- Có thể thay thế xe hút chân không 8T bằng xe hút chân không 4T
- Xảy ra khá nhiều trường hợp tắc ống hút do gạch, đá và phế thải lọt vào đường ống hút. Vì vậy phải chú ý các biện pháp để hạn chế hiện tượng này, nâng cao hiệu suất làm việc
I. QUY TRÌNH CÔNG NGHỆ XỬ LÝ, DUY TRÌ CHẤT LƯỢNG NƯỚC CÁC HỒ BẰNG CHẾ PHẨM REDOXY-3C (Quy trình số: 28 /QTTN)
PHẦN I. CĂN CỨ LẬP QUY TRÌNH
1. Cơ sở pháp lý
Thông tư 24/2017/TT-BTNMT ngày 01/09/2017 của Bộ tài nguyên và môi trường về quy định kỹ thuật quan trắc môi trường;
QCVN 08-MT:2015/BTNMT - Quy chuẩn kỹ thuật quốc gia về chất lượng nước mặt;
QCTĐHN 02:2014/BTNMT - Quy chuẩn kỹ thuật về nước thải công nghiệp trên địa bàn thủ đô Hà Nội;
Quyết định số 6842/QĐ-UBND ngày 13/12/2016 của UBND Thành phố Hà Nội về việc công bố quy trình, định mức kinh tế kỹ thuật và đơn giá duy trì hệ thống thoát nước đô thị trên địa bàn thành phố Hà Nội;
Quyết định 1495/QĐ-UBND ngày 2/3/2017 của UBND thành phố Hà Nội về việc ban hành bộ quy trình, định mức kinh tế kỹ thuật và đơn giá quan trắc, phân tích môi trường trên địa bàn thành phố Hà Nội.
Thông báo số 308/TB-UBND ngày 22/8/2016 của UBND Thành phố Hà Nội về kết luận của Chủ tịch UBND Thành phố các nội dung đã thống nhất tại cuộc họp với Công ty Watch Water, Nordic Water về xử lý ô nhiễm nước hồ và cung cấp nước sạch;
Văn bản số 6066/UBND-ĐT ngày 20/10/2016 của UBND Thành phố Hà Nội về việc triển khai nhân rộng xử lý ô nhiễm nước các hồ trên địa bàn Thành phố Hà Nội bằng chế phẩm Redoxy-3C;
2. Tài liệu tham khảo
Quyết định số 845/QĐ-UBND ngày 12/02/2010 của UBND Thành phố Hà Nội về việc Phê duyệt Đề án “Cải tạo môi trường các hồ ở nội thành Hà Nội”;
Quyết định số 1919/QĐ-UBND ngày 23/4/2009 của UBND Thành phố Hà Nội ban hành quy chế thử nghiệm xử lý ô nhiễm nước sông, mương, hồ trên địa bàn Thành phố Hà Nội;
Quyết định số 2249/QĐ-UBND ngày 18/5/2011 của UBND Thành phố Hà Nội ban hành Quy chế quản lý, duy trì chất lượng nước các hồ sau xử lý ô nhiễm.
PHẦN II: NGUYÊN LÝ CÔNG NGHỆ ÁP DỤNG
Chế phẩm Redoxy-3C là sản phẩm độc quyền của Công ty Watch Water (CHLB Đức) để xử lý nguồn nước bị ô nhiễm. Đây là chế phẩm thân thiện với môi trường, có thể hoạt động trong phạm vi nồng độ giải pH rộng, có thể sử dụng để loại bỏ mùi, màu, các chất ô nhiễm vô cơ, hữu cơ và một số kim loại nặng (thường thể hiện rõ khi hàm lượng kim loại trong nước cao), một số anion như: PO43-, SO42- ... thành phần chính của Redoxy-3C gồm 3 hạt chính: REDx: 60%; OXYx: 30% và vật liệu hấp phụ: 10%. Tại Việt Nam, chế phẩm Redoxy-3C được phép lưu hành theo mã số HS 38159000.
Đặc tính chế phẩm Redoxy-3C:
- Định lượng tối ưu theo khuyến cáo của nhà sản xuất: 30 g/m3 nước
- Hình thức: Hạt rắn màu trắng hoặc xám
- Thành phần: REDx: 60%; OXYx: 30%; Vật liệu hấp phụ: 10%;
- Khối lượng riêng lớn nhất: 1,2 kg/lít
Quá trình xử lý nước hồ bằng chế phẩm Redoxy-3C này có nhiều điểm ưu việt hơn so với 1 số biện pháp xử lý khác như: Không cần đầu tư nhiều trang thiết bị, nhanh gọn, dễ vận hành và giá thành không cao.
PHẦN III: MỤC TIÊU, ĐỐI TƯỢNG ÁP DỤNG
1. Mục tiêu xử lý, duy trì chất lượng nước hồ:
- Các thông số chất lượng nước sau khi xử lý cơ bản đạt QCVN 08-MT:2015/BTNMT cột B1 kèm theo thông tư số 65/2015/TT-BTNMT ngày 21/12/2015 của Bộ Tài nguyên và Môi trường và QCTĐHN 02:2014/BTNMT cột B với hệ số Kq = 0,6; Kf =0,9 (12 thông số cơ bản gồm: Nhiệt độ, pH, DO, TSS, NH4+, COD, BOD5, PO43-, Fe, tổng Coliform, Chlorofill-a, NO3-).
- Về cảm quan môi trường nước hồ trong, không có mùi khó chịu ảnh hưởng đến khu vực xung quanh.
- Một số nhóm chính thuộc hệ sinh thái thủy sinh như tảo, động vật phù du phát triển bình thường.
2. Đối tượng áp dụng
- Áp dụng đối với các hồ đang trong tình trạng ô nhiễm nước mặt, một số thông số cơ bản về chất lượng nước như pH, DO, COD, BOD5, PO43-, NH4+, NO3‑ ... vượt giới hạn cho phép so với QCVN 08-MT:2015/BTNMT cột B1 và QCTĐHN 02:2014/BTNMT cột B với hệ số Kq = 0,6; Kf = 0,9.
- Hồ sau khi xử lý được duy trì chất lượng nước để tránh xảy ra hiện tượng tái ô nhiễm nước hồ (với thời gian dự kiến phun rải chế phẩm để duy trì chất lượng nước là: 09 tháng đối với hồ không tiếp nhận nước thải chảy vào; 06 tháng đối với hồ tiếp nhận hỗn hợp nước mưa + nước thải khi có mưa và 03 tháng đối với hồ luôn tiếp nhận nước thải). Về thời gian duy trì chất lượng nước các hồ sau xử lý sẽ xác định thực tế bằng kết quả quan trắc chất lượng nước hồ hàng tháng.
PHẦN IV: NỘI DUNG QUY TRÌNH XỬ LÝ, DUY TRÌ CHẤT LƯỢNG NƯỚC HỒ BẰNG CHẾ PHẨM REDOXY-3C
I. QUY TRÌNH XỬ LÝ CHẤT LƯỢNG NƯỚC HỒ LẦN ĐẦU
1. Xác định các hồ cần xử lý ô nhiễm môi trường nước
Trước tiên, cần xác định các hồ cần xử lý ô nhiễm môi trường nước dựa trên các thông số cơ bản về chất lượng nước gồm: BOD5, COD, NO3-, NH4+, PO43-. Đánh giá mức độ ô nhiễm môi trường nước các hồ theo các thông số trên so với quy chuẩn QCVN 08:2015-MT/BTNMT cột B1 và QCTĐHN 02:2014/BTNMT cột B với hệ số Kq = 0,6; Kf = 0,9. Nếu có một trong số các thông số nêu trên vượt giới hạn cho phép cần tiến hành xử lý.
Bảng 1: Các thông số quan trắc để xác định mức độ ô nhiễm
|
TT |
Thông số |
Đơn vị |
Giá trị theo QCVN 08-MT: 2015/BTNMT cột B1 |
QCTĐHN 02:2014/BTNMT cột B với hệ số Kq = 0,6; Kf=0,9 |
Giá trị tại hồ lấy mẫu |
|
1 |
BOD5 |
mg/l |
15 |
27 |
|
|
2 |
COD |
mg/l |
30 |
81 |
|
|
3 |
NO3- |
mg/l |
10 |
||
|
4 |
NH4+ |
mg/l |
0,9 |
5,4 |
|
|
5 |
PO43- |
mg/l |
0,3 |
2. Công tác chuẩn bị
2.1. An toàn lao động:
- Trước khi làm việc, công nhân phải mang đầy đủ bảo hộ lao động theo đúng quy định: Quần áo bảo hộ, khẩu trang, áo phao, mũ bảo hộ, găng tay...
2.2. Máy móc phương tiện, dụng cụ:
a. Đối với công tác khảo sát hiện trạng các hồ:
- Thiết bị: Máy trắc địa và toàn đạc, máy thủy bình, máy tính, máy vi tính, thước mét, xuồng máy...
- Dụng cụ: Cọc gỗ, sổ đo, giấy vẽ, bản gỗ, đinh sắt...
b. Đối với công tác chia ô lưới trên mặt hồ:
- Thiết bị: Thuyền máy, quả phao ...
- Dụng cụ: Cọc tre, dây buộc, vật neo phao (gạch), dây thừng ...
c. Đối với công tác phun rải chế phẩm:
- Thiết bị: thuyền máy, xe ô tô tải có gắn cần trục vận chuyển thuyền, chế phẩm, máy phun rải loại OSHIMA 3WF-3C-26 (hoặc máy có chủng loại, quy cách kỹ thuật tương đương)
- Dụng cụ: Thuyền tôn, xô múc nước, kéo, dao, gậy khuấy, gáo nhựa
d. Đối với công tác vệ sinh vớt rác:
- Dụng cụ: Thuyền tôn, xe gom rác, dụng cụ vớt rác
e. Đối với công tác quan trắc phân tích chất lượng nước
- Chuẩn bị tài liệu, các bản đồ, sơ đồ, thông tin chung về khu vực định lấy mẫu;
- Theo dõi điều kiện khí hậu, diễn biến thời tiết;
- Chuẩn bị các dụng cụ: Patomet lấy mẫu, bình thủy tinh, bình nhựa, xô múc nước, ...; kiểm tra, vệ sinh và hiệu chuẩn các thiết bị và dụng cụ lấy mẫu, đo, thử trước khi ra hiện trường;
- Chuẩn bị hóa chất: hóa chất bảo quản mẫu, các dung dịch chuẩn pH, DO...
- Chuẩn bị nhãn mẫu, các biểu mẫu, nhật ký quan trắc và phân tích theo quy định;
- Chuẩn bị các phương tiện phục vụ hoạt động lấy mẫu và vận chuyển mẫu;
- Chuẩn bị các tài liệu, biểu mẫu có liên quan khác.
f. Phương pháp phân tích
- Phương pháp phân tích chất lượng nước: Theo hướng dẫn của nhà sản xuất, các tiêu chuẩn và quy định hiện hành.
2.3. Thời gian triển khai thực hiện:
- Thời gian, nội dung công việc phục vụ xử lý (vớt rác, chia, tạo các ô lưới trên hồ, phun rải chế phẩm, thu dọn mặt bằng sau khi phun rải chế phẩm ..): từ 7h30 đến 16h30.
- Nghỉ trưa từ 12h00 đến 13h00, giữa ca làm việc sáng và chiều nghỉ giải lao 15 phút lần nghỉ giải lao.
- Thời gian lấy mẫu: Theo tiêu chuẩn Việt Nam TCVN 5994-1995: Chất lượng nước - Lấy mẫu - Hướng dẫn lấy mẫu ở ao hồ tự nhiên và nhân tạo.
2.4. Nhân công thực hiện:
a. Công tác khảo sát hiện trạng các hồ: 05 người/tổ khảo sát, cấp bậc thợ trung bình 4/7 (theo cấp địa hình II, Định mức xây dựng công trình - Phần khảo sát kèm theo Văn bản số 1779/BXD-VP ngày 16/8/2007 của Bộ Xây dựng)
b. Công tác chia ô lưới giải phao trên mặt hồ: 05 người, cấp bậc thợ trung bình 3,5/7; phân chia theo các nhóm để thực hiện (02 người đo khoảng cách và vạch dấu, căng dây; 03 người trên thuyền máy rải phao). Số lượng nhân công các nhóm phụ thuộc chu vi, diện tích từng hồ.
c. Công tác phun rải chế phẩm: Mỗi xuồng bố trí 03 người trong đó: 01 người lái thuyền; 01 người vận hành máy phun rải và tiếp thêm chế phẩm, nhiên liệu; 01 người cầm vòi phun cắm chìm dưới mặt nước 5÷10 cm, phun rải đều dưới mặt nước hồ để chế phẩm hòa tan trong nước, cấp bậc thợ trung bình bậc 4/7.
d. Công tác duy trì vớt rác: Thực hiện theo Quy trình Quản lý, duy trì hồ điều hoà số 20/QTTN ban hành kèm theo Quyết định số 6842/QĐ-UBND ngày 13/12/2016 của UBND Thành phố Hà Nội về việc công bố quy trình, định mức kinh tế kỹ thuật và đơn giá duy trì hệ thống thoát nước đô thị trên địa bàn thành phố Hà Nội.
e. Công tác quan trắc phân tích chất lượng nước: Thực hiện theo Thông tư 24/2017/TT-BTNMT ngày 01/09/2017 của Bộ tài nguyên và môi trường về quy định kỹ thuật quan trắc môi trường và Quyết định 1495/QĐ-UBND ngày 2/3/2017 của UBND thành phố Hà Nội về việc ban hành bộ quy trình, định mức kinh tế kỹ thuật và đơn giá quan trắc, phân tích môi trường trên địa bàn thành phố Hà Nội.
3. Sơ đồ quy trình công nghệ xử lý hồ
Nội dung công việc hồ được xử lý lần đầu:
- Quan trắc chất lượng môi trường nước nền để đánh giá môi trường nước hồ: lấy 01 mẫu/hồ, phân tích 29 chỉ tiêu theo QCVN 08-MT:2015/BTNMT và 04 chỉ tiêu đặc trưng của hồ gồm độ màu, Chlorphylla, nhiệt độ, mùi.
- Đối với các hồ chưa có số liệu ban đầu: Khảo sát hiện trạng các hồ, đo vẽ chi tiết bản đồ lòng hồ và trên cạn, theo tỷ lệ 1/500 cao độ đường đồng mức nước 1,0m để xác định dung tích hồ và khối lượng nước cần xử lý, hệ thống thu gom thoát nước xung quanh chảy vào hồ. Đối với các hồ đã có số liệu khảo sát, dựa vào bản vẽ, mực nước hiện trạng xác định khối lượng nước cần xử lý.
- Chia mặt hồ thành ô lưới có kích thước 10x10 m để phun rải chế phẩm đều trên mặt hồ.
- Chuẩn bị phương tiện, máy móc thiết bị, chế phẩm tập kết tại hồ cần xử lý.
- Triển khai phun rải chế phẩm Redoxy-3C để xử lý nước hồ: Định lượng xử lý 20g/m3 nước hồ.
- Quan trắc phân tích chất lượng nước: Thực hiện sau 20 ngày phun rải chế phẩm Redoxy-3C, lấy 03 mẫu/hồ, phân tích 12 thông số cơ bản của môi trường nước hồ gồm: Nhiệt độ, pH, DO, TSS, NH4+, COD, BOD5, PO43-, Fe, tổng Coliform, Chlorofill-a, NO3-.
- Vớt rác trên mặt hồ: thực hiện hàng ngày.
Hình 1: Sơ đồ quy trình xử lý nước hồ lần đầu bằng chế phẩm Redoxy-3C

4. Các bước thực hiện xử lý nước hồ lần đầu:
4.1. Quan trắc chất lượng môi trường nước nền
Thực hiện quan trắc chất lượng nước các hồ lần đầu để đánh giá môi trường nước. Số lượng mẫu: 01 mẫu/hồ, các thông số phân tích gồm 29 chỉ tiêu theo QCVN 08-MT:2015/BTNMT gồm pH, DO, TSS, NO3-, NO2-, NH4+, PO43-, BOD5, COD, tổng Coliform, Fe, Phenol tổng số, Cu, Mn, Zn, Clorua, Niken, As, tổng Cr, Cr6+, Pb, Cd, Hg, Tổng các chất hoạt động bề mặt, CN-, F-, Tổng dầu mỡ, Tổng hoạt động phóng xạ α. Tổng hoạt động phóng xạ β và 04 thông số đặc trưng của hồ gồm độ màu, Chlorphylla, nhiệt độ, mùi.
Quan trắc nền trước xử lý với các hồ đã thực hiện quan trắc nền lần đầu: Số lượng mẫu: 01 mẫu/hồ, các thông số phân tích 05 chỉ tiêu BOD5, COD, NO3-, NH4+, PO43-.
4.2. Khảo sát hiện trạng các hồ, đo vẽ chi tiết bản đồ tỷ lệ 1/500 đường đồng mức 1.0m để xác định dung tích hồ, diện tích mặt nước và khối lượng nước cần xử lý (đối với các hồ chưa có số liệu ban đầu)
+ Nhân công thực hiện: Tổ khảo sát gồm 05 người, trong đó 01 người xử lý số liệu, vẽ chi tiết bản đồ trên máy tính; khảo sát tại hiện trường: 01 kỹ sư trắc địa, 03 công nhân khảo sát tại hiện trường.
+ Thao tác thực hiện:
- Nhận nhiệm vụ, lập phương án thi công, thăm thực địa, chuẩn bị dụng cụ, vật tư trang thiết bị.
- Công tác khống chế đo vẽ: Toàn bộ từ khâu chọn điểm đo góc, đo cạnh, tính toán bình sai lưới tam giác nhỏ, đường chuyền kinh vĩ, đường chuyền toàn đạc, thủy chuẩn đo vẽ.
- Đo vẽ chi tiết: Từ khâu chấm vẽ lưới tạo ô vuông, bồi bản vẽ, lên tọa độ điểm đo vẽ, đo vẽ chi tiết bản đồ bằng phương pháp toàn đạc, bàn bạc. Vẽ đường đồng mức bằng phương pháp nội suy, ghép biên tu sửa bản đồ gốc, kiểm tra hoàn chỉnh công tác nội, ngoại nghiệp, can in, đánh máy, nghiệm thu và bàn giao.
- Tính toán dung tích hồ, diện tích mặt nước và khối lượng nước để phục vụ công tác xử lý, duy trì chất lượng nước.
+ Yêu cầu chất lượng:
- Bản vẽ hiện trạng hồ tỷ lệ 1/500.
- Tính toán được dung tích hồ, diện tích mặt nước, khối lượng nước tương ứng với mực nước tính toán để phục vụ công tác xử lý, duy trì chất lượng nước hồ.
4.3. Chia mặt hồ thành ô lưới
+ Máy móc, thiết bị: Thuyền máy động cơ 15CV
+ Vật tư: dây dù D3mm, vật neo phao (gạch nhà máy DxRxC = 220x105x60mm), quả phao xốp D80mm (vật tư hao mòn chóng hỏng dây dù, phao,..sử dụng 2÷3 lần thực hiện việc chia ô lưới hoặc theo thời gian < 12 tháng).
+ Thao tác thực hiện:
- Đối với các hồ có kè bờ: Sơn đánh dấu vị trí các hàng thả phao theo chiều rộng và chiều dài hồ, mỗi hàng phao cách nhau 10 m.
- Đối với các hồ không kè: đóng cọc tre đánh dấu vị trí các hàng thả phao như đối với các hồ có kè bờ.
- 02 người đứng tại vị trí đã đánh dấu ở 2 bờ đối diện để căng dây và tạo ô lưới.
- 03 người trên xuồng máy: 01 người lái xuồng máy, 02 người buộc dây dù vào vật neo phao. Đi thuyền máy dọc theo dây đã căng, thả vật neo phao xuống đáy hồ sau đó buộc dây dù vào quả phao, khoảng cách mỗi quả phao là 10m (01 người chuẩn bị, gỡ rối dây, 01 người thả phao). Đi hết hàng này chuyển sang hàng khác làm tiếp cho đến hết hồ.
- Sau khi công tác phun rải chế phẩm xong thực hiện thu gom các quả phao, vật neo phao đã thả trên hồ về kho, 03 người/01 thuyền (01 người lái thuyền, 02 người thu gom quả phao).
+ Yêu cầu chất lượng: Khoảng cách giữa các quả phao trên mặt hồ đều nhau, các quả phao thẳng theo hàng.
4.4. Phun rải chế phẩm
+ Số ngày làm việc: Theo khối lượng chế phẩm phun rải và tốc độ phun của máy.
+ Máy móc thiết bị: Thuyền máy động cơ 15CV, máy phun rải đa năng OSHIMA 3WF-3C-26 (hoặc máy có chủng loại, quy cách kỹ thuật tương đương) 300 kg chế phẩm/thuyền/ca máy (6 giờ).
+ Nhân công: 03 người/thuyền/01 máy phun rải.
+ Khối lượng chế phẩm: 20 g chế phẩm Redoxy-3C/01 m3 nước hồ cần xử lý.
+ Chuẩn bị phun rải:
- Bốc dỡ máy móc thiết bị, chế phẩm và vận chuyển đến hồ xử lý.
+ Thực hiện phun rải:
- Tổ trưởng kiểm tra, kiểm đếm khối lượng chế phẩm, máy móc thiết bị, công cụ dụng cụ; kiểm tra, hướng dẫn công tác an toàn lao động, bảo hộ lao động.
- Công nhân phải trang bị đủ bảo hộ lao động, công cụ dụng cụ ... theo công việc được phân công thực hiện.
- Phun rải: Trên mỗi xuồng máy để 01 máy phun rải đa năng. Dùng xuồng máy chở thiết bị phun rải đa năng, vật liệu xử lý và người phun rải đi trên mặt hồ để thực hiện phun rải. Mỗi xuồng bố trí 03 người trong đó: 01 người lái thuyền; 01 người vận hành máy phun rải và tiếp thêm chế phẩm, nhiên liệu; 01 người cầm vòi phun cắm chìm dưới mặt nước 5÷10 cm, phun rải đều dưới mặt nước hồ để chế phẩm hòa tan trong nước.
- Cuối giờ làm việc hàng ngày: Công nhân thu gom máy móc thiết bị, công cụ dụng cụ, vỏ thùng chế phẩm ... vận chuyển về nơi tập kết. Vệ sinh thuyền máy, máy phun rải, địa điểm tập kết vật liệu. Kiểm tra thu dọn bao bì, vệ sinh dụng cụ, kiểm tra vệ sinh BHLĐ, đưa công cụ dụng cụ lao động, BHLĐ về nơi quy định.
+ Yêu cầu chất lượng: Chế phẩm hòa tan đều trong nước và đúng theo quy trình, quy cách kỹ thuật của nhà sản xuất, đảm bảo an toàn trong quá trình xử lý.
4.5. Vớt rác thải trên mặt hồ: Thực hiện theo Quy trình Quản lý, duy trì hồ điều hòa số 20/QTTN ban hành kèm theo Quyết định số 6842/QĐ-UBND ngày 13/12/2016 của UBND Thành phố Hà Nội về việc công bố quy trình, định mức kinh tế kỹ thuật và đơn giá duy trì hệ thống thoát nước đô thị trên địa bàn thành phố Hà Nội.
4.6. Quan trắc phân tích chất lượng nước hồ
+ Tần suất thực hiện: Lấy mẫu 01 lần sau 20 ngày khi hoàn thành công việc phun rải chế phẩm Redoxy-3C.
+ Khối lượng mẫu: 03 mẫu nước mặt, độ sâu 30÷50 cm cách mặt nước, 03 mẫu gồm 02 mẫu gần bờ và 01 mẫu giữa hồ.
Ghi chú: Đối với hồ có độ sâu ≥ 3m, đo thông số DO theo độ sâu của 2 tầng nước: mặt và đáy, mẫu đáy lấy ở độ sâu cách mặt đáy hồ 30÷50cm.
+ Nhân công quan trắc mẫu hiện trường: Thực hiện theo Quyết định 1495/QĐ-UBND ngày 2/3/2017 của UBND thành phố Hà Nội về việc ban hành bộ quy trình, định mức kinh tế kỹ thuật và đơn giá quan trắc, phân tích môi trường trên địa bàn thành phố Hà Nội).
+ Phân tích 12 thông số cơ bản của môi trường nước hồ: Nhiệt độ, pH, DO, TSS, NH4+, COD, BOD5, PO43-, Fe, tổng Coliform, Chlorofyll-a, NO3-.
+ Nội dung công việc:
- Việc lấy mẫu nước các hồ phải tuân theo tiêu chuẩn TCVN 5994:1995 (ISO 5667-4:1987).
- Đối với các thông số đo, phân tích tại hiện trường: theo các hướng dẫn sử dụng thiết bị quan trắc của các hãng sản xuất;
- Công tác đảm bảo chất lượng và kiểm soát chất lượng tại hiện trường thực hiện theo các văn bản, quy định của Bộ tài nguyên và Môi trường về hướng dẫn đảm bảo chất lượng và kiểm soát chất lượng trong quan trắc môi trường;
- Bảo quản và vận chuyển mẫu: Mẫu sau khi lấy được bảo quản và lưu giữ theo tiêu chuẩn quốc gia TCVN 6663-3:2008 (ISO 5667-3:2003)
- Phân tích trong phòng thí nghiệm: Theo các hướng dẫn của nhà sản xuất và các tiêu chuẩn hiện hành. Công tác đảm bảo chất lượng và kiểm soát chất lượng trong phòng thí nghiệm thực hiện theo các văn bản, quy định của Bộ Tài nguyên và Môi trường về hướng dẫn đảm bảo chất lượng và kiểm soát chất lượng trong quan trắc môi trường
- Xử lý số liệu và báo cáo
+ Yêu cầu chất lượng: Thực hiện lấy mẫu và phân tích chất lượng nước theo đúng quy định hiện hành.
II. QUY TRÌNH DUY TRÌ CHẤT LƯỢNG NƯỚC HỒ SAU XỬ LÝ
1. Phân loại các hồ theo đặc điểm tiếp nhận nước thải
Các hồ sau khi xử lý ô nhiễm nước lần đầu đã đạt quy chuẩn QCVN 08-MT:2015/BTNMT cột B1 và QCTĐHN 02:2014/BTNMT cột B với hệ số Kq = 0,6; Kf=0,9. Tuy nhiên, đặc điểm các hồ Hà Nội phần lớn có chức năng điều hòa nước mưa (bổ cập hỗn hợp nước mưa + nước thải khi có mưa) hoặc một số hồ luôn có bổ cập nước thải và một số hồ khác không tiếp nhận trực tiếp nước thải nhưng vẫn bị tái ô nhiễm nước do nhiều lý do khác nhau (nước thải sinh hoạt có thể ngấm theo đất vào hồ, xả trộm nước thải, rác, phế thải,...).
Vì vậy, để tránh hiện tượng tái ô nhiễm nguồn nước, phân loại các hồ thành 03 nhóm để xác định thời gian phun rải chế phẩm theo 02 tiêu chí: Đặc điểm tiếp nhận nước thải vào hồ và theo mức độ ô nhiễm đối với thông số COD so với giá trị tại cột B1 QCVN 08-MT:2015/BTNMT (lựa chọn thông số COD để đánh giá dựa theo Đề án “Cải tạo môi trường các hồ ở nội thành Hà Nội” đã được phê duyệt tại Quyết định số 845/QĐ-UBND ngày 12/02/2010 của UBND Thành phố Hà Nội), cụ thể như sau:
Bảng 2: Phân loại hồ và tần suất duy trì chất lượng nước hồ
|
TT |
Tên nhóm hồ |
Đặc điểm |
Tần suất phun rải chế phẩm duy trì nước (dự kiến) |
|
1 |
Nhóm hồ 1 |
Không tiếp nhận nước thải chảy vào |
09 tháng/lần |
|
2 |
Nhóm hồ 2 |
Tiếp nhận hỗn hợp nước mưa + nước thải khi có mưa |
06 tháng/lần |
|
3 |
Nhóm hồ 3 |
Tiếp nhận nước thải trực tiếp vào hồ |
03 tháng/lần |
- Dựa trên kết quả quan trắc chất lượng nước hàng tháng, khi thông số COD vượt giá trị giới hạn tại QCVN 08-MT:2015/TNMT cột B1, các bên sẽ lập biên bản hiện trường để xem xét thực hiện phun rải chế phẩm để duy trì chất lượng nước hồ.
2. Công tác chuẩn bị
2.1. An toàn lao động:
- Trước khi làm việc công nhân phải được trang bị đầy đủ bảo hộ lao động theo đúng quy định: Quần áo bảo hộ, khẩu trang, áo phao, mũ bảo hộ, găng tay...
2.2. Chuẩn bị máy móc, dụng cụ:
Đối với các công việc chia ô lưới trên mặt hồ, phun rải chế phẩm, vớt rác trên mặt hồ, quan trắc phân tích chất lượng nước tương tự Mục 2.2 Khoản A Phần IV Quy trình này. Ngoài ra, với các hồ có lắp đặt bè thủy sinh, máy sục khí bề mặt cần chuẩn bị thực hiện thêm các công việc sau:
a. Đối với công tác kiểm tra, chăm sóc, cắt tỉa bè thủy sinh hàng tháng:
- Dụng cụ: Thuyền, liềm, ván đi trên bè ...
b. Đối với công tác vận hành máy sục khí bề mặt hàng ngày:
- Dụng cụ: Thuyền, găng tay cao su, ủng, dụng cụ đo kiểm chuyên ngành điện: ampe kìm, đồng hồ đo điện trở tiếp địa, đồng hồ đo điện trở cách điện ...
2.3. Nhân công thực hiện:
Đối với các công tác chia ô lưới trên mặt hồ, vệ sinh vớt rác, lấy mẫu phân tích chất lượng nước tương tự Mục 2.4 Khoản I Phần IV Quy trình này. Riêng đối với công tác phun rải chế phẩm: 150 kg chế phẩm/ thuyền/ca máy, 03 người/ca (cấp bậc thợ trung bình 4/7)
Ngoài ra, với các hồ có lắp đặt bè thủy sinh, máy sục khí bề mặt cần chuẩn bị thêm nhân lực thực hiện các công việc sau:
a. Đối với công tác duy tu, duy trì bè thủy sinh: Thực hiện theo Quy trình Quản lý, duy trì bè thủy sinh trên sông, hồ số 23/QTTN ban hành kèm theo Quyết định số 6842/QĐ-UBND ngày 13/12/2016 của UBND Thành phố Hà Nội về việc công bố quy trình, định mức kinh tế kỹ thuật và đơn giá duy trì hệ thống thoát nước đô thị trên địa bàn thành phố Hà Nội.
b. Đối với công tác vận hành máy sục khí bề mặt: 01 người/ca. Cấp bậc thợ trung bình 4,0/7 (đối với hồ có trạm bơm, cửa phai: nhân công vận hành máy sục khí bề mặt sẽ được kết hợp với nhân công vận hành trạm bơm, cửa phai). Hàng tuần, bố trí 01 kỹ sư điện (cấp bậc thợ 5,0/8) kiểm tra, đánh giá độ an toàn của các mối nối, máy sục khí, đo điện trở cách điện, kiểm tra thiết bị bảo vệ an toàn...
3. Mô tả chung quy trình:
Các bước thực hiện duy trì chất lượng nước các hồ sau xử lý như sau:
- Dựa vào bản vẽ, mực nước hiện trạng xác định diện tích mặt nước hồ, khối lượng nước hồ trước khi phun rải chế phẩm.
- Chia mặt hồ thành ô lưới có kích thước khoảng 10x10 m để phun rải đều trên khắp mặt hồ.
- Chuẩn bị phương tiện, máy móc thiết bị, chế phẩm tập kết tại hồ.
- Triển khai phun rải chế phẩm Redoxy-3C để duy trì chất lượng nước hồ, định lượng duy trì 10g/m3 nước hồ:
- Quan trắc, phân tích chất lượng nước: Quan trắc, phân tích chất lượng nước với tần suất quan trắc là 02 tháng / lần (thực hiện vào các tháng 1,3,5,7,9,11 hàng năm) theo thông tư 24/2017/TT-BTNMT ngày 1/9/2017 của Bộ tài nguyên và môi trường. Riêng chỉ tiêu COD được quan trắc 01 tháng/lần làm cơ sở xác định hồ có cần phun rải duy trì.
- Duy trì vớt rác thải trên mặt hồ: Thực hiện theo Quy trình Quản lý, duy trì hồ điều hoà số 20/QTTN ban hành kèm theo Quyết định số 6842/QĐ-UBND ngày 13/12/2016 của UBND Thành phố Hà Nội về việc công bố quy trình, định mức kinh tế kỹ thuật và đơn giá duy trì hệ thống thoát nước đô thị trên địa bàn thành phố Hà Nội.
- Duy tu, duy trì bè thủy sinh: Thực hiện theo Quy trình Quản lý, duy trì bè thủy sinh trên sông, hồ số 23/QTTN ban hành kèm theo Quyết định số 6842/QĐ-UBND ngày 13/12/2016 của UBND Thành phố Hà Nội về việc công bố quy trình, định mức kinh tế kỹ thuật và đơn giá duy trì hệ thống thoát nước đô thị trên địa bàn thành phố Hà Nội.
Vận hành máy sục khí bề mặt: Thực hiện hàng ngày.

4. Các bước thực hiện duy trì chất lượng nước các hồ sau xử lý:
1.1. Quan trắc phân tích chất lượng nước hồ
+ Tần suất thực hiện: Quan trắc, phân tích chất lượng nước với tần suất quan trắc là 02 tháng / lần (thực hiện vào các tháng 1,3,5,7,9,11 hàng năm) theo thông tư 24/2017/TT-BTNMT ngày 1/9/2017 của Bộ tài nguyên và môi trường. Riêng chỉ tiêu COD được quan trắc 01 tháng/lần.
+ Số lượng mẫu: Số mẫu lấy trên hồ dựa theo nhóm hồ:
- Hồ nhóm 1 lấy 01 mẫu/hồ. Vị trí lấy mẫu: Giữa hồ
- Hồ nhóm 2 lấy 02 mẫu/hồ. Vị trí lấy mẫu: Giữa hồ và 01 điểm gần cống nước thải vào hồ
- Hồ nhóm 3 lấy 03 mẫu/hồ. Vị trí lấy mẫu: Giữa hồ và 02 điểm gần cống nước thải vào hồ
Ghi chú: Đối với hồ có độ sâu ≥ 3m, đo thông số DO theo độ sâu của 2 tầng nước: mặt và đáy, mẫu đáy lấy ở độ sâu cách mặt đáy hồ 30÷50cm.
+ Nhân công quan trắc mẫu hiện trường: Thực hiện theo Quyết định 1495/QĐ-UBND ngày 2/3/2017 của UBND thành phố Hà Nội về việc ban hành bộ quy trình, định mức kinh tế kỹ thuật và đơn giá quan trắc, phân tích môi trường trên địa bàn thành phố Hà Nội).
+ Phân tích 12 thông số cơ bản của môi trường nước hồ: Nhiệt độ, pH, DO, TSS, NH4+, COD, BOD5, PO43-, Fe, tổng Coliform, Chlorophylla, NO3-.
+ Nội dung công việc: Theo mục 4.6 khoản I phần IV của quy trình này
4.2. Chia mặt hồ thành ô lưới
Nội dung thực hiện theo Mục 4.3 Khoản I Phần IV quy trình này.
4.3. Phun rải chế phẩm
Nội dung thực hiện theo Mục 4.4. Khoản I Phần IV quy trình này. Định lượng chế phẩm Redoxy-3C duy trì chất lượng nước là 10 g/m3. Riêng công suất máy phun rải đa năng OSHIMA là 150 kg chế phẩm/thuyền/ca máy để đảm bảo chế phẩm được rải đều trên mặt hồ.
4.4. Duy trì vớt rác thải trên mặt hồ
Nội dung thực hiện theo Mục 4.5 Khoản I Phần IV quy trình này.
4.5. Duy tu, duy trì bè thủy sinh cây thủy trúc
Thực hiện theo Quy trình Quản lý, duy trì bè thủy sinh trên sông, hồ số 23/QTTN ban hành kèm theo Quyết định số 6842/QĐ-UBND ngày 13/12/2016 của UBND Thành phố Hà Nội về việc công bố quy trình, định mức kinh tế kỹ thuật và đơn giá duy trì hệ thống thoát nước đô thị trên địa bàn thành phố Hà Nội.
4.6. Vận hành máy sục khí bề mặt
a. Tần suất thực hiện: hàng ngày
b. Thời gian thực hiện: Vận hành hàng ngày từ 05h00 đến 09h00 và từ 17h00 đến 21h00. Đối với những ngày thời tiết bất thường (mưa lớn, ...) thì vận hành thêm thời gian từ 22h00 đến 04h00 sáng hôm sau vì khoảng thời gian này, hàm lượng oxy hòa tan trong hồ ở mức thấp nhất trong ngày.
c. Nhân công thực hiện:
- Công nhân kỹ thuật, bậc thợ bình quân 4,0/7: 01 người/ca. Một ngày trực 02 ca với những ngày bình thường và 03 ca/ngày khi cần thiết đối với những ngày thời tiết bất thường.
- Hàng tuần, bố trí 01 kỹ sư điện (cấp bậc thợ 5,0/8) kiểm tra, đánh giá độ an toàn của các mối nối, máy sục khí, đo điện trở cách điện, kiểm tra các thiết bị bảo vệ an toàn...
- Trang bị đầy đủ công cụ dụng cụ, bảo hộ lao động (vợt vớt rác, cào rác, thuyền, ủng cao su, găng tay cách điện, đồng hồ đo điện trở tiếp địa, đồng hồ đo điện trở cách điện, ampe kìm...)
- Kiểm tra an toàn các thiết bị, hệ thống điện trước và sau khi vận hành máy
- Kiểm tra, căn chỉnh, tua rác khu vực xung quanh máy sục khí trước và sau khi vận hành.
- Theo dõi thường xuyên tình trạng vận hành của máy sục khí.
- Thực hiện công tác quản lý, bảo vệ máy sục khí trong suốt ca làm việc
PHẦN II. YÊU CẦU CHẤT LƯỢNG
- Về cảm quan môi trường nước hồ trong, không có mùi khó chịu ảnh hưởng tới khu vực xung quanh.
- Một số nhóm chính thuộc hệ sinh thái thủy sinh như tảo, động vật phù du phát triển bình thường.
- Các thông số ô nhiễm cơ bản đạt Quy chuẩn kỹ thuật quốc gia về nước mặt QCVN 08-MT:2015/BTNMT cột B1 và QCTĐHN 02 :2014/BTNMT cột B với hệ số Kq = 0,6; Kf=0,9.
PHỤ LỤC 2
ĐỊNH MỨC ĐIỀU CHỈNH, BỔ SUNG CÔNG TÁC DUY TRÌ, SỬA CHỮA HỆ THỐNG THOÁT NƯỚC ĐÔ THỊ THÀNH PHỐ HÀ NỘI
(Kèm theo Quyết định số 3598/QĐ-UBND ngày 17 tháng 7 năm 2018 của UBND Thành phố Hà Nội)
A. ĐIỀU CHỈNH 06 ĐỊNH MỨC
1. Nạo vét bùn cống ngầm bằng thủ công (Mã hiệu TN1.01.10)
Thành phần công việc
- Chuẩn bị dụng cụ, phương tiện, mặt bằng làm việc, đặt biển báo công trường, cảnh giới giao thông.
- Mở nắp ga, chờ khí độc bay đi
- Dùng quả găng luồn qua cống, gạt bùn về hố ga.
- Chui vào lòng cống bốc, xúc bùn vào trong xô, vận chuyển bùn ra (đối với các tuyến cống có tiết diện D > 600mm hoặc tương đương)
- Xúc bùn vào xô, đưa lên và đổ vào phương tiện trung chuyển (xe cải tiến hoặc xe đẩy tay).
- Trung chuyển bùn tới nơi tập kết tạm
- Xúc bùn từ phương tiện trung chuyển vào phương tiện chứa bùn để ở nơi tập kết tạm
- Vận chuyển bùn bằng phương tiện chuyên dụng về bãi đổ quy định
- Vệ sinh, thu dọn mặt bằng và tập trung dụng cụ, phương tiện về nơi quy định
Đơn vị tính: 1m3
|
Mã hiệu |
Loại công tác |
Thành phần hao phí |
ĐVT |
Định mức |
|
TN1.01.10 |
Nạo vét bùn cống ngầm bằng thủ công |
Nhân công: Công nhân bậc bình quân 4,0/7 - Nhóm 3 |
công |
5,355 |
|
Máy thi công: Xe ô tô chuyên dụng 4,5 tấn |
ca |
0,11 |
Ghi chú:
1. Định mức trên áp dụng cho cống tròn có đường kính từ 300< D ≤ 600mm hoặc các loại cống khác có tiết diện tương đương. Với cống có đường kính từ 600 < D ≤ 1000mm được điều chỉnh với hệ số K = 0,95, cống có đường kính D >1000mm điều chỉnh với hệ số K = 0,93.
- Trường hợp nạo vét rãnh thì điều chỉnh hệ số K = 0,85.
2. Định mức tại bảng trên quy định hao phí nhân công áp dụng cho địa bàn các Quận. Đối với địa bàn các Huyện, Thị xã định mức nhân công điều chỉnh hệ số K = 0,85.
3. Định mức trên áp dụng cho cự ly vận chuyển từ 12-20km, với cự ly vận chuyển > 20km thì định mức được điều chỉnh hệ số như sau:
|
Cự ly |
Hệ số điều chỉnh |
|
20 < L≤ 40km |
K = 1,075 |
|
40 < L ≤ 60km |
K = 1,092 |
|
L > 60km |
K = 1,139 |
2. Nạo vét bùn cống ngang bằng thủ công (Mã hiệu TN1.01.20)
Thành phần công việc
- Chuẩn bị dụng cụ, phương tiện và mặt bằng làm việc, đặt biển báo công trường, cảnh giới giao thông.
- Mở nắp ga, chờ khí độc bay đi
- Dùng quả găng luồn qua cống, gạt bùn về hố ga
- Xúc bùn từ hố ga vào xô, đưa lên và đổ vào phương tiện trung chuyển (xe cải tiến hoặc xe đẩy tay)
- Trung chuyển bùn đến địa điểm tập kết
- Xúc bùn từ phương tiện trung chuyển vào phương tiện chứa bùn để ở nơi tập kết tạm
- Vệ sinh, thu dọn mặt bằng làm việc và tập kết dụng cụ, phương tiện về nơi quy định
- Vận chuyển bùn bằng phương tiện chuyên dụng về bãi đổ quy định
- Ứng trực để giải quyết thoát nước tại các trận mưa
- Đảm bảo các ga, cống ngang không tắc tất cả các ngày trong năm
- Đảm bảo miệng ga hàm ếch, ga thu không có vật cản, sạch rác tất cả các ngày trong năm
Đơn vị tính: 1 ga thu nước/1 lần/1 tháng
|
Mã hiệu |
Loại công tác |
Thành phần hao phí |
ĐVT |
Định mức |
|
TN1.01.20 |
Nạo vét bùn cống ngang bằng thủ công |
Nhân công: Công nhân bậc bình quân 3,5/7 - nhóm 2 |
công |
1,880 |
|
Máy thi công: Xe ô tô chuyên dụng 4,5 tấn |
ca |
0,033 |
Ghi chú:
1. Định mức tại bảng trên quy định hao phí nhân công, máy thi công áp dụng cho địa bàn các Quận. Đối với địa bàn các Huyện, Thị xã định mức nhân công điều chỉnh hệ số K = 0,85.
2. Đối với công tác nạo vét bùn ga thu hỗn hợp thì định mức được điều chỉnh hệ số K = 0,5.
3. Định mức trên áp dụng cho cự ly vận chuyển từ 12-20km, với cự ly vận chuyển > 20km thì định mức được điều chỉnh hệ số như sau:
|
Cự ly |
Hệ số điều chỉnh |
|
20< L ≤ 40km |
K = 1,075 |
|
40 < L ≤ 60km |
K = 1,092 |
|
L > 60km |
K =1,139 |
3. Nạo vét bùn mương, sông bằng thủ công (Mã hiệu TN1.02.10)
Thành phần công việc:
- Chuẩn bị dụng cụ, phương tiện. Dọn dẹp mặt bằng hai bên bờ mương
- Nạo vét bùn dưới lòng mương, xúc vào xô, chuyển bùn lên thuyền
- Kéo thuyền bùn dọc mương (cự ly ≤ 300m) chuyển bùn lên bờ đổ lên phương tiện trung chuyển (xe cải tiến hoặc xe đẩy tay)
- Trung chuyển bùn tới nơi tập kết tạm cự ly 150 m (Trường hợp chuyển bùn từ vị trí nạo vét đến nơi tập kết tạm < 150m thì không được tính là trung chuyển bùn)
- Xúc bùn từ phương tiện trung chuyển vào phương tiện chứa bùn để ở nơi tập kết tạm
- Vận chuyển bùn bằng phương tiện chuyên dụng về bãi đổ quy định
- Vệ sinh, thu dọn mặt bằng làm việc và tập trung dụng cụ, phương tiện về nơi quy định
Đơn vị tính: 1 m3
|
Mã hiệu |
Loại công tác |
Thành phần hao phí |
ĐVT |
Định mức |
|
TN1.02.10 |
Nạo vét bùn mương sông bằng thủ công |
Nhân công: Công nhân bậc bình quân 3,5/7 - nhóm 2 |
công |
3,69 |
|
Máy thi công: Xe ô tô chuyên dụng 4,5 tấn |
ca |
0,11 |
Ghi chú:
1. Định mức trên tính cho công tác nạo vét bùn mương có chiều rộng ≤ 6m, phải trung chuyển bùn, trường hợp không phải trung chuyển bùn thì định mức nhân công, máy thi công được điều chỉnh hệ số K = 0,85.
2. Trường hợp nạo vét bùn mương có chiều rộng > 6m, phải trung chuyển bùn thì định mức điều chỉnh hệ số K=0,98, trường hợp nạo vét bùn mương có chiều rộng >6m không phải trung chuyển bùn thì điều chỉnh hệ số K=0,85.
3. Định mức tại bảng trên quy định hao phí nhân công áp dụng cho địa bàn các Quận. Đối với địa bàn các Huyện, Thị xã định mức nhân công điều chỉnh hệ số K = 0,85
4. Định mức trên áp dụng cho cự ly vận chuyển từ 12-20km, với cự ly vận chuyển > 20km thì định mức được điều chỉnh hệ số như sau:
|
Cự ly |
Hệ số điều chỉnh |
|
20 < L ≤ 40km |
K = 1,075 |
|
40 < L ≤ 60km |
K = 1,092 |
|
L > 60km |
K =1,139 |
4. Nạo vét bùn cống ngang bằng thủ công có cơ giới hỗ trợ (Mã hiệu TN2.01.50)
Thành phần công việc
- Chuẩn bị dụng cụ, phương tiện và mặt bằng làm việc, đặt biển báo công trường, cảnh giới giao thông.
- Mở nắp ga, chờ khí độc bay đi
- Dùng quả găng luồn qua cống, gạt bùn về hố ga
- Dùng xe hút chân không hút, vệ sinh miệng ghi thi, ga thu, máng lắng, hút bùn từ ga thu sau khi công nhân cống ngang gạt bùn về hố ga
- Xe hút chân không di chuyển về bãi chứa bùn sau khi xe đã đầy
- Vệ sinh, thu dọn mặt bằng làm việc và tập kết dụng cụ, phương tiện về nơi quy định
- Ứng trực để giải quyết thoát nước tại các trận mưa
- Đảm bảo các ga, cống ngang không tắc tất cả các ngày trong năm
- Đảm bảo miệng ga hàm ếch, ga thu không có vật cản, sạch rác tất cả các ngày trong năm
Đơn vị tính: 1 ga thu nước/1 lần/1 tháng
|
Mã hiệu |
Loại công tác |
Thành phần hao phí |
ĐVT |
Định mức |
|
TN2.01.50 |
Nạo vét bùn cống ngang bằng thủ công có cơ giới hỗ trợ |
Nhân công: Công nhân bậc bình quân 3,5/7- nhóm 2 |
công |
0,846 |
|
Máy thi công: Xe hút chân không 4T |
ca |
0,0788 |
Ghi chú:
1. Định mức tại bảng trên quy định hao phí áp dụng cho địa bàn các Quận. Đối với địa bàn các Huyện, Thị xã định mức nhân công điều chỉnh hệ số K = 0,85.
2. Đối với công tác nạo vét bùn ga thu hỗn hợp thì định mức được điều chỉnh hệ số K = 0,5
3. Định mức trên áp dụng cho cự ly vận chuyển từ 12-20km, với cự ly vận chuyển >20km thì định mức được điều chỉnh hệ số như sau:
|
Cự ly |
Hệ số điều chỉnh |
|
20 < L ≤ 40km |
K = 1,075 |
|
40 < L ≤ 60km |
K =1,092 |
|
L > 60km |
K =1,139 |
5. Công tác quản lý, duy trì hồ điều hòa (Mã hiệu TN9.01.10)
Thành phần công việc:
1. Theo dõi thủy chí
- Chuẩn bị sổ sách ghi chép số liệu và đến các vị trí đo thủy chí;
- Kiểm tra tình trạng thước, cọ rửa thủy chí khi mờ do bùn rác bám vào, gia cố thước khi có hiện tượng bong tróc;
- Đọc cao trình mực nước tại thước đo trong hồ và ngoài cống;
- Báo cáo kết quả thủy chí về đơn vị quản lý hàng ngày sau khi kết thúc việc đọc thủy chí;
- Tổng hợp số liệu thủy chí các hồ theo ngày/tháng/năm;
- Theo dõi, đánh giá sự biến thiên mực nước trong hồ và sự chênh lệch mực nước trong và ngoài hồ
2. Vận hành cửa phai
- Ứng trực theo dự báo thời tiết và yêu cầu sản xuất
- Trực và vận hành cửa phai theo đúng hướng dẫn vận hành;
- Ghi chép, theo dõi diễn biến mực nước trong và ngoài hồ trước, sau khi vận hành phai;
- Báo cáo thường xuyên tình hình mực nước về đơn vị quản lý;
3. Duy trì vệ sinh môi trường hồ
* Đối với hồ có đường quản lý:
- Chèo, lái thuyền đi và dùng cào, vợt vớt bèo, rác trôi nổi trên mặt hồ lên thuyền.
- Nhặt rác, phát quang cỏ, cây bụi ở mái hồ, đường quản lý; dùng cào, vợt vớt bèo, rác xung quanh các cửa cống, cửa đăng đưa lên xe gom.
- Đẩy xe đi xung quanh hồ, thu gom bèo, rác.
* Đối với hồ không có đường quản lý:
- Chèo, lái thuyền đi trên mặt hồ để thu gom rác, cành cây, chặt cây ở mái hồ.
- Sử dụng cào, vợt vớt bèo rác trôi nổi trên mặt hồ và xung quanh các cửa cống, cửa đăng lên thuyền.
- Khi đầy thuyền, chèo thuyền đưa rác, phế thải vào bờ và đưa lên bờ để chuyển lên xe gom đưa về vị trí tập kết.
- Hết giờ làm việc theo quy định, vệ sinh mặt bằng thi công và dụng cụ, bảo hộ lao động, để đúng nơi quy định.
- Rác thu gom bao gồm các loại rác sinh hoạt do dân thải ra và các đống phế thải xây dựng ≤ 0,2 m3. Trường hợp các đống phế thải > 0,2 m3 thì tính riêng.
4. Quản lý quy tắc hồ
- Đi tua xung quanh hồ trên địa bàn được phân công, phát hiện các trường hợp lấn chiếm hành lang quản lý hồ, mặt hồ như xây nhà tạm, khu vệ sinh, đào đất, thả rau, đổ phế thải, đấu cống xả nước thải trực tiếp vào hồ...
- Lập biên bản các trường hợp vi phạm, đề nghị chính quyền địa phương và cơ quan chức năng như thanh tra, công an, cảnh sát môi trường... xử lý
- Phối hợp chặt chẽ với chính quyền địa phương và cơ quan chức năng trong việc giải tỏa các điểm nhỏ lẻ bị lấn chiếm, các điểm đổ phế thải, các điểm xả nước thải trực tiếp vào hồ; phát hiện và khôi phục lại các vị trí mốc giới (nếu có) bị mất, lấn chiếm: Thực hiện các công tác giải tỏa nhỏ lẻ phát sinh.
- Giám sát các đơn vị thi công về biện pháp dẫn dòng.
- Phát hiện các điểm kè hồ bị sụt lở, rạn nứt đề xuất biện pháp khắc phục.
- Ghi chép nhật trình để lưu làm hồ sơ và báo cáo.
Đơn vị tính: ha mặt nước hồ
|
Mã hiệu |
Loại công tác |
Thành phần hao phí |
ĐVT |
Hồ có diện tích ≤ 5ha |
|
TN9.01.10 |
Quản lý, duy trì hồ điều hòa |
Nhân công: Công nhân bậc bình quân 4,0/7 - nhóm 3 |
công |
0,406 |
Ghi chú:
- Định mức trên quy định cho công tác quản lý, duy trì hồ điều hòa có diện tích mặt nước ≤ 5ha và thực hiện đầy đủ các thành phần công việc nêu trên.
- Đối với các hồ không thực hiện đầy đủ các thành phần công việc thì điều chỉnh với hệ số K như sau:
+ Quản lý quy tắc và duy trì vệ sinh môi trường hồ K = 0,95
+ Đọc thủy trí K = 0,05
- Công tác quản lý, duy trì hồ điều hoà có diện tích mặt nước > 5ha thì định mức điều chỉnh với hệ số K như sau:
+ Hồ có diện tích mặt nước 5ha < S ≤ 30 ha: K = 0,64
+ Hồ có diện tích mặt nước 30ha < S ≤ 70 ha: K = 0,31
+ Hồ có diện tích > 70ha K = 0,12
6. Công tác quản lý, duy trì bè thủy sinh trên sông, hồ (mã hiệu TN12.01.10)
Thành phần công việc:
- Công nhân có mặt đúng giờ tại địa điểm tập kết.
- Chuẩn bị công cụ, dụng cụ, bảo hộ lao động.
- Tổ trưởng công đoàn kiểm tra an toàn BHLĐ và công cụ dụng cụ. Các công nhân phải mang mặc đầy đủ trang thiết bị phòng hộ cá nhân theo từng vị trí trong dây chuyền và triển khai các thiết bị an toàn khu vực thi công, có đầy đủ công cụ dụng cụ lao động.
- Di chuyển đến các cụm bè thủy sinh: Chèo thuyền đến điểm neo đậu bè thủy sinh. Trong trường hợp mực nước sông thấp không di chuyển được bằng thuyền (vào mùa khô tại thượng lưu sông Tô Lịch hoặc những ngày giữ mực nước thấp để phục vụ nạo vét, sửa chữa kè sông, hồ ...) công nhân mặc quần áo lội di chuyển đến các bè.
- Thực hiện công tác nhặt rác xung quanh bè và trong bè giữa các khóm thủy trúc do rác trên sông theo dòng chảy, gió mắc vào. Nhặt, thu gom rác vận chuyển đến nơi tập kết theo quy định. Đặc biệt khi thời tiết bất thường như mưa to, gió lốc trên bè thủy sinh vướng nhiều rác thải cần tăng cường thu vớt rác trên bè.
Công tác kiểm tra, gia cố bè thủy sinh:
- Kiểm tra các mối nối, dây buộc, cọc cố định các cụm bè, tấm bê tông neo đậu các cụm bè, sự xô lệch ...nếu thấy không chắc chắn phải chỉnh sửa, sửa chữa thay thế kịp thời các chỗ hư hỏng.
Công tác chăm sóc, cắt tỉa bè thủy sinh:
- Kiểm tra loại bỏ những cây yếu, cây sâu bệnh và cây không thích nghi với môi trường, thu vén loại bỏ những cây mọc chớm ra ngoài bè, nhổ cây dại mọc trên bè. Dùng kéo cắt tỉa các cành thủy trúc bị khô, gãy cho vào sọt để trên thuyền, buộc dây lại các cây nghiêng đổ;
- Khi cây thủy trúc trên cụm bè phát triển cao từ 65 - 70 cm, dùng liềm hoặc kéo cắt toàn bộ cành + thân cây thủy trúc trên các bè, vị trí cách gốc khoảng 25 ÷ 30 cm. Đồng thời tỉa bỏ các nhánh thủy trúc đã già và nếu cây mọc quá dầy cần tỉa bớt cả cây (bao gồm cả rễ) để làm tăng không gian cho cây bên cạnh phát triển
- Thu gom vận chuyển rác, phế thải đến tập kết và tiếp tục di chuyển đến các vị trí bè tiếp theo.
- Vệ sinh địa điểm tập kết tạm.
- Kiểm tra, thu dọn, vệ sinh dụng cụ; kiểm tra, vệ sinh BHLĐ; đưa công cụ dụng cụ lao động, BHLĐ về nơi quy định.
- Vệ sinh cá nhân.
Đơn vị tính: công/m2/lần
|
Mã hiệu |
Loại công tác |
Thành phần hao phí |
ĐVT |
Định mức |
|
|
Chăm sóc, gia cố bè thủy sinh |
Cắt tỉa bè thủy sinh |
||||
|
TN12.01.10 |
Quản lý, duy trì bè thủy sinh |
Nhân công: Công nhân bậc bình quân 3,5/7 - nhóm 1 |
công |
0,016 |
0,032 |
B. BỔ SUNG 01 ĐỊNH MỨC
1. Công tác xử lý, duy trì chất lượng nước bằng chế phẩm RedOxy-3C (Mã hiệu TN13.01.10)
Thành phần công việc:
* Đối với hồ được xử lý lần đầu:
- Quan trắc chất lượng môi trường nước nền để đánh giá môi trường nước hồ: 01 mẫu/hồ, phân tích 29 chỉ tiêu theo QCVN 08-MT:2015/BTNMT và 04 chỉ tiêu đặc trưng của hồ gồm độ màu, Chlorphylla, nhiệt độ, mùi.
- Đối với các hồ chưa có số liệu ban đầu: Khảo sát hiện trạng các hồ, đo vẽ chi tiết bản đồ lòng hồ và trên cạn, theo tỷ lệ 1/500 cao độ đường đồng mức nước 1,0m để xác định dung tích khối lượng nước cần xử lý, hệ thống thu gom thoát nước xung quanh chảy vào hồ. Đối với các hồ đã có số liệu, dựa vào bản vẽ, mực nước hiện trạng xác định dung tích hồ.
- Chia mặt hồ thành ô lưới có kích thước 10x10 m để phun rải chế phẩm đều trên mặt hồ.
- Chuẩn bị phương tiện, máy móc thiết bị, chế phẩm tập kết tại hồ cần xử lý.
- Triển khai phun rải chế phẩm Redoxy-3C để xử lý nước hồ: Định lượng xử lý 20g/m3 nước hồ.
- Quan trắc phân tích chất lượng nước: Thực hiện sau 20 ngày phun rải chế phẩm Redoxy-3C, lấy 03 mẫu/hồ, phân tích 12 thông số cơ bản của môi trường nước hồ gồm: Nhiệt độ, pH, DO, TSS, NH4+, COD, BOD5, PO43-, Fe, tổng Coliform, Chlorofill-a, NO3-.
- Vớt rác trên mặt hồ: thực hiện hàng ngày.
* Đối với hồ thực hiện duy trì chất lượng nước sau xử lý:
- Dựa vào bản vẽ, mực nước hiện trạng xác định dung tích nước hồ trước khi phun rải chế phẩm.
- Chia mặt hồ thành ô lưới có kích thước khoảng 10x10 m để phun rải đều trên khắp mặt hồ.
- Chuẩn bị phương tiện, máy móc thiết bị, chế phẩm tập kết tại hồ.
- Triển khai phun rải chế phẩm Redoxy-3C để duy trì chất lượng nước hồ, định lượng duy trì 10g/m3 nước hồ.
- Quan trắc, phân tích chất lượng nước: Quan trắc, phân tích chất lượng nước với tần suất quan trắc là 02 tháng / lần (thực hiện vào các tháng 1,3,5,7,9,11 hàng năm) theo thông tư 24/2017/TT-BTNMT ngày 1/9/2017 của Bộ tài nguyên và môi trường. Riêng chỉ tiêu COD được quan trắc 01 tháng/lần làm cơ sở xác định hồ có cần phun rải duy trì.
- Duy trì vớt rác thải trên mặt hồ: Thực hiện theo Quy trình Quản lý, duy trì hồ điều hoà số 20/QTTN ban hành kèm theo Quyết định số 6842/QĐ-UBND ngày 13/12/2016 của UBND Thành phố Hà Nội về việc công bố quy trình, định mức kinh tế kỹ thuật và đơn giá duy trì hệ thống thoát nước đô thị trên địa bàn thành phố Hà Nội.
- Duy tu, duy trì bè thủy sinh: Thực hiện theo Quy trình Quản lý, duy trì bè thủy sinh trên sông, hồ số 23/QTTN ban hành kèm theo Quyết định số 6842/QĐ-UBND ngày 13/12/2016 của UBND Thành phố Hà Nội về việc công bố quy trình, định mức kinh tế kỹ thuật và đơn giá duy trì hệ thống thoát nước đô thị trên địa bàn thành phố Hà Nội.
- Vận hành máy sục khí bề mặt: Vận hành hàng ngày từ 05h00 đến 09h00 và từ 17h00 đến 21h00. Đối với những ngày thời tiết bất thường (mưa lớn...) thì vận hành thêm thời gian từ 22h00 đến 04h00 sáng hôm sau.
Đơn vị tính: 1000m3 nước xử lý
|
Mã hiệu |
Loại công tác |
Thành phần hao phí |
ĐVT |
Hao phí |
|
|
Xử lý lần đầu |
Xử lý duy trì |
||||
|
TN 13.01.10 |
Công tác xử lý, duy trì chất lượng nước hồ bằng chế phẩm RedOxy- 3C |
Vật liệu |
|||
|
- Chế phẩm Redoxy-3C |
kg |
20,00 |
10,00 |
||
|
- Phao xốp D80mm |
quả |
2,895 |
2,895 |
||
|
- Dây dù D3mm |
m |
11,83 |
11,83 |
||
|
- Gạch lỗ 220x105x60mm |
viên |
1,93 |
1,93 |
||
|
Nhân công: |
|||||
|
- Công nhân chia ô lưới, bậc 3,5/7 - nhóm 3 |
công |
0,360 |
0,360 |
||
|
- Công nhân xử lý, bậc 4,0/7 - nhóm 3 |
công |
0,197 |
0,197 |
||
|
- Công nhân bảo vệ, bậc 3,0/7 |
công |
0,061 |
0,061 |
||
|
Máy thi công: |
|||||
|
- Xe tải gắn cần trục 5T |
ca |
0,053 |
0,051 |
||
|
- Máy phun rải đa năng |
ca |
0,067 |
0,067 |
||
|
- Thuyền máy động cơ 15CV |
ca |
0,187 |
0,187 |
||
Ghi chú:
- Định mức trên không bao gồm công tác phân tích mẫu, vận hành máy sục khí.
- Định mức trên áp dụng cho các hồ nội thành Hà Nội có cự ly vận chuyển < 15km, đối với các hồ có cự ly vận chuyển > 15 km thì điều chỉnh thêm trị số:
+ Xe tải gắn cần trục 5T: 0,007 ca xe/1km tăng thêm
Bạn chưa Đăng nhập thành viên.
Đây là tiện ích dành cho tài khoản thành viên. Vui lòng Đăng nhập để xem chi tiết. Nếu chưa có tài khoản, vui lòng Đăng ký tại đây!
Bạn chưa Đăng nhập thành viên.
Đây là tiện ích dành cho tài khoản thành viên. Vui lòng Đăng nhập để xem chi tiết. Nếu chưa có tài khoản, vui lòng Đăng ký tại đây!