- Tổng quan
- Nội dung
- Tiêu chuẩn liên quan
- Lược đồ
- Tải về
Tiêu chuẩn Quốc gia TCVN 7447-7-712:2019 IEC 60364-7-712:2017 Hệ thống lắp đặt đặc biệt hoặc khu vực đặc biệt
| Số hiệu: | TCVN 7447-7-712:2019 | Loại văn bản: | Tiêu chuẩn Việt Nam |
| Cơ quan ban hành: | Bộ Khoa học và Công nghệ | Lĩnh vực: | Công nghiệp , Điện lực |
|
Ngày ban hành:
Ngày ban hành là ngày, tháng, năm văn bản được thông qua hoặc ký ban hành.
|
2019 |
Hiệu lực:
|
Đã biết
|
| Người ký: | Đang cập nhật |
Tình trạng hiệu lực:
Cho biết trạng thái hiệu lực của văn bản đang tra cứu: Chưa áp dụng, Còn hiệu lực, Hết hiệu lực, Hết hiệu lực 1 phần; Đã sửa đổi, Đính chính hay Không còn phù hợp,...
|
Đã biết
|
TÓM TẮT TIÊU CHUẨN VIỆT NAM TCVN 7447-7-712:2019
Nội dung tóm tắt đang được cập nhật, Quý khách vui lòng quay lại sau!
Tải tiêu chuẩn Việt Nam TCVN 7447-7-712:2019
TIÊU CHUẨN QUỐC GIA
TCVN 7447-7-712:2019
IEC 60364-7-712:2017
HỆ THỐNG LẮP ĐẶT ĐIỆN HẠ ÁP - PHẦN 7-712: YÊU CẦU ĐỐI VỚI HỆ THỐNG LẮP ĐẶT ĐẶC BIỆT HOẶC KHU VỰC ĐẶC BIỆT - HỆ THỐNG NGUỒN QUANG ĐIỆN MẶT TRỜI
Low voltage electrical installations - Part 7-712: Requirements for special installations or locations - Solar photovoltaic (PV) power supply systems
Lời nói đầu
TCVN 7447-7-712:2019 thay thế TCVN 7447-7-712:2015;
TCVN 7447-7-712:2019 hoàn toàn tương đương với IEC 60364-7-712:2017;
TCVN 7447-7-712:2019 do Ban kỹ thuật tiêu chuẩn quốc gia TCVN/TC/E1 Máy điện và khí cụ điện biên soạn, Tổng cục Tiêu chuẩn Đo lường Chất lượng đề nghị, Bộ Khoa học và Công nghệ công bố.
Bộ TCVN 7447 (IEC 60364), Hệ thống lắp đặt điện hạ áp, gồm các phần sau:
1) Phần 1: Nguyên tắc cơ bản, đánh giá các đặc tính chung, định nghĩa
2) Phần 4-41: Bảo vệ an toàn - Bảo vệ chống điện giật
3) Phần 4-42: Bảo vệ an toàn - Bảo vệ chống các ảnh hưởng của nhiệt
4) Phần 4-43: Bảo vệ an toàn - Bảo vệ chống quá dòng
5) Phần 4-44: Bảo vệ an toàn - Bảo vệ chống nhiễu điện áp và nhiễu điện từ
6) Phần 5-51: Lựa chọn và lắp đặt thiết bị điện - Nguyên tắc chung
7) Phần 5-52: Lựa chọn và lắp đặt thiết bị điện - Hệ thống đi dây
8) Phần 5-53: Lựa chọn và lắp đặt thiết bị điện - Cách ly, đóng cắt và điều khiển
9) Phần 5-54: Lựa chọn và lắp đặt thiết bị điện - Bố trí nối đất, dây bảo vệ và dây liên kết bảo vệ
10) Phần 5-55: Lựa chọn và lắp đặt thiết bị điện - Các thiết bị khác
11) Phần 5-56: Lựa chọn và lắp đặt thiết bị điện - Dịch vụ an toàn
12) Phần 6: Kiểm tra xác nhận
13) Phần 7-701: Yêu cầu đối với hệ thống lắp đặt đặc biệt hoặc khu vực đặc biệt - Khu vực có bồn tắm hoặc vòi hoa sen
14) Phần 7-710: Yêu cầu đối với hệ thống lắp đặt đặc biệt hoặc khu vực đặc biệt - Khu vực y tế
15) Phần 7-712: Yêu cầu đối với hệ thống lắp đặt đặc biệt hoặc khu vực đặc biệt - Hệ thống nguồn quang điện sử dụng năng lượng mặt trời (PV)
16) Phần 7-714: Yêu cầu đối với hệ thống lắp đặt đặc biệt hoặc khu vực đặc biệt - Hệ thống lắp đặt dùng cho chiếu sáng bên ngoài
17) Phần 7-715: Yêu cầu đối với hệ thống lắp đặt đặc biệt hoặc khu vực đặc biệt - Hệ thống lắp đặt dùng cho chiếu sáng bằng điện áp cực thấp
18) Phần 7-717: Yêu cầu đối với hệ thống lắp đặt đặc biệt hoặc khu vực đặc biệt - Các khối di động hoặc vận chuyển được
19) Phần 7-729: Yêu cầu đối với hệ thống lắp đặt đặc biệt hoặc khu vực đặc biệt - Lối đi dùng cho vận hành hoặc bảo dưỡng
Bộ IEC 60364, Low-voltage electrical installations, còn có các phần sau:
1) Part 7-702: Requirements for special installations or locations - Swimming pools and fountains
2) Part 7-703: Requirements for special installations or locations - Rooms and cabins containing sauna heaters
3) Part 7-704: Requirements for special installations or locations - Construction and demolition site installations
4) Part 7-705: Requirements for special installations or locations - Agricultural and horticultural premises
5) Part 7-706: Requirements for special installations or locations - Conducting locations with restricted movement
6) Part 7-708: Requirements for special installations or locations - Caravan parks, camping parks and similar locations
7) Part 7-709: Requirements for special installations or locations - Marinas and similar locations
8) Part 7-711: Requirements for special installations or locations - Exhibitions, shows and stands
9) Part 7-713: Requirements for special installations and locations - Section 713: Furniture
10) Part 7-718: Requirements for special installations or locations - Communal facilities and workplaces
11) Part 7-721: Requirements for special installations or locations - Electrical installations in caravans and motor caravans
12) Part 7-722: Requirements for special installations or locations - Supplies for electric vehicles
13) Part 7-740: Requirements for special installations or locations - Temporary electrical installations for structures, amusement devices and booths at fairgrounds, amusement parks and circuses
14) Part 7-753: Requirements for special installations or locations - Floor and ceiling heating systems
15) Part 8-1: Functional aspects - Energy efficiency
16) Part 8-2: Prosumer's low-voltage electrical installations
HỆ THỐNG LẮP ĐẶT ĐIỆN HẠ ÁP - PHẦN 7-712: YÊU CẦU ĐỐI VỚI HỆ THỐNG LẮP ĐẶT ĐẶC BIỆT HOẶC KHU VỰC ĐẶC BIỆT - HỆ THỐNG NGUỒN QUANG ĐIỆN MẶT TRỜI
Low voltage electrical installations - Part 7-712: Requirements for special installations or locations - Solar photovoltaic (PV) power supply systems
712.1 Phạm vi áp dụng
Tiêu chuẩn này áp dụng cho việc lắp đặt điện của hệ thống quang điện được thiết kế để cấp nguồn cho tất cả hoặc một phần của một hệ thống lắp đặt.
Thiết bị của hệ thống lắp đặt quang điện (dưới đây gọi là hệ thống lắp đặt PV) cũng như tất cả các hạng mục khác của thiết bị, cho đến nay chỉ được đề cập khi liên quan đến việc lựa chọn và ứng dụng trong hệ thống được đề cập đến.
Một hệ thống lắp đặt PV bắt đầu từ môđun PV hoặc một tập hợp các môđun PV nối nối tiếp bằng cáp của chúng, được cung cấp bởi nhà chế tạo môđun PV đến hệ thống lắp đặt của người sử dụng hoặc điểm cung cấp của nhà cung cấp điện (điểm ghép nối chung).
Yêu cầu của tiêu chuẩn này áp dụng cho
• hệ thống lắp đặt PV không nối với hệ thống phân phối điện chung,
• hệ thống lắp đặt PV song song với hệ thống phân phối điện chung,
• hệ thống lắp đặt PV thay thế cho hệ thống phân phối điện chung,
• các phối hợp thích hợp của các hệ thống trên.
Tiêu chuẩn này không đề cập đến các yêu cầu về hệ thống lắp đặt đặc biệt đối với pin/acquy hoặc phương pháp tích trữ năng lượng khác.
CHÚ THÍCH 1: Yêu cầu bổ sung đối với hệ thống lắp đặt PV có khả năng tích trữ năng lượng bằng pin/acquy ở phía một chiều đang được xem xét.
CHÚ THÍCH 2: Tiêu chuẩn này không đề cập đến các yêu cầu bảo vệ của dàn PV có sử dụng pin/acquy trong hệ thống lắp đặt PV.
Đối với hệ thống sử dụng bộ chuyển đổi DC-DC, có thể áp dụng các yêu cầu bổ sung liên quan đến thông số đặc trưng về điện áp và dòng điện, cơ cấu đóng cắt và cơ cấu bảo vệ. Các yêu cầu này đang được xem xét.
Mục đích của tiêu chuẩn này nhằm đưa ra các yêu cầu an toàn về thiết kế nảy sinh từ các đặc tính cụ thể của hệ thống lắp đặt PV. Các hệ thống điện một chiều và dàn PV nói riêng, gây ra một số mối nguy bên cạnh các mối nguy nảy sinh từ hệ thống lắp đặt điện xoay chiều thông thường, kể cả khả năng tạo ra và duy trì hồ quang điện với dòng điện không lớn hơn dòng điện làm việc bình thường.
Trong hệ thống lắp đặt PV nối lưới, yêu cầu an toàn của tiêu chuẩn này phụ thuộc nhiều vào thiết bị chuyển đổi điện (PCE) kết hợp với dàn PV phù hợp với các yêu cầu của TCVN 12231-1 (IEC 62109-1) và TCVN 12231-2 (IEC 62109-2).
712.2 Tài liệu viện dẫn
Các tài liệu viện dẫn sau đây là cần thiết cho việc áp dụng tiêu chuẩn. Đối với các tài liệu viện dẫn ghi năm công bố thì áp dụng bản được nêu. Đối với các tài liệu viện dẫn không ghi năm công bố thì áp dụng phiên bản mới nhất, bao gồm cả các sửa đổi.
TCVN 5926-6 (IEC 60269-6), Cầu chảy hạ áp - Phần 6: Yêu cầu bổ sung đối với dây chảy bảo vệ hệ thống năng lượng quang điện mặt trời
TCVN 6612 (IEC 60228), Ruột dẫn của cáp cách điện
TCVN 6613-1-2 (IEC 60332-1-2), Thử nghiệm cáp điện trong điều kiện cháy - Phần 1-2: Thử nghiệm cháy lan theo chiều thẳng đứng đối với một dây có cách điện hoặc một cáp - Quy trình ứng với nguồn cháy bằng khí trộn trước có công suất 1 kW
TCVN 6592-1 (IEC 60947-1), Thiết bị đóng cắt và điều khiển hạ áp - Phần 1: Quy tắc chung
TCVN 6592-2 (IEC 60947-2), Thiết bị đóng cắt và điều khiển hạ áp - Phần 2: Áptômát
TCVN 6592-3 (IEC 60947-3), Thiết bị đóng cắt và điều khiển hạ áp - Phần 3: Thiết bị đóng cắt, dao cách ly, thiết bị đóng cắt, dao cách ly và khối kết hợp cầu chảy
TCVN 6434-2 (IEC 60898-2), Khí cụ điện - Áptômát bảo vệ quá dòng dùng trong gia đình và các hệ thống lắp đặt tương tự - Phần 2: Áptômát dùng cho điện xoay chiều và một chiều
TCVN 7447-4-41:2010 (IEC 60364-4-41:2005), Hệ thống lắp đặt điện hạ áp - Phần 4-41: Bảo vệ an toàn, bảo vệ chống điện giật
TCVN 7447-4-43 (IEC 60364-4-43), Hệ thống lắp đặt điện hạ áp - Phần 4-43: Bảo vệ an toàn - Bảo vệ chống quá dòng
TCVN 7447-4-44 (IEC 60364-4-44), Hệ thống lắp đặt điện hạ áp - Phần 4-44: Bảo vệ an toàn - Bảo vệ chống nhiễu điện áp và nhiễu điện từ
TCVN 11855-1 (IEC 62446-1), Hệ thống quang điện (PV) - Yêu cầu thử nghiệm, tài liệu và bảo trì - Phần 1: Hệ thống nối lưới - Tài liệu, thử nghiệm nghiệm thu và kiểm tra
TCVN 12231 (IEC 62109) (tất cả các phần), An toàn của bộ chuyển đổi điện dùng trong hệ thống quang điện
TCVN 12231-1:2019 (IEC 62109-1:2010), An toàn của bộ chuyển đổi điện dùng trong hệ thống quang điện - Phần 1: Yêu cầu chung
TCVN 12231-2 (IEC 62109-2), An toàn của bộ chuyển đổi điện dùng trong hệ thống quang điện - Phần 2. Yêu cầu cụ thể đối với bộ nghịch lưu
TCVN 12718:2019 (IEC 62852:2014), Bộ nối dùng cho ứng dụng một chiều trong hệ thống quang điện - Yêu cầu an toàn và thử nghiệm
IEC 60364 (tất cả các phần)[1], Low-voltage electrical installations (Hệ thống lắp đặt điện hạ áp)
IEC 60670 (tất cả các phần), Boxes and enclosures for electrical accessories for household and similar fixed electrical installations (Hộp và vỏ ngoài dùng cho phụ kiện điện dùng trong gia đình và hệ thống lắp đặt điện cố định tương tự)
IEC 60898 (tất cả các phần)[2], Electrical accessories - Circuit-breakers for overcurrent protection for household and similar installations (Khí cụ điện - Áptômát bảo vệ quá dòng dùng trong gia đình và các hệ thống lắp đặt tương tự)
IEC 60947 (tất cả các phần)[3], Low-voltage switchgear and controlgear (Thiết bị đóng cắt và điều khiển hạ áp)
IEC 61140, Protection against electric shock - Common aspects for installation and equipment (Bảo vệ chống điện giật - Các khía cạnh chung của hệ thống lắp đặt và thiết bị)
IEC 61215 (tất cả các phần)[4], Terrestrial photovoltaic (PV) modules - Design qualification and type approval (Môđun quang điện (PV) mặt đất - Chất lượng thiết kế và phê duyệt kiểu)
IEC 61439 (tất cả các phần), Low-voltage switchgear and controlgear assemblies (Tủ điện đóng cắt và điều khiển hạ áp)
IEC 61439-2, Low-voltage switchgear and controlgear assemblies - Part 2: Power switchgear and controlgear assemblies (Tủ điện đóng cắt và điều khiển hạ áp - Phần 2: Tủ điện đóng cắt và điều khiển công suất)
IEC 61557-8:2014, Electrical safety in low voltage distribution systems up to 1 000 V a.c. and 1 500 V d.c. - Equipment for testing, measuring or monitoring of protective measures - Part 8: Insulation monitoring devices for IT systems (An toàn điện trong hệ thống phân phối điện áp đến 1 000 V xoay chiều và 1 500 V một chiều - Thiết bị thử nghiệm, đo hoặc theo dõi các biện pháp bảo vệ - Phần 8: Cơ cấu theo dõi cách điện dùng cho hệ thống IT)
IEC 62262, Degrees of protection provided by enclosures for electrical equipment against external mechanical impacts (IK code) (Cấp bảo vệ bằng vỏ ngoài của thiết bị điện chống tác động cơ bên ngoài (mã IK))
IEC 62423, Type F and type B residual current operated circuit-breakers with and without integral overcurrent protection for household and similar uses (Áp tô mát tác động bằng dòng dư kiểu F và kiểu B có và không có bảo vệ quá dòng tích hợp dùng trong gia đình và sử dụng tương tự)
712.3 Thuật ngữ và định nghĩa
Tiêu chuẩn này áp dụng các thuật ngữ và định nghĩa sau đây.
712.3.1
Tế bào PV (PV cell)
Tế bào quang điện (photovoltaic cell)
Tế bào mặt trời (solar cell)
Tế bào quang điện mặt trời (solar photovoltaic cell)
Linh kiện sơ cấp nhất thể hiện hiệu ứng quang điện, tức là chuyển đổi không nhiệt trực tiếp năng lượng bức xạ thành điện năng.
CHÚ THÍCH 1: Thuật ngữ ưu tiên là "tế bào quang điện mặt trời" hoặc "tế bào quang điện", thường được gọi là một "tế bào mặt trời".
[NGUỒN: IEC 61836: 2007, 3.1.43 a), có sửa đổi - bổ sung "thể hiện...điện năng"]
712.3.2
Môđun PV (PV module)
Cụm lắp ráp hoàn chỉnh nhỏ nhất các tế bào PV nối liên kết, được bảo vệ khỏi tác động của môi trường.
CHÚ THÍCH 1: Xem IEC 60904-3.
712.3.3
Chuỗi PV (PV string)
Mạch gồm một hoặc nhiều môđun nối nối tiếp.
[NGUỒN: IEC 61836: 2007, có sửa đổi - bổ sung "một hoặc nhiều"]
712.3.4
Dàn PV (PV array)
Cụm lắp ráp các môđun PV, chuỗi PV hoặc dàn con PV liên kết về điện.
CHÚ THÍCH 1: Trong tiêu chuẩn này, dàn PV là tất cả các thành phần cho đến các đầu nối vào điện một chiều của một bộ nghịch lưu hoặc tải một chiều. Dàn PV không bao gồm nền, thiết bị bám theo, điều khiển nhiệt và các thành phần khác tương tự.
CHÚ THÍCH 2: Dàn PV có thể gồm một môđun PV đơn, một chuỗi PV hoặc một số chuỗi nối song song hoặc một số dàn con PV nối song song và các thành phần điện kèm theo của chúng (xem Hình 712.2 đến Hình 712.4). Trong tiêu chuẩn này, ranh giới của dàn PV là phía đầu ra của thiết bị ngắt kết nối dàn PV.
712.3.5
Dàn con PV (PV sub-array)
Tập hợp con về điện của một dàn PV được hình thành từ các môđun PV hoặc các chuỗi PV nối song song.
712.3.6
Cáp của chuỗi PV (PV string cable)
Cáp nối liên kết các môđun trong một chuỗi PV, hoặc nối chuỗi với hộp kết hợp, thiết bị chuyển đổi điện (PCE) hoặc các tải một chiều khác.
CHÚ THÍCH 1: Ví dụ về cáp của chuỗi PV được thể hiện trên Hình 712.3 và Hình 712.4.
712.3.7
Cáp của dàn PV (PV array cable)
Cáp của một dàn PV mang dòng điện đầu ra tổng của dàn đó.
712.3.8
Cáp của nguồn PV xoay chiều (PV AC supply cable)
Cáp nối các đầu nối xoay chiều của thiết bị chuyển đổi điện PV (PV PCE) đến bảng phân phối của hệ thống lắp đặt điện.
712.3.9
Mạch nguồn PV xoay chiều (PV AC supply circuit)
Mạch điện nối các đầu nối xoay chiều của thiết bị chuyển đổi điện PV (PV PCE) đến bảng phân phối của hệ thống lắp đặt điện.
712.3.10
Môđun PV xoay chiều (PV AC module)
Cụm tích hợp giữa môđun và thiết bị chuyển đổi điện (PCE) trong đó các đầu nối điện chỉ là xoay chiều và tại đó không tiếp cận đến phía một chiều.
712.3.11
Hệ thống lắp đặt PV (PV installation)
Thiết bị đã lắp đặt của hệ thống lắp đặt nguồn PV.
712.3.12
Điều kiện thử nghiệm tiêu chuẩn (STC) (Standard test conditions (STC))
Tập hợp các điều kiện chuẩn tiêu chuẩn được sử dụng để thử nghiệm và đánh giá các tế bào và môđun quang điện như nêu trong tiêu chuẩn sản phẩm liên quan, ví dụ bộ IEC 61215.
CHÚ THÍCH 1: Điều kiện thử nghiệm tiêu chuẩn được nêu trong bộ IEC 61215 đối với môđun PV là:
a) Nhiệt độ tế bào PV: 25 °C;
b) Cường độ bức xạ trong mặt phẳng của tế bào hoặc môđun PV: 1 000 W/m2;
c) Phổ ánh sáng tương ứng với khối lượng không khí trong khí quyển là 1,5.
712.3.13
Điện áp hở mạch trong điều kiện thử nghiệm tiêu chuẩn (open-circuit voltage under standard test conditions)
UOC STC
Điện áp trên môđun PV, chuỗi PV hoặc dàn PV, hoặc trên phía một chiều của PV PCE không tải (hở mạch), trong điều kiện thử nghiệm tiêu chuẩn.
712.3.14
Điện áp hở mạch lớn nhất (open-circuit maximum voltage)
UOC MAX
Điện áp lớn nhất trên môđun PV, chuỗi PV hoặc dàn PV, hoặc trên phía một chiều của PV PCE không tải (hở mạch).
CHÚ THÍCH 1: Phương pháp xác định UOC MAX được nêu trong Phụ lục B.
712.3.15
Dòng điện ngắn mạch trong điều kiện thử nghiệm tiêu chuẩn (short-circuit current under standard test conditions)
ISC STC
Dòng điện ngắn mạch của môđun PV, chuỗi PV hoặc dàn PV trong điều kiện thử nghiệm tiêu chuẩn.
712.3.16
Dòng điện ngắn mạch lớn nhất (short-circuit maximum current)
ISC MAX
Dòng điện ngắn mạch lớn nhất của môđun PV, chuỗi PV hoặc dàn PV.
CHÚ THÍCH 1: Phương pháp xác định ISC MAX được nêu trong Phụ lục B.
712.3.17
Dòng điện cấp ngược (backfeed current)
Dòng điện lớn nhất có thể chạy từ PCE đến dàn PV và dây dẫn của nó trong điều kiện bình thường hoặc điều kiện sự cố đơn.
712.3.18
Dòng điện ngược (reverse current)
Dòng điện có thể cấp ngược vào mạch PV từ các chuỗi hoặc dàn con PV nối song song do sự cố, ví dụ ngắn mạch trong mạch bị ảnh hưởng.
712.3.19
Thông số đặc trưng của dòng điện ngắn mạch (short-circuit current rating)
ISCPV
Dòng điện ngắn mạch kỳ vọng lớn nhất từ dàn PV mà dựa vào đó thiết bị bảo vệ quá áp quá độ (SPD), cùng với thiết bị cách ly quy định, được ấn định thông số đặc trưng.
712.3.20
Phía một chiều (DC side)
Phần của hệ thống lắp đặt PV từ các môđun PV đến các đầu nối một chiều của PV PCE.
712.3.21
Phía xoay chiều (AC side)
Phần của hệ thống lắp đặt PV từ các đầu nối xoay chiều của PV PCE đến điểm nối của cáp nguồn PV xoay chiều đến hệ thống lắp đặt điện.
712.3.22
Bám theo điểm công suất lớn nhất (maximum power point tracking)
MPPT
Phương án điều khiển theo đó dàn PV luôn vận hành tại điểm hoặc gần điểm mà tích của dòng điện và điện áp mang lại công suất điện lớn nhất trong các điều kiện làm việc quy định trên đặc tính dòng điện-điện áp của thiết bị PV.
712.3.23
IMOD_MAX_OCPR
Thông số đặc trưng về bảo vệ quá dòng lớn nhất của môđun PV.
CHÚ THÍCH 1: Xem TCVN 12232-2 (IEC 61730-2).
712.3.24
Điốt chặn (blocking diode)
Điốt được nối nối tiếp với (các) môđun, chuỗi và dàn con để chặn dòng điện ngược.
712.3.25
Điốt nối tắt (bypass diode)
Điốt được nối qua một hoặc nhiều tế bào theo chiều dòng điện thuận.
CHÚ THÍCH 1: Mục đích là cho phép dòng điện của môđun bỏ qua các tế bào bị che khuất hoặc bị hỏng để ngăn ngừa hư hại do điểm nóng hoặc tế bào nóng gây ra từ thiên áp ngược từ các tế bào còn lại trong môđun đó.
712.3.26
Nối đất chức năng (functional earthing)
FE
Nối đất một điểm hoặc nhiều điểm trong một hệ thống hoặc hệ thống lắp đặt hoặc thiết bị, vì mục đích không phải là an toàn điện.
CHÚ THÍCH 1: Một hệ thống như vậy không được xem là một dàn được nối đất.
CHÚ THÍCH 2: Ví dụ về nối đất chức năng dàn bao gồm nối đất một dây dẫn thông qua trở kháng, hoặc chỉ tạm thời nối đất các dàn vì lý do vận hành hoặc tính năng.
CHÚ THÍCH 3: Trong một PCE dự kiến dùng cho một dàn không được nối đất chức năng, sử dụng một mạch đo thuần trở để đo trở kháng dàn với đất, thì mạch đo này không được xem là tạo thành đất chức năng.
[NGUỒN: IEC 60050-826:2004, 826-13-10, có sửa đổi - bổ sung các chú thích]
712.3.27
Cường độ bức xạ (irradiance)
G
Công suất bức xạ điện từ của mặt trời trên một đơn vị diện tích.
CHÚ THÍCH 1: Cường độ bức xạ được thể hiện bằng W/m2.
[NGUỒN: IEC 61836: 2007, 3.6.25, có sửa đổi - xóa bỏ chú thích]
712.3.28
ISC ARRAY
Dòng điện ngắn mạch của dàn PV ở điều kiện thử nghiệm tiêu chuẩn.
712.3.29
ISC MOD
Dòng điện ngắn mạch của môđun PV hoặc chuỗi PV ở điều kiện thử nghiệm tiêu chuẩn (STC) như được quy định bởi nhà chế tạo trên tấm quy định kỹ thuật của sản phẩm.
CHÚ THÍCH 1: Vì chuỗi PV là một nhóm các môđun PV được nối nối tiếp nên dòng điện ngắn mạch của chuỗi bằng với ISC MOD.
712.3.30
ISC S-ARRAY
Dòng điện ngắn mạch của dàn con PV ở điều kiện thử nghiệm tiêu chuẩn (STC).
712.3.31
Thiết bị chuyển đổi điện (power conversion equipment)
PCE
Hệ thống chuyển đổi điện năng được phân phối từ dàn PV thành các giá trị thích hợp về tần số và/hoặc điện áp cần phân phối đến tải, hoặc lưu giữ trong acquy hoặc đưa lên lưới điện.
XEM: Hình 712.2 đến Hình 712.4.
712.3.32
Bộ nghịch lưu (inverter)
PCE chuyển đổi điện áp một chiều và dòng điện một chiều của dàn PV thành điện áp xoay chiều và dòng điện xoay chiều.
712.3.33
PCE được cách ly (isolated PCE)
PCE có ít nhất là phân cách đơn giản giữa mạch đầu ra của nguồn lưới và mạch PV.
CHÚ THÍCH 1: Phân cách đơn giản có thể được lắp tích hợp với PCE hoặc được cung cấp bên ngoài, ví dụ: PCE có biến áp cách ly bên ngoài.
CHÚ THÍCH 2: Ở PCE có nhiều hơn hai mạch điện bên ngoài, có thể có sự cách ly giữa một số cặp mạch điện và không cách ly giữa những cặp còn lại. Ví dụ, một bộ nghịch lưu có mạch PV, acquy và mạch nguồn lưới có thể có cách ly giữa mạch nguồn lưới và mạch PV, nhưng không cách ly giữa mạch PV và mạch acquy.
712.3.34
PCE không cách ly (non-isolated PCE)
PCE không có phân cách tối thiểu giữa mạch đầu ra của nguồn lưới và mạch PV hoặc có dòng điện rò lớn hơn các yêu cầu đối với một PCE được cách ly.
712.3.35
Hộp kết hợp của dàn PV (PV array combiner box)
Hộp trong đó các dàn con PV được kết nối và cũng có thể có các cơ cấu bảo vệ quá dòng và/hoặc thiết bị đóng cắt-cách ly.
CHÚ THÍCH 1: Các dàn cỡ nhỏ thường không gồm các dàn con mà chỉ đơn giản được tạo thành từ các chuỗi, trong khi các dàn cỡ lớn thường được tạo thành từ nhiều dàn con.
712.3.36
Hộp kết hợp của chuỗi PV (PV string combiner box)
Hộp trong đó các chuỗi PV được kết nối và cũng có thể có các cơ cấu bảo vệ quá dòng và/hoặc thiết bị đóng cắt-cách ly.
712.3.37
Cáp của dàn con PV (PV sub-array cable)
Cáp ra của dàn con PV mang dòng điện ra của dàn con kết hợp với cáp đó.
712.3.38
UOC ARRAY
Điện áp hở mạch của dàn PV ở điều kiện thử nghiệm tiêu chuẩn.
712.3.39
VOC MOD
Điện áp hở mạch của môđun PV ở điều kiện thử nghiệm tiêu chuẩn như được quy định bởi nhà chế tạo trong quy định kỹ thuật của sản phẩm.
712.31 Mục đích, nguồn và kết cấu
712.31.101 Cấu hình dàn PV
712.31.101.1 Quy định chung
Dàn PV được sử dụng để cáp nguồn cho mạch ứng dụng.
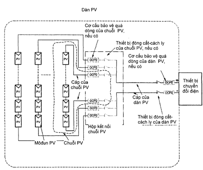
Hình 712.1 minh họa cấu hình cơ bản chung của một hệ thống lắp đặt PV.

Hình 712.1 - Cấu hình cơ bản chung của một hệ thống lắp đặt PV
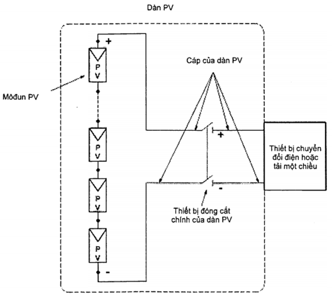
Ba loại mạch ứng dụng được xem xét:
• Dàn PV được nối với tải một chiều;
• Dàn PV được nối với hệ thống lắp đặt xoay chiều thông qua một PCE có tối thiểu là phân cách đơn giản;
• Dàn PV được nối với hệ thống lắp đặt xoay chiều thông qua một PCE không có phân cách đơn giản.
712.31.101.1.1 Kiến trúc của hệ thống lắp đặt PV
Mối liên quan giữa dàn PV và đất được xác định bằng việc sử dụng nối đất chức năng dàn PV, trở kháng của mối nối đất và trạng thái của đất của mạch ứng dụng (ví dụ PCE hoặc thiết bị khác) mà nó được nối đến. Điều này và vị trí của mối nối đất đều ảnh hưởng đến an toàn đối với dàn PV (tham khảo Phụ lục A).
Các yêu cầu của nhà chế tạo môđun PV và nhà chế tạo PCE mà dàn PV được nối đến phải được tính đến khi xác định bố trí nối đất hệ thống thích hợp nhất.
Không được phép nối đất bảo vệ bất kỳ dây dẫn nào của dàn PV. Không cho phép nối đất một trong các dây dẫn của dàn PV vì lý do chức năng trừ khi có tối thiểu là phân cách đơn giản với đất của nguồn lưới, được cung cấp trong PCE hoặc ngoài PCE thông qua một máy biến áp riêng rẽ.
Nếu phân cách đơn giản được cung cấp bên ngoài thì không được có thiết bị nào khác nối vào cùng mạch điện với PCE.
CHÚ THÍCH: Dây dẫn mang dòng điện một chiều được nối với đất được xem là dây dẫn mang điện.
712.31.101.1.2 Sơ đồ điện của dàn
Các sơ đồ trên Hình 712.2 đến Hình 712.4 thể hiện các cấu hình điện cơ bản của một chuỗi PV, nhiều chuỗi song song và nhiều dàn con tương ứng.

CHÚ DẪN:
----- Phần tử không yêu cầu trong mọi trường hợp.
- - - Ranh giới của hệ thống hoặc hệ thống con
Hình 712.2 - Sơ đồ dàn PV - Trường hợp chuỗi đơn

CHÚ DẪN:
----- Phần tử không yêu cầu trong mọi trường hợp.
-∙-∙ Vỏ ngoài
- - - Ranh giới của hệ thống hoặc hệ thống con
Hình 712.3 - Sơ đồ dàn PV - Trường hợp nhiều chuỗi song song

CHÚ DẪN:
---- Phần tử không yêu cầu trong mọi trường hợp.
-∙-∙ Vỏ ngoài
- - - Ranh giới của hệ thống hoặc hệ thống con
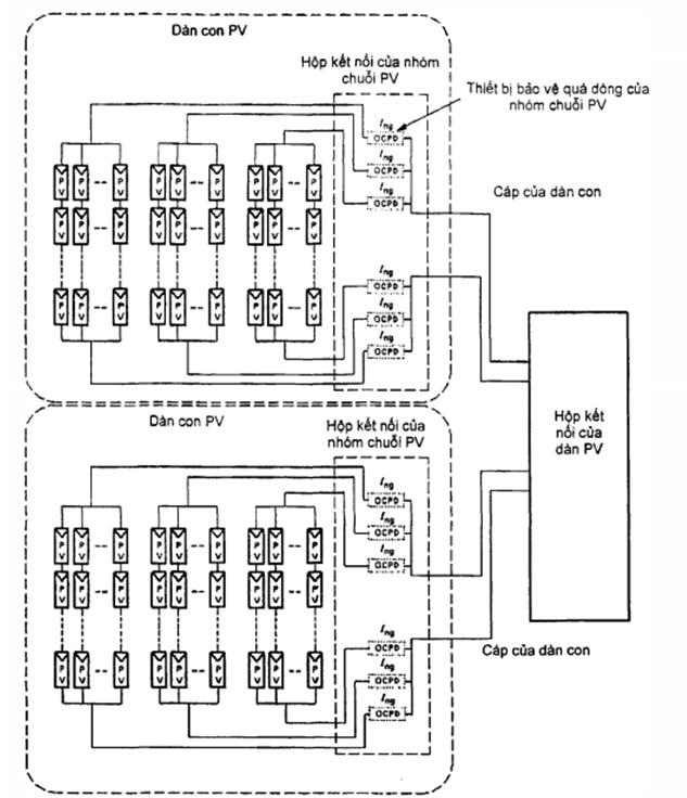
Hình 712.4 - Sơ đồ dàn PV - Trường hợp nhiều chuỗi song song có dàn được chia thành các dàn con
Ở các Hình 712.2, 712.3 và 712.4, các thành phần được vẽ ở dạng đường chấm chấm là không cần trong mọi trường hợp. Các Hình chỉ ra vị trí của mạch điện khi cần đến chúng.

CHÚ DẪN:
---- Phần tử không yêu cầu trong mọi trường hợp.
-∙-∙ Vỏ ngoài
- - - Ranh giới của hệ thống hoặc hệ thống con
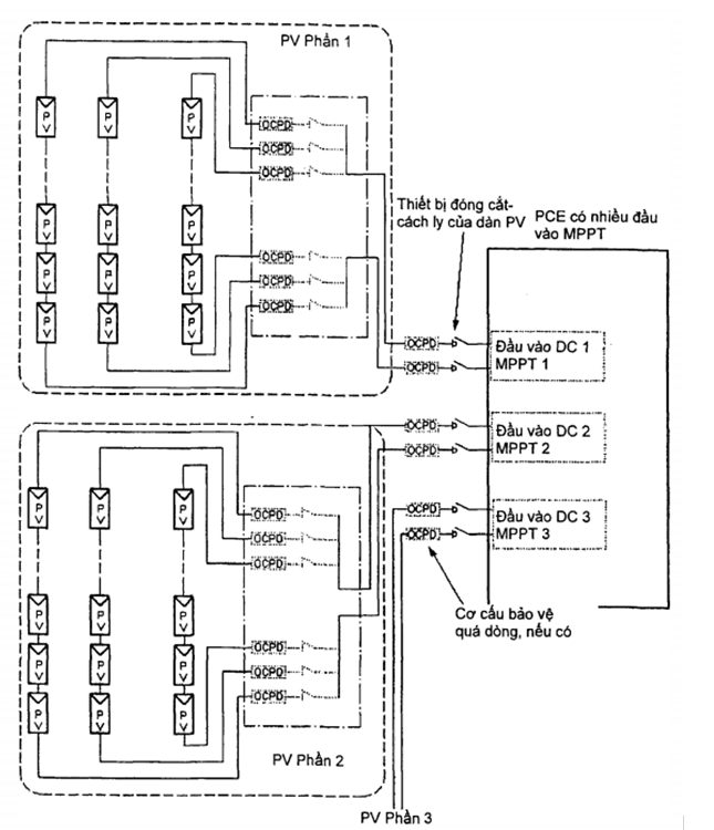
Hình 712.5 - Dàn PV sử dụng PCE có nhiều đầu vào DC MPPT
CHÚ DẪN:
---- Phần tử không yêu cầu trong mọi trường hợp.
-∙-∙ Vỏ ngoài
- - - Ranh giới của hệ thống hoặc hệ thống con
Hình 712.6 - Dàn PV sử dụng PCE có nhiều đầu vào DC nối bên trong với thanh góp DC chung
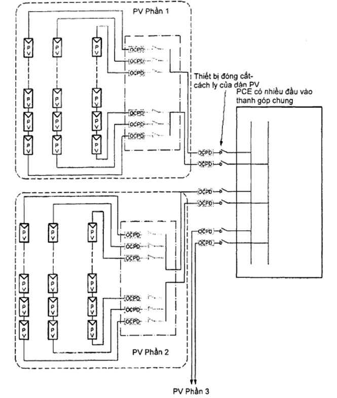
712.31.101.1.3 Sử dụng PCE có nhiều đầu vào một chiều
712.31.101.1.3.1 Quy định chung
Dàn PV thường được nối với PCE có nhiều đầu vào một chiều. Tham khảo Hình 712.5 và Hình 712.6. Nếu nhiều đầu vào một chiều được sử dụng, cơ cấu bảo vệ quá dòng và cỡ cáp trong các phần khác nhau của (các) dàn PV phụ thuộc rất nhiều vào giới hạn của dòng điện cấp ngược.
712.31.101.1.3.2 PCE có các đầu vào bám theo điểm công suất lớn nhất (MPPT) riêng rẽ
Khi các mạch đầu vào PCE cung cấp các đầu vào MPPT riêng rẽ, cơ cấu bảo vệ quá dòng của phần của dàn được nối với các đầu vào đó phải tính đến dòng điện cấp ngược.
Trong tiêu chuẩn này, từng phần PV được nối với một đầu vào (tham khảo Hình 712.5) có thể được xem như một dàn PV riêng rẽ. Từng dàn PV phải có thiết bị đóng cắt-cách ly để cung cấp cách ly của PCE. Thiết bị đóng cắt-cách ly của dàn PV có thể được tích hợp về cơ trong một cơ cấu và tác động chung.
712.31.101.1.3.3 PCE có nhiều đầu vào được nối bên trong với nhau trong PCE
Trong trường hợp nhiều mạch đầu vào của PCE được nối song song bên trong lên một thanh góp một chiều chung, từng phần PV được nối với một trong những đầu vào đó (tham khảo Hình 712.6), trong tiêu chuẩn này, có thể được xem như một dàn con PV và tất cả các phần PV kết hợp phải được phân cấp như một dàn PV hoàn chỉnh. Từng dàn con PV phải có một thiết bị đóng cắt-cách ly để cung cấp cách ly của PCE. Chức năng này có thể được cung cấp bởi một thiết bị đóng cắt-cách ly chung của dàn PV.
712.31.101.1.4 Cấu hình nối tiếp-song song
Tất cả các chuỗi PV trong một dàn PV được nối song song phải có cùng công nghệ và có cùng số môđun PV nối nối tiếp (xem Hình 712.2 đến Hình 712.4), trừ khi các môđun này được theo dõi bằng các MPPT riêng rẽ. Ngoài ra, tất cả các môđun PV song song trong dàn PV phải có các đặc tính điện danh định tương tự, bao gồm dòng điện ngắn mạch, điện áp hở mạch, dòng điện nguồn tối đa, điện áp nguồn tối đa và công suất danh định (tất cả tại STC), trừ khi các môđun này được theo dõi bằng các MPPT riêng rẽ.
Đây là một vấn đề thiết kế cần được xem xét bởi người thực hiện dự án, đặc biệt khi thay thế các môđun hoặc sửa đổi một hệ thống lắp đặt PV đã có.
712.31.101.1.5 Xem xét do các điều kiện sự cố tiềm ẩn trong dàn PV
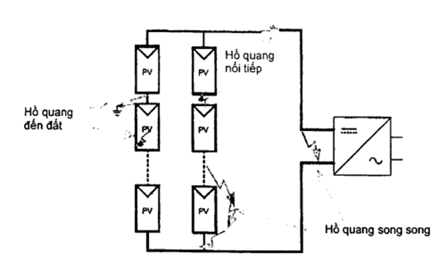
Trong một hệ thống lắp đặt bất kỳ, nguồn dòng điện sự cố cần phải được nhận biết.
Các hệ thống lắp đặt PV có acquy có thể có dòng điện sự cố tiềm ẩn cao do đặc tính của acquy.
Trong một hệ thống lắp đặt PV không có acquy, các tế bào PV (và do đó là các dàn PV) hoạt động như các nguồn dòng điện ở sự cố trở kháng thấp. Do đó, dòng điện sự cố có thể không lớn hơn nhiều so với dòng điện đầy tải bình thường, ngay cả trong điều kiện ngắn mạch.
Dòng điện sự cố phụ thuộc vào số lượng chuỗi, vị trí sự cố và mức độ bức xạ. Điều này làm cho việc phát hiện ngắn mạch trong một dàn PV rất khó khăn. Hồ quang điện có thể được hình thành trong một dàn PV có dòng điện sự cố thấp hơn dòng điện tác động của cơ cấu bảo vệ quá dòng.
712.31.101.1.6 Các vấn đề về tính năng
Tính năng của một dàn PV có thể bị ảnh hưởng bởi nhiều yếu tố, bao gồm nhưng không giới hạn ở:
• che khuất hoặc che khuất một phần;
• độ tăng nhiệt độ;
• điện áp rơi trên cáp;
• bẩn bề mặt của dàn do bụi, chất bẩn, phân chim, tuyết, nhiễm bẩn công nghiệp, v.v.;
• sự định hướng;
• xuống cấp môđun PV.
Cần cẩn thận khi chọn vị trí của dàn PV. Gần cây hoặc tòa nhà có thể có bóng che lên dàn PV ở một số thời điểm trong ngày.
Điều quan trọng là bóng che bất kỳ phải càng giảm càng tốt. Lưu ý rằng ngay cả một bóng che nhỏ trên dàn cũng có thể hạn chế đáng kể tính năng của nó.
Các vấn đề về suy giảm tính năng do độ tăng nhiệt độ và nhu cầu thông gió tốt được mô tả trong 712.515.101. Cần cẩn thận để giữ cho các môđun mát nhất có thể.
Trong quá trình thiết kế, việc định cỡ cáp trong dàn và trong các kết nối cáp từ dàn đến mạch ứng dụng ảnh hưởng đến điện áp rơi trên các cáp đó khi mang tải. Điều này có thể đặc biệt có ý nghĩa trong hệ thống lắp đặt PV có điện áp đầu ra thấp và dòng điện đầu ra cao. Khuyến cáo rằng trong điều kiện tải tối đa, điện áp rơi từ môđun xa nhất trong dàn đến các đầu vào của mạch ứng dụng không được vượt quá 3 % điện áp dàn PV tại điểm công suất lớn nhất của nó.
Nhiễm bẩn bề mặt của các môđun PV gây ra bởi bụi, chất bẩn, phân chim, tuyết, v.v., có thể giảm đáng kể đầu ra của dàn. Cần bố trí để làm sạch môđun thường xuyên trong các trường hợp mà nhiễm bẩn đáng kể có thể là một vấn đề.
712.4 Bảo vệ an toàn
712.4.101 Quy định chung
Việc tính toán UOC MAX và ISC MAX được thực hiện trong Phụ lục B.
712.4.102 Nối đất chức năng (FE) của bộ phận mang điện ở phía một chiều
Vì lý do chức năng, một số công nghệ môđun PV yêu cầu bộ phận mang điện được nối đất.
Nối đất chức năng của bộ phận mang điện ở phía một chiều của PCE được cho phép, nếu có tối thiểu phân cách đơn giản giữa phía xoay chiều và phía một chiều bằng biến áp có cuộn dây điện sơ cấp và thứ cấp riêng biệt. Máy biến áp có thể ở bên trong hoặc bên ngoài PCE. Cuộn dây máy biến áp nối với PCE không được nối đất, và PCE phải thích hợp cho việc này.
Nối đất chức năng của bộ phận mang điện phải được thực hiện tại một điểm duy nhất ở phía một chiều, gần đầu vào một chiều của PCE hoặc trong chính PCE.
Nối đất tốt nhất nên được đặt giữa cơ cấu ngắt kết nối và các đầu nối một chiều PV PCE.
Các yêu cầu của 712.421.101.2.3 cũng phải được áp dụng.
Cáp được sử dụng để nối đất chức năng không nên nhận biết bằng cách kết hợp màu xanh lá cây và màu vàng. Nên sử dụng màu hồng.
712.41 Bảo vệ chống điện giật
712.410 Giới thiệu
712.410.101 Thiết bị PV ở phía một chiều phải được xem là được đóng điện, ngay cả khi phía xoay chiều bị ngắt kết nối khỏi lưới điện hoặc khi PCE bị ngắt kết nối từ phía một chiều.
712.410.3.5
Thay thế:
Các biện pháp bảo vệ được quy định trong TCVN 7447-4-41:2010 (IEC 60364-4-41:2005), Phụ lục B, tức là sử dụng chướng ngại vật và đặt ngoài tầm với, không được sử dụng.
712.410.3.6
Thay thế:
Không áp dụng các biện pháp bảo vệ được quy định trong TCVN 7447-4-41:2010 (IEC 60364-4-41:2005), Phụ lục C, tức là
• vị trí không dẫn điện,
• liên kết đẳng thế cục bộ không nối đất,
• phân cách về điện để cung cấp nhiều thiết bị sử dụng dòng điện,
712.410.102 Ở phía một chiều, một trong những biện pháp bảo vệ sau đây phải được sử dụng:
• cách điện kép hoặc tăng cường;
• SELV hoặc PELV.
712.412 Biện pháp bảo vệ: cách điện kép hoặc tăng cường
712.412.101 Thiết bị, ví dụ như các môđun PV, bảng phân phối hoặc tủ phân phối, được sử dụng ở phía một chiều phải là cấp II hoặc cách điện tương đương, theo IEC 61140.
712.414 Biện pháp bảo vệ: điện áp cực thấp được cung cấp bởi SELV và PELV
712.414.101 Để sử dụng các biện pháp bảo vệ SELV và PELV ở phía một chiều, UOC MAX không được vượt quá 60 V một chiều.
712.414.102 Điện áp một chiều phẳng cần xem xét là điện áp lớn nhất UOC MAX của dàn PV.
712.42 Bảo vệ chống ảnh hưởng nhiệt
712.420.101 An toàn cháy của hệ thống lắp đặt PV
Các yêu cầu cháy của quốc gia hoặc địa phương áp dụng được phải được tính đến.
712.421 Bảo vệ chống cháy gây ra bởi thiết bị điện
712.421.101 Bảo vệ chống ảnh hưởng của sự cố cách điện
712.421.101.1 Bảo vệ chống ảnh hưởng của sự cố cách điện mà không có ít nhất là phân cách đơn giản bên trong PCE hoặc ở phía xoay chiều
712.421.101.1.1 Không được phép nối đất chức năng của bộ phận mang điện ở phía một chiều.
712.421.101.1.2 Trong trường hợp có sự cố cách điện ở phía một chiều:
• PCE phải tự động ngắt kết nối từ phía xoay chiều, hoặc
• bộ phận bị sự cố của dàn PV phải tự động bị ngắt khỏi PCE.
CHÚ THÍCH 1: Việc ngắt kết nối có thể được cung cấp bởi PCE; xem bộ TCVN 12231 (IEC 62109) (tất cả các phần).
CHÚ THÍCH 2: Việc ngắt kết nối tự động có thể được cung cấp bởi RCD.
712.421.101.1.3 Trong trường hợp có sự cố cách điện ở phía một chiều, phải có báo động tự động. (xem 712.531.3.101.3).
CHÚ THÍCH: Nếu sự cố cách điện được phát hiện bởi PCE, theo bộ TCVN 12231 (IEC 62109) (tất cả các phần), cảnh báo được bắt đầu bởi PCE.
712.421.101.2 Bảo vệ chống các ảnh hưởng của sự cố cách điện bằng phân cách đơn giản bên trong PCE hoặc ở phía xoay chiều
712.421.101.2.1 Cho phép nối đất chức năng bộ phận mang điện ở phía một chiều.
712.421.101.2.2 Nếu không có nối đất chức năng bộ phận mang điện ở phía một chiều thì phải đặt một thiết bị theo dõi cách điện (IMD) hoặc thiết bị khác có hiệu quả giám sát tương đương.
CHÚ THÍCH: Bộ nghịch lưu theo bộ TCVN 12231 (IEC 62109) (tất cả các phần) có thể được sử dụng để cung cấp chức năng này.
712.421.101.2.3 Ngoại trừ trường hợp áp dụng đoạn dưới đây, dàn PV có một dây dẫn nối đất chức năng phải được cung cấp một cơ cấu hoặc kết hợp các cơ cấu, theo 712.532.102, làm gián đoạn dòng điện qua dây dẫn nối đất chức năng trong trường hợp có sự cố cách điện ở phía một chiều. Cơ cấu (hoặc kết hợp các cơ cấu) cũng phải đưa ra cảnh báo theo 712.421.101.2.4.
Yêu cầu của đoạn trước không áp dụng trong trường hợp việc nối đất chức năng được nối đất thông qua một điện trở có giá trị R đáp ứng điều kiện sau:

trong đó
In là giá trị của dòng điện cho trong Bảng 712.6.
CHÚ THÍCH: Trong trường hợp có sự cố cách điện, có thể cần phải tắt PCE ngay lập tức vì lý do chức năng.
Với việc nối đất chức năng bộ phận mang điện ở phía một chiều thông qua một điện trở, phải đặt một thiết bị theo dõi cách điện (IMD) hoặc thiết bị khác có hiệu quả giám sát tương đương (xem 712.531.3).
CHÚ THÍCH: PCE theo bộ TCVN 12231 (IEC 62109) (tất cả các phần) có thể được sử dụng để cung cấp chức năng này.
712.421.101.2.4 Trong trường hợp có sự cố cách điện ở phía một chiều, phải có báo động tự động (xem 712.531.3.101.3).
CHÚ THÍCH: Nếu sự cố cách điện được phát hiện bởi PCE, theo bộ TCVN 12231 (IEC 62109) (tất cả các phần), cảnh báo được bắt đầu bởi PCE.
Theo TCVN 7447-4-41:2010 (IEC 60364-4-41:2005), 411.6.3.1, nên loại bỏ sự cố với độ trễ thực tế ngắn nhất.
712.43 Bảo vệ chống quá dòng
712.430.3 Yêu cầu chung
712.430.3.101 Quy định chung
Quá dòng bên trong dàn PV có thể do các sự cố trong hệ thống đi dây của dàn hoặc do dòng điện sự cố do ngắn mạch trong các môđun, trong hộp kết hợp hoặc trong hệ thống đi dây của môđun.
Các môđun PV là các nguồn giới hạn dòng điện nhưng cũng có thể chịu quá dòng vì chúng có thể được nối song song và cũng được nối với các nguồn bên ngoài. Quá dòng có thể bị gây ra bởi tổng của các dòng điện từ:
• nhiều chuỗi liền kề song song,
• một số loại PCE mà chúng được kết nối và/hoặc
• các nguồn bên ngoài.
712.430.3.102 Yêu cầu đối với bảo vệ quá dòng
Bảo vệ quá dòng phải được cung cấp theo 712.430.3.102 đến 712.433.1.101 và với các yêu cầu của nhà chế tạo môđun PV.
Các cơ cấu bảo vệ quá dòng được yêu cầu để bảo vệ các môđun PV và/hoặc hệ thống đi dây của chúng phải được chọn để hoạt động đáng tin cậy và nhất quán trong vòng 2 h khi quá dòng bằng 135 % dòng điện danh nghĩa của cơ cấu mà môđun PV áp dụng.
712.430.3.103 Yêu cầu đối với bảo vệ quá dòng chuỗi
Bảo vệ quá dòng chuỗi phải được sử dụng nếu:

trong đó:
Ns là tổng số chuỗi nối song song được bảo vệ bởi cơ cấu bảo vệ quá dòng gần nhất.
Khi áptômát có các phần tử bảo vệ quá dòng được sử dụng, chúng cũng có thể cung cấp phương tiện ngắt kết nối được yêu cầu trong 712.536.2.101 đến 712.536.2.103.
712.430.3.104 Yêu cầu đối với bảo vệ quá dòng dàn con
Bảo vệ quá dòng dàn con phải được cung cấp nếu có nhiều hơn hai dàn con được kết nối song song.
712.432 Bản chất của cơ cấu bảo vệ
712.432.101 Điốt chặn được sử dụng để nối các chuỗi PV song song không được xem là phương tiện bảo vệ chống quá dòng.
712.432.102 Các cơ cấu bảo vệ quá dòng ở phía một chiều phải là cầu chảy gPV phù hợp với TCVN 5926-6 (IEC 60269-6) hoặc cơ cấu khác phù hợp với bộ IEC 60947 (tất cả các phần) hoặc bộ IEC 60898 (tất cả các phần).
Các cơ cấu phù hợp với bộ IEC 60947 (tất cả các phần) hoặc bộ IEC 60898 (tất cả các phần) phải là loại phù hợp với các điều kiện dự kiến, đặc biệt cho hoạt động bằng dòng điện một chiều, dòng điện ngược và dòng điện cực trị.
712.433 Bảo vệ chống dòng điện quá tải
712.433.1 Phối hợp giữa các dây dẫn và cơ cấu bảo vệ quá tải
712.433.1.101 Kích thước bảo vệ quá tải
712.433.1.101.1 Quy định chung
Hệ số nhân được chọn trong 712.433.1.101.2 đến 712.433.1.101.4 phải được điều chỉnh để tính đến các hệ thống PV hoạt động trong điều kiện khí hậu nơi Isc dự kiến sẽ thường xuyên vượt quá các giá trị ở STC.
CHÚ THÍCH: Nhiều điều kiện khí hậu và môi trường có thể dẫn đến dòng điện ngắn mạch cao của các môđun PV và các dàn PV vượt quá giá trị ở STC, ví dụ như các vị trí địa lý có nguồn năng lượng mặt trời cao bất thường, phản xạ từ tuyết, hoặc các điều kiện khác. Ví dụ, trong trường hợp tuyết, dòng điện ngắn mạch bị ảnh hưởng bởi nhiệt độ môi trường xung quanh, góc nghiêng và góc phương vị của môđun PV, sự phân xạ của tuyết, đặc điểm địa lý, v.v.
712.433.1.101.2 Bảo vệ quá tải chuỗi PV
Trường hợp yêu cầu bảo vệ quá tải chuỗi:
1) từng chuỗi PV phải được bảo vệ bằng cơ cấu bảo vệ quá tải, trong đó thông số đặc trưng về bảo vệ quá tải của cơ cấu bảo vệ quá tải chuỗi phải là In, trong đó:
In > 1,5 x ISC_MOD và
In < 2,4 x ISC_MOD và
In ≤ IMOD_MAX_OCPR
hoặc
2) các chuỗi có thể được nhóm song song dưới sự bảo vệ của một cơ cấu bảo vệ quá tải, với điều kiện là:
Ing > 1,5 x NTS x ISC_MOD và
Ing < IMOD_MAX_OCPR - ((NTS - 1) x ISC_MOD)
trong đó
In là dòng điện danh định hoặc dòng điện thiết lập của cơ cấu bảo vệ quá tải chuỗi,
Ing là dòng điện danh định hoặc dòng điện thiết lập của nhóm cơ cấu bảo vệ quá tải,
NTS là tổng số chuỗi một nhóm dưới sự bảo vệ của một cơ cấu bảo vệ quá tải.
Trong trường hợp sử dụng áptômát làm cơ cấu bảo vệ quá tải, bộ IEC 60364 (tất cả các phần) cũng cho phép cơ cấu này đáp ứng vai trò của một phương tiện ngắt kết nối theo yêu cầu của 712.536.2.101 đến 712.536.2.103.
Ở một số công nghệ môđun PV, ISC_MOD cao hơn giá trị danh định danh nghĩa trong tuần hoặc tháng hoạt động đầu tiên. Điều này cần được tính đến khi thiết lập bảo vệ quá tải và các thông số đặc trưng của cáp.

Đây chỉ là một ví dụ và các cơ cấu đóng cắt, ngắt kết nối và bảo vệ quá tải khác có thể được yêu cầu trong các trường hợp riêng, nhưng để đơn giản, chúng không được hiển thị trên hình này.
CHÚ THÍCH 1: Đây là trường hợp đặc biệt và chỉ có thể thiết kế khi thông số đặc trưng về bảo vệ quá tải của môđun PV lớn hơn nhiều so với dòng điện làm việc bình thường của nó.
CHÚ THÍCH 2: Trong trường hợp có các ràng buộc cụ thể như lắp thiết bị kề nhau được sử dụng đồng thời ở dòng điện danh định và/hoặc nhiệt độ môi trường xung quanh cao, sự lựa chọn dòng điện danh định cho cơ cấu bảo vệ có thể bị ảnh hưởng.
Hình 712.7 - Ví dụ về sơ đồ dàn PV trong đó các chuỗi được nhóm theo một cơ cấu bảo vệ quá tải cho mỗi nhóm
712.433.1.101.3 Bảo vệ quá tải dàn con PV
Dòng điện danh định hoặc dòng điện thiết lập (In) của cơ cấu bảo vệ quá tải cho dàn con PV phải được xác định bằng các công thức sau:

Hệ số nhân 1,25 được sử dụng ở đây thay vì 1,5 cho các chuỗi là để cho phép độ linh hoạt cho người thiết kế. Không nên sử dụng hệ số nhân 1,25 ở những khu vực có hiện tượng bức xạ cao thường xuyên vì điều này sẽ có thể gây ra tác động của cơ cấu bảo vệ quá tải.
CHÚ THÍCH: Trong trường hợp có các ràng buộc cụ thể như lắp thiết bị kề nhau được sử dụng đồng thời ở dòng điện danh định và/hoặc nhiệt độ môi trường xung quanh cao, sự lựa chọn dòng điện danh định cho cơ cấu bảo vệ có thể bị ảnh hưởng.
712.433.1.101.4 Bảo vệ quá tải dàn PV
Bảo vệ quá tải cáp của dàn PV chỉ được yêu cầu cho các hệ thống lắp đặt PV được kết nối với acquy hoặc khi các nguồn dòng điện khác có thể cấp cho dàn PV trong các điều kiện sự cố. Dòng điện danh định (In) của các cơ cấu bảo vệ quá tải dàn PV phải được xác định thông số đặc trưng như sau:

Các cơ cấu bảo vệ quá tải dàn PV thường được lắp đặt giữa acquy hoặc bộ acquy và bộ điều khiển nạp càng gần càng tốt với acquy hoặc bộ acquy. Nếu những cơ cấu này được xác định thông số đặc trưng thích hợp thì chúng sẽ cung cấp bảo vệ cho cả bộ điều khiển nạp và cáp của dàn PV, và do đó không cần thêm bảo vệ quá tải cáp của dàn PV giữa dàn PV và bộ điều khiển nạp. Hệ số nhân 1,25 được sử dụng ở đây thay vì 1,5 cho các chuỗi là để cho phép độ linh hoạt cho người thiết kế. Không nên sử dụng hệ số nhân 1,25 ở những khu vực có hiện tượng bức xạ cao thường xuyên vì điều này sẽ có thể gây ra tác động của cơ cấu bảo vệ quá tải.
CHÚ THÍCH: Trong trường hợp có các ràng buộc cụ thể như lắp thiết bị kề nhau được sử dụng đồng thời ở dòng điện danh định và/hoặc nhiệt độ môi trường xung quanh cao, sự lựa chọn dòng điện danh định cho cơ cấu bảo vệ có thể bị ảnh hưởng.
712.433.2 Vị trí của cơ cấu bảo vệ quá tải
712.433.2.101 Vị trí bảo vệ quá tải
Cơ cấu bảo vệ quá tải được yêu cầu ở 712.430.3.101 đến 712.430.3.104 và 712.433.1.101 cho dàn PV, dàn con PV và chuỗi PV phải được đặt như dưới đây.
Đối với các cơ cấu bảo vệ quá tải chuỗi, chúng phải ở vị trí mà các cáp của chuỗi tiếp nối với các cáp của dàn con hoặc dàn trong hộp kết hợp của chuỗi (tham khảo Hình 712.3 và 712.4).
Đối với các cơ cấu bảo vệ quá tải dàn con, chúng phải ở vị trí mà các cáp của dàn con tiếp nối với các cáp của dàn trong hộp kết hợp của dàn (tham khảo Hình 712.4).
Đối với các cơ cấu bảo vệ quá tải dàn, chúng phải ở vị trí mà các cáp của dàn tiếp nối với mạch ứng dụng hoặc PCE (tham khảo Hình 712.2 đến 712.4).
CHÚ THÍCH: Vị trí của các cơ cấu bảo vệ quá tải ở đầu xa nhất của các cáp đó so với dàn con PV hoặc chuỗi PV là để bảo vệ khỏi dòng điện sự cố chạy từ các phần khác của dàn PV hoặc từ các nguồn khác như acquy. Do các đặc tính giới hạn dòng điện vốn có của PV, không có đủ dòng điện sự cố từ nguồn trong bản thân mạch bị sự cố để làm cho cơ cấu bảo vệ quá tải tác động.
Cơ cấu bảo vệ quá tải được yêu cầu cho cáp của chuỗi hoặc cáp của dàn con phải được đặt trên từng dây dẫn mang điện (tức là từng dây dẫn mang điện không nối đất chức năng).
Một ngoại lệ áp dụng cho cáp của chuỗi không cùng một hệ thống đi dây như cáp của dàn con, và đối với cáp của dàn con không cùng một hệ thống dây với cáp của chuỗi. Trong những trường hợp này, cơ cấu bảo vệ quá tải chỉ cần được đặt trên một dây dẫn mang điện không nối đất của cáp của chuỗi hoặc cáp của từng dàn con. Cực tính của dây dẫn này phải giống nhau cho tất cả các loại cáp được bảo vệ.
712.433.101 Bảo vệ cáp của dàn PV
Khả năng mang dòng liên tục (Iz) của cáp của dàn PV phải lớn hơn hoặc bằng dòng ngắn mạch lớn nhất của dàn PV:
ISC MAX của dàn PV ≤ Iz
712.433.102 Bảo vệ cáp của nguồn PV xoay chiều
Dòng điện danh định đối với cơ cấu bảo vệ quá tải của cáp của nguồn xoay chiều phải tính đến dòng điện thiết kế của PCE. Dòng điện thiết kế PCE là dòng điện xoay chiều lớn nhất được đưa ra bởi nhà chế tạo PCE hoặc nếu không được đưa ra bởi nhà chế tạo, gấp 1,1 lần dòng điện danh định xoay chiều của nó.
712.434 Bảo vệ chống dòng điện ngắn mạch
712.434.101 Cáp của nguồn PV xoay chiều phải được bảo vệ khỏi các ảnh hưởng của ngắn mạch bằng cơ cấu bảo vệ quá dòng được lắp đặt tại mối nối đến bảng phân phối được chỉ định của hệ thống lắp đặt điện.
712.44 Bảo vệ chống nhiễu điện áp và nhiễu điện từ
712.443 Bảo vệ chống các quá điện áp quá độ có nguồn gốc khí quyển hoặc do đóng cắt
712.443.101 Có tính đến độ nhạy của việc thiết lập các môđun quang điện, cần chú ý chi tiết đến bảo vệ của cấu trúc (tòa nhà) chống lại ảnh hưởng trực tiếp của sét; vấn đề này được đề cập trong IEC 62305 (tất cả các phần).
712.443.4 Điều khiển quá điện áp
712.443.4.101 Bảo vệ chống quá điện áp quá độ
Trong trường hợp bảo vệ chống quá điện áp quá độ được yêu cầu bởi TCVN 7447-4-44:2010 (IEC 60364-4-44:2007), Điều 443, bảo vệ đó cũng phải được áp dụng cho phía một chiều của hệ thống lắp đặt PV.
Tùy thuộc vào khoảng cách giữa PCE và nguồn gốc của hệ thống lắp đặt, bảo vệ chống quá điện áp quá độ khác có thể được yêu cầu ở phía xoay chiều.
Trong trường hợp TCVN 7447-4-44:2010 (IEC 60364-4-44:2007), Điều 443 không yêu cầu bảo vệ chống quá điện áp quá độ, phải thực hiện đánh giá rủi ro theo 712.443.5.101.
712.443.5 Phương pháp đánh giá rủi ro
712.443.5.101 Đánh giá rủi ro đối với hệ thống lắp đặt PV
Khi có sẵn dữ liệu liên quan, có thể tiến hành đánh giá rủi ro để đánh giá xem có cần bảo vệ chống quá điện áp quá độ hay không.
Phương pháp đánh giá rủi ro dựa trên đánh giá độ dài tới hạn:
Lcrit và so sánh của nó với L.
SPD phải được lắp đặt ở phía một chiều của hệ thống lắp đặt, trong đó:
L ≥ Lcrit
trong đó
L là chiều dài tuyến lớn nhất (m) giữa PCE và các điểm kết nối của môđun quang điện của các chuỗi khác nhau.
Lcrit (m) phụ thuộc vào kiểu hệ thống lắp đặt PV và được tính theo Bảng 712.1:
Bảng 712.1 - Tính toán độ dài tới hạn Lcrit
| Kiểu hệ thống lắp đặt PV | Hệ thống lắp đặt PV gắn với tòa nhà | Hệ thống lắp đặt PV không gắn với tòa nhà |
| Lcrit (m) | 115/Ng | 200/Ng |
| L ≥ Lcrit (m) | Yêu cầu SPD ở phía một chiều | |
Ng là mật độ sét đánh lên mặt đất (sét đánh/km2/năm) liên quan đến vị trí của đường dây điện và các cấu trúc được kết nối. Giá trị này có thể được xác định từ mạng lưới vị trí sét đánh lên mặt đất ở nhiều khu vực trên thế giới. (IEC 62305-2:2010, Điều A.1 hoặc IEC 60364-4-44:2007/AMD1:2015, 443.5)
712.444 Biện pháp chống ảnh hưởng điện từ
712.444.5 Nối đất và liên kết đẳng thế
712.444.5.5 Dây dẫn nối đất chức năng
712.444.5.5.101 Đầu nối đất chức năng của dàn PV
Khi dàn PV được nối đất như mô tả trong 712.4.102, mối nối đến đất phải được thực hiện tại một điểm duy nhất và điểm này phải được nối với đầu nối đất chính của hệ thống lắp đặt điện.
CHÚ THÍCH 1: Một số hệ thống lắp đặt điện có thể có các đầu nối đất phụ. Việc nối đất chức năng PV đến các đầu nối đất phụ được chấp nhận với điều kiện là đã xem xét cho việc sử dụng này.
CHÚ THÍCH 2: Việc nối đất chức năng có thể được thiết lập bên trong PCE.
Ở hệ thống lắp đặt PV không có acquy, điểm đấu nối này phải nằm giữa dàn PV và PCE và càng gần càng tốt với PCE.
Ở hệ thống lắp đặt PV có acquy, điểm đấu nối này phải nằm giữa bộ điều khiển nạp và cơ cấu bảo vệ acquy.
CHÚ THÍCH 3: Nếu ở một số quốc gia, các cơ cấu ngắt kết nối được yêu cầu/được phép để gián đoạn các dây dẫn nối đất chức năng thì vị trí của mối nối đất là quan trọng để làm gián đoạn.
712.5 Lựa chọn và lắp đặt thiết bị điện
712.51 Quy tắc chung
712.51.101 Phương pháp tính toán UOC MAX và ISC MAX được nêu trong Phụ lục B.
712.510.3 Quy định chung
Bổ sung:
Thiết bị ở các vị trí ngoài trời phải có cấp bảo vệ ít nhất là IP44 và cấp bảo vệ chống tác động cơ học bên ngoài không thấp hơn IK 07 theo IEC 62262.
Đi dây dàn PV và các thành phần kết hợp thường phải chịu UV, gió, nước, tuyết, gia nhiệt do bức xạ mặt trời trực tiếp, và các điều kiện môi trường khác. Cần lưu ý đặc biệt đến sự cần thiết đối với các biện pháp để cho phép thoát nước có thể tích lũy ngay cả trong các hộp kín nước, và sự cần thiết đối với các biện pháp chống gia nhiệt do bức xạ mặt trời trực tiếp.
712.511 Sự phù hợp với các tiêu chuẩn
712.511.1
Bổ sung:
Kết cấu đỡ và bố trí lắp đặt môđun phải phù hợp với các quy định và tiêu chuẩn có thể áp dụng về tòa nhà và các yêu cầu lắp đặt của nhà chế tạo môđun.
72.511.101 Các môđun PV phải phù hợp với các yêu cầu của tiêu chuẩn thiết bị liên quan, theo bộ IEC 61215 (tất cả các phần) hoặc IEC 61646.
712.511.102 PCE phải phù hợp với bộ TCVN 12231 (IEC 62109) (tất cả các phần).
Theo các điều kiện môi trường có thể thấy trước, PCE phải được chọn theo TCVN 12231-1:2019 (IEC 62109-1:2010), Điều 6.
712.511.103 Hộp kết hợp phải tuân theo tiêu chuẩn IEC 61439-2 hoặc, đối với các vị trí trong gia đình và tương tự, có thể thay thế phù hợp theo IEC 60670 (các phần có liên quan). Cụm thiết bị đóng cắt phải phù hợp với IEC 61439 (các bộ phận liên quan).
712.512 Điều kiện vận hành và các ảnh hưởng bên ngoài
712.512.1 Điều kiện vận hành
712.512.1.1 Điện áp
712.512.1.1.101 Điện áp mạch hở lớn nhất UOC MAX
Điện áp mạch hở lớn nhất UOC MAX được xác định theo Phụ lục B, Điều B.1.
712.512.1.1.102 Yêu cầu đối với thành phần
712.512.1.1.102.1 Quy định chung
Tất cả các thành phần phải phù hợp với các yêu cầu sau:
• được xác định thông số đặc trưng để sử dụng với điện một chiều, trong trường hợp thuộc đối tượng áp dụng;
• có điện áp danh định bằng hoặc lớn hơn điện áp mạch hở lớn nhất được xác định ở 712.512.1.1.101;
• có thông số đặc trưng về dòng điện bằng hoặc lớn hơn giá trị trong Bảng 712.2.
Đối với một số công nghệ PV, dòng điện ISC khả dụng trong một vài tuần đầu hoạt động là lớn hơn đáng kể so với giá trị danh định bình thường. Ở một số công nghệ, ISC tăng theo thời gian. Thiết bị phải được xác định thông số đặc trưng cho giá trị dòng điện dự kiến cao nhất.
Khi điện áp một chiều được ổn định (ví dụ khi sử dụng bộ chuyển đổi DC/DC), thiết bị phải được xác định thông số đặc trưng cho giá trị dòng điện và điện áp dự kiến cao nhất.
712.512.1.1.102.2 Cấp của môđun PV
Trong trường hợp biện pháp bảo vệ được sử dụng ở phía một chiều là cách điện kép hoặc tăng cường theo 712.412, các môđun PV phải được chọn theo cấp II hoặc cách điện tương đương theo IEC 61140.
Trong trường hợp biện pháp bảo vệ được sử dụng ở phía một chiều là điện áp cực thấp bằng phương pháp SELV hoặc PELV, theo 712.414, các môđun PV phải được chọn theo cấp III hoặc cấp II hoặc cách điện tương đương theo IEC 61140.
712.512.1.1.102.3 Cấp của hộp kết hợp
Trong trường hợp biện pháp bảo vệ được sử dụng ở phía một chiều là cách điện kép hoặc tăng cường theo 712.412, hộp kết hợp phải được chọn theo cấp II hoặc cách điện tương đương theo IEC 61140.
Trong trường hợp biện pháp bảo vệ được sử dụng ở phía một chiều là điện áp cực thấp bằng phương pháp SELV hoặc PELV, theo 712.414, hộp kết hợp phải được chọn theo cấp III hoặc cấp II hoặc cách điện tương đương theo IEC 61140.
712.513 Khả năng tiếp cận
712.513.101 Việc lựa chọn và lắp đặt một hệ thống lắp đặt PV sẽ tạo điều kiện cho việc bảo trì an toàn và sẽ không có ảnh hưởng bất lợi đến các quy định của nhà chế tạo thiết bị điện để cho phép tiến hành bảo trì hoặc công việc dịch vụ một cách an toàn. Hộp kết hợp có chứa các cơ cấu quá dòng và/hoặc cơ cấu đóng cắt phải có thể tiếp cận để kiểm tra xem xét, bảo trì hoặc sửa chữa mà không cần tháo dỡ các bộ phận kết cấu, tủ, bàn hoặc tương tự.
712.514 Nhận dạng
712.514.101 Nhãn an toàn
Vì lý do an toàn của những người vận hành khác nhau (nhân viên bảo trì, người kiểm tra, người vận hành mạng lưới phân phối công cộng, dịch vụ hỗ trợ khẩn cấp, v.v.), việc chỉ ra một hệ thống lắp đặt quang điện trên tòa nhà là cần thiết.
Dấu hiệu, như trên Hình 712.8, phải được cố định
• tại nguồn của hệ thống lắp đặt điện, và
• tại vị trí đo, nếu xa nguồn, và
• tại đơn vị tiêu thụ hoặc bảng phân phối mà nguồn cung cấp từ PCE được kết nối.

CHÚ THÍCH: Quy định quốc gia cần quyết định nhãn và vị trí của các nhãn đó.
Hình 712.8 - Ví dụ về dấu hiệu có hệ thống lắp đặt quang điện trên tòa nhà
712.514.102 Nhãn bộ phận mang điện
Từng điểm tiếp cận đến bộ phận mang điện ở phía một chiều, ví dụ như bảng và tủ phân phối phải có một nhãn vĩnh viễn, ví dụ mang nội dung ‘Năng lượng mặt trời một chiều - Các bộ phận mang điện có thể vẫn duy trì đóng điện sau cách ly’.
712.514.103 Nhãn cách ly
Tất cả các PCE phải có nhãn chỉ ra rằng, trước khi thực hiện bất kỳ hoạt động bảo trì nào, PCE phải được cách ly khỏi tất cả các nguồn cung cấp.
712.514.104 Nhãn thiết bị
Tất cả các thiết bị điện phải được ghi nhãn theo các yêu cầu về ghi nhãn trong tiêu chuẩn và quy định quốc gia khi thuộc đối tượng áp dụng. Nhãn phải bằng ngôn ngữ quốc gia hoặc sử dụng các ký hiệu cảnh báo quốc gia thích hợp. Ví dụ tiếng Anh của nội dung dấu hiệu được nêu trong Phụ lục C.
712.514.105 Yêu cầu đối với dấu hiệu
Ví dụ về các dấu hiệu được nêu trong Phụ lục C.
712.514.106 Nhãn của cơ cấu ngắt kết nối
712.514.106.1 Quy định chung
Các cơ cấu ngắt kết nối phải được ghi nhãn bằng tên hoặc số nhận dạng theo sơ đồ sợi của dàn PV.
Tất cả các cơ cấu đóng cắt phải có vị trí BẬT (ON) và TẮT (OFF) được chỉ ra rõ ràng.
712.514.106.2 Cơ cấu ngắt kết nối dàn PV
Thiết bị đóng cắt-cách ly một chiều của dàn PV phải được nhận dạng bằng một dấu hiệu được gắn ở vị trí nổi bật liền kề với thiết bị đóng cắt-cách ly.
Trong trường hợp cơ cấu ngắt kết nối được sử dụng không được ghép thành bộ (tham khảo 712.536.2.103), dấu hiệu phải có cảnh báo của nhiều nguồn một chiều và cần phải tắt tất cả các thiết bị đóng cắt-cách ly để cách ly an toàn thiết bị.
712.514.107 Tài liệu
Tài liệu phải được cung cấp theo TCVN 11855-1 (IEC 62446-1).
Bộ hướng dẫn vận hành dùng cho báo động sự cố cách điện được đề cập trong 712.531.3.101.3 phải được cung cấp cho chủ sở hữu hệ thống lắp đặt PV, trong đó, giải thích sự cần thiết phải hành động ngay lập tức để điều tra và khắc phục sự cố.
712.514.2 Hệ thống đi dây
Bổ sung:
Việc nhận dạng mạch điện xoay chiều và một chiều phải sao cho chúng được phân biệt rõ ràng với nhau (ví dụ bằng nhãn hoặc cáp có màu khác nhau).
712.515 Ngăn ngừa ảnh hưởng bất lợi lẫn nhau
712.515.101 Chọn và lắp đặt môđun liên quan đến các ảnh hưởng bên ngoài
712.515.101.1 Ảnh hưởng về nhiệt
Phải có dự phòng trong bố trí lắp đặt môđun PV để cho phép mở rộng/thu gọn tối đa các môđun ở nhiệt độ làm việc dự kiến theo các khuyến cáo của nhà chế tạo. Các dự phòng tương tự phải được thực hiện cho các thành phần kim loại áp dụng khác, bao gồm kết cấu lắp, ống và máng cáp.
712.515.101.2 Tải cơ khí lên kết cấu PV
Kết cấu đỡ dàn PV phải phù hợp với tiêu chuẩn và quy định quốc gia liên quan đến các đặc tính mang tải. Cần chú ý đặc biệt đến tải gió và tải tuyết trên dàn PV.
712.515.101.3 Gió
Môđun PV, các khung lắp môđun, và phương pháp được sử dụng để gắn khung vào tòa nhà hoặc lên mặt đất phải được xác định thông số đặc trưng với tốc độ gió dự kiến lớn nhất tại vị trí đó theo các quy định quốc gia.
Khi đánh giá thành phần này, tốc độ gió được quan sát (hoặc được biết) tại hiện trường phải được sử dụng, có xem xét đủ các sự kiện gió (gió lốc, vòi rồng, bão, v.v...). Kết cấu dàn PV phải được giữ chặt theo cách thích hợp hoặc theo các tiêu chuẩn quốc gia về tòa nhà.
Lực gió đặt lên dàn PV sẽ tạo ra tải đáng kể cho kết cấu tòa nhà. Tải này phải được tính đến khi đánh giá khả năng của tòa nhà chịu được các lực được tạo ra.
712.515.101.4 Tích lũy vật liệu trên dàn PV
Tuyết, đá hoặc các vật liệu khác có thể tích tụ trên dàn PV và phải được tính đến khi chọn các môđun có thông số đặc trưng thích hợp, tính toán kết cấu đỡ đối với môđun và cũng như khi tính khả năng của toàn nhà để đỡ dàn PV.
CHÚ THÍCH: Ngay sau khi tuyết rơi, các tải này thường được phân bố đều. Sau một thời gian chúng có thể phân bố rất không đều khi tuyết bắt đầu tan. Điều này có thể dẫn đến hư hại đáng kể cho môđun và kết cấu đỡ.
712.515.101.5 Ăn mòn
Khung lắp môđun, và các phương pháp được sử dụng để gắn môđun vào khung và gắn khung vào tòa nhà hoặc lên mặt đất, phải làm bằng vật liệu chống ăn mòn trong suốt tuổi thọ và chế độ làm việc của thiết bị, ví dụ bằng nhôm, thép mạ kẽm, gỗ đã xử lý.
Nếu nhôm được lắp đặt trên biển hoặc môi trường ăn mòn cao khác thì nó phải được anod hóa với chiều dày và quy định kỹ thuật thích hợp tại vị trí và chế độ làm việc của thiết bị. Khí ăn mòn, như amoniac trong môi trường trồng trọt cũng cần được tính đến.
Phải có biện pháp ngăn ngừa ăn mòn điện hóa giữa các kim loại không giống nhau. Việc này có thể xuất hiện giữa các kết cấu và tòa nhà và cũng có thể giữa các kết cấu, cơ cấu giữ chặt và môđun PV.
Vật liệu phải được sử dụng để giảm ăn mòn điện hóa giữa các bề mặt kim loại được mạ điện không giống nhau, ví dụ như vòng đệm nylon, cách điện cao su.
Cần tham khảo hướng dẫn của nhà chế tạo và các quy định quốc gia về thiết kế của hệ thống lắp đặt và các đầu nối khác như nối đất.
712.52 Hệ thống đi dây
712.521 Kiểu hệ thống đi dây
712.521.101 Kiểu
712.521.101.1 Cáp được sử dụng trong dàn PV phải:
• thích hợp cho ứng dụng một chiều;
• có thông số đặc trưng về điện áp bằng hoặc lớn hơn điện áp hở mạch lớn nhất được xác định trong Điều 712.512.1.1.101;
• có thông số đặc trưng về nhiệt độ theo ứng dụng, có tính đến việc môđun PV thường làm việc ở nhiệt độ cao hơn nhiệt độ môi trường xung quanh khoảng 40 K và do đó, cách điện của cáp của hệ thống đi dây được lắp đặt tiếp xúc hoặc gần môđun PV phải được xác định thông số đặc trưng tương ứng;
• nếu để ngoài môi trường, có khả năng chịu UV, hoặc được bảo vệ khỏi ánh sáng UV bằng bảo vệ thích hợp, hoặc được lắp đặt trong ống hoặc đường ống chịu UV;
• thích hợp với các điều kiện dự kiến về chịu nước;
• trong trường hợp sử dụng ruột đồng, có phủ thiếc, là các ruột dẫn nhiều sợi để giảm sự suy thoái của cáp theo thời gian;
• trong tất cả các hệ thống lắp đặt vận hành ở điện áp lớn hơn điện áp cực thấp, được chọn sao cho giảm thiểu rủi ro sự cố cách điện (Việc này thường đạt được bằng cách sử dụng cáp có cách điện và có vỏ bọc phi kim loại, được chọn và lắp đặt theo TCVN 7447-4-41:2010 (IEC 60364-4-41:2005), 412.2.4.1, đặc biệt đối với cáp phải chịu hoặc nằm trong máng hoặc ống kim loại. Việc này cũng có thể đạt được bằng cách tăng cường bảo vệ hệ thống đi dây như thể hiện trên Hình 712.9);
• chịu cháy như xác định trong TCVN 6613-1-2 (IEC 60332-1-2);
• có ruột dẫn tối thiểu là cấp 5 theo TCVN 6612 (IEC 60228) khi phải di chuyển (ví dụ như hệ thống lắp đặt bám theo hoặc trong trường hợp các cáp của chuỗi PV phải chịu gió), hoặc tối thiểu là cấp 2 theo IEC 60229 trong trường hợp không phải di chuyển.
CHÚ THÍCH 1: Một số quốc gia yêu cầu cáp không có halogen khi được đi dây trong tòa nhà.
CHÚ THÍCH 2: Đã có IEC 62930, Cáp điện của hệ thống quang điện.

Hình 712.9 - Ví dụ về cáp có bảo vệ tăng cường
712.521.101.2 Cáp ở phía một chiều phải được chọn và lắp đặt để giảm thiểu rủi ro sự cố chạm đất và ngắn mạch.
712.521.102 Quy định chung
Tất cả các đấu nối phải được kiểm tra xác nhận độ kín và cực tính trong quá trình lắp đặt để giảm rủi ro sự cố và hồ quang có thể có trong quá trình chạy thử, vận hành và bảo trì trong tương lai.
712.521.103 Đi dây móc vòng
Để giảm cường độ của quá điện áp quá độ, hệ thống đi dây dàn PV phải được đặt theo cách sao cho diện tích của các vòng dẫn là nhỏ nhất (ví dụ: bằng cách đặt cáp song song như trên Hình 712.10)

Hình 712.10 - Đi dây chuỗi PV với diện tích vòng nhỏ nhất
712.521.104 Đi dây chuỗi PV
Trong trường hợp khi đi dây các chuỗi PV giữa các môđun không được bảo vệ bởi ống hoặc các vỏ ngoài khác, ngoài các yêu cầu đối với tất cả các hệ thống đi dây dàn PV, cũng phải áp dụng các yêu cầu sau đây:
• cáp được bảo vệ khỏi hư hại về cơ khí, và
• cáp phải được lắp đặt sao cho giảm sức căng để ngăn ngừa ruột dẫn khỏi rời ra khỏi mối nối.
712.522 Lựa chọn và lắp đặt hệ thống dây điện liên quan đến các tác động bên ngoài
712.522.101 Phương pháp lắp đặt
Cáp phải được đỡ sao cho chúng không phải chịu mỏi do ảnh hưởng của gió/tuyết. Cáp cũng phải được bảo vệ khỏi các cạnh sắc. Cáp phải được đỡ sao cho các đặc tính của chúng và các yêu cầu lắp đặt được duy trì trong suốt tuổi thọ sử dụng của nhà máy PV. Tất cả các hệ thống quản lý cáp phi kim loại phơi nhiễm ánh sáng mặt trời phải là loại chịu UV.
CHÚ THÍCH: Ống, đường ống và dây buộc cáp được lắp đặt dưới dàn PV vẫn có thể phơi nhiễm bức xạ UV phản xạ. Dây buộc cáp kim loại có thể có các cạnh sắc mà theo thời gian và chịu tác động của gió có thể gây hỏng cáp.
712.523 Khả năng mang dòng
712.523.101 Nhiệt độ môi trường xung quanh đối với cáp phải chịu nhiệt trực tiếp từ mặt dưới của các môđun PV phải được ít nhất là 70 °C.
712.524 Tiết diện của ruột dẫn
712.524.1
Bổ sung:
Phải xác định cỡ cáp đối với cáp của chuỗi PV, cáp của dàn con PV và cáp của dàn PV đối với các thông số đặc trưng về bảo vệ quá dòng trong trường hợp sử dụng, dòng điện danh định tối thiểu (tham khảo Bảng 712.2), sụt áp và dòng điện sự cố tiềm ẩn. Cỡ cáp lớn nhất thu được từ các tiêu chí này phải được áp dụng.
Dàn PV không được nối với acquy là nguồn giới hạn dòng điện nhưng do đấu nối song song của các chuỗi và các dàn con, dòng điện cao bất thường có thể chạy trong hệ thống đi dây của dàn trong các điều kiện sự cố. Bảo vệ quá dòng được quy định khi cần thiết và cáp phải có thể chịu được dòng điện trường hợp xấu nhất từ bộ phận ở xa bất kỳ của dàn thông qua thiết bị bảo vệ quá dòng gần nhất cộng với dòng điện trường hợp xấu nhất khả dụng từ các chuỗi song song liền kề bất kỳ.
712.524.1.101.1
Các cỡ cáp nhỏ nhất đối với hệ thống đi dây PV, dựa trên khả năng mang dòng (Iz), phải dựa vào thông số đặc trưng của dòng điện được tính theo Bảng 712.2.
Trong một số công nghệ môđun PV, ISC MOD cao hơn giá trị danh định danh nghĩa trong tuần hoặc tháng vận hành đầu tiên, và trong các công nghệ khác, ISC MOD tăng theo thời gian. Điều này phải được tính đến khi thiết lập các thông số đặc trưng của cáp.
Bảng 712.2 - Thông số đặc trưng nhỏ nhất của dòng điện của mạch điện
| Mạch điện liên quan | Bảo vệ | Dòng điện nhỏ nhất dựa vào đó chọn tiết diện cáp và/hoặc thông số đặc trưng khác của mạch điện |
| Chuỗi PV | Không có bảo vệ quá dòng chuỗi PV | Dòng điện danh định (In) của thiết bị bảo vệ quá dòng gần phía tải nhất + 1,25 x ISC MOD x (Ns - 1) Trong đó: Ns là tổng số chuỗi nối song song được bảo vệ bởi thiết bị bảo vệ quá dòng gần nhất. CHÚ THÍCH i) Thiết bị bảo vệ quá dòng gần phía tải nhất có thể là thiết bị bảo vệ dàn con và nếu không có thiết bị này thì có thể là thiết bị bảo vệ quá dòng của dàn, nếu có. ii) Khi không sử dụng bảo vệ quá dòng trong một dàn hoàn chỉnh thì Ns là tổng số chuỗi nối song song trong dàn PV hoàn chỉnh; và dòng điện danh định (In) của thiết bị bảo vệ quá dòng gần nhất được thay bằng không. |
| Có bảo vệ quá dòng chuỗi PV | Dòng điện danh định (In) của thiết bị bảo vệ quá dòng của chuỗi PV (được đề cập ở 712.430.3.101 đến 712.430.3.104, 712.433.1.101 và 712.433.2.101) | |
| Dàn con PV | Không có bảo vệ quá dòng dàn con PV | Chọn giá trị lớn hơn của các giá trị sau: a) Dòng điện danh định (In) của thiết bị bảo vệ quá dòng của dàn PV + 1,25 x tổng dòng ngắn mạch của tất cả các dàn con khác b) 1,25 x ISC S-ARRAY (của dàn liên quan) CHÚ THÍCH: Khi không sử dụng bảo vệ quá dòng dàn PV, In được thay bằng 0 trong công thức (a) |
| Không có bảo vệ quá dòng dàn con PV | Dòng điện danh định (In) của thiết bị bảo vệ quá dòng của dàn con PV (được đề cập ở 712.430.3.101 để 712.430.3.104, 712.433.1.101 và 712.433.2.101) | |
| Dàn PV | Có bảo vệ quá dòng dàn PV | 1,25 x ISC ARRAY |
| Không có bảo vệ quá dòng dàn PV | Dòng điện danh định (In) của thiết bị bảo vệ quá dòng của dàn PV (được đề cập ở 712.430.3.101 đến 712.430.3.104, 712.433.1.101 và 712.433.2.101) |
Trong trường hợp PCE hoặc thiết bị chuyển đổi điện khác có khả năng cung cấp dòng điện cấp ngược vào dàn trong điều kiện sự cố, giá trị của dòng điện cấp ngược này phải được tính đến trong tất cả các phép tính dòng điện danh định của mạch điện. Trong một số trường hợp, dòng điện cấp ngược phải được thêm vào thông số đặc trưng của mạch điện như được tính ở Bảng 712.2.
CHÚ THÍCH: Giá trị của dòng điện cấp ngược được cung cấp bởi thiết bị chuyển đổi điện (PCE) có thể được có từ thông tin được cung cấp bởi nhà chế tạo PCE.
712.525 Điện áp rơi trong hệ thống lắp đặt của người dùng
712.525.101 Điện áp rơi trong hệ thống lắp đặt PV
Vì lý do hiệu quả, ngoài an toàn điện và vận hành chính xác của thiết bị, phải xem xét đến điện áp rơi trong hệ thống lắp đặt PV. Xem 712.31.101.1.6. Cần xem xét đến quy định của quốc gia.
Khi hệ thống lắp đặt PV đang phát điện, điện áp tại các đầu nối PCE cao hơn điện áp tại điểm nối lưới. Chênh lệch điện áp này nên được giữ ở mức tối thiểu để ngăn ngừa PCE khỏi cản trở việc ngắt khi quá điện áp.
Áp dụng các khuyến cáo của TCVN 7447-5-52:2010 (IEC 60364-5-52:2009), Phụ lục G.
712.526 Đấu nối điện
712.526.1
Bổ sung:
Bộ nối kiểu chân cắm và lỗ cắm ghép với nhau phải là cùng một kiểu từ cùng nhà chế tạo, tức là bộ nối kiểu chân cắm từ một nhà chế tạo và bộ nối kiểu lỗ cắm từ nhà chế tạo khác hoặc ngược lại không được sử dụng để đấu nối.
Bộ nối phải phù hợp với các yêu cầu sau:
• được quy định thông số đặc trưng để sử dụng với điện một chiều (TCVN 12718 (IEC 62852)):
• có thông số đặc trưng về điện áp bằng hoặc lớn hơn điện áp hở mạch lớn nhất được xác định ở 712.512.1.1.101;
• được bảo vệ khỏi tiếp xúc với các bộ phận mang điện ở trạng thái được kết nối và ngắt kết nối (ví dụ: được che);
• có thông số đặc trưng về dòng điện bằng hoặc lớn hơn khả năng mang dòng điện đối với mạch điện mà chúng được lắp vào (tham khảo Bảng 712.2);
• có khả năng chấp nhận cáp được sử dụng cho mạch điện mà chúng được lắp vào;
• yêu cầu một lực có chủ ý để ngắt kết nối;
• nếu có thể tiếp cận bởi người chưa được đào tạo thì phải là loại khóa trong đó yêu cầu hai hành động độc lập để ngắt kết nối;
• có thông số đặc trưng về nhiệt độ thích hợp đối với vị trí lắp đặt chúng;
• nếu nhiều cực, được phân cực;
• phù hợp với cấp II đối với hệ thống lắp đặt PV làm việc ở điện áp trên 35 V;
• nếu tiếp xúc với môi trường, phải có thông số đặc trưng để sử dụng ngoài trời, có khả năng chịu UV và thông số IP thích hợp với vị trí;
• phải được lắp đặt theo cách để giảm thiểu sức căng trên các bộ nối (ví dụ: đỡ cáp ở một phía của bộ nối);
• phích cắm và ổ cắm thường được sử dụng để kết nối thiết bị gia dụng với nguồn điện xoay chiều điện áp thấp không được sử dụng trong các dàn PV.
CHÚ THÍCH: Mục đích của yêu cầu này là để tránh nhầm lẫn giữa các mạch điện xoay chiều và một chiều trong một hệ thống lắp đặt.
712.526.101 Bộ nối ở phía một chiều
Đối với các hệ thống lắp đặt PV không sử dụng các biện pháp bảo vệ SELV hoặc PELV ở phía một chiều, chỉ được sử dụng các bộ nối đặc biệt thích hợp cho phía một chiều của hệ thống lắp đặt PV.
Bộ nối ở vị trí có thể tiếp cận được với những người không phải là người có kỹ năng hoặc được hướng dẫn phải là kiểu chỉ có thể ngắt kết nối bằng chìa khóa hoặc một dụng cụ hoặc phải được lắp đặt trong một vỏ ngoài mà chỉ có thể được mở bằng chìa khóa hoặc dụng cụ.
712.526.102 Lắp đặt hệ thống đi dây trong hộp kết hợp
Các quy định sau đây áp dụng cho việc lắp đặt hệ thống đi dây trong hộp kết hợp.
Khi dây dẫn đi vào hộp tổ hợp mà không có ống dẫn, phải bố trí giảm sức căng để tránh ngắt kết nối cáp bên trong hộp kết hợp (ví dụ: bằng cách sử dụng bộ nối kiểu vòng đệm).
Tất cả các lối vào cáp khi được lắp đặt phải duy trì thông số IP của vỏ ngoài.
CHÚ THÍCH: Sự ngưng tụ nước bên trong các hộp kết hợp có thể là một vấn đề ở một số vị trí; có thể cần có dự phòng để thoát nước tích tụ.
712.527 Lựa chọn và lắp đặt hệ thống đi dây để giảm thiểu cháy lan
Đang xem xét.
712.528 Lân cận của hệ thống đi dây với các dịch vụ khác
Đang xem xét.
712.529 Lựa chọn và lắp đặt hệ thống dây liên quan đến khả năng bảo trì, bao gồm cả làm sạch
Đang xem xét.
712.53 Cách ly, đóng cắt và điều khiển
712.530.3 Yêu cầu chung
712.530.3.101 Thiết bị bảo vệ dòng dư (RCD)
Trong trường hợp sử dụng RCD để bảo vệ mạch điện nguồn xoay chiều PV, RCD phải là kiểu B phù hợp với IEC 62423, trừ khi:
• hướng dẫn của nhà chế tạo chỉ ra bộ nghịch lưu cung cấp tối thiểu là phân cách đơn giản giữa phía xoay chiều và phía một chiều, hoặc
• hệ thống lắp đặt cung cấp tối thiểu là phân cách đơn giản giữa bộ nghịch lưu và RCD bằng các cuộn dây riêng rẽ của máy biến áp, hoặc
• bộ nghịch lưu phù hợp với TCVN 12231-1 (IEC 62109-1) và hướng dẫn của nhà chế tạo không yêu cầu sử dụng RCD kiểu B, trong trường hợp đó, kiểu RCD phải phù hợp với hướng dẫn của nhà chế tạo.
712.531 Thiết bị bảo vệ chống tiếp xúc gián tiếp (bảo vệ lỗi) bằng cách tự động ngắt nguồn
712.531.101 Yêu cầu phát hiện, ngắt kết nối và báo động
Yêu cầu phát hiện sự cố cách điện, hành động yêu cầu và báo động phụ thuộc vào kiểu nối đất hệ thống và liệu PCE có phân cách về điện của dàn PV với mạch điện đầu ra (ví dụ: lưới) hay không. Bảng 712.3 chỉ ra các yêu cầu đối với phép đo điện trở cách điện của dàn PV với đất và theo dõi dòng điện dư của dàn PV cũng như các hành động và báo động yêu cầu khi có sự cố được phát hiện.
Bảng 712.3 - Yêu cầu đối với các kiểu hệ thống khác nhau dựa trên cách điện PCE và nối đất chức năng dàn PV
|
|
| Kiểu hệ thống | ||
|
|
| PCE không được cách ly + không có nối đất chức năng trên dàn PV | PCE được cách ly + không có nối đất chức năng trên dàn PV | PCE được cách ly + có nối đất chức năng trên dàn PV |
|
| Phép đo | Theo 712.531.3.101.1 | ||
| Điện trở cách điện của dàn PV với đất | Hành động khi có sự cố | a) Nếu phía xoay chiều không phải là một phần của hệ thống IT: Tắt PCE và ngắt tất cả các dây dẫn mang điện của mạch điện xoay chiều hoặc tất cả các cực của phần sự cố của dàn PV khỏi PCE. b) Nếu phía xoay chiều là một phần của hệ thống IT: Không có hành động gì (PCE được phép hoạt động). | Được phép nối vào mạch điện xoay chiều (PCE được phép hoạt động). | |
| Báo động khi có sự cố | Chỉ ra sự cố theo 712.531.3.101.3 | |||
| Theo dõi dòng điện dư của dàn PV | Phép đo | Theo 712.531.3.101.2 | Không yêu cầu | Theo 712.531.3.101.2 |
| Hành động khi có sự cố | Tắt PCE và ngắt tất cả các dây dẫn mang điện của mạch điện xoay chiều hoặc tất cả các cực của phần sự cố của dàn PV khỏi PCE. | Đấu nối đất chức năng phải được ngắt kết nối (xem 712.531.3.101.2); cho phép đấu nối vào mạch điện xoay chiều. (PCE được phép hoạt động). | ||
| Báo động khi có sự cố | Chỉ ra sự cố theo 712.531.3.101.3 |
| Chỉ ra sự cố theo 712.531.3.101.3 | |
| Thay vì tắt PCE và ngắt mạch điện xoay chiều, cho phép cách ly các bộ phận bị sự cố của dàn PV. Nối đất chức năng phải được thực hiện theo 712.4.102. Hệ thống sử dụng PCE không có cách ly mà mạch xoay chiều nối đất thì không được sử dụng nối đất chức năng trên phía PV của PCE, xem 712.4.102. | ||||
712.531.3 Thiết bị theo dõi cách điện
712.531.3.101 Yêu cầu đối với dàn PV vận hành ở điện áp trên 60 V
712.531.3.101.1 Phát hiện điện trở cách điện của dàn
Các yêu cầu trong 712.531.3.101.1 liên quan đến phát hiện và đáp ứng với điện trở cách điện bất thường của dàn PV với đất nhằm giảm các mối nguy do suy giảm cách điện.
Phải có phương tiện đo điện trở cách điện của dàn PV với đất trước khi bắt đầu vận hành và ít nhất 24 h một lần. Điều này có thể được thực hiện bằng thiết bị đo cách điện theo IEC 61557-2 hoặc bằng thiết bị theo dõi cách điện (IMD) theo Phụ lục C của IEC 61557-8: 2014, để ngăn ngừa rủi ro cháy cao.
Chức năng để theo dõi hoặc đo điện trở cách điện này có thể được cung cấp trong PCE.
Các giá trị ngưỡng nhỏ nhất để phát hiện theo Bảng 712.4.
Bảng 712.4 - Các ngưỡng điện trở cách điện nhỏ nhất để phát hiện sự cố của cách điện với đất
| Thông số đặc trưng của dàn PV kW | Giới hạn R kΩ |
| ≤ 20 | 30 |
| > 20 và ≤ 30 | 20 |
| > 30 và ≤ 50 | 15 |
| > 50 và ≤ 100 | 10 |
| > 100 và ≤ 200 | 7 |
| > 200 và ≤ 400 | 4 |
| > 400 và ≤ 500 | 2 |
| ≥ 500 | 1 |
Khuyến cáo rằng ngưỡng phát hiện đối với điện trở cách điện, trong trường hợp có thể, nên được đặt về các giá trị lớn hơn các giá trị tối thiểu được quy định theo cách tính toán này. Giá trị cao hơn sẽ tăng độ an toàn của hệ thống lắp đặt PV bằng việc phát hiện các sự cố tiềm ẩn sớm hơn.
Cần ngắt nối đất chức năng dàn PV trong quá trình đo.
Hành động khi có sự cố phụ thuộc vào kiểu PCE được sử dụng, như sau:
• đối với các PCE có cách ly, phải chỉ ra sự cố theo 712.531.3.101.3 (được phép hoạt động); báo động sự cố phải được duy trì cho đến khi điện trở cách điện dàn được phục hồi đến giá trị cao hơn giới hạn ở trên;
• đối với các PCE không có cách ly, phải chỉ ra lỗi theo 712.531.3.101.3 và không được nối đến bất kỳ mạch điện đầu ra nối đất nào (ví dụ: nguồn lưới); thiết bị này có thể tiếp tục thực hiện phép đo, có thể dừng chỉ ra sự cố và có thể nối với mạch điện đầu ra nếu điện trở cách điện dàn được phục hồi đến giá trị cao hơn giới hạn ở trên.
712.531.3.101.2 Hệ thống theo dõi dòng điện dư (RCM)
Trong trường hợp được yêu cầu ở Bảng 712.3, hệ thống theo dõi dòng điện dư được cung cấp các chức năng đó bất cứ khi nào PCE được kết nối với mạch điện đầu ra nối đất với phương tiện tự động ngắt kết nối đóng. Các phương tiện theo dõi dòng điện dư sẽ đo dòng điện dư hiệu dụng thực (cả hai thành phần xoay chiều và một chiều).
Nếu đầu ra xoay chiều của PCE nối với mạch điện có cách ly với đất, và dàn PV không nối đất chức năng thì không yêu cầu theo dõi dòng điện dư.
Phải có thiết bị phát hiện để theo dõi dòng điện dư liên tục quá mức, và các thay đổi đột ngột quá mức của dòng điện dư theo các giới hạn sau:
a) Dòng điện dư liên tục: trong trường hợp RCM chỉ ra dòng điện dư vượt quá các giới hạn, ngắt kết nối bởi thiết bị đóng cắt phải tác động trong vòng 0,3 s và chỉ ra sự cố theo 712.531.3.101.3 nếu dòng điện dư liên tục vượt quá:
• giá trị lớn nhất 300 mA đối với các PCE có thông số đặc trưng về công suất đầu ra liên tục 󠄆≤ 30 kVA;
• giá trị lớn nhất 10 mA cho mỗi kVA của công suất đầu ra liên tục danh định đối với các PCE có thông số đặc trưng về công suất đầu ra liên tục > 30 kVA.
CHÚ THÍCH: Có thể thực hiện theo dõi dòng điện dư phân tán, ví dụ ở mức dàn con hoặc trong các phần nhỏ hơn của dàn. Điều này có thể có lợi đặc biệt là ở các dàn cỡ lớn vì nó cho phép các ngưỡng phát hiện nhỏ hơn sẽ được thực hiện. Điều này có thể xác định các sự cố tiềm ẩn nhanh hơn và có thể hỗ trợ nhận dạng phần của dàn có thể bị ảnh hưởng.
RCM có thể thực hiện bắt đầu kết nối lại nếu ngưỡng dòng điện rò thấp hơn giá trị được quy định ở điều này và điện trở cách điện của dàn đáp ứng giới hạn trong 712.531.3.101.1.
b) Những thay đổi đột ngột trong dòng điện dư: PCE sẽ ngắt kết nối khỏi các mạch điện đầu ra nối đất (ví dụ: nguồn lưới) trong khoảng thời gian được quy định trong Bảng 712.5 và chỉ ra sự cố theo 712.531.3.101.3 nếu độ tăng đột ngột của dòng điện dư hiệu dụng được phát hiện vượt quá giá trị trong bảng.
Bảng 712.5 - Giới hạn thời gian đáp ứng đối với những thay đổi đột ngột của dòng điện dư
| Thay đổi đột ngột của dòng điện dư | Thời gian lớn nhất để ngắt kết nối khỏi mạch điện nối đất |
| 30 mA | 0,3 s |
| 60 mA | 0,15 s |
| 150 mA | 0,04 s |
| CHÚ THÍCH: Những giá trị này của dòng điện dư và thời gian ban đầu được lấy từ tiêu chuẩn RCD là IEC 61008-1 nhưng không còn liên quan đến bảo vệ chống điện giật theo nghĩa của tiêu chuẩn này. | |
RCM có thể thực hiện bắt đầu kết nối lại nếu ngưỡng dòng điện rò thấp hơn giá trị được quy định ở điều này và điện trở cách điện của dàn đáp ứng giới hạn trong 712.531.3.101.1.
712.531.3.101.3 Báo động sự cố cách điện
Để cung cấp chỉ báo theo yêu cầu của 712.531.3.101.1, phải lắp đặt thiết bị báo động sự cố cách điện. Khi được kích hoạt, báo động sẽ tiếp tục hoạt động cho đến khi tắt hệ thống lắp đặt PV và/hoặc sửa lỗi cách điện.
Thiết bị báo động phải ở dạng đảm bảo rằng người vận hành hoặc chủ sở hữu hệ thống lắp đặt PV có thể nhận biết có sự cố. Ví dụ, thiết bị báo động có thể cho tín hiệu nhìn thấy được hoặc nghe thấy được, được đặt trong khu vực mà nhân viên vận hành hoặc chủ sở hữu sẽ nhận biết được tín hiệu này hoặc dạng khác của thông báo sự cố, ví dụ như thư điện tử, tin nhắn hoặc tương tự.
Nhiều PCE có tính năng phát hiện và chỉ báo sự cố dưới dạng đèn chỉ báo. Tuy nhiên, thông thường vị trí lắp PCE làm cho chỉ báo này có thể không được chú ý đến. TCVN 12231-2 (IEC 62109-2) yêu cầu PCE phải có báo động cục bộ và cũng có phương tiện báo hiệu sự cố cách điện bên ngoài.
712.532 Thiết bị bảo vệ chống các ảnh hưởng về nhiệt
712.532.101 Bảo vệ chống ảnh hưởng của sự cố cách điện kể cả có sử dụng thiết bị theo dõi cách điện (IMD)
Trong trường hợp sử dụng IMD liên quan đến bảo vệ chống ảnh hưởng của sự cố cách điện, IMD phải phù hợp với IEC 61557-8.
Nếu IMD là một bộ phận tích hợp của PCE thì chức năng theo dõi cách điện phải phù hợp với Phụ lục D của TCVN 12231-2:2019 (IEC 62109-2:2014).
CHÚ THÍCH 1: Bảo vệ chống các ảnh hưởng của sự cố cách điện bằng IMD là một lựa chọn khả thi trong trường hợp phía xoay chiều và một chiều được phân cách về điện mà không có nối đất chức năng của một bộ phận mang điện ở phía một chiều (xem 712.532.102).
CHÚ THÍCH 2: IMD cũng có thể cần thiết vì các lý do khác không phải ngăn ngừa cháy, ví dụ như vận hành liên tục mà không bị gián đoạn bởi sự cố đầu tiên.
Ở dàn PV > 100 kWp, nên sử dụng hệ thống định vị sự cố cách điện tự động theo IEC 61557-9.
712.532.102 Bảo vệ chống ảnh hưởng của sự cố cách điện bằng cách ngắt dây nối đất chức năng
Thiết bị hoặc liên kết các thiết bị theo yêu cầu của 712.421.101.2.3 phải:
• đáp ứng các yêu cầu liên quan của TCVN 7447-4-43 (IEC 60364-4-43),
• được quy định thông số đặc trưng đối với điện áp lớn nhất của dàn PV UOC MAX,
• có khả năng cắt danh định không nhỏ hơn dòng điện ngắn mạch lớn nhất của dàn PV ISC MAX, và
• có dòng điện danh định không vượt quá giá trị cho trong Bảng 712.6.
Bảng 712.6 - Dòng điện danh định của thiết bị ngắt kết nối tự động dây nối đất chức năng
| Thông số đặc trưng về công suất tổng của dàn PV | Dòng điện danh định |
| (kWp) | In (A) |
| 0 đến 25 | 1 |
| >25 đến 50 | 2 |
| >50 đến 100 | 3 |
| >100 đến 250 | 4 |
| >250 | 5 |
Một số công nghệ môđun yêu cầu nối đất chức năng trên dây nguồn lưới dương hoặc âm để chảy điện tích khỏi tế bào PV. Đây là một yêu cầu vận hành hoặc có thể được yêu cầu để ngăn ngừa suy giảm của các tế bào. Cần tuân theo các hướng dẫn của nhà chế tạo. Trong trường hợp có thể, nối đất chức năng để chảy điện tích khỏi các tế bào thông qua một điện trở mà không trực tiếp xuống đất. Giá trị điện trở khuyến cáo là giá trị điện trở cao nhất cho phép theo hướng dẫn của nhà chế tạo.
712.533 Thiết bị bảo vệ chống quá dòng
712.533.1 Yêu cầu chung
712.533.101 Thiết bị bảo vệ quá dòng của phía một chiều
Các thiết bị bảo vệ quá dòng của phía một chiều phải là:
• cầu chảy gPV phù hợp với TCVN 5926-6 (IEC 60269-6), hoặc,
• áptômát phù hợp với TCVN 6592-2 (IEC 60947-2) hoặc TCVN 6434-2 (IEC 60898-2) mà nhà chế tạo công bố thích hợp để sử dụng trong hệ thống lắp đặt PV.
Các thiết bị này phải phù hợp với các biện pháp cụ thể sau:
• điện áp làm việc danh định (Ue) phải lớn hơn hoặc bằng điện áp UOC MAX của dàn PV;
• dòng điện danh định mức In như được định nghĩa ở 712.433.1.101;
• khả năng cắt danh định tối thiểu phải bằng ISC MAX của dàn PV và dòng điện sự cố từ nguồn điện đã nối bất kỳ khác như acquy hoặc máy phát;
• được thiết kế để sử dụng dòng điện một chiều;
• có thể ngắt dòng điện tới hạn như được xác định trong TCVN 6592-1 (IEC 60947-1);
CHÚ THÍCH: Ký hiệu
(IEC 60417-5031: 2003-02) được sử dụng trên một số thiết bị để chỉ ra sự phù hợp cho ứng dụng một chiều.
• hoạt động của các thiết bị bảo vệ quá dòng phải độc lập với chiều dòng điện.
712.534 Thiết bị bảo vệ chống quá áp quá độ (SPD)
712.534.4 Lựa chọn và lắp đặt SPD
712.534.4.4 Lựa chọn SPD
712.534.4.4.101 Lựa chọn SPD ở phía một chiều
712.534.4.4.101.1 Quy định chung
Vì bố trí rất đặc biệt về điện của hệ thống lắp đặt PV ở phía một chiều, chỉ các SPD đặc biệt dành riêng cho hệ thống lắp đặt PV được sử dụng để bảo vệ phía một chiều của hệ thống lắp đặt. Nhà chế tạo SPD phải cung cấp thông tin liên quan.
Khi PCE kết hợp SPD ở phía một chiều, chúng được xem là thỏa mãn chức năng bảo vệ đột biến chỉ khi nhà chế tạo PCE quy định việc sử dụng chúng thuận tiện ở phía một chiều của hệ thống lắp đặt PV và quy định kỹ thuật của chúng thích hợp tại vị trí của hệ thống lắp đặt (In, Imax, Iimp, ISCPV, theo 712.534.4.4.101). Nếu không, phải có bảo vệ bằng các SPD bên ngoài.
CHÚ THÍCH: Biến trở có trong PCE không được coi là SPD.
Mức bảo vệ điện áp Up của các SPD bên ngoài phải được xác định về các đặc tính của các thiết bị được kết hợp trong PCE. Nhà chế tạo PCE trong trường hợp đó, phải cung cấp mức điện áp cần thiết để chọn các SPD bên ngoài.
Các đặc tính của SPD lắp đặt ở phía một chiều được xác định theo 712.534.4.4.101.2 đến 712.534.4.4.101.7.
712.534.4.4.101.2 Chọn cấp thử nghiệm SPD
Thông thường các SPD sẽ là thử nghiệm cấp II. Nếu bảo vệ chống ảnh hưởng của sét đánh trực tiếp được quy định và khoảng phân cách S không được giữ theo IEC 62305 (tất cả các phần), phải sử dụng thử nghiệm cấp I cho SPD (thường kết hợp với thử nghiệm cấp II cho SPD).
712.534.4.4.101.3 Chọn cấp bảo vệ điện áp SPD Up
Trong trường hợp nhà chế tạo không cung cấp thông tin thì điện áp chịu xung Uw phải được xem là bằng với điện áp trong Bảng 712.7 cho các mô-đun và thiết bị chuyển đổi.
Bảng 712.7 - Điện áp chịu xung Uw trong trường hợp không có sẵn thông tin
| UOC MAX (V) | Uw (kV) |
|
|
| Môđun PV | Bộ nghịch lưu |
| 100 | 0,8 | - |
| 150 | 1,5 | - |
| 300 | 2,5 | - |
| 400 | - | 3,1 |
| 600 | 4 | 4,2 |
| 800 | - | 5,1 |
| 1 000 | 6 | 5,6 |
| 1 500 | 8 | 8,5 |
712.534.4.4.101.4 Chọn điện áp làm việc liên tục lớn nhất Ucpv của SPD
Giá trị của điện áp lớn nhất chấp nhận được bởi thiết bị bảo vệ đột biến Ucpv phải được chọn theo điện áp không tải lớn nhất của dàn PV, UOC MAX. Điện áp Ucpv phải lớn hơn hoặc bằng điện áp lớn nhất UOC MAX của dàn PV.
Một SPD phải được chọn và bố trí liên quan đến điện áp lớn nhất UOC MAX giữa:
• các đầu nối mang điện của SPD (đầu nối + và -), và
• các đầu nối mang điện của SPD (đầu nối + và -), và đất
712.534.4.4.101.5 Chọn dòng điện phóng điện danh nghĩa của SPD
Giá trị nhỏ nhất của dòng điện phóng điện danh nghĩa In của SPD được thử nghiệm cấp II phải là 5 kA.
CHÚ THÍCH: Dòng điện phóng điện danh nghĩa vượt quá giá trị nhỏ nhất sẽ giúp thiết bị bảo vệ đột biến hoạt động lâu hơn.
712.534.4.4.101.6 Chọn dòng điện ngắn mạch danh định của SPD ISCPV và của thiết bị bảo vệ kết hợp với thiết bị bảo vệ đột biến
Nếu nhà chế tạo yêu cầu, thiết bị bảo vệ đột biến phải được cung cấp cùng với thiết bị ngắt kết nối tự động bên ngoài được chọn theo quy định kỹ thuật của nhà chế tạo. Thiết bị phải được chọn để vận hành với dòng điện bất kỳ được tạo ra bởi các môđun PV.
Yêu cầu có một thiết bị ngắt kết nối bên ngoài vì SPD có thể không tác động trong điều kiện ngắn mạch.
Dòng điện ngắn mạch ISCPV phải được chọn theo dòng điện lớn nhất có thể được phân phối bởi dàn PV ISC MAX. Dòng điện ISCPV phải lớn hơn hoặc bằng ISC MAX của dàn PV. Không được sử dụng thiết bị bảo vệ đột biến không cho tham số này.
712.534.4.4.101.7 Chọn dòng điện xung Iimp của SPD đã được thử nghiệm cấp I
Nếu dòng điện xung Iimp không thể tính được thì Iimp không được nhỏ hơn 12,5 kA. Giá trị này đề cập đến mức bảo vệ chống sét LPL III.
712.534.4.4.102 Lắp đặt SPD ở phía một chiều
Các SPD ở phía một chiều phải được đặt càng gần PCE càng tốt.
Để cung cấp bảo vệ, có thể yêu cầu các SPD bổ sung, ngoài các SPD từ PCE.
CHÚ THÍCH 1: Ví dụ như trong trường hợp khoảng cách giữa lối vào của cáp một chiều đi vào tòa nhà và PCE dài hơn 10 m.
CHÚ THÍCH 2: Mức điện áp đột biến trên thiết bị phụ thuộc vào khoáng cách từ SPD. Ngoài 10 m, giá trị của điện áp này có thể tăng gấp đôi do ảnh hưởng của cộng hưởng (hiện tượng khuếch đại do các tần số cao của xung sét).
712.534.4.10 Đấu nối dây dẫn của SPD
Bổ sung:
• Khi SPD được lắp đặt ở cả hai phía xoay chiều và một chiều của bộ nghịch lưu trong các bảng phân phối điện riêng rẽ, nên giảm thiểu khoảng cách giữa các bảng phân phối điện.
• Đối với các đấu nối SPD một chiều đến đầu nối đất chính, các dây dẫn phải có tiết diện tối thiểu 6 mm2 bằng đồng hoặc tương đương đối với SPD đã thử nghiệm theo cấp II và 16 mm2 bằng đồng hoặc tương đương với SPD đã thử nghiệm theo cấp I.
712.536 Cách ly và đóng cắt
712.536.2 Cách ly
712.536.2.101 Phương tiện ngắt kết nối
Phương tiện ngắt kết nối có chức năng cách ly phải được cung cấp cho bộ nghịch lưu, ở cả phía một chiều và phía xoay chiều.
Phương tiện ngắt kết nối có chức năng cách ly phải được cung cấp trong dàn PV để cách ly mạch điện và thiết bị.
712.536.2.102 Vị trí của thiết bị đóng cắt-cách ly dùng cho PCE
Thiết bị đóng cắt-cách ly phải được bố trí sao cho có thể bảo trì PCE (ví dụ như thay môđun PCE, thay quạt, làm sạch bộ lọc) mà không có nguy cơ nguy hiểm về điện. Thiết bị đóng cắt-cách ly có thể ở trong cùng vỏ ngoài cùng PCE.
Trong trường hợp có nhiều đầu vào một chiều, các yêu cầu trên áp dụng cho từng đầu vào.
712.536.2.103 Thiết bị cách ly trong dàn PV
Các thiết bị phải được cung cấp theo Bảng 712.8.
Bàng 712.8 - Yêu cầu đối với thiết bị cách ly trong hệ thống lắp đặt của dàn PV
| Mạch điện hoặc phần của mạch điện | Phương tiện cách ly | Yêu cầu |
| Chuỗi | Thiết bị ngắt kết nối a | Khuyến cáo |
| Dàn con | Thiết bị ngắt kết nối a | Có yêu cầu |
| Phương tiện cách ly cung cấp các khả năng cắt tải b | Khuyến cáo | |
| Dàn | Phương tiện cách ly cung cấp các khả năng cắt tải b | Có yêu cầu |
| a Bộ nối có vỏ ngoài (an toàn khi chạm vào), khối kết hợp cầu chảy, hoặc bộ cách ly là các ví dụ thích hợp của thiết bị ngắt kết nối. b Khi sử dụng thiết bị đóng cắt-cách ly thì cũng có thể cung cấp chức năng cách ly. | ||
Các phương tiện cách ly không có khả năng cắt dòng điện tải phải được ghi nhãn để chỉ ra rằng chúng là các thiết bị cắt không tải và chỉ có thể tiếp cận được bằng dụng cụ hoặc chìa khóa.
Trong trường hợp nhiều thiết bị ngắt kết nối dàn con được lắp đặt gần PCE (tức là trong vòng 2 m và và trong tầm nhìn), không cần cáp của dàn PV và do đó không cần thiết bị đóng cắt tải của dàn PV. Trong trường hợp này, tất cả các thiết bị đóng cắt dùng cho dàn con phải là thiết bị cắt tải.
Trong trường hợp yêu cầu nhiều thiết bị ngắt kết nối để cách ly PCE, phải có dấu hiệu cảnh báo chỉ ra sự cần thiết phải cách ly nhiều nguồn cung cấp.
712.536.5 Đóng cắt chức năng (điều khiển)
712.536.5.101 Bộ ngắt kết nối và thiết bị đóng cắt-cách ly
Tất cả các thiết bị đóng cắt-cách ly phải được chọn và lắp đặt để phù hợp với các yêu cầu sau:
• không có các bộ phận kim loại mang điện để hở ở trạng thái kết nối hoặc ngắt kết nối;
• có dòng điện danh định lớn hơn hoặc bằng dòng điện được yêu cầu đối với dây dẫn của mạch điện;
• không nhạy về cực tính (dòng điện sự cố trong dàn PV có thể chạy theo chiều ngược với dòng điện làm việc bình thường).
Thiết bị đóng cắt-cách ly phải phù hợp với TCVN 6592-3 (IEC 60947-3) và có cơ chế làm việc độc lập bằng tay.
712.54 Bố trí nối đất và dây dẫn bảo vệ
712.542 Bố trí nối đất
712.542.101 Nối đất chức năng
Để bảo vệ về cơ khí, tiết diện tối thiểu của dây nối đất chức năng phải là 4 mm2 bằng đồng hoặc tương đương.
712.542.102 Điện cực đất riêng rẽ
Nếu một điện cực đất riêng được cung cấp cho dàn PV thì điện cực này phải được nối với đầu nối đất chính của hệ thống lắp đặt điện bằng dây liên kết đẳng thế chính.
712.542.103 Liên kết của kết cấu kim loại PV
Trong trường hợp liên kết này là cần thiết (ví dụ: để thúc đẩy hoạt động đúng của việc phát hiện điện trở cách điện của dàn được đề cập ở 712.531.3.101.1) thì các kết cấu kim loại đỡ các môđun PV (bao gồm các máng cáp kim loại) phải được liên kết.
Liên kết này có thể cần thiết, ví dụ, trong trường hợp PCE không biến đổi tạo ra một điện tích tĩnh điện.
Dây liên kết phải được nối với đầu nối FE thích hợp bất kỳ.
Trong trường hợp các kết cấu kim loại này bằng nhôm, phải sử dụng các thiết bị đầu nối thích hợp.
Các dây liên kết (có cách điện hoặc để trần) phải có tiết diện tối thiểu là 4 mm2 bằng đồng hoặc tương đương.
Dây liên kết của dàn PV phải đi càng gần với dàn PV cực dương và cực âm và/hoặc dây dẫn của dàn con càng tốt để giảm điện áp cảm ứng do sét. Xem thêm 712.521.103.
CHÚ THÍCH: Liên kết được đề cập ở 712.542.103 cũng đảm bảo bảo vệ chống lại ảnh hưởng của việc phóng điện tích tĩnh điện.
712.55 Thiết bị khác
712.55.101 Biện pháp ngăn ngừa gián đoạn khi có tải một chiều
Để ngăn ngừa hồ quang, mọi thiết bị không có khả năng cắt mà có thể được sử dụng để làm hở mạch điện một chiều phải được bảo vệ chống vận hành không chủ ý hoặc không được phép.
CHÚ THÍCH 1: Ví dụ về các thiết bị áp dụng yêu cầu này là hộp SPD và giá đỡ cầu chảy.
CHÚ THÍCH 2: Điều này có thể đạt được bằng cách đặt thiết bị trong không gian có thể khóa hoặc trong hộp hoặc bằng cách khóa.
712.55.102 Điốt chặn
Điốt chặn không được sử dụng thay thế cho các thiết bị bảo vệ quá dòng.
Điốt chặn có thể được sử dụng để ngăn ngừa dòng điện ngược trong các phần của dàn PV.
Nếu được sử dụng, các điốt chặn phải tuân theo các yêu cầu sau:
• có thông số đặc trưng về điện áp ít nhất 2 lần UOC MAX;
• có thông số đặc trưng về dòng điện IMAX ít nhất bằng 1,4 lần dòng điện ngắn mạch ở điều kiện thử nghiệm tiêu chuẩn (STC) của mạch điện mà chúng dự định bảo vệ; tức là:
- 1,4 x ISC MOD đối với chuỗi PV;
- 1,4 x ISC S-ARRAY đối với các dàn con PV;
- 1,4 x ISC ARRAY đối với dàn PV;
• được lắp đặt để không có bộ phận mang điện nào để hở;
• được bảo vệ khỏi suy giảm do các yếu tố môi trường.
Việc sử dụng điốt chặn được thể hiện chi tiết trong Phụ lục D.
CHÚ THÍCH: Xem 712.433.1.101 về các yêu cầu điều chỉnh hệ số nhân lsc cho các điều kiện khí hậu nhất định.
712.6 Kiểm tra và thử nghiệm
TCVN 11855-1 (IEC 62446-1) đưa ra các yêu cầu đối với tài liệu hệ thống, thử nghiệm nghiệm thu và kiểm tra bổ sung cho các yêu cầu của tiêu chuẩn này.
Phụ lục A
(tham khảo)
Thông tin về hệ thống lắp đặt PV
Các hình từ Hình A.712.1 đến Hình A.712.6 đưa ra thông tin về hệ thống lắp đặt PV, như được đề cập ở 712.31.101.1.1.

Hình A.712.1 - Dàn PV chuỗi đơn

Hình A.712.2 - Dàn PV nhiều chuỗi nối song song
Các kiểu sau của mạch ứng dụng được xem xét:
• Dàn PV được nối với các tải xoay chiều qua một PCE có máy biến áp bên trong PCE;
• Dàn PV được nối với các tải xoay chiều qua một PCE có máy biến áp bên ngoài PCE;
• Dàn PV được nối với các tải xoay chiều qua một PCE không có máy biến áp.
Ở Bảng A.712.1, có một vài cấu hình được xem xét. Không xem xét việc nối đất các bộ phận dẫn để hở.
Bảng A.712.1 - Cấu hình PV một chiều
| Phía một chiều | Hình | Mạch ứng dụng | Hệ quả đối với trạng thái của dàn PV |
| Không nối đất | Hình A.712.3 | Phía xoay chiều được kết nối thông qua một PCE có máy biến áp bên trong PCE | Không nối đất |
| Hình A.712.4 | Phía xoay chiều được kết nối thông qua một PCE không có máy biến áp | Cố định bằng trạng thái của dây trung tính hoặc dây pha của mạch cung cấp | |
| Nối đất | Hình A.712.5 | Phía xoay chiều được kết nối thông qua một PCE có máy biến áp bên trong PCE | Cố định với đất |
| Hình A.712.6 | Phía xoay chiều được kết nối thông qua một PCE không có máy biến áp bên trong PCE nhưng có máy biến áp bên ngoài PCE | Cố định với đất |

Hình A.712.3 - Dàn PV không nối đất được nối với phía xoay chiều thông qua một PCE có máy biến áp

Hình A.712.4 - Dàn PV không nối đất được nối với phía xoay chiều thông qua một PCE không có máy biến áp

Hình A.712.5 - Dàn PV nối đất được nối với phía xoay chiều thông qua một PCE có máy biến áp

Hình A.712.6 - Dàn PV nối đất được nối với phía xoay chiều thông qua một PCE không có máy biến áp, máy biến áp để riêng
Phụ lục B
(quy định)
Tính UOC MAX và ISC MAX
B.1 Tính UOC MAX
UOC MAX là giá trị lớn nhất qua một môđun PV hoặc chuỗi PV hoặc dàn PV không tải (mạch hở), được tính bằng công thức sau:
UOC MAX = KU. UOC STC
Hệ số hiệu chỉnh KU có tính đến độ tăng điện áp mạch hở của các môđun, xem nhiệt độ môi trường xung quanh thấp nhất Tmin tại vị trí của hệ thống lắp đặt PV và hệ số biến thiên nhiệt độ αUOC của điện áp UOC được cung cấp bởi nhà chế tạo môđun PV:
KU = 1 + (αUOC/100) (Tmin - 25)
trong đó
αUOC là hệ số biến thiên nhiệt độ của điện áp môđun UOC, tính bằng %/°C;
Tmin là nhiệt độ thấp nhất tại vị trí của hệ thống lắp đặt PV, tính bằng °C.
αUOC là hệ số âm, có thể do nhà chế tạo môđun cung cấp tính bằng mV/°C hoặc %/°C. Khi αUOC tính bằng mV/°C, chuyển sang đơn vị %/°C bằng công thức sau:
αUOC (%/°C) = 0,1 αUOC (mV/°C) / UOC STC_môđun (V)
CHÚ THÍCH: Ví dụ về môđun có αUOC tính bằng mV/°C. Phép tính dưới đây là một ví dụ:
• Môđun đa tinh thể, UOC STC_môđun = 38,3 V và αUOC (%/°C) = -133 mV/°C
→ αUOC = -0,35 %/°C
• Tmin = -15 °C → (T - 25) = -40 °C → KU = 1,14 → UOC MAX = 1,14 UOC STC
→ UOC MAX = 1,14 x 38,3 = 43,7 V
αUOC có thể có các giá trị rất khác nhau tùy thuộc công nghệ của môđun PV.
Đối với các môđun silic vô định hình, đặc tính điện trong các tuần đầu vận hành cao hơn các đặc tính quy định. Hiện tượng này được chỉ ra bởi nhà chế tạo môđun và được xem xét khi tính toán UOC MAX.
Không có thông tin về nhiệt độ nhỏ nhất dự kiến của vị trí hoặc không có thông tin về hệ số nhiệt độ của môđun PV, UOC MAX phải được chọn bằng 1,2 UOC STC.
B.2 Tính ISC MAX
Dòng điện ngắn mạch lớn nhất của môđun PV hoặc chuỗi PV hoặc dàn PV được tính bằng công thức dưới đây:
ISC MAX = Kl ISC STC
Giá trị nhỏ nhất đối với Kl là 1,25.
Trong các điều kiện nhất định, Kl phải được tăng để có tính đến các tình trạng của môi trường, ví dụ như tăng phản chiếu hoặc cường độ mặt trời.
Phụ lục C
(tham khảo)
Ví dụ về các dấu hiệu
Phụ lục C đưa ra các ví dụ (xem Hình C.712.1 và Hình C.712.2) về các dấu hiệu thích hợp như quy định ở 712.514.102 đến 712.514.106.

Hình C.712.1 - Ví dụ về dấu hiệu yêu cầu trên hộp kết hợp của dàn PV (712.514.102)

Hình C.712.2 - Ví dụ về dấu hiệu dùng cho bảng phân phối điện để nhận biết PV trên tòa nhà
Dấu hiệu cần phù hợp với các yêu cầu thông tin về dịch vụ chữa cháy tại địa phương.
Các quy định quốc gia cần quyết định về nhãn và vị trí ghi nhãn.
Phụ lục D
(tham khảo)
Điốt chặn
D.1 Quy định chung
Phụ lục D mô tả các điốt chặn dự kiến được sử dụng để ngăn ngừa dòng điện ngược trong dàn PV.
D.2 Sử dụng điốt chặn để ngăn ngừa quá dòng/dòng điện sự cố trong dàn PV
Điốt chặn là một phương tiện hiệu quả để ngăn ngừa dòng điện ngược trong dàn PV. Quá dòng/Dòng điện sự cố trong dàn PV thường do dòng điện chạy từ một phần của dàn vận hành bình thường vào một phần của dàn có sự cố. Dòng điện sự cố theo chiều ngược lại. Sử dụng các điốt chặn có thông số đặc trưng và chức năng đúng trong dàn PV thì dòng điện ngược được ngăn ngừa và dòng điện sự cố được loại trừ hoặc giảm đáng kể (xem các ví dụ ở Hình D.712.3).
Ở một số quốc gia, điốt chặn được phép thay thế các thiết bị bảo vệ quá dòng. Đây là một phương pháp hiệu quả để ngăn ngừa quá dòng/sự cố với điều kiện độ tin cậy của các điốt chặn theo thời gian có thể được đảm bảo.
D.3 Một số xem xét liên quan đến ngắn mạch
D.3.1 Ngắn mạch trong chuỗi PV
Nếu ngắn mạch xảy ra trong một chuỗi không có điốt chặn như trên Hình D.712.1 a) thì dòng điện sự cố sẽ chạy xung quanh các môđun bị sự cố và dòng điện sự cố thêm theo chiều ngược lại sẽ chạy trong một số môđun với nguồn của dòng điện đó từ các chuỗi còn lại. Dòng điện ngược có thể bị gián đoạn bởi thiết bị bảo vệ quá dòng với điều kiện là dòng điện này lớn hơn dòng điện làm gián đoạn của thiết bị quá dòng. Đây có thể không phải là trường hợp trong các điều kiện chiếu sáng thấp.
Tình trạng của cùng một sự cố với dàn PV có điốt chặn trong từng chuỗi được thể hiện trên Hình D.712.1 b). Dòng điện sự cố xung quanh các môđun bị sự cố không thể bị chặn bằng điốt chặn, tuy nhiên, lượng dòng điện sự cố có thể giảm đáng kể bởi điốt chặn cản trở dòng điện ngược được cung cấp từ các chuỗi còn lại như thể hiện trên Hình D.712.1 b). Chức năng này đối với kiểu sự cố này là có ích cho tất cả các hệ thống lắp đặt PV cho dù dàn PV có nối đất hay không và PCE có phải là PCE riêng biệt hay không.
|
|
|
| a) không có điốt chặn | b) có điốt chặn ở từng chuỗi |
Hình D.712.1 - Tác dụng của điốt chặn khi ngắn mạch trong chuỗi PV
D.3.2 Sự cố cách điện trong chuỗi PV đối với dàn có chức năng nối đất
Hình D.712.2 thể hiện các tuyến dòng điện sự cố khi xuất hiện sự cố cách điện trong một chuỗi của dàn PV được lắp đặt có nối đất chức năng phía âm. Sự cố trong trường hợp xấu nhất xuất hiện khi sự cố này gần nhất với phía trên của chuỗi (tức là phía xa nhất so với đất). Trong trường hợp này, các điốt chặn cần được lắp đặt ở phía dương của các chuỗi.
|
|
|
| a) không có điốt chặn | b) có điốt chặn ở từng chuỗi |
Hình D.712.2 - Tác dụng của điốt chặn trong trường hợp sự cố cách điện trên hệ thống lắp đặt PV có nối đất ở phía âm một chiều
Hình D.712.3 thể hiện tuyến dòng điện sự cố khi xuất hiện sự cố cách điện trong một chuỗi của dàn PV được lắp đặt có nối đất chức năng phía dương. Sự cố trong trường hợp xấu nhất xuất hiện khi sự cố này gần nhất với phía dưới của chuỗi (tức là phía xa nhất so với đất). Trong trường hợp này, các điốt chặn cần được lắp đặt ở phía âm của các chuỗi.
|
|
|
| a) không có điốt chặn | b) có điốt chặn ở từng chuỗi |
Hình D.712.3 - Tác dụng của điốt chặn trong trường hợp sự cố cách điện trên hệ thống lắp đặt PV có nối đất ở phía dương một chiều
Trong các trường hợp này, Hình D.712.2 và D.712.3 thể hiện rõ ràng ưu điểm của điốt chặn trong việc loại bỏ sự góp phần của dòng điện sự cố từ các chuỗi liền kề của dàn. Sơ đồ này thể hiện trường hợp dàn có nối đất trực tiếp không qua trở kháng trong đấu nối đất. Tiêu chuẩn này ưu tiên lắp đặt các điểm nối đất chức năng có điện trở giới hạn trong đấu nối đất. Nếu phương pháp này được sử dụng thì dòng điện sự cố tiềm ẩn trong các điều kiện này được giảm đáng kể bởi tác dụng của điện trở giới hạn dòng điện lớn nhất.
D.4 Quy định kỹ thuật của điốt chặn
Xem 712.55.102.
D.5 Thiết kế tản nhiệt của điốt chặn
Vì điện áp rơi của điốt chặn khi làm việc với dòng diện thuận có thể vượt quá 1 V nên cần xem xét thiết kế tản nhiệt của điốt để đảm bảo độ tin cậy. Có thể yêu cầu một bộ tản nhiệt để giữ nhiệt độ tiếp giáp của điốt trong các giới hạn an toàn. Phương pháp luận về thiết kế tản nhiệt được thể hiện theo quy trình sau:
• Tính dòng điện lớn nhất IMAX bởi dòng điện môđun PV ISC MOD ở STC.
IMAX =1,4 x ISC MOD (Sử dụng hệ số cao hơn tùy thuộc vào điều kiện làm việc)
• Có điện áp làm việc thuận của điốt chặn VD_OP ở IMAX từ các đặc tính làm việc của điốt.
• Tính tiêu tán công suất PCAL
PCAL = VD_OP x IMAX
• Tính điện trở nhiệt RTH theo sự thể hiện dưới đây sao cho nhiệt độ tiếp giáp TJ của điốt chặn không vượt quá giá trị giới hạn khi xem xét nhiệt độ môi trường xung quanh TAMB.
RTH = (TJ - TAMB)/PCAL
• Nếu điện trở nhiệt yêu cầu nhỏ hơn điện trở nhiệt của tiếp giáp của điốt và vỏ cộng với vỏ với không khí thì yêu cầu phải có bộ tản nhiệt.
Khi có khả năng dòng điện ngắn mạch tăng lên của môđun PV, ví dụ do sự phản chiếu của tuyết hoặc các điều kiện khác, hệ số nhận đối với phép tính của IMAX cần lớn hơn 1,4.
Phụ lục E
(tham khảo)
Phát hiện và ngắt sự cố hồ quang trong dàn PV
Không giống như các sản phẩm điện truyền thống, môđun PV và hệ thống đi dây không có vỏ bọc ngoài chứa hồ quang và cháy do sự cố của thành phần hoặc dây dẫn. Nhiều hệ thống lắp đặt PV hoạt động ở điện áp một chiều rất có khả năng chứa hồ quang một chiều.
Có ba loại hồ quang chính trong hệ thống lắp đặt PV (tham khảo Hình E.712.1).
• hồ quang nối tiếp có thể xảy ra do kết nối bị lỗi hoặc hệ thống đi dây bị đứt;
• hồ quang song song có thể dẫn đến ngắn mạch một phần giữa dây dẫn liền kề có điện thể khác nhau;
• hồ quang xuống đất do sự cố cách điện.
Nếu một hồ quang do sự cố trong dàn PV tạo ra thì việc này có thể dẫn đến hư hại đáng kể cho dàn PV và cũng có thể dẫn đến hư hại cho các kết cấu đi dây và tòa nhà liền kề. Hồ quang nghiêm trọng nhất có nhiều khả năng là hồ quang song song vì sẵn có năng lượng để cấp cho loại hồ quang này, đặc biệt khi hồ quang nằm giữa các dây dẫn chính của dàn PV. Tiêu chuẩn này yêu cầu cáp trong hệ thống đi dây của dàn PV phải thích hợp để sử dụng với thiết bị cấp II và vì các hồ quang song song yêu cầu này rất khó xảy ra, trừ khi bị gây ra do kết quả của việc hư hại đáng kể cách điện do hư hại khi cháy hoặc hư hại cơ khí nghiêm trọng đối với cáp.
Loại hồ quang có khả năng xảy ra nhất trong hệ thống lắp đặt PV là hồ quang nối tiếp. Điều này là do hệ thống lắp đặt PV thường chứa một số lượng lớn các kết nối nối tiếp. Hồ quang nối tiếp thông thường có thể ngừng nhanh chóng bằng cách loại bỏ phụ tải điện khỏi dàn PV. Trong trường hợp hệ thống lắp đặt PV nối lưới, việc này có thể được thực hiện dễ dàng bằng cách tắt PCE. Hồ quang song song khó dập tắt hơn nhiều nhưng cũng ít xảy ra hơn.

Hình E.712.1 - Ví dụ về các loại hồ quang trong dàn PV
Nếu hồ quang nối tiếp không được dập tắt nhanh chóng, nó có thể lan đến các dây dẫn liên quan khác và tạo ra các hồ quang song song. Do đó, mong muốn có một phương pháp phát hiện và làm ngắt các hồ quang trong hệ thống lắp đặt PV nhanh chóng. Một tiêu chuẩn mới đã được xây dựng bởi Underwriters Laboratories - UL 1699B “Bảo vệ mạch điện PV một chiều có sự cố hồ quang” và nhà chế tạo đang trong quá trình tạo ra thiết bị để đáp ứng tiêu chuẩn này. Mục đích của thiết bị bảo vệ mạch điện khỏi sự cố hồ quang là để phát hiện và phân biệt chính xác các hồ quang trong dàn PV và có hành động làm ngắt hồ quang.
Phụ lục F
(tham khảo)
Danh mục các lưu ý liên quan đến các quốc gia nhất định
| Quốc gia | Điều | Bản chất (vĩnh viễn hoặc ít vĩnh viễn theo tiêu chuẩn) | Tỷ lệ (điều chỉnh chi tiết theo yêu cầu của các quốc gia) | Nội dung |
| AT | 712.414.101 |
|
| Ở Áo, do “đặc tính riêng của hệ thống lắp đặt PV”, như được nêu trong phạm vi áp dụng của tiêu chuẩn này và thực tế là thiết bị này được sử dụng tốt bởi người bình thường, chỉ chấp nhận giới hạn 35 V. |
| AT | 712.521.101.1 |
|
| Ở Áo, cáp một chiều không halogen, ít khói được yêu cầu khi các cáp này được đi bên trong tòa nhà. |
| NO | 712.536.2 |
|
| Ở Nauy, trong trường hợp sử dụng cách điện kép hoặc cách điện tăng cường làm biện pháp bảo vệ để bảo vệ chống điện giật ở phía một chiều, phương tiện cách ly phải được cung cấp giữa các phần của môđun PV giới hạn UOC MAX của một phần đến 120 V một chiều. |
| CH | 712.542.103 |
|
| Ở Thụy Sỹ, trong tòa nhà có LPS, tiết diện nhỏ nhất của đồng là 10 mm2 |
Thư mục tài liệu tham khảo
[1] IEC 60050-151:2001, International Electrotechnical Vocabulary - Part 151: Electrical and magnetic devices (available at http://www.electropedia.org)
[2] IEC 60050-195:1998, International Electrotechnical Vocabulary - Part 195: Earthing and protection against electric shock (available at http://www.electropedia.org)
[3] IEC 60050-442:1998, International Electrotechnical Vocabulary - Part 442: Electrical accessories (available at http://www.electropedia.org)
[4] IEC 60050-461:1984, International Electro-technical Vocabulary - Part 461: Electric cables (available at http://www.electropedia.org)
[5] IEC 60050-826:2004, International Electrotechnical Vocabulary - Part 826: Electrical installations (available at http://www.electropedia.org)
[6] TCVN 7447-5-52:2010 (IEC 60364-5-52:2009), Hệ thống lắp đặt điện hạ áp - Phần 5-52: Lựa chọn và lắp đặt thiết bị điện - Hệ thống đi dây
[7] IEC 60364-5-53, Electrical installations of buildings - Part 5.53: Selection and erection of electrical equipment - Isolation, switching and control
[8] IEC 60364-7-712:2002, Electrical installations of buildings - Part 7-712: Requirements for special installations or locations - Solar photovoltaic (PV) power supply systems
[9] IEC 60417, Graphical symbols for use on equipment (available at http://www.graphical-symbols.info/equipment)
[10] IEC 60529, Degrees of protection provided by enclosures (IP Code)
[11] IEC 60904-2, Photovoltaic devices - Part 2: Requirements for reference devices
[12] IEC 60904-3, Photovoltaic devices - Part 3: Measurement principles for terrestrial photovoltaic (PV) solar devices with reference spectral irradiance data
[13] IEC 61008-1, Residual current operated circuit-breakers without integral overcurrent protection for household and similar uses (RCCBs) - Part 1: General rules
[14] IEC 61277, Terrestrial photovoltaic (PV) power generating systems - General and guide
[15] IEC 61557-2, Electrical safety in low voltage distribution systems up to 1 000 V a.c. and 1 500 V d.c. - Equipment for testing, measuring or monitoring of protective measures - Part 2: Insulation resistance
[16] IEC 61557-9, Electrical safety in low voltage distribution systems up to 1 000 V a.c. and 1 500 V d.c. - Equipment for testing, measuring or monitoring of protective measures - Pad 9: Equipment for insulation fault location in IT systems
[17] IEC 61730-2, Photovoltaic (PV) module safety qualification - Part 2: Requirements for testing
[18] IEC 61829, Photovoltaic (PV) array - On-site measurement of current-voltage characteristics
[19] IEC TS 61836, Solar photovoltaic energy systems - Terms, definitions and symbols
[20] IEC 62246-1, Reed switches - Part 1: Generic specification
[21] IEC 62305 (all parts), Protection against lightning
[22] IEC 62305-2:2010, Protection against lightning - Part 2: Risk management
[23] IEC 62305-4, Protection against lightning - Part 4: Electrical and electronic systems within structures
[1] IEC 62930, Electric cables for photovoltaic systems
[1] UL1699B, Photovoltaic (PV) DC Arc-Fault Circuit Protection
MỤC LỤC
Lời nói đầu
712.1 Phạm vi áp dụng
712.2 Tài liệu viện dẫn
712.3 Thuật ngữ và định nghĩa
712.4 Bảo vệ an toàn
712.41 Bảo vệ chống điện giật
712.42 Bảo vệ chống ảnh hưởng nhiệt
712.43 Bảo vệ chống quá dòng
712.44 Bảo vệ chống nhiễu điện áp và nhiễu điện từ
712.5 Lựa chọn và lắp đặt thiết bị điện
712.51 Quy tắc chung
712.52 Hệ thống đi dây
712.53 Cách ly, đóng cắt và điều khiển
712.54 Bố trí nối đất và dây dẫn bảo vệ
712.55 Thiết bị khác
712.6 Kiểm tra và thử nghiệm
Phụ lục A (tham khảo) - Thông tin về hệ thống lắp đặt PV
Phụ lục B (quy định) - Tính UOC MAX và lSC MAX
Phụ lục C (tham khảo) - Ví dụ về các dấu hiệu
Phụ lục D (tham khảo) - Điốt chặn
Phụ lục E (tham khảo) - Phát hiện và ngắt sự cố hồ quang trong dàn PV
Phụ lục F (tham khảo) - Danh mục các lưu ý liên quan đến các quốc gia nhất định
Thư mục tài liệu tham khảo
[1] Hệ thống tiêu chuẩn quốc gia đã có bộ TCVN 7447 chấp nhận bộ IEC 60364.
[2] Hệ thống tiêu chuẩn quốc gia đã có bộ TCVN 6434 chấp nhận bộ IEC 60898.
[3] Hệ thống tiêu chuẩn quốc gia đã có bộ TCVN 6592 chấp nhận bộ IEC 60947.
[4] Hệ thống tiêu chuẩn quốc gia đã có bộ TCVN 6781 chấp nhận bộ IEC 61215.
Bạn chưa Đăng nhập thành viên.
Đây là tiện ích dành cho tài khoản thành viên. Vui lòng Đăng nhập để xem chi tiết. Nếu chưa có tài khoản, vui lòng Đăng ký tại đây!





