- Tổng quan
- Nội dung
- Tiêu chuẩn liên quan
- Lược đồ
- Tải về
Tiêu chuẩn Quốc gia TCVN 3861:2009 ISO 7692:1983 Ferotitan-Xác định hàm lượng titan-Phương pháp chuẩn độ
| Số hiệu: | TCVN 3861:2009 | Loại văn bản: | Tiêu chuẩn Việt Nam |
| Cơ quan ban hành: | Bộ Khoa học và Công nghệ | Lĩnh vực: | Công nghiệp |
|
Ngày ban hành:
Ngày ban hành là ngày, tháng, năm văn bản được thông qua hoặc ký ban hành.
|
2009 |
Hiệu lực:
|
Đã biết
|
| Người ký: | Đang cập nhật |
Tình trạng hiệu lực:
Cho biết trạng thái hiệu lực của văn bản đang tra cứu: Chưa áp dụng, Còn hiệu lực, Hết hiệu lực, Hết hiệu lực 1 phần; Đã sửa đổi, Đính chính hay Không còn phù hợp,...
|
Đã biết
|
TÓM TẮT TIÊU CHUẨN VIỆT NAM TCVN 3861:2009
Nội dung tóm tắt đang được cập nhật, Quý khách vui lòng quay lại sau!
Tải tiêu chuẩn Việt Nam TCVN 3861:2009
TIÊU CHUẨN QUỐC GIA
TCVN 3861 : 2009
ISO 7692 : 1983
FEROTITAN - XÁC ĐỊNH HÀM LƯỢNG TITAN - PHƯƠNG PHÁP CHUẨN ĐỘ
Ferrotitanium - Determination of titanium content- Titrimetric method
Lời nói đầu
TCVN 3861 : 2009 thay thế TCVN 3861 : 1983.
TCVN 3861 : 2009 hoàn toàn tương đương với ISO 7692 : 1983.
TCVN 3861 : 2009 do Ban kỹ thuật tiêu chuẩn quốc gia TCVN/TC 132 Fero biên soạn, Tổng cục Tiêu chuẩn Đo lường Chất lượng đề nghị, Bộ Khoa học và Công nghệ công bố.
FEROTITAN - XÁC ĐỊNH HÀM LƯỢNG TITAN - PHƯƠNG PHÁP CHUẨN ĐỘ
Ferrotitanium - Determination of titanium content- Titrimetric method
1. Phạm vi áp dụng
Tiêu chuẩn này quy định phương pháp chuẩn độ để xác định hàm lượng titan trong ferotitan.
Phương pháp này áp dụng cho ferotitan có hàm lượng titan ở giữa 20 % và 80 % (theo khối lượng).
2. Tài liệu viện dẫn
Các tài liệu viện dẫn sau rất cần thiết cho việc áp dụng tiêu chuẩn này. Đối với các tài liệu viện dẫn ghi năm công bố thì áp dụng phiên bản được nêu. Đối với các tài liệu viện dẫn không ghi năm công bố thì áp dụng phiên bản mới nhất, bao gồm cả các sửa đổi, bổ sung (nếu có).
ISO 3713, Ferroalloys - Sampling and sample preparation - General rules (Hợp kim fero - Lấy mẫu và chuẩn bị mẫu - Quy tắc chung).
3. Nguyên lý
Hòa tan một phần mẫu thử với axit sunfuric, axit nitric, axit clohydric và axit flohydric.
Tách các nguyên tố gây cản trở (crom, vanadi, molipden và thiếc) nếu có bằng cách kết tủa titan hydroxit khi có mặt của hydro peroxit.
Khử titan thành Ti3+ bằng nhôm kim loại trong môi trường cacbon dioxit hoặc nitơ.
Chuẩn độ Ti3+ bằng dung dịch amoni sắt (III) sunfat tiêu chuẩn khi có mặt của thioxyanat như là chất chỉ thị.
4. Thuốc thử
Trong quá trình phân tích, trừ khi có quy định khác, chỉ sử dụng các thuốc thử loại phân tích đã được công nhận và chỉ sử dụng nước cất hoặc nước có độ tinh khiết tương đương.
4.1. Nhôm có độ tinh khiết tối thiểu 99,5 % ở dạng lá có chiều dày 0,05 mm và không có titan.
4.2. Natri hydro cacbonat (NaHCO3).
4.3. Axit nitric, r = 1,42 g/ml.
4.4. Axit sunfuric, r = 1,84 g/ml.
4.5. Axit clohydric, r = 1,19 g/ml.
4.6. Axit flohydric, r = 1,14 g/ml.
4.7. Axit sunfuric, được pha loãng (1:1).
Thêm một cách cẩn thận một thể tích axit sunfuric (4.4) vào 1 thể tích nước. Làm nguội trong quá trình trộn.
4.8. Axit sunfuric, được pha loãng (1 : 4).
Thêm một cách cẩn thận một thể tích axit sunfuric (4.4) vào 4 thể tích nước. Làm nguội trong quá trình trộn.
4.9. Natri hydroxit, dung dịch 100 g/l.
4.10. Natri hydroxit, dung dịch 20 g/l.
4.11. Amoni thioxyanat, dung dịch 100 g/l.
4.12. Nitơ, trên thực tế không chứa oxy (nhỏ hơn 10 phần triệu theo thể tích, độ tinh khiết 99,998 % hoặc cacbon đioxit có độ tinh khiết tương tự.
4.13. Hydro peroxit 30 % hoặc dung dịch thể tích 100.
4.14. Amoni sắt (III) sunfat
[Fe2(SO4)3 (NH4)2 SO4 24H2O] dung dịch chuẩn độ tiêu chuẩn.
Cho 10,2 g amoni sắt (III) sunfat vào một cốc có mỏ 400 ml và thêm 100 ml nước lạnh và 50 ml axit sunfuric (4.7). Chuyển lượng dung dịch này sang một bình định mức thể tích 1000 ml và pha loãng tới vạch định mức này.
1 ml của dung dịch này tương đương với khoảng 1 mg titan.
4.15. Dung dịch sắt (III) sunfat
Hòa tan 2 g sắt nguyên chất (ví dụ như BCS 149/3) trong 50 ml axit clohydric (4.5), oxy hóa với 10 ml axit nitric (4.3), thêm 40 ml dung dịch axit sunfuric (4.7) và đun nóng cho tới khi có khói trắng tỏa ra. Làm nguội, pha loãng tới 200 ml và đun sôi trong 15 min. Làm nguội, chuyển lượng dung dịch này sang một bình định mức thể tích 500 ml và pha loãng tới vạch định mức này.
4.16. Titan xốp hoặc các titan kim loại khác có độ tinh khiết lớn hơn 99,9 %.
4.17. Titan, dung dịch tiêu chuẩn tương đương với 0,5000 g Ti trong một lít, được chuẩn bị bằng một trong các phương pháp sau.
4.17.1. Chuẩn bị từ titan dioxit
Cân 0,834 g ± 0,0002 g titan đioxit đã được nung trước trong 2 h ở 800 °C. Nấu chảy dần dần lượng vật liệu này với 10 g pirosunfat trong một chén bằng platin có nắp cũng bằng platin hoặc trong một chén bằng thạch anh, có dung tích 170 ml, có nắp dạng tấm, hoặc trong một bình tam giác bằng thạch anh.
Sau khi làm nguội, hòa tan sản phẩm nóng chảy trực tiếp trong chén bằng thạch anh hoặc trong bình tam giác bằng thạch anh với 100 ml nước ấm, sau đó gạn dung dịch vào trong một cốc có mỏ 400 ml.
Rửa chén bằng thạch anh hoặc bình tam giác bằng thạch anh nhiều lần. Nếu sử dụng chén bằng platin, đặt chén sau khi làm nguội trong một cốc có mỏ 400 ml với 100 ml nước ấm để hòa tan sản phẩm nóng chảy. Khi sản phẩm được hòa tan, lấy chén ra, rửa chén nhiều lần trong nước.
Thêm 50 ml dung dịch axit sunfuric (4.8) vào dung dịch của sản phẩm nóng chảy. Đun nóng từ từ trên một bếp gia nhiệt tới khi dung dịch trở nên hoàn toàn trong. Làm nguội, chuyển lượng dung dịch này sang một bình định mức thể tích 1000 ml, pha loãng tới vạch định mức bằng nước và trộn đều.
4.17.2. Chuẩn bị từ kali hexaflorotitanat
Cân 2,506 g ± 0,0002 g kali hexaflorotitanat (K2TiF6) đã được sấy khô từ trước trong 2 h ở 105 °C trong một chén bằng platin. Đặt chén trong một cốc có mỏ 100 ml, thêm 50 ml dung dịch axit sunfuric (4.8) và nung nóng tới khi kali hexaflorotitanat được hòa tan (trong khoảng 15 min). Làm nguội, lấy chén ra, rửa chén nhiều lần bằng nước. Chuyển lượng dung dịch trong chén sang một bình định mức thể tích 1000 ml, sau khi làm nguội, pha loãng tới vạch định mức bằng nước và trộn đều.
5. Thiết bị, dụng cụ
Thiết bị thông thường trong phòng thí nghiệm và đặc biệt là.
5.1. Cốc có mỏ bằng Polytetrafloroetylen (PTFE), dung tích 250 ml.
5.2. Cốc có mỏ bằng thủy tinh, dung tích 600 ml.
5.3. Bình tam giác hoặc tròn với đáy phẳng, dung tích 500 ml.
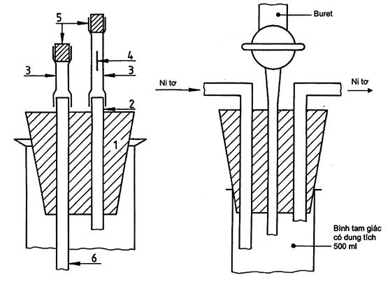
5.4. Van Busen hoặc bình ngưng tụ/ bình Goeckel
Van Busen (xem Hình 1) gồm có một nút cao su (1) cho hai ống thủy tinh (2 và 6) đi qua. Các ống cao su (3) được lắp lên trên các ống thủy tinh này, các đầu mút trên của các ống cao su được nút kín bằng các nút thủy tinh (5). Ống cao su (3) lắp trên ống thủy tinh (2) được xẻ rãnh (4) có chiều dài 10 đến 15 mm, ở giữa chiều dài ống bằng lưỡi dao cạo. Ống (6) có đầu mút cao hơn dung dịch được chuẩn độ 5 cm để có thể dẫn nitơ hoặc cacbon dioxit thay cho ống cấp khí đối với ống cao su (3).
5.5. Máy khuấy từ có cánh khuấy bọc PTFE.
5.6. Thiết bị để chuẩn độ trong môi trường nitơ (xem Hình 2).
6. Mẫu thử
Sử dụng bột lọt qua được sàng có cỡ lỗ sàng 160 mm, được chuẩn bị phù hợp với ISO 3713.
7. Cách tiến hành
7.1. Phần mẫu thử
Lấy một phần mẫu thử 1,000 g ± 0,0002 g.
7.2. Thử mẫu trắng
Thực hiện một phép thử mẫu trắng song song với việc xác định theo cùng một quy trình và sử dụng cùng một lượng của tất cả các thuốc thử (trừ dung dịch amoni sắt (III) sunfat (4.14), nhưng không có phần mẫu thử).
7.3. Thử kiểm tra
Kiểm tra tính hợp lệ của các quy trình thao tác được sử dụng bằng cách thực hiện, song song với việc xác định hàm lượng titan của một hoặc nhiều mẫu thử cùng loại có hàm lượng titan đã biết.
7.4. Sự chuẩn hóa dung dịch amoni sắt (III) sunfat
7.4.1. Phương pháp sử dụng titan xốp
Thực hiện việc xác định trên một phần mẫu thử bằng titan xốp (4.16) có khối lượng 0,75 đến 0,85 g.

| Hình 1 - Van Busen | Hình 2 - Thiết bị để chuẩn độ trong môi trường nitơ |
7.4.2. Phương pháp sử dụng dung dịch titan tiêu chuẩn
Dùng pipet để chuyển 50 ml dung dịch titan tiêu chuẩn (4.17), 5 ml dung dịch axit sunfuric (4.7) và 80 ml axit clohydric (4.5) vào một bình tam giác 500 ml.
Tiến hành như quy định trong 7.5.3.2.
Thực hiện kiểm tra mẫu trắng trong cùng điều kiện để chứng minh sự không có mặt của titan trong các thuốc thử được sử dụng để pha chế dung dịch chuẩn.
7.5. Xác định
7.5.1. Hòa tan phần mẫu thử
Đặt phần mẫu thử trong cốc có mỏ bằng PTFE dung tích 250 ml và bổ sung thêm khoảng 20 ml nước, 35 ml dung dịch axit sunfuric (4.7). Khi phản ứng xảy ra chậm, bổ sung thêm 20 ml axit clohydric (4.5) và 1 ml axit Aohydric (4.6). Đậy cốc có mỏ bằng nắp PTFE. Oxy hóa trong điều kiện nguội bằng cách nhỏ thêm từng giọt 5 ml axit nitric (4.3). Khi phản ứng đã hoàn thành, tháo nắp cốc ra và đun nóng từ từ tới khi có khói trắng tỏa ra. Tiếp tục đun nóng trong 5 min. Làm nguội, thêm 30 ml axit clohydric (4.5) khuấy nhẹ, đậy nắp và đun nóng trên một tấm được đốt nóng tới khi dung dịch trở nên trong. Rửa sạch nắp với 5 ml axit clohydric (4.5).
Làm nguội và chuyển dung dịch vào bình định mức thể tích 500 ml, rửa sạch cốc có mỏ và pha loãng tới vạch định mức bằng nước (dung dịch A).
Nếu hàm lượng titan yêu cầu của mẫu thử nằm trong phạm vi 20 % đến 45 % (theo khối lượng) thì lấy một cách chính xác 50 ml của dung dịch A, nếu hàm lượng titan yêu cầu nằm trong phạm vi 45 % đến 75 % (theo khối lượng) thì lấy một cách chính xác 25 ml của dung dịch A.
Chuyển phần đã lấy của dung dịch A này vào một cốc tháp dung tích 250 ml có chứa 10 ml dung dịch sắt (III) sunfat (4.15), nếu các nguyên tố gây cản trở được tách thì tiến hành như quy định trong 7.5.2, hoặc chuyển vào một bình tam giác dung tích 500 ml và nếu các nguyên tố gây cản trở không được tách thì tiến hành như quy định trong 7.5.3.1.
7.5.2. Tách các nguyên tố gây cản trở
Thêm 50 ml dung dịch natri hydroxit (4.9) và 2 ml dung dịch hydro peroxit (4.13) vào phần dung dịch A chứa trong cốc có mỏ 250 ml, đun nóng tới sôi và giữ ở trạng thái sôi trong 5 min cho kết tủa lắng xuống và lọc qua một bộ lọc kép nhanh hoặc qua một bộ lọc có lớp lót bằng bột giấy. Sau khi đã chuyển tất cả các kết tủa hydroxit lên bộ lọc, rửa bộ lọc có kết tủa bằng dung dịch natri hydroxit (4.10) và rửa cốc có mỏ và chất kết tủa sáu lần với khoảng 10 ml dung dịch natri hydroxit (4.10).
Rửa cuống phễu bằng nước và đặt phễu lên bình tam giác dung tích 500 ml.
Cho 45 ml axit dohydric (4.5) và 15 ml dung dịch axit sunfuric (4.8) vào trong cốc có mỏ dung tích 250 ml và đun nóng 60 °C đến 70 °C. Sử dụng hỗn hợp axit này để hòa tan kết tủa hydroxit trên bộ lọc bằng cách thêm hỗn hợp thành từng phần nhỏ 10 ml và cho mỗi phần chảy hết hoàn toàn trước khi thêm tiếp. Khi cốc có mỏ đã hết, thêm 35 ml axit clohydric (4.5), đun nóng như trước và rửa bộ lọc với các phần nhỏ khoảng 10 ml axit clohydric. Cuối cùng rửa cốc có mỏ, bộ lọc và cuống phễu bằng nước nóng (70 °C đến 80 °C) khi sử dụng tổng thể tính không vượt quá 40 ml.
Tiến hành như quy định trong 7.5.3.2.
7.5.3. Chuẩn độ
7.5.3.1. Khi không có các nguyên tố gây cản trở
Thêm 85 ml axit clohydric (4.5) và 25 ml nước vào phần đã lấy của dung dịch A trong bình tam giác dung tích 500 ml.
Tiến hành như quy định trong 7.5.3.2.
7.5.3.2. Khử titan
Thêm vào dung dịch thử (được chuẩn bị như trong 7.5.2 hoặc 7.5.3.1) 2 g ± 0,2 g natri hydrocacbonat (4.2) và 4 g ± 0,2 g nhôm (4.1) được cắt thành nhiều mảnh. Nút kín ngay lập tức bình chứa có van Busen hoặc bình/bầu ngưng tụ Goeckel, được nạp đầy dung dịch natri hydrocacbonat1) bão hòa. Lắc bình thường xuyên trong quá trình khử.
7.5.3.3. Chuẩn độ trong môi trường khí nitơ
Trước khi nhôm được hòa tan hoàn toàn, nối ống đi xuống (6) của van Busen với nguồn nitơ sau khi đã rút ống cao su (3) ra. Điều chỉnh lưu lượng nitơ đến 0,7 l/min ± 0,1 l/min. Khi nhôm được hòa tan (ngừng sủi bọt), nhúng chìm bình hoàn toàn trong nước nguội và cho phép nitơ thoát ra khỏi rãnh (4) trên ống cao su (3) và giữ cho tới khi dung dịch có nhiệt độ bằng nhiệt độ môi trường xung quanh (thời gian yêu cầu khoảng 7 min).
Không ngắt dòng nitơ, nâng van Busen, con khuấy của máy khuấy từ và thêm 10 ml dung dịch amoni thioxynat (4.11), rửa ống đi xuống (6) với nước nguội được đun sôi và thay thế van Busen bằng bộ phận chuẩn độ (xem Hình 2), sau khi đã nối bộ phận này với nguồn nitơ.
Vận hành máy khuấy từ (5.5) và chuẩn độ với dung dịch amoni sắt (III) sunfat (4.14) tới khi thu được màu hồng ổn định.
7.5.3.4. Chuẩn độ trong khí quyển cacbon đioxit
Khi nhôm được hòa tan, làm nguội dung dịch và rút van Busen hoặc bầu ngưng tụ Goeckel ra. Thêm 10 ml dung dịch amoni thioxyanat (4.11) và chuẩn độ với dung dịch amoni sắt (III)sunfat (4.14) tới khi thu được màu hồng ổn định.
8. Tính kết quả
8.1. Nếu dung dịch amoni sắt (III) sunfat đã được chuẩn hóa bằng phương pháp sử dụng titan xốp (xem 7.4.1) thì hàm lượng titan tính theo phần trăm khối lượng được xác định theo công thức
![]()
trong đó:
V1 là thể tích tính bằng mililít của dung dịch amoni sắt (III) sunfat (4.14) được sử dụng trong thử mẫu trắng;
V2 là thể tích tính bằng mililít của dung dịch amoni sắt (III) sunfat (4.14) được dùng để chuẩn hóa khi sử dụng titan xốp;
V3 là thể tích tính bằng mililít của dung dịch amoni sắt (III) sunfat (4.14) được dùng trong xác định;
m1 là khối lượng tính bằng gam của bọt titan (4.16) chứa trong phần đã lấy của dung dịch A được lấy trong 7.5.1;
m2 là khối lượng tính bằng gam của ferotitan chứa trong phần đã lấy của dung dịch A được lấy trong 7.5.1.
8.2. Nếu dung dịch amoni sắt (III) sunfat đã được chuẩn hóa dung dịch titan tiêu chuẩn (xem 7.4.2) thì hàm lượng titan, tính theo phần trăm khối lượng được xác định theo công thức:
![]()
trong đó:
V1 là thể tích tính bằng mililít của dung dịch amoni sắt (III) sunfat (4.14) được dùng trong thuốc thử trắng khi chuẩn hóa;
V2 là thể tích tính bằng mililít của dung dịch amoni sắt (III) sunfat (4.14) được dùng để chuẩn độ 50 ml dung dịch titan tiêu chuẩn (4.17);
V3 là thể tích tính bằng mililít của dung dịch amoni sắt (III) sunfat (4.14) được dùng trong xác định;
V4 là thể tích tính bằng mililít của dung dịch amoni sắt (III) sunfat (4.14) được sử dụng trong chuẩn độ mẫu trắng;
m1 là khối lượng tính bằng gam của titan chứa trong 50 ml dung dịch titan tiêu chuẩn 4.17;
m2 là khối lượng tính bằng gam của ferotitan chứa trong phần ước số của dung dịch A được lấy trong 7.5.1.
9. Báo cáo thử
Báo cáo thử phải bao gồm các thông tin sau:
a) Tham chiếu tiêu chuẩn này;
b) Nhận dạng mẫu thử;
c) Kết quả và phương pháp trình bày được dùng;
d) Bất cứ đặc tính không bình thường nào được ghi lại trong quá trình xác định;
e) Chi tiết về bất cứ thao tác nào không được quy định trong tiêu chuẩn này hoặc được lựa chọn.
Bạn chưa Đăng nhập thành viên.
Đây là tiện ích dành cho tài khoản thành viên. Vui lòng Đăng nhập để xem chi tiết. Nếu chưa có tài khoản, vui lòng Đăng ký tại đây!