- Tổng quan
- Nội dung
- Tiêu chuẩn liên quan
- Lược đồ
- Tải về
Tiêu chuẩn Quốc gia TCVN 3589:1981 Máy ép một khuỷu thân kín tác động đơn-Độ chính xác
| Số hiệu: | TCVN 3589:1981 | Loại văn bản: | Tiêu chuẩn Việt Nam |
| Cơ quan ban hành: | Uỷ ban Khoa học và Kỹ thuật Nhà nước | Lĩnh vực: | Công nghiệp |
|
Ngày ban hành:
Ngày ban hành là ngày, tháng, năm văn bản được thông qua hoặc ký ban hành.
|
1981 |
Hiệu lực:
|
Đã biết
|
| Người ký: | Đang cập nhật |
Tình trạng hiệu lực:
Cho biết trạng thái hiệu lực của văn bản đang tra cứu: Chưa áp dụng, Còn hiệu lực, Hết hiệu lực, Hết hiệu lực 1 phần; Đã sửa đổi, Đính chính hay Không còn phù hợp,...
|
Đã biết
|
TÓM TẮT TIÊU CHUẨN VIỆT NAM TCVN 3589:1981
Nội dung tóm tắt đang được cập nhật, Quý khách vui lòng quay lại sau!
Tải tiêu chuẩn Việt Nam TCVN 3589:1981
TIÊU CHUẨN QUỐC GIA
TCVN 3589 : 1981
MÁY ÉP MỘT KHUỶU THÂN KÍN TÁC ĐỘNG ĐƠN – ĐỘ CHÍNH XÁC
Simple action closed one crank presses - Norms of accurcy
Lời nói đầu
TCVN 3589 : 1981 do Viện máy công cụ và dụng cụ - Bộ cơ khí và luyện kim, Tổng cục Tiêu chuẩn đo lường Chất lượng trình duyệt, Ủy ban Khoa học và Kỹ thuật Nhà nước (nay là Bộ khoa học và Cụng nghệ) ban hành;
Tiêu chuẩn này được chuyển đổi năm 2008 từ Tiêu chuẩn Việt Nam cùng số hiệu thành Tiêu chuẩn Quốc gia theo quy định tại Khoản 1 điều 69 của Luật Tiêu chuẩn và Quy chuẩn kỹ thuật và điểm a Khoản 1 điều 6 Nghị định số 127/2007/NĐ-CP ngày 1/8/2007 của Chính phủ quy định chi tiết thi hành một số điều của Luật Tiêu chuẩn và Quy chuẩn kỹ thuật.
MÁY ÉP MỘT KHUỶU THÂN KÍN TÁC ĐỘNG ĐƠN - ĐỘ CHÍNH XÁC
Simple action closed one crank presses - Norms of accurcy
1. Tiêu chuẩn này áp dụng cho máy ép một khuỷu thân kín tác động đơn để thực hiện các nguyên công dập nguội khác nhau.
2. Mặt bàn là mặt chuẩn cho những kiểm cơ bản của máy ép.
Nếu đặc điểm kết cấu của máy ép không cho phép đo được chiều dài cần kiểm, thì sai lệch giới hạn ứng với chiều dài này phải quy đổi theo chiều dài lớn nhất có thể đo được.
Sai lệch giới hạn có được khi tính toán nhỏ hơn 0,01 mm thì lấy bằng 0,01 mm.
3. Sai lệch về độ phẳng và độ song song của các mặt trên và dưới của đế khuôn không được lớn hơn 0,06 mm trên chiều dài 1000 mm.
4. Độ chính xác của máy và cách kiểm
4.1. Sai lệch về độ phẳng của mặt bàn máy.
4.1.1. Sai lệch giới hạn: 0,06 mm trên chiều dài 1000 mm, không cho phép bàn lồi.
4.1.2. Cách kiểm
Áp mặt bàn làm việc của thước kiểm trên mặt bàn máy theo các hướng khác nhau. Dùng căn lá kiểm khe hở giữa mặt làm việc của thước kiểm tra và mặt bàn máy.
4.2. Sai lệch về độ phẳng mặt dưới đầu trượt
4.2.1. Sai lệch giới hạn: 0,06 mm trên chiều dài 1000 mm, không cho phép bàn lồi.
4.2.2. Cách kiểm
Áp mặt làm việc của thước kiểm vào mặt dưới đầu trượt theo các hướng khác nhau. Dùng căn lá kiểm khe hở giữa mặt làm việc của thước kiểm và mặt dưới đầu trượt.
4.3. Sai lệch về độ song song của mặt dưới đầu trượt đối với bàn máy.
4.3.1. Sai lệch giới hạn quy định trong Bảng 1.
Bảng 1
| Khoảng cách giữa các trụ máy, mm | Lực ép, KN | Sai lệch giới hạn, mm, trên chiều dài 1000 mm |
| Đến 1000 | Đến 2500 | 0,16 |
| Lớn hơn 2500 đến 6300 | 0,16 | |
| Lớn hơn 6300 | 0,20 | |
| Lớn hơn 1000 | Đến 2500 | 0,10 |
| Lớn hơn 2500 đến 6300 | 0,12 | |
| Lớn hơn 6300 | 0,16 |
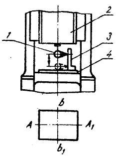
4.3.2. Cách kiểm (Hình 1)
Đặt thước kiểm 1 trên bàn máy. Đặt đồng hồ so 2 trên thước kiểm, sao cho mũi đo của nó tiếp xúc với mặt dưới của đầu trượt 3. Kiểm độ song song, khi bàn máy và đầu trượt cách xa nhau nhất và gần nhau nhất, trong hai hướng vuông góc với nhau A A1 và BB1.

Hình 1
Sai lệch về độ song song xác định bằng hiệu đại số lớn nhất các số chỉ của đồng hồ so ở mỗi vị trí của bàn máy và đầu trượt.
4.4. Sai lệch về độ vuông góc của hành trình đầu trượt đối với mật bàn máy.
4.4.1. Sai lệch giới hạn quy định trong Bảng 2.
Bảng 2
| Lực ép, KN | Sai lệch giới hạn, mm, trên chiều dài 1000 mm |
| Đến 2500 | 0,02 |
| Lớn hơn 2500 đến 6300 | 0,03 |
| Lớn hơn 6300 | 0,04 |
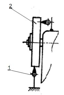
4.4.2. Cách kiểm (Hình 2)
Đặt thước kiểm 4 trên mặt bàn máy. Trên thước kiểm đặt ke 3 (hoặc ống trụ kiểm). Kẹp đồng hồ so 1 vào đầu trượt 2, sao cho mũi đo của nó tiếp xúc với mặt đo của ke (hoặc đường sinh của ống trụ kiểm).
Kiểm độ vuông góc khi đầu trượt ở vị trí trên cùng và dưới cùng, trong hai hướng vuông góc với nhau AA1 và BB1.
Sai lệch về độ vuông góc xác định xác định bằng hiệu đại số lớn nhất các số chỉ của đồng hồ so ở mỗi vị trí đầu trượt.

Hình 2
4.5. Độ đảo hướng tâm và độ đảo mặt mút của bánh đà
4.5.1. Sai lệch giới hạn quy định trong Bảng 3.
Bảng 3
Kích thước tính bằng milimét
| Đường kính bánh đà | Sai lệch giới hạn | |
| Độ đảo hướng tâm | Độ đảo mặt mút | |
| Đến 1000 | 0,10 | 0,20 |
| Lớn hơn 1000 | 0,15 | 0,30 |
4.5.2. Cách kiểm (Hình 3)
Đặt đồng hồ so 1, sao cho mũi đo của nó tiếp xúc với mặt vành của bánh đà 2, hoặc tiếp xúc với mặt mút của bánh đà, cách đường sinh của mặt vành 10 mm.
Độ đảo xác định bằng hiệu đại số lớn nhất các chỉ số của đồng hồ so trong một vòng quay của bánh đà.

Hình 3
Bạn chưa Đăng nhập thành viên.
Đây là tiện ích dành cho tài khoản thành viên. Vui lòng Đăng nhập để xem chi tiết. Nếu chưa có tài khoản, vui lòng Đăng ký tại đây!