- Tổng quan
- Nội dung
- Tiêu chuẩn liên quan
- Lược đồ
- Tải về
Tiêu chuẩn TCVN 9470:2012 Xác định phát thải của nhà máy amiăng bằng đo đếm sợi
| Số hiệu: | TCVN 9470:2012 | Loại văn bản: | Tiêu chuẩn Việt Nam |
| Cơ quan ban hành: | Bộ Khoa học và Công nghệ | Lĩnh vực: | Tài nguyên-Môi trường , Công nghiệp |
|
Ngày ban hành:
Ngày ban hành là ngày, tháng, năm văn bản được thông qua hoặc ký ban hành.
|
2012 |
Hiệu lực:
|
Đã biết
|
| Người ký: | Đang cập nhật |
Tình trạng hiệu lực:
Cho biết trạng thái hiệu lực của văn bản đang tra cứu: Chưa áp dụng, Còn hiệu lực, Hết hiệu lực, Hết hiệu lực 1 phần; Đã sửa đổi, Đính chính hay Không còn phù hợp,...
|
Đã biết
|
TÓM TẮT TIÊU CHUẨN VIỆT NAM TCVN 9470:2012
Nội dung tóm tắt đang được cập nhật, Quý khách vui lòng quay lại sau!
Tải tiêu chuẩn Việt Nam TCVN 9470:2012
TIÊU CHUẨN QUỐC GIA
TCVN 9470:2012
ISO 10397:1993
PHÁT THẢI NGUỒN TĨNH - XÁC ĐỊNH PHÁT THẢI CỦA NHÀ MÁY AMIĂNG - PHƯƠNG PHÁP ĐO ĐẾM SỢI
Stationary source emissions - Determination of asbestos plant emissions - Method by fibre count measurement
Lời nói đầu
TCVN 9470:2012 hoàn toàn tương đương với ISO 10397:1993
TCVN 9470:2012 do Ban kỹ thuật tiêu chuẩn quốc gia TCVN/TC 146 Chất lượng không khí biên soạn, Tổng cục Tiêu chuẩn Đo lường Chất lượng đề nghị, Bộ Khoa học và Công nghệ công bố.
Lời giới thiệu
Tiêu chuẩn này bao gồm hai phần:
- Lấy mẫu sự phát thải vào khí quyển của các quá trình có amiăng;
- Đếm sợi amiăng.
Tuy nhiên, độ chính xác của phân tích (đếm sợi amiăng) lại có ảnh hưởng đến độ chính xác của toàn bộ phương pháp. Do vậy, điều quan trọng là phép phân tích phải do những nhà phân tích có kinh nghiệm, những người được đào tạo đặc biệt kết hợp với chương trình kiểm soát chất lượng đã được phê chuẩn tiến hành.
Mặc dù phương pháp này được thiết kế để giải quyết sự phát thải sợi từ các công việc có amiăng, nhưng phương pháp này cũng được áp dụng cho các quá trình khác có liên quan đến nguyên liệu sợi. Thực tế, rất nhiều công việc có sử dụng amiăng ở lượng hạn chế và do vậy có thể có sự phát thải sợi pha trộn tại cùng thời điểm. Nếu có xảy ra, hoặc nếu cần phải phân định các sợi là amiăng hay không phải là amiăng, sẽ cần áp dụng kỹ thuật hiện đại hơn để phân định các sợi (xem TCVN 6503 [ISO 10312]). Phương pháp này không được đề cập trong tiêu chuẩn này.
Cần chú ý rằng sự khác nhau tồn tại theo cách thức đánh giá sợi amiăng và không phải sợi amiăng, đặc biệt trong không khí vùng làm việc. Tuy nhiên sự khác nhau này không tác động đến cách thức mà tiêu chuẩn này sử dụng để đánh giá tính hiệu quả của việc thu gom sợi amiăng của nhà máy.
Tiêu chuẩn này không chỉ nhằm sử dụng để định lượng nồng độ sợi phát thải từ các công việc có amiăng, mà còn là phương tiện cho biết tính hiệu quả hoặc các khía cạnh khác của việc vận hành các thiết bị thu sợi và bụi.
Vì thời gian lấy mẫu tương đối ngắn, nên phương pháp này ít nhạy với những biến động của quá trình, và do vậy cần phải có bản ghi chép đầy đủ các thông số thử nghiệm.
Kỹ thuật phân tích đối với đếm sợi amiăng được sử dụng trong tiêu chuẩn này tuân thủ theo những kỹ thuật được trình bày trong TCVN 6504 (ISO 8672).
PHÁT THẢI NGUỒN TĨNH - XÁC ĐỊNH PHÁT THẢI CỦA NHÀ MÁY AMIĂNG - PHƯƠNG PHÁP ĐO ĐẾM SỢI
Stationary source emissions - Determination of asbestos plant emissions - Method by fibre count measurement
CẢNH BÁO - CHÚ Ý AN TOÀN
KHÁI QUÁT
Hoạt động lấy mẫu có thể rơi vào một số tình huống. Cán bộ quản lý, những người lấy mẫu và cán bộ giám sát, cần đề phòng các mối nguy trước khi tiến hành lấy mẫu. Địa điểm lấy mẫu phải được khảo sát kỹ trước khi lấy mẫu. Cần thực hiện các biện pháp an toàn để loại trừ các mối nguy phù hợp với các quy định pháp luật của địa phương, quốc gia hoặc quốc tế. Cần đặc biệt chú ý đến amiăng và chỉ những người có kinh nghiệm mới được thực hiện phép đo.
Những mối nguy có thể xảy ra bất cứ lúc nào và các biện pháp giảm thiểu được đưa ra dưới đây.
QUẢN LÝ NHÀ MÁY
Người quản lý và người vận hành nhà máy phải nhận thức được việc lấy mẫu đang được thực hiện. Những quy trình an toàn của nhà máy cần phải tuân thủ, ví dụ, cho phép làm việc, v.v...
MỐI NGUY ĐỐI VỚI NGƯỜI LẤY MẪU
a) Phơi nhiễm amiăng và những chất khác: Xem xét kiểm tra bằng mắt và/hoặc làm sạch vị trí, thiết bị quan trắc và phương tiện bảo vệ cá nhân.
b) Điều kiện lấy mẫu không phù hợp: Cung cấp đầy đủ không gian làm việc cho thiết bị lấy mẫu và người lấy mẫu xem xét các dịch vụ riêng biệt, điện, máy nén khí, ánh sáng, chống chọi thời tiết, cầu trục v.v...
c) Khi làm việc ở những vị trí cao hoặc những nơi biệt lập: chú ý các biện pháp thoát hiểm, lan can bảo vệ, các hệ thống cảnh báo và yêu cầu về thông tin.
d) Phơi nhiễm với khí độc, chất ăn mòn, nóng hoặc khí nén: Chú ý vị trí lấy mẫu, quan trắc hoặc hệ thống cảnh báo, phương tiện bảo vệ cá nhân, v.v...
e) Mối nguy về điện: Chú ý bảo vệ thiết bị, nối đất, các công tắc ngắt mạch khi rò ra đất và các tiêu chuẩn quốc gia về an toàn, v.v...
f) Tiếng ồn và nhiệt: chú ý các biện pháp bảo vệ.
MỐI NGUY HIỂM VỚI NHỮNG NGƯỜI KHÁC
a) Các vật rơi từ trên bệ cao: chú ý các chỉ dẫn cảnh báo, barie, v.v...
b) Có thiết bị tạm thời, ví dụ các dây cáp gây nguy cơ vấp ngã: Chú ý các chỉ dẫn cảnh báo, v.v...
NGUY HIỂM CHO NHÀ MÁY/TÀI SẢN
A) Cháy các khí dễ bắt lửa: Chú ý sử dụng thiết bị không dùng điện hoặc các dụng cụ không phát ra tia lửa, v.v...
b) Rơi thiết bị vào ống dẫn: Bảo đảm thiết bị được lắp đặt phù hợp.
1. Phạm vi áp dụng
Tiêu chuẩn này quy định phương pháp, sử dụng kỹ thuật đếm sợi để đánh giá nồng độ sợi ở dòng khí trong các ống dẫn, ống khói hoặc ống thải từ các quá trình công nghiệp sử dụng amăng.
Phương pháp này có thể được sử dụng để xác định nồng độ sợi từ nhiều quá trình khi sợi được biết là những sợi “được quy định” tồn tại trong nguồn thải. Phương pháp này không nhận dạng các loại sợi amiăng một cách riêng rẽ với các sợi khác.
CHÚ THÍCH 1: Nếu cần phải nhận dạng các sợi, tham khảo TCVN 6502 (ISO 10312).
CHÚ THÍCH 2: Phương pháp này có thể được sử dụng để kiểm tra thiết bị lọc bụi được sử dụng để bẫy hoặc ngăn ngừa các sợi amiăng thoát ra không khí hoạt động có đúng và hiệu quả hay không.
CHÚ THÍCH 3: Tiêu chuẩn này có thể được sử dụng để đo nồng độ sợi như đã trình bày trong Hướng dẫn của Hội đồng Châu Âu No 87/217/EEC về phòng ngừa và giảm thiểu ô nhiễm môi trường do amiăng.
Phạm vi áp dụng của phương pháp này với nồng độ sợi trong ống dẫn khoảng 0,05 sợi/cm3 đến 10 sợi/cm3, dù vậy phạm vi này có thể thay đổi theo thể tích đã lấy mẫu, phụ thuộc vào vận tốc trong ống dẫn và thiết bị lấy mẫu được sử dụng.
2. Tài liệu viện dẫn
Các tài liệu viện dẫn sau là rất cần thiết cho việc áp dụng tiêu chuẩn này. Đối với các tài liệu viện dẫn ghi năm công bố thì áp dụng phiên bản được nêu. Đối với các tài liệu viện dẫn không ghi năm công bố thì áp dụng phiên bản mới nhất bao gồm cả các sửa đổi, bổ sung (nếu có).
TCVN 5977:1995 (ISO 9096:1992)*, Sự phát thải của nguồn tĩnh - Xác định nồng độ và lưu lượng bụi trong các ống dẫn khí - Phương pháp khối lượng thủ công;
TCVN 6502:1999 (ISO 10312:1995), Không khí xung quanh - Xác định sợi amiăng - Phương pháp kính hiển vi điện tử truyền dẫn trực tiếp;
TCVN 6504:1999 (ISO 8672:1993), Chất lượng không khí - Xác định nồng độ số sợi vô cơ trong không khí bằng kính hiển vi quang học phản pha - Phương pháp lọc màng;
ISO 3966:1977**, Measurement of fluid flow in closed conduits - Velocity area method using Pitot static tubes (Đo dòng chất lỏng trong ống dẫn kín - Phương pháp vận tốc diện tích khi sử dụng các ống Pitot tĩnh).
3. Thuật ngữ và định nghĩa
Trong tiêu chuẩn này, áp dụng các thuật ngữ và định nghĩa sau:
3.1. Tỷ số hình thể (aspect ratio)
Tỷ lệ giữa chiều dài của các sợi trên đường kính của chúng.
3.2. Lỗ lấy mẫu (access port)
Một lỗ trong ống dẫn, được đảm bảo bằng một ống có mặt bích hoặc một ống ren, qua đó đầu lấy mẫu được đưa vào trong đường lấy mẫu.
3.3. Lấy mẫu tích lũy (cumulative sampling)
Lấy một mẫu đơn tổ hợp bằng cách lấy mẫu trong khoảng thời gian yêu cầu lần lượt ở từng điểm lấy mẫu.
3.4. Ống dẫn (duct)
Ống khói hoặc hệ thống ống dẫn ở lối ra của thiết bị thu gom bụi mang các khí chứa sợi amiăng.
3.5. Nồng độ sợi (fibre concentration)
Số lượng sợi “được quy định” trên centimet khối khí ở điều kiện tiêu chuẩn.
3.6. Kỹ thuật đếm sợi (fibre count technique)
Phương pháp để đếm số lượng sợi “được quy định” có trên giấy lọc màng và tính theo nồng độ sợi.
[TCVN 6504 (ISO 8672)]
3.7. Lấy mẫu đẳng tốc (isokinetic sampling)
Lấy mẫu ở tốc độ sao cho vận tốc và hướng của khí vào đầu lấy mẫu giống như của khí trong ống ở ngay trước điểm lấy mẫu.
3.8. Bơm (pump)
Bơm cánh quạt, bơm chân không hoặc thiết bị khác được sử dụng để hút mẫu khí từ ống dẫn hoặc ống khói.
3.9. Các sợi “được quy định” (“regulated” fibre)
Các sợi đáp ứng các tiêu chí sau:
chiều dài ³ 5 mm;
đường kính £ 3 mm;
tỷ số hình thể tối thiểu 3:1.
3.10. Đường kính thủy lực D1 (hydraulic diameter)
Đường kính tương đương với một ống hình chữ nhật và được tính theo công thức
D1 = (4 x Diện tích của mặt phẳng lấy mẫu)/Chu vi của mặt phẳng lấy mẫu
4. Ký hiệu với các đơn vị tương ứng của các thông số và chữ viết tắt
Bảng 1 là các ký hiệu và các đơn vị tương ứng của các thông số và Bảng 2 là các chữ viết tắt.
Bảng 1 - Ký hiệu và các đơn vị tương ứng của các thông số
| Ký hiệu | Ý nghĩa | Đơn vị |
| AF | Diện tích lọc hiệu dụng của máng lọc | mm2 |
| C | Nồng độ sợi trong ống khói | sợi/cm3 |
| DG | Đường kính của lưới Walton-Beckett | mm |
| DF | Đường kính diện tích tiếp xúc của giấy lọc | mm |
| d | Đường kính của lỗ lọc | mm |
| f | Sợi (xem 3.1) |
|
| K | Hệ số hiệu chuẩn với ống Pitot tĩnh |
|
| k | Hệ số hiệu chuẩn rút gọn ống Pitot tĩnh |
|
| N | Tổng số sợi đếm được |
|
| n | Số diện tích lưới kiểm tra |
|
| P | Áp suất tuyệt đối | Pa |
| dp | Áp suất vi sai (số đọc trên ống Pitot tĩnh) | Pa |
| R | Tốc độ lấy mẫu | m3/min |
| T | Nhiệt độ tuyệt đối | K |
| t | Nhiệt độ của khí trong ống khói | oC |
| V | Vận tốc khí tại điểm lấy mẫu | m/s |
| V | Thể tích khí đã lấy | m |
| ρ | Mật độ của khí trong ống khói | kg/m3 |
| Q | Khoảng thời gian lấy mẫu | s |
Bảng 2 - Các chữ viết tắt
| Chữ viết tắt | Ý nghĩa |
| S | Điều kiện tiêu chuẩn 1,013 bar và 0 °C |
| F | Cái lọc |
| G | Lưới |
| I | Máy đo tích hợp |
| T | Tổng số |
5. Nguyên tắc
Đưa thiết bị vào trong dòng khí chuyển động và hút đẳng tốc một thể tích khi đã định. Mẫu khi đi qua vật liệu lọc tại đây các hạt lơ lửng (kể cả các sợi) được giữ lại và tách ra khỏi dòng khí. Giấy lọc được xử lý để làm trong suốt khi quan sát bằng kính hiển vi và đếm chính xác số sợi trong trường đếm khi sử dụng kính hiển vi quang học phản pha.
Biết thể tích khí đã lấy mẫu, diện tích mặt cắt của giấy lọc, số sợi “được quy định” đếm được và diện tích mặt cắt của mỗi trường đếm, có thể tính được nồng độ sợi trong dòng khí chuyển động.
6. Tóm tắt phương pháp
Phương pháp quy định thiết bị và cách sử dụng để lấy mẫu, sau đó nồng độ của các sợi đã phát tán vào dòng khí từ một quá trình chứa amiăng có thể được xác định bằng cách đo và tính toán. Phương pháp này cho phép đánh giá về hiệu quả của các biện pháp phòng ngừa ô nhiễm.
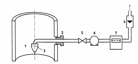
Sơ đồ chuỗi lấy mẫu được nêu trong Hình 1, bao gồm các thành phần sau:
- Đầu lấy mẫu với lỗ và bộ phận thu gom sợi;
- Thiết bị điều chỉnh dòng;
- Máy đo thể tích;
- Bơm;
Thiết bị phân tích gồm có:
- Kính hiển vi phản pha;
- Thiết bị “làm sạch” giấy lọc;
- Thiết bị đo lưu lượng và nhiệt độ.
Đây là một phương pháp nhạy nên yêu cầu lượng nhỏ mẫu và thời gian lấy mẫu tương đối ngắn, điều đó cho phép lấy một vài mẫu, như vậy cải thiện được độ chụm của phương pháp. Trong thực tế thường lấy một mẫu sơ bộ và hai mẫu xác định chính xác.
Đầu tiên, trước khi lấy mẫu có thể bắt đầu, cần phải ghi tất cả các thông số hoạt động của nhà máy và các kích thước ở mặt bằng lấy mẫu. Sau đó, đo tốc độ dòng và nhiệt độ của khí trong đường ống, áp suất khí quyển và ghi lại.
Khi những công việc chuẩn bị này đã hoàn tất, lắp đặt chuỗi lấy mẫu, chọn lỗ lấy mẫu phù hợp để đảm bảo rằng có thể thực hiện lấy mẫu đẳng tốc.
Đưa đầu lấy mẫu liên tiếp vào trong những lỗ lấy mẫu trong ống dẫn và mẫu được hút đẳng tốc từ bốn điểm ở giữa của bốn diện tích bằng nhau. Sau đó ghi thể tích mẫu, chuyển mẫu đã lấy trên màng lọc về phòng thí nghiệm, sau đó màng lọc được xử lý để có thể đếm sợi bằng kính hiển vi phản pha.
Từ những số liệu ghi được, có thể tính được nồng độ của các sợi trong ống dẫn.
7. Thiết bị, dụng cụ
7.1. Khái quát
Sử dụng sơ đồ lấy mẫu để lấy mẫu các sợi quy định như Hình 1. Bảng 3 liệt kê thiết bị được sử dụng. Các bộ phận của thiết bị được cung cấp cần phải được chế tạo bằng các vật liệu (ví dụ thép không gỉ) có khả năng chịu đựng được các điều kiện mà các thiết bị này được sử dụng, có thể xách tay hoặc vận chuyển, có khả năng lấy mẫu đẳng tốc (xem 12.3) ở tốc độ ổn định.
CHÚ THÍCH 4: Cần có những lỗ lấy mẫu trên ống dẫn để có thể thực hiện việc lấy mẫu.
CHÚ THÍCH 5: Một phòng thí nghiệm được trang bị tốt và được công nhận để làm được công việc phân tích sẽ là cần thiết. Phòng thí nghiệm phải là một phần của hệ thống kiểm soát chất lượng.
Bảng 3 - Lấy mẫu và thiết bị (dụng cụ) phân tích
| STT (xem Hình 1) | Thiết bị | Thiết kế | Yêu cầu |
| 1 | Đầu lấy mẫu và bộ lọc | Xem Hình 3 | Xem 7.3 và Hình 3 |
| 2 | Ống lấy mẫu và giá đỡ | Cứng và dạng ống nhằm hỗ trợ bộ lọc, đầu láy mẫu và ống dẫn kín | Xem 7.3 và Hình 2 |
| 3 | Bộ thu sợi | Màng lọc (hỗn hợp este) | Hiệu suất > 98 % với cỡ hạt 3 m |
| 4 | Đồng hồ đo dòng lấy mẫu | Tấm giới hạn và lỗ giới hạn biến đổi dòng | Độ chính xác của lưu lượng dòng khoảng ± 2 % |
| 5 | Bộ điều chỉnh lấy mẫu | Van điều chỉnh hoặc phương pháp tương đương để điều chỉnh dòng | Có khả năng duy trì lấy mẫu đẳng tốc (xem 12.3) |
| 6 | Bơm | Bơm chân không hoặc quạt, hoặc thiết bị tương đương có đặc tính dòng nhẹ | Phù hợp đối với lấy mẫu đẳng tốc và cần được làm kín khí khi sử dụng đồng hồ đo khí tích hợp |
| 7 | Thiết bị đo thể tích mẫu | Đồng hồ đo khí khô tích hợp hoặc thiết bị tương đương (xem Phụ lục B) | Thể tích khí đo được có độ chính xác ± 2 % |
| 8 | Thiết bị đo nhiệt độ (trong đường ống) | Cặp nhiệt kế của thiết bị tương đương | Độ chính xác đến ± 1 % của nhiệt độ tuyệt đối |
| 9 | Thiết bị đo dòng | Ống Pitot tĩnh (xem Phụ lục B) nối với thiết bị đo áp suất chênh lệch | Phù hợp với ISO 3966 |
| 10 | Hộp chứa mẫu | Kín | Đủ lớn để chứa hộp đựng cái lọc |
| 11 | Kính hiển vi quang học | Phản pha | Phù hợp với TCVN 6504 |
| 12 | Thiết bị làm sạch màng lọc | Axeton/Triacetin (xem Hình 4) | Phù hợp với TCVN 6504 |
| 13 | Thiết bị đo thời gian | Đồng hồ bấm giờ | Đọc được chính xác đến 1 s |
| 14 | Thiết bị đo kích thước đường ống | Thanh hiệu chuẩn có thể rút ra chắc chắn hoặc tương đương (xem Điều 8) | Đường kính trong của ống đo đến ± 1 % |
| 15 | Thiết bị đo áp suất khí quyển | Khí áp kế hoặc thiết bị tương đương | Độ chính xác đến ± 1 % |

CHÚ THÍCH: Các con số trong hình tương ứng với danh mục các thiết bị trong Bảng 3
Hình 1 - Sơ đồ lấy mẫu điển hình

Hình 2- Lỗ lấy mẫu điển hình với giá đỡ đầu đo/Nắp đậy lỗ đo

a) Ví dụ 1

b) Ví dụ 2

c) Ví dụ 3
Hình 3 - Đầu lấy mẫu điển hình và thiết kế hộp giữ cái lọc
7.2. Danh mục thiết bị
Một bản danh mục đầy đủ về thiết bị được cho trong Bảng 3. Các số được ấn định là bảy thiết bị đầu tiên liên quan đến những thiết bị được nêu ở Hình 1, trong hình đó chỉ ra một chuỗi lấy mẫu điển hình. Tất cả thiết bị được sử dụng để lấy mẫu và phân tích phải tuân thủ những yêu cầu nêu trong Bảng 3.
7.3. Đầu lấy mẫu (bao gồm cả lỗ lấy mẫu và bộ phận thu giữ sợi)
Ống lấy mẫu cần phải nối với đầu lấy mẫu và hộp giữ giấy lọc và đủ dài để có thể đưa những bộ phận này vào trong ống dẫn qua lỗ lấy mẫu, tại điểm lấy mẫu. Ống lấy mẫu được cung cấp một thiết bị có cơ chế để bịt kín lỗ vào sao cho sự thâm nhập của không khí xung quanh và thất thoát khí từ ống dẫn được giữ ở mức tối thiểu.
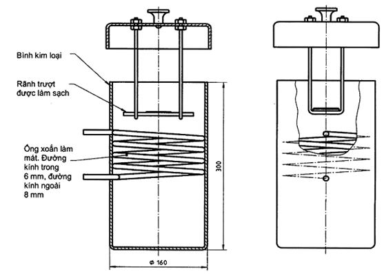
Đơn vị tính bằng milimet

a) Bình đun axeton

Hình 4 - Thiết bị làm sạch giấy lọc điển hình
CHÚ THÍCH 6: Thiết bị cơ khí này cũng có thể tác dụng như một giá đỡ và một phương tiện để giữ chặt đầu lấy mẫu vào đúng các vị trí lấy mẫu. Một thiết kế điển hình được chỉ ra ở Hình 2.
Đầu lấy mẫu (xem Hình 3) về cơ bản đầu phải nhọn, nhưng đủ ngắn để giảm thiểu khả năng lắng đọng các sợi. Tuy nhiên, cần phải đủ cứng (bền) để ngăn ngừa hư hỏng trong thời gian sử dụng.
CHÚ THÍCH 7: Những thiết kế được chỉ ra ở Hình 3 đã được đánh giá để đảm bảo sự phân bố đồng đều các sợi trên màng lọc.
Đường kính của đầu lấy mẫu ở lối vào không được nhỏ hơn 4 mm.
Các nghiên cứu đã chứng minh rằng khi việc lấy mẫu đẳng tốc có thể duy trì được, thì có thể sử dụng đầu lấy mẫu dưới 2 mm.
Không được giảm đường kính trong của tất cả đoạn ống đầu đo đưa vào lỗ lấy mẫu. Bất kỳ sự thay đổi trong đường kính lỗ khoan cần được chuốt thon và các khớp nối cần được làm nhẵn để ngăn ngừa các sợi lắng đọng. Mọi chỗ uốn trong đoạn này cần có bán kính tối thiểu bằng 1,5 lần đường kính lỗ khoan của đầu lấy mẫu. Bề mặt bên trong của mũi và các ống trước màng lọc cần phải làm nhẵn (nghĩa là độ ráp £ 0,2 mm) để các sợi không lắng đọng.
Cần phải có sẵn các đầu lấy mẫu có kích thước khác nhau, như thế các mẫu có thể được hút đẳng tốc từ dòng khí trong các ống dẫn tại mọi mức tốc độ.
Bộ phận thu gom sợi có thể là kiểu giấy lọc màng, được đặt càng sát phía sau đầu lấy mẫu càng thích hợp, để giảm thiểu sự lắng đọng ở những vùng không mong muốn (xem các dạng điển hình trong Hình 3)
7.4. Tốc độ lấy mẫu và thể tích lấy mẫu
Bơm được sử dụng để hút mẫu phải có khả năng duy trì việc lấy mẫu đẳng tốc ở tất cả các vị trí (xem 12.3). Vì thế bơm phải khắc phục được sự giảm áp sinh ra do thiết bị lấy mẫu và chính trong ống dẫn, và phải đảm bảo dòng ổn định liên tục.
Điều chỉnh tốc độ lấy mẫu cần được thực hiện bằng cách sử dụng một van kiểm soát, mặc dù có thể kiểm soát điện áp của bộ phận hút nếu như nó đủ nhạy.
CHÚ THÍCH 8: Trong hầu hết các trường hợp, các lỗ giới hạn dòng biến đổi là có sẵn để kiểm soát dòng nhưng cũng có thể sử dụng tấm giới hạn. Mặc dù lỗ giới hạn dòng biến đổi được dùng để kiểm soát tốc độ dòng lấy mẫu để lấy mẫu đẳng tốc nhưng cần đảm bảo đo chính xác thể tích khí đã lấy mẫu.
7.5. Đo lưu lượng và nhiệt độ trong ống dẫn
Sử dụng ống Pitot tĩnh thỏa mãn các yêu cầu trong ISO 3966 để đo lưu lượng của các khí trong ống dẫn. Tuy nhiên, nếu trong các điều kiện rất ẩm ướt cản trở việc sử dụng thiết bị này, thì được phép sử dụng ống Pitot Stauschibe đã hiệu chuẩn (xem TCVN 5977).
CHÚ THÍCH 9: Hơi ẩm trong các dòng khí sẽ ảnh hưởng bất lợi đến giấy lọc màng, và có thể gây rách giấy.
CHÚ THÍCH 10: Hầu hết các cặp nhiệt có đủ độ chính xác để đo nhiệt độ.
8. Các phương tiện ở nơi lấy mẫu
8.1. Khái quát
Trước khi lấy mẫu ở nơi có amiăng, bằng cách kiểm tra, đảm bảo rằng các phương tiện lấy mẫu là phù hợp bằng cách kiểm tra khả năng tiếp cận bệ lấy mẫu, các khía cạnh an toàn (xem trang 5), nguồn cung cấp điện và dữ liệu về dòng (xem 8.2) trong ống dẫn.
Tuy nhiên, nếu việc lấy mẫu chưa từng được thực hiện trước đây, xác định vị trí lấy mẫu tốt nhất phía sau thiết bị thu gom bụi (xem 8.2)
8.2. Những điều kiện cần thiết đối với vị trí lấy mẫu phù hợp
Vị trí lấy mẫu phải thỏa mãn những yêu cầu của tiêu chuẩn này cần áp dụng các điều kiện sau đây:
a) góc của dòng khí phải nhỏ hơn 15° so với trục ống dẫn;
b) không được có các dòng khí quặt lại ở bất kỳ điểm lấy mẫu nào;
c) sự giảm áp khi sử dụng các ống Pitot tiêu chuẩn không được nhỏ hơn 5 Pa;
d) tỷ lệ giữa tốc độ cao nhất và tốc độ thấp nhất của dòng khí phải nhỏ hơn 3:1;
e) nhiệt độ tuyệt đối ở bất kỳ điểm nào phải nhỏ hơn ± 5 % so với nhiệt độ tuyệt đối trung bình.
Nếu không tuân thủ được các tiêu chí này, thử ở các vị trí khác cho đến khi những vị trí này đạt yêu cầu.
Để kiểm chứng xem có thể thỏa mãn được các tiêu chí này hay không, đo áp suất chênh lệch khi sử dụng ống Pitot ở mười điểm cách đều nhau theo chiều dài mỗi đường lấy mẫu (xem Hình 5). Các số đọc không được thực hiện ở vùng gần thành của ống dẫn (nghĩa là không nằm trong khoảng 3 % của đường kính ống dẫn hiệu dụng, hoặc 30 mm, tới điểm lớn hơn). Tương tự, cần phải đo nhiệt độ tại mỗi điểm này.
CHÚ THÍCH 11: Vị trí lấy mẫu cần phải đặt theo chiều dài của ống dẫn thẳng với hình dạng ổn định, hướng thẳng đứng là phù hợp hơn, càng xa các vị trí gây ra dòng xáo trộn và có sự thay đổi hướng của dòng chảy của dòng chảy (ví dụ, chỗ uốn, quạt, van khí kiểu lá chắn được đóng một phần). Vị trí lấy mẫu cũng phải có khoảng cách xa so với hạ lưu ống dẫn, thích hợp nhất là bằng một vài lần đường kính ống dẫn theo chiều dài, để các điều kiện từ a) đến e) có thể được đáp ứng. Nếu các điều kiện này không thể đáp ứng, tham khảo Phụ lục A.
Nếu việc lấy mẫu trong các ống dẫn nằm ngang bắt buộc phải thực hiện, cần cân nhắc để có lỗ lấy mẫu đặt ở phần phía trên của ống dẫn.
CHÚ THÍCH 12: Trước khi đặt các lỗ lấy mẫu chính thức, nên khoan những lỗ nhỏ trong ống dẫn, tại các vị trí có khả năng lấy mẫu và tiến hành khảo sát sơ bộ lưu lượng và nhiệt độ.
8.3. Vị trí của lỗ lấy mẫu
Lỗ lấy mẫu cần phải đặt ở phần cuối của mỗi đường lấy mẫu như chỉ ra ở Hình 5.
Các điểm lấy mẫu được định vị trên các đường lấy mẫu mà chúng cùng trên một mặt phẳng. Các đường có thể nằm vuông góc hoặc song song với nhau, phụ thuộc vào hình dạng của ống dẫn.
8.4. Bệ lấy mẫu
Khi tổ chức lấy mẫu ở độ cao trên ống khói, sẽ cần một bệ lấy mẫu để tạo thuận lợi cho người lấy mẫu thực hiện công việc của mình và dùng để đặt thiết bị lấy mẫu.
Bệ lấy mẫu cần phải đảm bảo được tất cả những yêu cầu an toàn được quy định trong tiêu chuẩn quốc gia. Chỉ dẫn về những yêu cầu an toàn phải được xem xét tại chỗ và được nêu ở trang 5.
CHÚ THÍCH 13: Nếu việc lấy mẫu có thể thực hiện được ở mặt đất, không cần thiết phải có bệ lấy mẫu.


D Đường kính của ống
L Chiều dài của ống
W Chiều rộng của ống
Hình 5 - Vị trí các điểm lấy mẫu
9. Công việc tại hiện trường trước khi lấy mẫu
9.1. Khái quát
Trước khi thực hiện mọi phép đo, ghi chép đầy đủ tất cả các dữ liệu thích hợp về các quá trình có amiăng liên quan và các hoạt động của chúng, để đảm bảo rằng chúng sẽ hoạt động khi lấy mẫu. Những tờ ghi số liệu điển hình về vị trí lấy mẫu được nêu ở Phụ lục C. Vì tính chất nguy hại hay tiềm ẩn của amiăng, thực hiện tất cả những cảnh báo an toàn phù hợp (xem trang 5).
Đặt các tờ giấy lọc màng vào trong giá đỡ cái lọc ở nơi không khí sạch không có bụi sợi.
Lắp đặt thiết bị lấy mẫu để sử dụng (sử dụng các mũi phù hợp), và kiểm tra độ rò rỉ của thiết bị lấy mẫu như sau. Bịt kín lối vào của đầu lấy mẫu bằng một nút cao su, ghép nối hệ chân không 50 kPa vào chuỗi lấy mẫu và đóng kín lại. Nếu số đọc trên thiết bị đo khí khô di chuyển, tốc độ rò rỉ cực đại có thể chấp nhận được là 0,5 L/min.
9.2. Diện tích cắt ngang tại mặt phẳng lấy mẫu
Đo kích thước bên trong của ống dẫn hoặc ống khói và tính diện tích cắt ngang có sẵn cho dòng.
CHÚ THÍCH 14: Không cần sử dụng thiết bị đo vận tốc khí hoặc đầu lấy mẫu có đầu lấy mẫu cho mục đích này.
Nếu như diện tích mặt cắt ngang được lấy từ bản vẽ kỹ thuật, kiểm tra xem liệu các bản vẽ có phù hợp với ống dẫn không. Nếu không thì dựa vào các số đo ống dẫn.
9.3. Khảo sát vận tốc và nhiệt độ
Tiến hành đo vận tốc và nhiệt độ dọc theo mỗi đường lấy mẫu như đã mô tả ở 8.2, kể cả điểm giữa của một trong các đường lấy mẫu, và ghi lại để sử dụng trong 9.5 và 10.2. Cần phải sử dụng áp kế để đo và ghi lại áp suất khí quyển (ở cùng độ cao với vị trí lấy mẫu).
9.4. Số lượng và vị trí các điểm lấy mẫu
Lấy mẫu đẳng tốc cần phải được thực hiện (xem Điều 10) từ bốn hoặc tám điểm lấy mẫu, phụ thuộc vào kích thước của ống dẫn. Các điểm lấy mẫu này cần phải đặt ở trung tâm của bốn hoặc tám diện tích bằng nhau bên trong ống dẫn. Nếu như thiết diện của ống dẫn vượt quá 3 m2 ở mặt phẳng lấy mẫu, hoặc nếu như tỷ số của số đọc cao nhất và thấp nhất của ống Pitot -tĩnh 4:1 (nghĩa là tỷ số tốc độ khí lớn hơn 2:1), khi đó phải sử dụng tám điểm lấy mẫu, nếu có thể, lấy mẫu tích lũy để đáp ứng được tốc độ dòng lấy mẫu, thể tích lấy mẫu và số sợi trên giấy lọc. Tùy thuộc vào hình dáng và kích thước của ống dẫn và sau khi tham khảo Hình 5, xác định số lượng và vị trí của các điểm lấy mẫu.
9.5. Lấy mẫu sơ bộ
9.5.1. Để đảm bảo rằng chế độ lấy mẫu chính xác được áp dụng khi lấy hai mẫu xác định, lấy một mẫu sơ bộ từ tâm của ống dẫn như sau.
Sử dụng số đọc đã ghi ở 9.3, tính vận tốc khí ở tâm của ống dẫn (xem Điều 12). Sau đó tham khảo biểu đồ đã lập cho vận tốc lấy mẫu/đường kính mũi (hình 6), tính đường kính mũi rộng nhất và tỉ lệ lấy mẫu đẳng tốc.
CHÚ THÍCH 15: Lý do để chọn đầu lấy mẫu rộng là để đảm bảo cho khoảng thời gian lấy mẫu càng ngắn càng tốt.
Khi chọn đầu lấy mẫu, ước lượng khoảng thời gian lấy mẫu Q (tính theo min) cần sử dụng công thức (1), giả thiết rằng nồng độ sợi trong ống dẫn vào khoảng 2 sợi/cm3 và lượng tải lượng tối ưu trên giấy lọc sẽ là 300 sợi/mm2:

Trong đó:
AF diện tích lọc hiệu dụng của màng lọc, tính bằng milimet vuông (mm2);
R tốc độ lấy mẫu, tính bằng mét khối trên phút (m3/min).
VÍ DỤ:
Nếu AF = 300 mm2 và R = 0,01 m3/min
Khi đó khoảng thời gian lấy mẫu Q = 15 x 10-5 x
= 4,5 min
Mặt khác, ước lượng tốc độ lấy mẫu và khoảng thời gian lấy mẫu bằng cách tham khảo biểu đồ như nêu ở Hình 7.
CHÚ THÍCH 16: Khoảng thời gian lấy mẫu tối ưu có thể từ 2 min đến 10 min.
9.5.2. Lắp đầu lấy mẫu đã chọn (xem 9.5.1) vào thiết bị lấy mẫu và đảm bảo rằng van kiểm soát đã được đóng. Sau đó đưa đầu lấy mẫu qua một trong số lỗ lấy mẫu và đặt mũi ở trung tâm của đường lấy mẫu. Đảm bảo rằng mũi đang quay về hướng thẳng góc so với dòng khí, nhưng không hướng lên phía trên để ngăn các hạt hoặc các sợi không mong muốn đi vào thiết bị.
Để thiết bị trong ống dẫn đạt tới nhiệt độ của khí trong ống dẫn, nhằm tránh sự ngưng tụ trong thiết bị.
Cùng một lúc bật bơm, quay đầu lấy mẫu đến khi nằm ở hướng ngược dòng khí (trong 10 °) bấm đồng hồ và mở van kiểm soát. Điều chỉnh van kiểm soát để có được tốc độ lấy mẫu đẳng tốc cần thiết (xem 9.5.1) trên lưu lượng kế.
Trong suốt quá trình lấy mẫu điều chỉnh van kiểm soát nếu cần để giữ tốc độ lấy mẫu đẳng tốc. Vận tốc dòng khí qua lỗ lấy mẫu nằm trong khoảng sai số ± 10%, ứng với vận tốc của khí trong ống dẫn ở điểm lấy mẫu.
9.6. Vận chuyển mẫu và đánh giá mẫu
Ngay khi khoảng thời gian (xem 9.5.1) của chu kỳ lấy mẫu được tính đã hết, cùng một lúc đóng van kiểm soát, quay mũi 90° (nhưng không ngược dòng) và tắt bơm. Sau đó rút cẩn thận đầu lấy mẫu ra khỏi ống dẫn, và cũng rút mũi, bộ phận lọc và đặt vào trong một hộp sạch hoặc một túi sạch. Đóng nắp túi và đưa về phòng thí nghiệm để phân tích.

Hình 6 - Đồ thị điển hình về vận tốc/tốc độ lấy mẫu/đường kính lỗ lấy mẫu
10. Quy trình lấy mẫu
10.1. Khái quát
Đánh giá các kết quả phân tích từ 9.6, nếu như tải lượng các sợi của mẫu sơ bộ trong khoảng từ 100 sợi/mm2 đến 600 sợi/mm2, xem như khoảng thời gian lấy mẫu là thỏa mãn. Nếu như tải lượng lớn hơn hoặc nhỏ hơn khoảng này, khoảng thời gian lấy mẫu sẽ phải rút ngắn hoặc kéo dài.
CHÚ THÍCH 17: Cần phải biết vận tốc của khí trong ống dẫn ở các điểm lấy mẫu trước khi tiến hành lấy mẫu (xem 10.2 và 12.1)
Vì bản chất nhạy cảm của phương pháp thử, ghi chính xác và ghi đầy đủ tất cả các thông số vận hành của nhà máy (xem Điều 13).
10.2. Đường kính mũi, tốc độ lấy mẫu và khoảng thời gian lấy mẫu
Vận tốc và nhiệt độ của các khí trong ống dẫn ở các điểm lấy mẫu cần phải được đo và ghi lại (xem 9.3). Khi sử dụng các số liệu này, tham khảo biểu đồ đối chiếu vận tốc /tốc độ lấy mẫu/đường kính mũi (xem Hình 6) để chọn các kích thước mũi có thể sử dụng. Sau đó, tham khảo các thông tin đã được xác định trong 10.1, chọn đường kính mũi phù hợp nhất, cùng với tốc độ lấy mẫu và khoảng thời gian lấy mẫu sao cho sẽ cho tải lượng tối ưu (300 sợi/mm2) trên giấy lọc. Lắp mũi vào thiết bị lấy mẫu.
Vì khoảng thời gian lấy mẫu xác định trong 9.5 là dùng cho lấy mẫu đơn, nếu yêu cầu lấy mẫu ở bốn hoặc tám điểm, thì cần phải chia tổng khoảng thời gian lấy mẫu cho bốn hoặc cho tám.
Thời gian tối thiểu ở một điểm lấy mẫu khi lấy mẫu nhiều điểm sẽ là 3 min, và đối với lấy mẫu điểm đơn là 10 min.
10.3. Lấy mẫu chính thức
10.3.1. Khái quát
Cần phải lấy hai mẫu chính thức để đánh giá sự phát thải bằng kỹ thuật lấy mẫu tích tụ (10.3.2), nghĩa là mỗi mẫu chính thức chỉ được lấy trên một giấy lọc màng. Tuy nhiên, nếu kỹ thuật này có thể gây quá tải trên giấy lọc, hoặc yêu cầu thông tin chi tiết hơn về các nồng độ có trong ống dẫn, cho phép lấy các mẫu riêng biệt ở mỗi điểm lấy mẫu. Tuy nhiên, không được tính giá trị trung bình của các mẫu này vì chúng có thể cho các kết quả sai lệch.
Đối với mũi đã lắp chính xác và sử dụng thông tin từ 9.3, theo quy trình đã mô tả trong 9.5.2, nhưng vị trí mũi ở một trong các điểm lấy mẫu, ngoại trừ điểm trung tâm.
Nếu cần, điều chỉnh van kiểm soát trong suốt chu trình lấy mẫu, để giữ tốc độ lấy mẫu (xem 10.2). Vận tốc của khí được hút qua mũi vào có sai số trong khoảng ±10 %, tùy theo vận tốc của khí trong ống dẫn ở điểm lấy mẫu.

CHÚ THÍCH: Giả thiết dùng màng lọc 25 mm với diện tích tiếp xúc 368 mm2 và tải lượng 300 sợi/mm2
Hình 7 - Đồ thị thời gian lấy mẫu điển hình (đường kính đầu lấy mẫu 4 mm)
10.3.2. Lấy mẫu tích lũy (xem 3.3)
Sau khi mẫu thứ nhất đã được lấy trên giấy lọc, không sử dụng giấy lọc mới, nhanh chóng điều chỉnh lại ống lấy mẫu để đặt lại đầu lấy mẫu ở vị trí lấy mẫu thứ hai. Ngay lập tức điều chỉnh van kiểm soát để đọc lưu lượng cần thiết ở điểm lấy mẫu thứ hai (xem 10.2). Sau đó tiếp tục lấy mẫu như đã mô tả trong 9.5.2 và lặp lại quy trình, nếu cần, đến khi các mẫu được lấy ở tất cả các điểm của đường lấy mẫu thứ nhất (xem Hình 5). Đóng van kiểm soát và dừng đồng hồ đo thời gian. Tháo ống lấy mẫu ra khỏi lỗ lấy mẫu, đặt lại nó vào đường lấy mẫu tiếp theo và lặp lại quy trình này đến khi mẫu tích lũy được từ tất cả các điểm được lấy. Giấy lọc bây giờ chứa mẫu chính thức thứ nhất.
10.3.3. Chuyển mẫu
Lặp lại quy trình đã mô tả trong 9.6
10.3.4. Đo vận tốc và nhiệt độ
Lặp lại các phép đọc vận tốc khí và nhiệt độ ở mỗi điểm lấy mẫu ngay khi việc lấy mẫu ở tất cả các điểm lấy mẫu đã hoàn tất, nếu như tổng của các số đọc ống Pitot sai khác trên ± 10 % (hoặc tổng của các số đọc vận tốc khí sai khác trên ± 5 %) so với các số đọc ban đầu của 10.2, cho rằng các kết quả thử nghiệm không đạt độ chính xác (được) yêu cầu.
CHÚ THÍCH 18: Nếu xảy ra hiện tượng này, cần tìm hiểu nguyên nhân trước khi thử lặp lại quy trình.
Kiểm tra xem liệu điều kiện đẳng tốc đã được đáp ứng chưa (trong khoảng ±10 %) bằng cách so sánh tốc độ dòng đã tính cần phải được hút với tốc độ dòng lấy mẫu đo được theo các điều kiện ống dẫn thực tế (xem Điều 12).
Nếu không đạt được điều kiện đẳng tốc, loại bỏ phép đo, điều tra nguyên nhân và lặp lại phép đo.
10.4. Lấy mẫu chính thức thứ hai
Lặp lại quy trình đã mô tả ở 10.3 trong các điều kiện có thể thích hợp của nhà máy và càng nhanh càng tốt khi có thể thực hiện được.
CHÚ THÍCH 19: Nếu như mẫu thứ hai được lấy ngay sau mẫu thứ nhất, số đọc vận tốc khí và nhiệt độ được ghi lại khi kết thúc (10.3) có thể được sử dụng làm số đọc đầu tiên cho các mẫu thứ hai.
11. Quy trình phân tích
11.1. Lấy giấy lọc
Ngay khi bộ lấy mẫu/giấy lọc đưa an toàn về phòng thí nghiệm, mở hộp đựng giấy và gắp cẩn thận giấy lọc bằng kẹp nhọn đầu, cẩn thận để không sợi nào bật ra ngoài, và đặt giấy lọc lên trên lam thủy tinh sạch dùng cho kính hiển vi (xem TCVN 6504 [ISO 8672] về chi tiết làm sạch).
11.2. Làm sạch giấy lọc chuẩn bị cho đếm sợi
Sử dụng phương pháp axeton/triaxetin để làm trong và đặt vào lam kính được mô tả trong TCVN 6504:1999, Phụ lục A.
CHÚ THÍCH 20 Nguyên tắc của phương pháp là dùng một hỗn hợp dung môi lỏng để phá vỡ các lỗ của giấy lọc, làm cho nó bám chặt vào lam kính, sau đó làm nó trở thành một màng chất dẻo, trong suốt, và (một cách lý tưởng) là một màng mỏng chất dẻo đồng nhất, với các sợi trên mặt. Màng lọc được đặt lên lam thủy tinh chứa sợi. Nhỏ một vài giọt triaxetin lỏng lên trên bề mặt để cung cấp độ tương phản mong muốn cho các sợi và để đảm bảo sự tiếp xúc quang học. Sau đó một phiến kính mỏng và trong suốt được đặt lên trên (xem Hình 4b). Các mẫu được chuẩn bị theo cách này bị hư hỏng rất chậm. Trước khi mẫu thực được sử dụng, cần thực hành kỹ thuật chuẩn bị mẫu chuyên dụng này trên những giấy lọc trắng để có được kỹ năng cần thiết.
11.3. Đếm sợi
Đếm các sợi trên lam kính như mô tả trong TCVN 6504 (ISO 8672).
12. Phương pháp tính toán
12.1. Tính vận tốc khí
Tính vận tốc khí v, theo mét trên giây (m/s), tại điểm lấy mẫu từ các số đọc ống Pitot - tĩnh và nhiệt độ và tỷ trọng của các khí ống dẫn, khi sử dụng công thức sau

dp là sự chênh áp, tính bằng Pascal;
ρ là tỷ trọng của các khí ống dẫn, tính bằng kilogram trên mét khối;
t là nhiệt độ của các khí ống dẫn, tính bằng độ Celsius (°C);
K là hệ số hiệu chuẩn cho ống Pitot - tĩnh.
CHÚ THÍCH 21: Hệ số K sẽ thay đổi phù hợp với kiểu ống Pitot - tĩnh được sử dụng. Đối với các ống Prandtl K= 1.
CHÚ THÍCH 22: Trong thực tế, tỷ trọng của khí ống dẫn có thể được giả thiết là bằng không khí. Hơn nữa, nhiệt độ của các khí được hút mẫu từ nhiều quá trình amiăng không chắc là trên nhiệt độ môi trường xung quanh và vì vậy, nếu giả thiết rằng nhiệt độ ống dẫn là 15 °C, công thức (2) có thể được đơn giản thành

Trong đó k là hệ số hiệu chuẩn đã được đơn giản hóa cho ống Pitot - tĩnh.
12.2. Thể tích của không khí đã lấy mẫu
Nếu như vận tốc ở mỗi điểm lấy mẫu được ký hiệu là v1, v2, v3... , đường kính mũi là d1, d2, d3...và khoảng thời gian lấy mẫu là Q1, Q2, Q3 ...tương ứng, tính thể tích của khí đã lấy mẫu VT, tính bằng mét khối, như sau:

Tuy nhiên, nơi có đường kính mũi, d, và khoảng thời gian lấy mẫu, Q, ở tất cả các điểm mẫu là giống nhau, phương trình (4) có thể được đơn giản thành

Hiệu chỉnh về các điều kiện tiêu chuẩn công thức này trở thành
12.3. Thẩm định lấy mẫu đẳng tốc
Giả thiết cho rằng lấy mẫu đẳng tốc đã thực hiện đúng nếu thể tích mẫu đã lấy, Vs, nằm trong khoảng ± 10 % của thể tích mẫu đã đo V1, trình bày ở giới hạn sau:
0,09 VS <>V1 < 1,1="">VS …(7)
CHÚ THÍCH 23: Thể tích mẫu đã đo, V2, đó là số đã ghi được trên dụng cụ tích hợp, được hiệu chỉnh về điều kiện chuẩn.
12.4. Nồng độ sợi
Tính nồng độ của các sợi C, tính theo sợi trên mét khối, trong khí ống khói theo công thức

Trong đó
N là tổng số sợi đã đếm (từ 11.3);
n là số các mặt lưới đã kiểm tra (quan sát) (xem 11.3);
V1 là thể tích của mẫu khí, tính bằng mét khối (xem 12.3);
DF là đường kính của bề mặt giấy lọc đã tiếp xúc, tính bằng milimet (xem 11.3);
DG là đường kính của lưới Walton - Beckett, được đo bằng dụng cụ cỡ micro, tính bằng micro mét (xem 11.3).
Công thức (8) áp dụng cho từng giấy lọc riêng rẽ (xem 13.2)
13. Trình bày và diễn giải kết quả
13.1. Trình bày
Trình bày các thông số đo được, số liệu về lấy mẫu và xử lý, các kết quả phân tích theo dạng bảng. Giới hạn của các số liệu điển hình được nêu ra ở Phụ lục D. Ghi tất cả các số liệu thô và thể hiện chúng trên tờ rời ở nơi làm việc (một tờ rời điển hình được chỉ ra ở phụ lục C).
Khi gặp các điều kiện không lý tưởng, các điều kiện này cần phải được nói rõ. Hướng dẫn được cho ở Phụ lục A.
13.2. Diễn giải kết quả
Phương pháp dựa vào việc lấy một thể tích các khí chứa bụi đã tính, với giả thiết rằng nồng độ sợi trong ống dẫn là 2 sợi/cm3 và như vậy tải lượng của các sợi đã lấy trên giấy mẫu sẽ là 300 sợi/mm2. Những giả thiết này được kiểm tra đầu tiên bằng việc lấy mẫu sơ bộ. Qua kiểm tra bằng mắt giấy lọc màng, kiểm tra thiết bị lấy mẫu bụi và/hoặc việc đếm sợi của giấy lọc, có thể suy diễn xem liệu khoảng thời gian lấy mẫu đã chọn chính xác hay không. Điều này cho phép chọn khoảng thời gian lấy mẫu phù hợp hơn được dùng cho hai mẫu chính thức.
Nếu đếm số sợi trên hai giấy lọc (nghĩa là hai mẫu chính thức), thì cần phải tính trung bình. Nếu kết quả trung bình nhỏ hơn 2 sợi/cm3, điều đó chứng tỏ rằng thiết bị kiểm soát ô nhiễm hoạt động tốt. Tuy nhiên, nơi mà hai kết quả dao động trên 2 sợi/cm3, như vậy giá trị trung bình là không phù hợp. Thay vào đó, ghi riêng kết quả và lấy thêm hai mẫu.
CHÚ THÍCH 24: Nếu khi đếm phát hiện ra những vấn đề, có thể do những giả thiết sau:
a) Nếu nồng độ sợi vượt quá 2 sợi/cm3 hoặc không thể đếm vì có quá nhiều sợi trong cái lọc lấy mẫu, cần phải kiểm tra hoặc sửa chữa thiết bị kiểm soát ô nhiễm.
b) Nếu như số lượng sợi không đủ để đếm theo quy tắc đếm, hoặc nồng độ bằng hoặc dưới 2 sợi/cm3, thiết bị hoạt động tốt thực sự.
c) Khi một vài mẫu đã lấy có nồng độ trên dưới 2 sợi/cm3, rất khó để giải thích kết quả. Tuy nhiên, kết quả này có thể đề nghị là cần phải kiểm tra thiết bị kiểm soát ô nhiễm.
PHỤ LỤC A
(Tham khảo)
NHỮNG TRƯỜNG HỢP KHÔNG LÝ TƯỞNG
Nếu không thể thỏa mãn các tiêu chí trong tiêu chuẩn này, các tiêu chí thay thế được sử dụng như quy định trong Phụ lục này, nhưng chúng có thể cho các kết quả kém chính xác hơn.
A.1. Các vị trí lấy mẫu ít phù hợp
Nếu các tiêu chí quy định ở 8.2 không thỏa mãn, những thỏa hiệp phải được thực hiện để có thể tiến hành lấy mẫu. Tuy nhiên, có rất nhiều kinh nghiệm với nhiều sự lắp đặt hệ thống làm việc, trong đó các bệ lấy mẫu được sử dụng trong ống dẫn thẳng ngắn. Khi sử dụng kinh nghiệm này, các bệ lấy mẫu cần được chọn khoảng cách đảm bảo tối thiểu, tính theo đường kính thủy lực, từ vật cản trong hệ thống ống dẫn (xem Bảng A.1)
Bảng A.1 - Khoảng cách vị trí lấy mẫu đến vật cản trở
| Vật cản trở | Khoảng cách (đường kính thủy lực) |
| Đoạn cong của ống dẫn | 1 |
| Chỗ nối hai ống dẫn | 1 |
| Nón che ống khói đóng một phần | 3 |
| Lối xả của quạt | 4 |
| Lối ra của ống dẫn | 4 |
Cần xem xét để cải thiện lưu lượng dòng phía trên mặt phẳng lấy mẫu bằng cách, ví dụ: làm hẹp ống dẫn hoặc lắp đặt những ống dẫn dòng thẳng. Khi thiết lập một nhà máy mới, nên dành kinh phí thực hiện tiết diện ống dẫn thẳng để lấy mẫu phù hợp với tiêu chuẩn này.
Để đạt được độ chính xác tối đa của phương pháp, điều quan trọng là các yêu cầu đẳng tốc cần phải theo dõi chặt chẽ và mặt cắt ống dẫn cũng như đường kính hiệu dụng của mũi cần phải được xác định chính xác.
A.2. Vị trí của điểm lấy mẫu
Trong những ống có đường kính rất nhỏ, có thể dễ thực hiện hơn khi lấy mẫu ở điểm trung tâm của ống dẫn. Ở nơi lối vào bị giới hạn và dòng trong ống dẫn là đồng nhất, việc lấy mẫu có thể được tiến hành dọc theo một đường thẳng.
A.3. Quy trình phân tích
Trong thực hành thông thường, sử dụng kính hiển vi phản pha dương. Cũng có thể sử dụng kính hiển vi phản pha âm, nhưng có thể không đảm bảo xác định các sợi tốt được như vậy.
PHỤ LỤC B
(Tham khảo)
BẢO DƯỠNG THIẾT BỊ
B.1. Ống Pitot tĩnh
Thiết bị này thông thường rất mềm yếu và phải được thao tác bằng tay với sự thận trọng nếu như các phép đo chính xác đang được thực hiện. Các lỗ và ống phải được kiểm tra thường xuyên về tình trạng sạch. Nếu các chất lỏng áp kế được sử dụng, những chất này cần phải được làm đầy hoặc phải thay thường xuyên. Hướng dẫn chi tiết hơn được trình bày trong TCVN 5977.
B.2. Đầu lấy mẫu
Vì các mũi tốt nhất để lấy mẫu đẳng tốc là những mũi có cạnh sắc nhọn, quan trọng là chúng được xử lý với sự thận trọng cao. Sự va chạm nhẹ nhất hoặc lồi lõm ở đầu lấy mẫu sẽ ảnh hưởng đến độ chính xác của các phép đo. Không được sử dụng những mũi lồi lõm.
B.3. Đồng hồ tích hợp
Các đồng hồ tích hợp góp phần quan trọng trong việc đo lưu lượng vì vậy cần phải được hiệu chuẩn thường xuyên. Ngoài ra, nếu các đồng hồ này có thể được sử dụng trong các khí ẩm và ăn mòn, thì cần phải được xử lý chống ăn mòn và bảo dưỡng thường xuyên.
PHỤ LỤC C
(Tham khảo)
TỜ DỮ LIỆU ĐIỂN HÌNH CHO VỊ TRÍ LÀM VIỆC
Tên địa điểm và đặc điểm: Ngày thử:
Quy trình và sản phẩm đầu ra
Thiết bị kiểm soát ô nhiễm:

Cỡ màng lọc và loại:
| Phép thử tiến hành: | Sơ cấp bộ | 1 | 2 |
Đường kính đầu lấy mẫu:
Số lượng điểm lấy mẫu:
Thời gian lấy mẫu:
Vận tốc A3
A8
B3
B8
Thể tích lấy mẫu:
Tốc độ lấy mẫu:
A3
A8
B3
B8
Người lấy mẫu:
Người phân tích:
PHỤ LỤC D
(Tham khảo)
TRÌNH BÀY ĐẶC TRƯNG VỀ CÁC KẾT QUẢ
Cần phải chuẩn bị báo cáo bao gồm dữ liệu lấy mẫu và dữ liệu phân tích cũng như các kết quả thử nghiệm. Báo cáo cũng bao gồm các tính toán, cũng như mọi sự sai lệch so với tiêu chuẩn này.
Các phần tử được nêu trong D.1 và D.2 được cung cấp để hướng dẫn như kiểu dữ liệu cần phải đưa vào (xem lại Phụ lục C).
D.1. Quy trình
Tên vị trí và đặc điểm nhận dạng.
Ngày thử nghiệm.
Quy trình và sản phẩm đầu ra
Kiểu thiết bị kiểm soát ô nhiễm (kể cả nguyên lý hoạt động).
Kiểu phin lọc túi vải được sử dụng, tỷ lệ trạng thái không khí/túi vải và kiểu túi vải, chu kỳ làm sạch túi, v.v...
Phác thảo mặt bằng lấy mẫu và các kích thước.
Khái quát sơ đồ về hiện trường, chỉ rõ vị trí đặt thiết bị kiểm soát.
D.2. Thử nghiệm
Kết quả của từng phép thử và kết quả trung bình, số sợi/ centimét khối.
Dữ liệu vận tốc dòng.
Tốc độ dòng thể tích trong ống dẫn.
Nhiệt độ trung bình của các khí ống dẫn.
Đường kính đầu lấy mẫu và hình dạng.
Chuỗi lấy mẫu đã sử dụng.
Kiểu và kích thước cái lọc mẫu.
Khoảng thời gian lấy mẫu.
Thể tích đã lấy mẫu.
% của lấy mẫu đẳng tốc = (Thể tích đã lấy mẫu x 100)/(tốc độ lấy mẫu x thời gian x diện tích mũi)
Số sợi đã đếm trong mỗi diện tích
Tải lượng, sợi trên milimét vuông.
Số bộ đã ghi nhận.
Số các ô lưới không có sợi.
Mọi sai lệch so với tiêu chuẩn này.
PHỤ LỤC E
(Tham khảo)
ĐỘ CHÍNH XÁC VÀ ĐỘ ĐÚNG CỦA PHƯƠNG PHÁP
E.1. Khái quát
Những sai số đã đưa vào ước lượng các nồng độ sợi trong không khí bao gồm sai số lấy mẫu và sai số phân tích, mỗi sai số này bao gồm sai số hệ thống và sai số ngẫu nhiên. Việc áp dụng các quy trình chuẩn và lặp lại hàng ngày là cách duy nhất để kiểm soát phần lớn các nguồn sai số vốn có trong phương pháp lọc màng. Sai số sau đây mô tả một số nguồn sai số chung và cần chú ý để giữ những sai số này ở mức tối thiểu.
E.2. Sai số hệ thống
Sai số này có thể xảy ra cả trong quá trình lấy mẫu và trong quá trình phân tích
E.2.1. Lấy mẫu
Lưu lượng; thời gian lấy mẫu; lấy mẫu không đại diện hoặc sai lệch; sự nhiễm bẩn (cố ý hoặc ngẫu nhiên).
E.2.2. Phân tích
Diện tích cái lọc hiệu dụng; ô đếm (diện tích đếm); tiêu chí đếm; giá để cái lọc; sai lệch do người đếm; kính hiển vi; nhiễm bẩn.
E.3. Sai số ngẫu nhiên
Theo cách tương tự, những sai số này có thể xảy ra trong suốt quá trình lấy mẫu hoặc phân tích.
E.3.1. Lấy mẫu
Biến động trong tốc độ dòng; những thay đổi bất thường ngẫu nhiên của các khí của ống dẫn.
E.3.2. Phân tích
E.3.2.1. Biến động người đếm
E.3.2.2. Sự phân bố sợi trên giấy lọc
Sự lắng đọng chủ ý của bụi trên giấy lọc dẫn đến những sai số thô (tổng số), độ phóng đại của chúng không thể ước lượng được. Phải đếm hai mươi trường hoặc nhiều hơn để đảm bảo rằng sự khác biệt nhỏ do ngẫu nhiên không làm sai lệch kết quả.
E.3.2.3. Sai số Poisson
Vì chỉ có một phần mẫu nhỏ của các sợi đã lắng đọng trên giấy lọc được đếm, sai số sẽ tăng lên khi ước lượng tổng số sợi trên toàn bộ bề mặt giấy lọc. Bằng lý thuyết, phân bố Poison xác định sự khác nhau trong kết quả đếm sợi do quan sát các trường đếm được chọn lọc một cách ngẫu nhiên. Khi đã đếm được tối thiểu 100 sợi, và nếu như phân bố Poison phù hợp với các kết quả khi đếm, độ lệch chuẩn tương đối của các lần đếm sợi phải là ± 10 %. Thực nghiệm đã chỉ ra rằng phân bố thực tế của sợi đếm có thể không tuân theo phân bố Poison. Trong trường hợp đó độ lệch chuẩn có thể lớn hơn.
E.4. Độ chính xác tổng thể
Do bản chất của phương pháp lấy mẫu ống dẫn và phương pháp đếm sợi nên không thể nhận biết nồng độ sợi “thực” trong không khí. Vì vậy, không thể đánh giá được độ chính xác của phương pháp. Thậm chí độ đúng (hoặc độ lặp lại) của phương pháp cũng khó để định lượng vì sai số hệ thống trong nội bộ phòng thí nghiệm và liên phòng thí nghiệm có xu hướng tăng lên. Bằng cách chọn “ngẫu nhiên” người quan trắc và phòng thí nghiệm, những sai số hệ thống này do ngẫu nhiên vì thế có thể ước lượng độ đúng theo kinh nghiệm (nghĩa là khả năng tiếp cận gần nhất của độ chính xác với phương pháp không biết giá trị “thực”).
Nhiều nghiên cứu đã được tiến hành để đạt tới những đánh giá này, và cho đến nay chỉ một phần các kết luận đã được hoàn tất. Một trong những nghiên cứu trình bày lý thuyết phân bố Poison (xem E.3.2.3) như đóng góp khoảng tin cậy 95 % là ± 20 % đối với tổng 100 sợi đếm được, cho đến khoảng ± 35 % đối với chỉ 40 sợi đếm được trong 100 ô lưới.
Những nguồn sai số hệ thống và sai số ngẫu nhiên khác bổ sung đáng kể vào độ không đảm bảo trong ước lượng nồng độ sợi trong không khí.
Bạn chưa Đăng nhập thành viên.
Đây là tiện ích dành cho tài khoản thành viên. Vui lòng Đăng nhập để xem chi tiết. Nếu chưa có tài khoản, vui lòng Đăng ký tại đây!