- Tổng quan
- Nội dung
- Tiêu chuẩn liên quan
- Lược đồ
- Tải về
Tiêu chuẩn TCVN 7996-1:2009 Yêu cầu an toàn dụng cụ điện cầm tay chạy động cơ
| Số hiệu: | TCVN 7996-1:2009 | Loại văn bản: | Tiêu chuẩn Việt Nam |
| Cơ quan ban hành: | Bộ Khoa học và Công nghệ | Lĩnh vực: | Công nghiệp |
|
Ngày ban hành:
Ngày ban hành là ngày, tháng, năm văn bản được thông qua hoặc ký ban hành.
|
2009 |
Hiệu lực:
|
Đã biết
|
| Người ký: | Đang cập nhật |
Tình trạng hiệu lực:
Cho biết trạng thái hiệu lực của văn bản đang tra cứu: Chưa áp dụng, Còn hiệu lực, Hết hiệu lực, Hết hiệu lực 1 phần; Đã sửa đổi, Đính chính hay Không còn phù hợp,...
|
Đã biết
|
TÓM TẮT TIÊU CHUẨN VIỆT NAM TCVN 7996-1:2009
Nội dung tóm tắt đang được cập nhật, Quý khách vui lòng quay lại sau!
Tải tiêu chuẩn Việt Nam TCVN 7996-1:2009
TIÊU CHUẨN QUỐC GIA
TCVN 7996-1:2009
IEC 60745-1:2006
DỤNG CỤ ĐIỆN CẦM TAY TRUYỀN ĐỘNG BẰNG ĐỘNG CƠ - AN TOÀN - PHẦN 1: YÊU CẦU CHUNG
Hand-held motor-operated electric tools - Safety - Part 1: General requirements
Lời nói đầu
TCVN 7996-1: 2009 thay thế TCVN 4163-85;
TCVN 7996-1: 2009 hoàn toàn tương đương với IEC 60745-1: 2006;
TCVN 7996-1: 2009 do Ban kỹ thuật tiêu chuẩn quốc gia TCVN/TC/E1 Máy điện và khí cụ điện biên soạn, Tổng cục Tiêu chuẩn Đo lường Chất lượng đề nghị, Bộ Khoa học và Công nghệ công bố.
DỤNG CỤ ĐIỆN CẦM TAY TRUYỀN ĐỘNG BẰNG ĐỘNG CƠ - AN TOÀN – PHẦN 1: YÊU CẦU CHUNG
Hand-held motor-operated electric tools - Safety - Part 1: General requirements
1. Phạm vi áp dụng
Tiêu chuẩn này qui định các vấn đề về an toàn của các dụng cụ điện cầm tay truyền động bằng động cơ hoặc truyền động bằng nam châm, có điện áp danh định không lớn hơn 250 V đối với dụng cụ điện một pha xoay chiều hoặc một chiều và 440 V đối với dụng cụ điện ba pha xoay chiều.
Trong chừng mực có thể, tiêu chuẩn này đề cập đến những mối nguy hại phổ biến mà dụng cụ cầm tay có thể gây ra cho mọi người khi sử dụng bình thường và khi sử dụng sai ở mức hợp lý dự đoán được.
Dụng cụ có phần tử gia nhiệt bằng điện cũng thuộc phạm vi áp dụng của tiêu chuẩn này. Các dụng cụ này cũng phải phù hợp với các phần liên quan của bộ tiêu chuẩn TCVN 5699 (IEC 60335).
Phụ lục B nêu các yêu cầu đối với động cơ không cách ly với nguồn và có cách điện chính không được thiết kế ở điện áp danh định của dụng cụ. Phụ lục K nêu các yêu cầu đối với dụng cụ điện truyền động bằng động cơ hoặc truyền động bằng nam châm được cấp điện bằng acqui nạp lại được và đối với dàn acqui dùng cho các dụng cụ này. Phụ lục L nêu các yêu cầu đối với các dụng cụ được truyền động và/hoặc nạp điện trực tiếp từ nguồn lưới hoặc nguồn không có cách ly.
Dụng cụ điện cầm tay, sau đây gọi tắt là dụng cụ, có thể được lắp đặt trên giá đỡ hoặc chân đế để sử dụng như dụng cụ cố định mà không có bất kỳ thay đổi nào của chính dụng cụ cũng thuộc phạm vi áp dụng của tiêu chuẩn này. Các yêu cầu đối với giá đỡ hoặc chân đế được nêu trong Phụ lục M.
Tiêu chuẩn này không áp dụng cho:
- dụng cụ cầm tay được thiết kế để sử dụng ở những nơi có điều kiện môi trường đặc biệt như khí quyển có chứa chất dễ cháy, nổ (bụi, hơi hoặc khí);
- dụng cụ cầm tay sử dụng để sơ chế và chế biến thực phẩm;
- dụng cụ cầm tay dùng cho mục đích y tế (IEC 60601);
- dụng cụ gia nhiệt được đề cập trong TCVN 5699-2-45 (IEC 60335-2-45).
Dụng cụ cầm tay được thiết kế để sử dụng trên phương tiện giao thông hoặc trên boong tàu hoặc phương tiện hàng không cần có các yêu cầu bổ sung.
Dụng cụ cầm tay được thiết kế để sử dụng ở các nước nhiệt đới có thể cần có các yêu cầu riêng.
CHÚ THÍCH: Các cơ quan chức năng Nhà nước về y tế, bảo hộ lao động, cung cấp nước, v.v... có thể qui định các yêu cầu bổ sung.
2. Tài liệu viện dẫn
Các tài liệu viện dẫn dưới đây là cần thiết để áp dụng tiêu chuẩn này. Đối với các tài liệu có ghi năm công bố, chỉ áp dụng các bản được nêu. Đối với các tài liệu không ghi năm công bố, áp dụng bản mới nhất (kể cả các sửa đổi).
TCVN 4255: 2008 (IEC 60529: 2001), cấp bảo vệ bằng vỏ ngoài (Mã IP)
TCVN 5699-1: 2004 (IEC 60335-1: 2001), Thiết bị điện gia dụng và thiết bị điện tương tự - An toàn - Phần 1: Yêu cầu chung
TCVN 5878 (ISO 2178), Lớp phủ không từ trên chất nền từ - Đo chiều dày lớp phủ - Phương pháp từ
TCVN 6188 (IEC 60884) (tất cả các phần), ổ cắm và phích cắm dùng trong gia đình và các mục đích tương tự
TCVN 6385: 1998 (IEC 65: 1985), Yêu cầu an toàn đối với các thiết bị điện tử và các thiết bị có liên quan, sử dụng điện mạng dùng trong gia đình và các nơi tương tự
TCVN 6610 (IEC 60227) (tất cả các phần), Cáp cách điện bằng polyvinyl clorua có điện áp danh định đến và bằng 450/750V
TCVN 6615-1 (IEC 61058-1), Cơ cấu đóng cắt dùng cho thiết bị - Phần 1: Yêu cầu chung
IEC 60061-DB[1]: 2005, Lamp caps and holders together with gauges for the control of interchangeability and safety (Đầu đèn và đui đèn có các dưỡng để kiểm tra khả năng lắp lẫn và kiểm tra an toàn)
IEC 60068-2-75: 1997, Environmental testing - Part 2-75: Tests - Test Eh: Hammer tests (Thử nghiệm môi trường - Phần 2-75: Các thử nghiệm - Thử nghiệm Eh: Thử nghiệm búa)
IEC 60085, Electrical insulation - Thermal classification (Cách điện - Phân loại về nhiệt)
IEC 60112: 2003, Method for determination of the proof and comparative tracking indices of solid insulating materials (Phương pháp xác định chỉ số phóng điện bể mặt và chỉ số phóng điện tương đối của vật liệu cách điện rắn)
IEC 60127-3, Miniature fuses - Part 3: Sub-miniature fuse-links (Cầu chảy cỡ nhỏ - Phần 3 - Dây chảy siêu nhỏ)
IEC 60245 (tất cả các phần), Rubber insulated cables - Rated voltages up to and including 450/750 V (Cáp cách điện bằng cao su - Điện áp danh định đến và bằng 450/750 V)
IEC 60309 (tất cả các phần), Plugs, socket-outlets and couplers for industrial purposes (Ổ cắm, phích cắm và bộ nối dùng cho mục đích công nghiệp)
IEC 60320 (tất cả các phần), Appliance couplers for household and similar general purposes (Bộ nối thiết bị dùng trong gia đình và các mục đích tương tự)
IEC 60384-14, Fixed capacitors for use in electronic equipment - Part 14: Sectional specification: Fixed capacitors for electromagnetic interference suppression and connection to the supply mains (Tụ điện cố định dùng cho thiết bị điện tử - Phần 14: Qui định kỹ thuật từng phần: Tụ điện cố định dùng để triệt nhiễu điện từ và nối đến nguồn lưới)
IEC 60417-DB[2]: 2002, Graphical symbols for use on equipment (Ký hiệu bằng hình vẽ để sử dụng trên thiết bị)
IEC 60695-2-11, Fire hazard testing - Part 2-11: Glowing/hot-wire based test methods - Glow-wire flammability test method for end Products (Thử nghiệm nguy cơ cháy - Phần 2-11: Phương pháp thử nghiệm dựa trên sợi dây nóng đỏ/nóng - Phương pháp thử nghiệm khả năng cháy bằng sợi dây nóng đỏ đối với sản phẩm hoàn chỉnh)
IEC 60695-11-5, Fire hazard testing - Part 11-5: Test flames - Needle-flame test method - Apparatus, confirmatory test arrangement and guidance (Thử nghiệm nguy cơ cháy - Phần 11-5: Ngọn lửa thử nghiệm - Phương pháp thử nghiệm ngọn lửa hình kim - Thiết bị, bố trí và hướng dẫn thử nghiệm xác nhận)
IEC 60695-11-10, Fire hazard testing - Part 11-10: Test flames - 50 W horizontal and vertical flame test methods (Thử nghiệm nguy cơ cháy - Phần 11-10: Ngọn lửa thử nghiệm - Phương pháp thử nghiệm ngọn lửa 50 W đặt theo phương nằm ngang và theo phương thẳng đứng)
IEC 60730-1: 1999 amendment 1 (2003)[3] Automatic electrical Controls for household and similar use - Part 1: General requirements (Bộ điều khiển tự động bằng điện dùng trong gia đình và các mục đích tương tự - Phần 1: Yêu cầu chung)
IEC 60760, Flat, quick connect terminations (Đầu nối nối nhanh dạng dẹt)
IEC 60825-1 Safety of laser Products - Part 1: Equipment classification, requirements and user's guide (An toàn của sản phẩm laze - Phần 1: Phân loại, yêu cầu và hướng dẫn sử dụng thiết bị)
IEC 60998-2-1, Connecting devices for low voltage circuits for household and similar purposes - Part 2-1: Particular requirements for connecting devices as separate entities with screw-type clamping units (Cơ cấu đấu nối trong mạch điện hạ áp dùng trong gia đình và các mục đích tương tự - Phần 2-1: Yêu cầu cụ thể đối với cơ cấu đấu nối là thực thể riêng rẽ có bộ kẹp loại bắt ren)
IEC 60998-2-2 Connecting devices for low voltage circuits for household and similar purposes - Part 2-2: Particular requirements for connecting devices as separate entities with screwless-type clamping units (Thiết bị đấu nối trong mạch điện hạ áp dùng trong gia đình và các mục đích tương tự - Phần 2-2: Yêu cầu cụ thể đối với thiết bị đấu nối là thực thể riêng rẽ có bộ kẹp loại không bắt ren)
IEC 60999-1 Connecting devices - Electrical copper conductors - Safety requirements for screw-type and screwless-type clamping units - Part 1: General requirements and particular requirements for clamping units for conductors from 0,2 mm2 up to 35 mm2 (included) (Thiết bị đấu nối - Ruột dẫn điện bằng đồng - Yêu cầu an toàn đối với bộ kẹp loại bắt ren và loại không bắt ren - Phần 1: Yêu cầu chung và yêu cầu cụ thể đối với bộ kẹp dùng để kẹp các ruột dẫn có mặt cắt từ 0,2 mm2 đến và bằng 35 mm2)
IEC 61540: 1997, amendment 1: 1998, Electrical accessories - Portable residual current devices without integral overcurrent protection for household and similar use (PRCDs) (Khí cụ điện - Thiết bị dòng dư di động không lắp bảo vệ quá dòng dùng trong gia đình và mục đích tương tự (PRCDs))
IEC 61558-1, Safety of povver transformers, power supplies, reactors and similar products - Part 1: General requirements and tests (An toàn của máy biến áp điện lực, khối nguồn, cuộn kháng và các thiết bị tương tự - Phần 1: Yêu cầu chung và các thử nghiệm)
ISO 1463 Metallic and oxide coatings - Measurement of coating thickness - Microscopical method (Lớp phủ kim loại và lớp phủ ôxit - Đo chiều dày lớp phủ - Phương pháp dùng kính hiển vi)
ISO 3864-2 Graphical symbols - Safety colours and safety signs - Part 2: Design principles for product safety labels (Ký hiệu bằng hình vẽ - Màu an toàn và ký hiệu an toàn - Phần 2: Nguyên tắc thiết kế đối với nhãn an toàn của sản phẩm)
ISO 7010 Graphical symbols - Safety colours and safety signs - Safety signs used in workplaces and public areas (Ký hiệu bằng hình vẽ - Màu an toàn và ký hiệu an toàn - Ký hiệu an toàn sử dụng tại nơi làm việc và khu vực công cộng)
ISO 9772 Cellular plastics - Determination of horizontal burning characteristics of small specimens subjected to a small flame (Chất dẻo - Xác định đặc tính cháy theo phương nằm ngang của mẫu cỡ nhỏ khi phải chịu ngọn lửa nhỏ)
3. Thuật ngữ và định nghĩa
Trong tiêu chuẩn này, áp dụng các thuật ngữ và định nghĩa dưới đây.
Khi sử dụng thuật ngữ điện áp và dòng điện, thì chúng là các giá trị hiệu dụng, trừ khi có qui định khác.
Trong tiêu chuẩn này, khi sử dụng cụm từ "có dụng cụ hỗ trợ", "không có dụng cụ hỗ trợ" và "đòi hỏi sử dụng dụng cụ" thì từ "dụng cụ" này có nghĩa là dụng cụ thủ công, ví dụ như tuốcnơvít được sử dụng để vặn vít hoặc các phương tiện dùng để cố định khác.
3.1.
Bộ phận chạm tới được (accessible part)
Bộ phận có thể chạm tới bằng ngón tay thử nghiệm tiêu chuẩn trên Hình 1, riêng đối với các phần kim loại chạm tới được còn bao gồm tất cả các phần kim loại nối với bộ phận chạm tới được đó.
3.2.
Phụ kiện (accessory)
Cơ cấu chỉ được gắn với kết cấu đầu ra của dụng cụ.
3.3.
Ngắt tất cả các cực (all-pole disconnection)
Ngắt điện tất cả các dây nguồn, ngoại trừ dây nối đất bảo vệ, chỉ bằng một tác động duy nhất.
3.4.
Phụ kiện đi kèm (attachment)
Cơ cấu đi kèm với vỏ bọc hoặc thành phần khác của dụng cụ, có thể đi kèm hoặc không đi kèm với cơ cấu đầu ra và không làm thay đổi việc sử dụng bình thường của dụng cụ thuộc phạm vi áp dụng của tiêu chuẩn này.
3.5.
Cách điện chính (basic insulation)
Cách điện, không nhất thiết gồm cả cách điện chức năng, đặt lên các bộ phận mang điện tạo nên bảo vệ chính chống điện giật.
3.6.
Dụng cụ cấp I (class I tool)
Dụng cụ, trong đó việc bảo vệ chống điện giật không chỉ dựa vào cách điện chính, cách điện kép hoặc cách điện tăng cường mà còn có thêm biện pháp phòng ngừa an toàn bằng cách nối bộ phận dẫn chạm tới được với dây nối đất bảo vệ của hệ thống đi dây cố định sao cho nếu cách điện chính bị hỏng thì bộ phận dẫn chạm tới được cũng không thể trở nên mang điện. Cũng có thể hiểu rằng dụng cụ cấp I là dụng cụ có cách điện kép và/hoặc cách điện tăng cường, vừa có đầu nối đất hoặc tiếp điểm nối đất.
3.7.
Dụng cụ cấp II (class II tool)
Dụng cụ, trong đó việc bảo vệ chống điện giật không chỉ dựa vào cách điện chính mà còn có các phòng ngừa an toàn bổ sung như cách điện kép hoặc cách điện tăng cường, không có phương tiện nối đất bảo vệ hoặc không dựa vào điều kiện lắp đặt.
3.8.
Dụng cụ cấp III (class III tool)
Dụng cụ, trong đó việc bảo vệ chống điện giật dựa vào nguồn điện có điện áp cực thấp an toàn, và trong đó không xuất hiện điện áp lớn hơn điện áp cực thấp an toàn.
3.9.
Kết cấu cấp II (class II construction)
Bộ phận của dụng cụ, trong đó việc bảo vệ chống điện giật dựa vào cách điện kép hoặc cách điện tăng cường.
3.10.
Kết cấu cấp III (class III construction)
Bộ phận của dụng cụ, trong đó việc bảo vệ chống điện giật dựa vào điện áp cực thấp an toàn và trong đó không xuất hiện điện áp lớn hơn điện áp cực thấp an toàn.
3.11.
Khe hở không khí (clearance)
Khoảng cách ngắn nhất đo được trong không khí giữa hai bộ phận dẫn hoặc giữa một bộ phận dẫn và bề mặt bên ngoài của vỏ bọc, được xem như có lá kim loại được ép tiếp xúc với bề mặt chạm tới được của vật liệu cách điện.
CHÚ THÍCH: Ví dụ về khe hở không khí được cho trong Phụ lục A.
3.12.
Chiều dài đường rò (creepage distance)
Đường ngắn nhất đo được dọc theo bề mặt vật liệu cách điện giữa hai bộ phận dẫn hoặc giữa một bộ phận dẫn và bề mặt bên ngoài của vỏ bọc, được xem như có lá kim loại được ép tiếp xúc với bề mặt chạm tới được của vật liệu cách điện.
CHÚ THÍCH: Ví dụ về chiều dài đường rò được cho trong Phụ lục A.
3.13.
Dây dẫn tháo rời được (detachable cord)
Dây dẫn mềm, dùng để cấp nguồn, được thiết kế để nối vào dụng cụ bằng cơ cấu đấu nối thích hợp.
3.14.
Bộ phận tháo rời được (detachable part)
Bộ phận có thể tháo hoặc mở ra mà không cần dụng cụ hỗ trợ, hoặc bộ phận được tháo ra theo hướng dẫn sử dụng, trừ các hạng mục để người sử dụng bảo dưỡng, cho dù việc tháo rời đòi hỏi sử dụng dụng cụ.
3.15.
Cách điện kép (double insulation)
Hệ thống cách điện gồm cả cách điện chính và cách điện phụ.
3.16.
Mạch điện tử (electronic circuit)
Mạch điện có lắp ít nhất một linh kiện điện tử.
3.17.
Linh kiện điện tử (electronic component)
Bộ phận trong đó sự dẫn điện được thực hiện chủ yếu bởi các điện tử di chuyển qua chân không, chất khí hoặc chất bán dẫn, trừ bộ chỉ thị bằng đèn nêôn.
3.18.
Dụng cụ loại thay thế (exchange type tool)
Dụng cụ được thiết kế không cần sửa chữa hoặc chỉ do bộ phận dịch vụ của nhà chế tạo sửa chữa.
3.19.
Điện áp cực thấp (extra-low voltage)
Điện áp được cung cấp từ nguồn bên trong dụng cụ và khi dụng cụ này được cấp nguồn ở điện áp danh định, điện áp này không lớn hơn 50 V giữa các dây dẫn và giữa dây dẫn và đất.
3.20.
Điều kiện làm việc rất khắc nghiệt của vật liệu cách điện (extra-severe duty conditions of insulating material)
Nơi có lắng bám nặng bụi dẫn nhưng chịu ứng suất điện trong thời gian dài; hoặc nơi có lắng bám rất nặng bụi dẫn nhưng chịu ứng suất điện trong thời gian ngắn.
3.21. Dụng cụ cầm tay (gọi tắt là "dụng cụ") (hand-held tool)
Máy móc truyền động bằng động cơ hoặc truyền động bằng nam châm được thiết kế để làm các công việc cơ khí, có hoặc không có phương tiện để lắp đặt trên giá đỡ và được thiết kế sao cho động cơ và máy tạo thành một khối có thể dễ dàng mang đến nơi làm việc và được cầm hoặc đỡ bằng tay hoặc treo lên trong quá trình làm việc.
CHÚ THÍCH: Dụng cụ cầm tay có thể được trang bị trục mềm, động cơ được cố định hoặc di động.
3.22.
Làm việc gián đoạn (intermittent operation)
Làm việc trong một chuỗi các chu kỳ giống nhau qui định, mỗi chu kỳ bao gồm thời gian làm việc có tải bình thường, tiếp đó là thời gian nghỉ với dụng cụ chạy không tải hoặc được ngắt điện.
3.23.
Hệ thống chất lỏng (liquid system)
Hệ thống sử dụng nước hoặc chất lỏng chủ yếu là nước từ nguồn bên ngoài hoặc nguồn tích hợp cần thiết để hoàn thành chức năng dự kiến của dụng cụ.
3.24.
Bộ phận mang điện (live part)
Dây dẫn hoặc bộ phận dẫn được thiết kế để mang điện trong sử dụng bình thường, kể cả dây trung tính, nhưng theo qui ước, không phải là dây PEN.
3.25.
Công suất/dòng điện không tải (no-load input/current)
Công suất hoặc dòng điện lớn nhất đạt được khi dụng cụ làm việc ở điện áp và tần số danh định nhưng không có tải bên ngoài đặt vào phụ kiện đi kèm dụng cụ do nhà chế cung cấp và được điều chỉnh theo hướng dẫn của nhà chế tạo, sẵn sàng để sử dụng.
3.26.
Bộ phận không tháo rời được (non-detachable part)
Bộ phận chỉ có thể tháo hoặc mở ra bằng dụng cụ hỗ trợ, hoặc bộ phận thoả mãn thử nghiệm ở 21.22.
3.27.
Thiết bị cắt theo nguyên lý nhiệt không tự phục hồi (non-self-resetting thermal cut-out)
Thiết bị cắt theo nguyên lý nhiệt đòi hỏi phải tác động bằng tay để phục hồi hoặc phải thay thế một bộ phận để phục hồi dòng điện.
3.28.
Điều kiện làm việc bình thường của vật liệu cách điện (normal duty conditions of insulating material) Nơi mà hầu như không có lắng bám bụi dẫn nhưng chịu ứng suất điện trong thời gian dài; hoặc nơi có lắng bám nhẹ bụi dẫn nhưng chịu ứng suất điện trong thời gian ngắn.
3.29.
Tải bình thường (normal load)
Tải đặt vào dụng cụ ở điện áp danh định hoặc ở giới hạn trên của dải điện áp danh định để đạt được công suất danh định hoặc dòng điện danh định, phải tuân thủ ghi nhãn làm việc ngắn hạn hoặc làm việc gián đoạn và nếu không có qui định khác thì các phần tử gia nhiệt, nếu có, được cho làm việc như khi sử dụng bình thường.
3.30
sử dụng bình thường (normal use)
Sử dụng dụng cụ theo thiết kế của nó có tính đến hướng dẫn của nhà chế tạo.
3.31.
Thiết bị bảo vệ (protective device)
Thiết bị mà hoạt động của nó ngăn ngừa tình trạng nguy hiểm trong điều kiện làm việc không bình thường.
3.32.
Trở kháng bảo vệ (protective impedance)
Trở kháng nối giữa các bộ phận mang điện và bộ phận dẫn chạm tới được và có giá trị sao cho dòng điện được giới hạn ở giá trị an toàn.
3.33. Dòng điện danh định (rated current)
Dòng điện do nhà chế tạo ấn định cho dụng cụ. Nếu không ấn định thông số dòng điện cho dụng cụ thì dòng điện danh định theo nghĩa của tiêu chuẩn này là dòng điện đo được khi dụng cụ mang tải bình thường.
3.34.
Tần số danh định (rated frequency)
Tần số do nhà chế tạo ấn định cho dụng cụ.
3.35. Dải tần số danh định (rated frequency range)
Dải tần số do nhà chế tạo ấn định cho dụng cụ, được biểu thị bởi giới hạn dưới và giới hạn trên của dải.
3.36.
Công suất danh định (rated input)
Công suất vào, tính bằng oát, do nhà chế tạo ấn định cho dụng cụ. Nếu không ấn định công suất vào cho dụng cụ thì công suất danh định theo nghĩa của tiêu chuẩn này là công suất đo được khi dụng cụ mang tải bình thường.
3.37.
Dải công suất danh định (rated input range)
Dải công suất vào, tính bằng oát, do nhà chế tạo ấn định cho dụng cụ, được biểu thị bằng giới hạn dưới và giới hạn trên của dải.
3.38.
Tốc độ không tải danh định (rated no-load speed)
Tốc độ không tải ở điện áp danh định hoặc ở giới hạn trên của dải điện áp danh định do nhà chế tạo ấn định cho dụng cụ.
3.39.
Thời gian làm việc danh định (rated operating time)
Thời gian làm việc do nhà chế tạo ấn định cho dụng cụ.
3.40.
Điện áp danh định (rated voltage)
Điện áp do nhà chế tạo ấn định cho dụng cụ. Đối với nguồn cung cấp ba pha, điện áp này là điện áp giữa các pha.
3.41.
Dải điện áp danh định (rated voltage range)
Dải điện áp do nhà chế tạo ấn định cho dụng cụ, được biểu thị bằng giới hạn dưới và giới hạn trên của dải.
3.42.
Cách điện tăng cường (reinforced insulation)
Cách điện cho bộ phận mang điện nguy hiểm, cung cấp mức bảo vệ chống điện giật tương đương với cách điện kép.
CHÚ THÍCH: Ví dụ cách điện tăng cường có thể gồm một lớp hoặc nhiều lớp mà không thể thử nghiệm một cách riêng biệt như cách điện chính hoặc cách điện phụ.
3.43.
Thiết bị bảo vệ dòng dư (residual current device)
RCD
Thiết bị được thiết kế để phát hiện dòng điện đi trệch ra khỏi một mạch điện theo cách có thể khiến người sử dụng bị điện giật; trong điều kiện như vậy, thiết bị sẽ làm ngắt mạch điện.
CHÚ THÍCH: Thiết bị này còn được gọi là thiết bị dòng dư di động (PRCD), bộ ngắt mạch sự cố chạm đất (GFCI) hoặc áptômát dòng rò (ELCB).
3.44.
Bảo dưỡng thường xuyên (routine servicing)
Bảo dưỡng định kỳ, đòi hỏi tháo dụng cụ theo chỉ dẫn trong hướng dẫn sử dụng và được trung tâm dịch vụ được uỷ quyền thực hiện.
3.45.
Điện áp cực thấp an toàn (safety extra-low voltage)
Điện áp danh định không vượt quá 42 V giữa các dây dẫn và giữa dây dẫn và đất, điện áp không tải không vượt quá 50 V. Khi điện áp cực thấp an toàn được lấy từ nguồn lưới thì phải lấy thông qua biến áp cách ly an toàn hoặc bộ biến đổi có các cuộn dây riêng, cách điện của chúng phải phù hợp với yêu cầu của cách điện kép hoặc cách điện tăng cường.
3.46.
Máy biến áp cách ly an toàn (safety isolating transformer)
Máy biến áp có cuộn dây đầu vào cách ly về điện với cuộn dây đầu ra bằng lớp cách điện ít nhất là tương đương với cách điện kép hoặc cách điện tăng cường và được thiết kế để cung cấp điện áp cực thấp an toàn cho một mạch phân phối, một dụng cụ hoặc thiết bị khác.
3.47. Thiết bị cắt theo nguyên lý nhiệt tự phục hồi (self-resetting thermal cut-out)
Thiết bị cắt theo nguyên lý nhiệt tự động phục hồi dòng điện sau khi bộ phận liên quan của dụng cụ đã được làm nguội về giá trị cho trước.
3.48.
Điều kiện làm việc khắc nghiệt của vật liệu cách điện (severe duty conditions of insulating material) Nơi có lắng bám nhẹ bụi dẫn nhưng chịu ứng suất điện trong thời gian dài; hoặc nơi có lắng bám nặng bụi dẫn nhưng chịu ứng suất điện trong thời gian ngắn.
3.49.
Làm việc ngắn hạn (short-time operation)
Làm việc với tải bình thường trong thời gian qui định, bắt đầu từ trạng thái nguội, thời gian giữa từng giai đoạn làm việc đủ để dụng cụ nguội về xấp xỉ nhiệt độ môi trường.
3.50.
Cách điện phụ (supplementary insulation)
Cách điện độc lập được đặt bổ sung vào cách điện chính để bảo vệ chống điện giật trong trường hợp hỏng cách điện chính.
3.51.
Dây nguồn (supply cord)
Dây dẫn mềm dùng để cấp điện và được cố định vào dụng cụ.
3.52. Bộ hạn chế nhiệt độ (temperature limiter)
Thiết bị nhạy với nhiệt độ, nhiệt độ tác động của nó có thể đặt cố định hoặc điều chỉnh được và trong quá trình làm việc bình thường thì tác động bằng cách ngắt hoặc đóng một mạch điện khi nhiệt độ của bộ phận cần khống chế đạt tới một giá trị xác định trước. Bộ hạn chế nhiệt độ này không tác động theo chiều ngược lại trong thời gian chế độ chu kỳ bình thường của dụng cụ.
3.53. Thiết bị cắt theo nguyên lý nhiệt (thermal cut-out)
Thiết bị mà trong quá trình làm việc không bình thường thì hạn chế nhiệt độ của bộ phận cần khống chế bằng cách tự động cắt mạch điện hoặc giảm dòng điện và được kết cấu sao cho người sử dụng không thể thay đổi giá trị đặt của nó.
3.54. Dây chảy nhiệt (thermal link)
Thiết bị cắt theo nguyên lý nhiệt chỉ tác động một lần và sau đó đòi hỏi phải thay thế một phần hoặc toàn bộ.
3.55. Bộ điều nhiệt (thermostat)
Thiết bị nhạy với nhiệt độ, nhiệt độ tác động của nó có thể cố định hoặc điều chỉnh được; và trong quá trình làm việc bình thường bộ điều nhiệt giữ cho nhiệt độ của bộ phận cần khống chế nằm trong giới hạn nhất định bằng cách tự động đóng và cắt mạch điện.
3.56.
Nối dây kiểu X (type X attachment)
Phương pháp nối dây nguồn sao cho có thể thay thế dây nguồn một cách dễ dàng.
3.57.
Nối dây kiểu Y (type Y attachment)
Phương pháp nối dây nguồn sao cho khi thay thế dây nguồn phải do nhà chế tạo, cơ sở dịch vụ của nhà chế tạo hoặc những người có trình độ tương đương thực hiện.
3.58.
Nối dây kiểu Z (type Z attachment)
Phương pháp nối dây nguồn sao cho không thể thay thế dây nguồn mà không làm hỏng hoặc phá hủy dụng cụ.
3.59.
Bảo dưỡng của người sử dụng (user maintenance)
Mọi hoạt động bảo dưỡng nêu trong hướng dẫn sử dụng hoặc được ghi trên dụng cụ để người sử dụng thực hiện được theo chủ ý của nhà chế tạo dụng cụ.
3.60.
Điện áp làm việc (working voltage)
Điện áp lớn nhất không tính đến ảnh hưởng của điện áp quá độ mà bộ phận cần xem xét phải chịu khi thiết bị được cấp nguồn ở điện áp danh định và hoạt động trong điều kiện tải bình thường.
4. Yêu cầu chung
Dụng cụ phải có kết cấu để hoạt động an toàn trong sử dụng bình thường mà không gây nguy hiểm cho con người hoặc các vật xung quanh, ngay cả khi sử dụng sai ở mức hợp lý dự đoán được.
Nhìn chung nguyên tắc này có thể đạt được bằng cách đáp ứng các yêu cầu liên quan qui định trong tiêu chuẩn này và sự phù hợp được kiểm tra bằng cách thực hiện toàn bộ các thử nghiệm có liên quan.
CHÚ THÍCH: Phụ lục N nêu một ví dụ về thử nghiệm thường xuyên.
5. Điều kiện chung đối với các thử nghiệm
5.1. Thử nghiệm theo tiêu chuẩn này là thử nghiệm điển hình.
5.2. Nếu không có qui định khác, các thử nghiệm được tiến hành trên một dụng cụ và dụng cụ này phải chịu được tất cả các thử nghiệm có liên quan. Tuy nhiên, nếu có thử nghiệm nào đòi hỏi phải sửa đổi hoặc tháo rời dụng cụ ra thì phép thử đó phải thực hiện trên một mẫu riêng.
Có thể yêu cầu mẫu bổ sung, ví dụ nếu dụng cụ được thiết kế cho các điện áp nguồn khác nhau. Việc thử nghiệm các linh kiện có thể đòi hỏi phải nộp mẫu bổ sung của các linh kiện này.
Cần tránh các ứng suất lũy tích do các thử nghiệm liên tiếp trên mạch điện tử. Có thể cần phải thay các linh kiện hoặc sử dụng mẫu bổ sung. Số lượng mẫu bổ sung cần giữ ở mức tối thiểu bằng cách đánh giá các mạch điện tử liên quan.
5.3. Nếu không có qui định khác, các thử nghiệm được tiến hành theo thứ tự của các điều. Nếu căn cứ theo kết cấu của dụng cụ có thể thấy hiển nhiên là không phải thực hiện một thử nghiệm cụ thể nào đó thì không cần tiến hành thử nghiệm đó.
5.4. Các thử nghiệm được tiến hành đối với dụng cụ hoặc các bộ phận tháo ra được bất kỳ của dụng cụ được đặt ở vị trí bất lợi nhất có thể xảy ra trong quá trình sử dụng bình thường.
5.5. Dụng cụ có cơ cấu điều khiển hoặc cơ cấu đóng cắt được thử nghiệm với các cơ cấu điều khiển hoặc cơ cấu đóng cắt này được điều chỉnh đến chế độ đặt bất lợi nhất nếu như người sử dụng có thể thay đổi được chế độ đặt. Cơ cấu điều khiển tốc độ kiểu điện tử được đặt ở tốc độ lớn nhất.
Nếu phương tiện điều chỉnh của cơ cấu điều khiển có thể tiếp cận được mà không đòi hỏi có dụng cụ hỗ trợ thì áp dụng điều 5.5 này, cho dù việc thay đổi chế độ có thể bằng tay hay bằng dụng cụ hỗ trợ. Nếu không thể tiếp cận được phương tiện điều chỉnh khi không có dụng cụ hỗ trợ, và nếu người sử dụng không được phép thay đổi chế độ đặt thì không áp dụng điều 5.5 này.
Niêm phong một cách cẩn thận được xem là biện pháp ngăn ngừa người sử dụng thay đổi chế độ đặt.
5.6. Các thử nghiệm được tiến hành ở nơi không có gió lùa, và nói chung, ở nhiệt độ môi trường là (20 ± 5) °C.
Nếu nhiệt độ đạt được trên bất kỳ bộ phận nào bị hạn chế bởi cơ cấu nhạy nhiệt độ hoặc bị ảnh hưởng bởi nhiệt độ thì nhiệt độ phòng được duy trì ở (23 ± 2) °C trong trường hợp có nghi ngờ.
5.7.1. Các dụng cụ chỉ sử dụng điện xoay chiều được thử nghiệm với điện xoay chiều ở tần số danh định, nếu có ghi nhãn, và các dụng cụ sử dụng cả điện xoay chiều lẫn một chiều thì thử nghiệm ở nguồn nào bất lợi hơn.
Các dụng cụ sử dụng điện xoay chiều không ghi nhãn tần số danh định hoặc ghi nhãn dải tần số từ 50 Hz đến 60 Hz thì được thử nghiệm hoặc ở tần số 50 Hz hoặc 60 Hz, chọn tần số nào bất lợi hơn.
5.7.2. Dụng cụ có nhiều điện áp danh định thì được thử nghiệm trên cơ sở điện áp bất lợi nhất.
Đối với các dụng cụ có ghi nhãn dải điện áp danh định, khi có qui định rằng điện áp nguồn bằng điện áp danh định nhân với một hệ số thì điện áp nguồn bằng:
- giới hạn trên của dải điện áp danh định nhân với hệ số đó nếu hệ số lớn hơn 1
- giới hạn dưới của dải điện áp danh định nhân với hệ số đó nếu hệ số nhỏ hơn 1.
Nếu không có qui định hệ số thì điện áp nguồn là điện áp bất lợi nhất trong dải điện áp danh định.
Đối với dụng cụ có nhiều điện áp danh định hoặc dải điện áp danh định, có thể phải tiến hành một số thử nghiệm ở giá trị nhỏ nhất, trung bình và lớn nhất của điện áp danh định hoặc dải điện áp danh dịnh để tìm ra điện áp bất lợi nhất.
5.7.3 Đối với dụng cụ có ghi trên nhãn dải điện áp danh định và công suất danh định ứng với giá trị trung bình của dải điện áp danh định, nếu có qui định công suất vào bằng công suất danh định nhân với một hệ số thì công suất vào bằng:
- công suất tính được ứng với giới hạn trên của dải điện áp danh định nhân với hệ số đó, nếu hệ số đó lớn hơn 1;
- công suất tính được ứng với giới hạn dưới của dải điện áp danh định nhân với hệ số đó, nếu hệ số đó nhỏ hơn 1.
Nếu không qui định hệ số thì công suất vào chính là công suất vào ở điện áp danh định bất lợi nhất trong dải.
5.8. Nếu có phụ kiện đi kèm thay thế được nhà chế tạo làm sẵn cho dụng cụ thì dụng cụ được thử nghiệm với phụ kiện đi kèm nào cho kết quả bất lợi nhất.
5.9. Nếu không có qui định khác, dụng cụ được thử nghiệm với dây dẫn mềm thích hợp đã nối với dụng
5.10. Nếu dụng cụ cấp I có các phần kim loại chạm tới được không nối đến đầu nối đất hoặc tiếp điểm nối đất và không được cách ly với bộ phận mang điện bằng phần kim loại trung gian đã được nối với đầu nối đất hoặc tiếp điểm nối đất thì các bộ phận này được kiểm tra sự phù hợp với các yêu cầu thích hợp qui định cho kết cấu cấp II.
Nếu dụng cụ cấp I có các bộ phận phi kim loại chạm tới được, thì các bộ phận đó được kiểm tra sự phù hợp với các yêu cầu thích hợp qui định cho kết cấu cấp II trừ khi các bộ phận này được cách ly với các bộ phận mang điện bằng phần kim loại trung gian đã được nối với đầu nối đất hoặc tiếp điểm nối đất.
5.11. Nếu dụng cụ cấp I hoặc cấp II có các bộ phận hoạt động ở điện áp cực thấp an toàn, thì các bộ phận đó được kiểm tra sự phù hợp với các yêu cầu thích hợp qui định cho kết cấu cấp III.
5.12. Khi thử nghiệm mạch điện tử thì nguồn cung cấp không được có nhiễu từ các nguồn bên ngoài có thể gây ảnh hưởng đến kết quả thử nghiệm.
5.13. Nếu trong sử dụng bình thường, phần tử gia nhiệt nào chỉ làm việc khi động cơ làm việc thì phần tử đó được thử nghiệm với động cơ làm việc. Nếu phần tử gia nhiệt có thể làm việc mà không cần động cơ làm việc thì phần tử gia nhiệt được thử nghiệm với động cơ làm việc hoặc không làm việc, chọn điều kiện bất lợi hơn. Các phần tử gia nhiệt lắp trong dụng cụ được nối với nguồn riêng, trừ khi có qui định khác.
5.14. Đối với các phụ kiện đi kèm thực hiện chức năng thuộc phạm vi áp dụng của một trong các IEC 60745-2 thì thử nghiệm được thực hiện theo tiêu chuẩn đó.
Đối với các phụ kiện đi kèm khác, thực hiện thử nghiệm theo hướng dẫn của nhà chế tạo; khi không có các hướng dẫn đó thì cho dụng cụ làm việc liên tục ở tải tạo ra công suất danh định hoặc dòng điện danh định.
5.15. Nếu đặt mô men xoắn thì phương pháp mang tải được chọn sao cho tránh được các ứng suất bổ sung, ví dụ như các ứng suất do lực đẩy phụ. Tuy nhiên, cũng cần xét đến các tải bổ sung để dụng cụ hoạt động đúng.
Nếu sử dụng cơ cấu hãm để đặt tải thì phải đặt từ từ để đảm bảo dòng điện khởi động không ảnh hưởng đến thử nghiệm. Cho phép sửa đổi các phương tiện đầu ra để mang tải khi nối với cơ cấu hãm.
5.16. Dụng cụ được thiết kế để làm việc ở điện áp cực thấp an toàn được thử nghiệm cùng với máy biến áp cấp nguồn của dụng cụ, nếu máy biến áp này được bán cùng dụng cụ.
6. Để trống
7. Phân loại
7.1. Dụng cụ phải thuộc một trong các cấp bảo vệ chống điện giật sau đây:
cấp I, cấp II, cấp III.
Kiểm tra sự phù hợp bằng cách xem xét và bằng các thử nghiệm liên quan.
7.2. Dụng cụ phải có cấp bảo vệ thích hợp chống sự xâm nhập có hại của nước theo TCVN 4255 (IEC 60529). Nếu yêu cầu cấp bảo vệ khác IPX0 thì phải qui định trong IEC 60745-2 liên quan.
Kiểm tra sự phù hợp bằng cách xem xét và bằng các thử nghiệm liên quan.
8. Ghi nhãn và hướng dẫn
8.1. Dụng cụ phải được ghi nhãn với các nội dung sau:
- (các) điện áp danh định hoặc (các) dải điện áp danh định, tính bằng vôn. Dụng cụ dùng để đấu nối sao-tam giác phải được ghi nhãn rõ ràng với hai điện áp danh định (ví dụ, 230 Δ/ 400 Y);
- ký hiệu loại nguồn, trừ khi có ghi tần số danh định. Ký hiệu loại nguồn phải được đặt cạnh giá trị điện áp danh định;
- công suất danh định, tính bằng oát, hoặc dòng điện danh định, tính bằng ampe. Công suất hoặc dòng điện danh định cần ghi nhãn trên dụng cụ là công suất tổng lớn nhất hoặc dòng điện tổng lớn nhất có thể có trên mạch điện tại cùng thời điểm. Nếu dụng cụ có các linh kiện thay thế có thể được chọn bởi thiết bị điều khiển thì công suất danh định hoặc dòng điện danh định là giá trị tương ứng với tải lớn nhất có thể có;
- tên hoặc thương hiệu hoặc nhãn nhận biết và địa chỉ của nhà chế tạo hoặc đại lý được uỷ quyền bán dụng cụ ra thị trường;
- kiểu hoặc chủng loại tham chiếu;
- ký hiệu dùng cho kết cấu cấp II, chỉ đối với dụng cụ cấp II;
- mã IP theo cấp bảo vệ chống sự xâm nhập có hại của nước, trừ IPX0. Nếu bỏ con số đặc trưng thứ nhất của mã IP thì con số đặc trưng này phải được thay bằng chữ X, ví dụ IPX5;
- "CẢNH BÁO - Để giảm rủi ro bị thương, người sử dụng phải đọc sổ tay hướng dẫn" hoặc dấu hiệu M002 của ISO 7010[4].
Nếu được sử dụng, từ "CẢNH BÁO" phải là các chữ cái in hoa có chiều cao không nhỏ hơn 2,4 mm và không được tách rời nội dung cảnh báo.
Nếu được sử dụng, nội dung cảnh báo phải đúng nguyên văn trừ thuật ngữ "hướng dẫn sử dụng cho người vận hành" hoặc "hướng dẫn cho người sử dụng" có thể được sử dụng thay cho thuật ngữ "sổ tay hướng dẫn".
Có thể có các ghi nhãn bổ sung, miễn là chúng không gây nhầm lẫn.
Kiểm tra sự phù hợp bằng cách xem xét.
8.2. Dụng cụ dùng để làm việc ngắn hạn hoặc làm việc gián đoạn phải được ghi nhãn thời gian làm việc danh định, hoặc thời gian làm việc danh định và thời gian nghỉ danh định tương ứng trừ khi thời gian làm việc bị hạn chế bởi kết cấu của dụng cụ.
Việc ghi nhãn làm việc ngắn hạn hoặc làm việc gián đoạn phải tương ứng với sử dụng bình thường.
Việc ghi nhãn làm việc gián đoạn phải sao cho thời gian làm việc danh định đứng trước thời gian nghỉ danh định, hai giá trị này cách nhau bằng dấu gạch chéo.
Kiểm tra sự phù hợp bằng cách xem xét.
8.3. Ghi nhãn của các dụng cụ được thiết kế để làm việc mà không điều chỉnh dải giá trị danh định (điện áp, tần số, v.v...) phải khác với các dụng cụ được thiết kế để làm việc có hoặc không điều chỉnh các giá trị khác nhau của cùng một tiêu chí (điện áp, tần số v.v...).
Giới hạn dưới và giới hạn trên của dải các giá trị danh định phải cách nhau bằng dấu gạch ngang (-).
Các giá trị danh định khác nhau phải cách nhau bằng dấu gạch chéo (/).
Ví dụ:
115-230 V: Dụng cụ thích hợp đối với giá trị bất kỳ trong dải được ghi nhãn.
115/230 V: Dụng cụ chỉ thích hợp với các giá trị được ghi nhãn.
Kiểm tra sự phù hợp bằng cách xem xét.
8.4. Nếu dụng cụ có thể được điều chỉnh đến các điện áp danh định thích hợp khác nhau thì phải thấy rõ được thiết bị đã được điều chỉnh về điện áp nào.
Yêu cầu này không áp dụng cho dụng cụ dùng cho đấu nối sao-tam giác.
Đối với dụng cụ không đòi hỏi phải thay đổi điện áp đặt một cách thường xuyên, yêu cầu này được xem là thỏa mãn nếu điện áp danh định mà thiết bị được điều chỉnh đến có thể xác định được bằng sơ đổ đi dây gắn cố định vào dụng cụ. Sơ đồ đi dây có thể gắn vào phía trong của nắp đậy mà nắp này phải tháo ra để nối dây nguồn. Sơ đồ này không được ghi trên tấm nhãn gắn lỏng lẻo vào dụng cụ.
Kiểm tra sự phù hợp bằng cách xem xét.
8.5. Đối với các dụng cụ có ghi nhãn nhiều điện áp danh định hoặc nhiều dải điện áp danh định thì phải ghi nhãn công suất danh định ứng với mỗi điện áp hay mỗi dải điện áp đó.
Giới hạn dưới và giới hạn trên của công suất danh định phải được ghi trên thiết bị sao cho mối tương quan giữa công suất và điện áp được rõ ràng, trừ khi sự chênh lệch giữa các giới hạn của dải điện áp danh định không vượt quá 10 % giá trị trung bình của dải thì giá trị ghi nhãn đối với công suất danh định có thể tương ứng với giá trị trung bình của dải.
Kiểm tra sự phù hợp bằng cách xem xét.
8.6. Nếu các đơn vị hoặc dữ liệu kỹ thuật được biểu diễn bằng ký hiệu thì phải sử dụng các ký hiệu sau:
V ………………………… vôn
A ………………………… ampe
Hz ………………….…… héc
W ………………….…… oát
kW …………………….… kilô oát
F ………………………… fara
mF ………………………. micrô fara
l ………………………… lít
g ………………………. gam
kg ……………………… kilô gam
bar ……………………… bar
Pa ……………………… pascal
h ………………………. giờ
min ……………………. phút
s ……………………….. giây
n0 ……………………… tốc độ không tải
.../min hoặc ...min-1 .. Số vòng quay hoặc số chuyển động qua lại trong một phút
_0509094004.jpg)
_0509094004.jpg)
Kích thước dùng cho ký hiệu dụng cụ cấp II phải sao cho chiều dài của các cạnh hình vuông bên ngoài xấp xỉ gấp đôi chiều dài của các cạnh của hình vuông bên trong. Chiều dài của các cạnh hình vuông bên ngoài không được nhỏ hơn 5 mm, trừ khi kích thước lớn nhất của dụng cụ không vượt quá 15 cm trong trường hợp đó, kích thước của ký hiệu có thể được giảm đi nhưng chiều dài của các cạnh hình vuông bên ngoài không được nhỏ hơn 3 mm.
Ký hiệu của dụng cụ cấp II phải được đặt sao cho có thể thấy rõ ràng đó là một phần về thông tin kỹ thuật và không thể nhầm lẫn với các ghi nhãn khác.
Khi sử dụng các đơn vị khác, đơn vị và ký hiệu của chúng phải thuộc hệ thống tiêu chuẩn hoá quốc tế. Được phép sử dụng các ký hiệu bổ sung khác với các ký hiệu quốc tế, miễn là chúng không gây nhầm lẫn
Kiểm tra sự phù hợp bằng cách xem xét và bằng cách đo.
8.7. Dụng cụ được nối đến nhiều hơn hai dây dẫn nguồn phải được cung cấp sơ đồ đấu nối gắn cố định vào dụng cụ, trừ khi cách thức đấu nối là hiển nhiên.
Cách thức đấu nối đúng được coi là hiển nhiên nếu các đầu nối với dây dẫn nguồn được chỉ rõ bằng các mũi tên chỉ về phía các đầu nối. Dây nối đất không phải là dây dẫn nguồn. Đối với dụng cụ có đấu nối sao-tam giác, sơ đồ đi dây cần chỉ ra cách đấu nối các cuộn dây.
Kiểm tra sự phù hợp bằng cách xem xét.
8.8. Trừ nối dây kiểu Z, các đầu nối phải được chỉ ra như sau:
- Các đầu nối chỉ dùng để nối với dây trung tính phải được ghi chữ N.
- Các đầu nối đất phải được thể hiện bằng ký hiệu _0509094004.jpg)
Các chỉ dẫn này không được ghi trên các vít, vòng đệm tháo ra được hoặc các bộ phận khác có thể tháo ra được khi đấu nối dây dẫn.
Kiểm tra sự phù hợp bằng cách xem xét.
8.9. Trừ khi hiển nhiên là không cần thiết, các cơ cấu đóng cắt khi thao tác có thể gây nguy hiểm phải được ghi nhãn hoặc bố trí để chỉ ra một cách rõ ràng nó khống chế bộ phận nào của dụng cụ.
Các chỉ dẫn dùng cho mục đích này, trong phạm vi áp dụng được, phải hiểu được mà không cần đến các kiến thức về ngôn ngữ, các tiêu chuẩn quốc gia, v.v...
Kiểm tra sự phù hợp bằng cách xem xét.
8.10. Đối với các dụng cụ có thể gây ra nguy hiểm khi khởi động không mong muốn thì vị trí "cắt" của cơ cấu đóng cắt nguồn lưới phải được chỉ ra, trừ khi vị trí này là hiển nhiên; nếu có yêu cầu chỉ thị này phải có ký hiệu O, như ký hiệu IEC 60417-5008 (DB: 2002-10).
Ký hiệu O không được sử dụng cho bất kỳ chỉ thị nào khác.
Vị trí của tiếp điểm động của cơ cấu đóng cắt nguồn lưới phải ứng với chỉ thị dùng cho các vị trí khác nhau của phương tiện thao tác nó.
CHÚ THÍCH: Ví dụ, ký hiệu O cũng có thể được sử dụng trên bàn phím lập trình kỹ thuật số.
Kiểm tra sự phù hợp bằng cách xem xét.
8.11. Các cơ cấu điều chỉnh và cơ cấu tương tự, dự kiến được điều chỉnh trong quá trình làm việc, phải có chỉ thị chiều điều chỉnh tăng hoặc giảm giá trị của đặc tính cần điều chỉnh. Chỉ thị bằng dấu + và dấu được xem là đủ.
Yêu cầu này không áp dụng cho các cơ cấu điều chỉnh có các phương tiện dùng để điều chỉnh, nếu vị trí "đóng" hoàn toàn đối diện với vị trí "cắt".
Nếu sử dụng các số để chỉ thị các vị trí khác nhau thì vị trí "cắt" phải được chỉ ra bằng ký hiệu O và các vị trí khác phải được chỉ ra bằng số phản ánh công suất ra, công suất, tốc độ, v.v... lớn hơn.
Chỉ thị dùng cho các vị trí khác nhau của phương tiện thao tác cơ cấu điều khiển không cần đặt trên chính cơ cấu đó.
Kiểm tra sự phù hợp bằng cách xem xét.
8.12. Sổ tay hướng dẫn và các hướng dẫn an toàn phải được cung cấp cùng dụng cụ và được đóng gói sao cho người sử dụng nhận biết được khi lấy dụng cụ ra khỏi bao gói. Hướng dẫn an toàn có thể tách rời với sổ tay hướng dẫn. Giải thích các ký hiệu mà tiêu chuẩn này yêu cầu phải được cung cấp trong sổ tay hướng dẫn hoặc hướng dẫn an toàn.
Hướng dẫn phải được viết bằng ngôn ngữ chính thức của đất nước mà dụng cụ được bán đến.
Hướng dẫn phải rõ ràng và tương phản với nền.
Hướng dẫn phải kèm theo tên và địa chỉ của nhà chế tạo hoặc nhà cung ứng hoặc đại lý được ủy quyền bán dụng cụ ra thị trường.
8.12.1. Đối tượng của hướng dẫn an toàn là các cảnh báo an toàn đối với dụng cụ điện nói chung thuộc tiêu chuẩn này như được nêu ở 8.12.1.1, cảnh báo an toàn của dụng cụ cụ thể thuộc các IEC 60745-2 liên quan và các nội dung cảnh báo an toàn bổ sung của nhà chế tạo được xem là cần thiết, cảnh báo an toàn đối với dụng cụ điện nói chung và cảnh báo an toàn của dụng cụ cụ thể, nếu ghi bằng tiếng Anh thì phải đúng nguyên văn và nếu bằng ngôn ngữ chính thức khác thì phải tương đương.
Định dạng của cảnh báo an toàn phải khác biệt, bằng cách làm nổi bật kiểu chữ hoặc các cách tương tự, so với nội dung của các cảnh báo như được thể hiện dưới đây.
Không in tất cả các chú thích trong hướng dẫn an toàn, chúng là các thông tin cho người biên soạn sổ tay hướng dẫn.
8.12.1.1. Cảnh báo an toàn đối với dụng cụ điện nói chung
CẢNH BÁO Đọc tất cả các cảnh báo an toàn và tất cả các hướng dẫn. Không tuân thủ cảnh báo và hướng dẫn có thể gây ra điện giật, cháy và/hoặc bị thương nghiêm trọng.
Lưu giữ tất cả các cảnh báo và hướng dẫn để tham khảo sau này.
Thuật ngữ "dụng cụ điện" trong cảnh báo liên quan đến dụng cụ điện hoạt động bằng điện lưới (nối dây nguồn) hoặc dụng cụ điện hoạt động bằng điện acqui (không nối dây nguồn).
1) An toàn tại nơi làm việc
a) Giữ cho nơi làm việc gọn gàng và có chiếu sáng tốt. Khu vực lộn xộn hoặc tối dẫn đến tai nạn.
b) Không vận hành dụng cụ điện trong môi trường dễ cháy, nổ, ví dụ như môi trường có chất lỏng, khí hoặc bụi dễ cháy. Dụng cụ điện tạo ra tia lửa có thể mồi cháy bụi hoặc khói.
c) Không để trẻ em và người không có nhiệm vụ lại gần khi vận hành dụng cụ điện. Việc xao lãng có thể gây mất khả năng kiểm soát.
2) An toàn về điện
a) Phích cắm của dụng cụ điện phải khớp với ổ cắm. Không được sửa đổi phích cắm theo bất kỳ cách nào. Không được sử dụng phích cắm đổi nối bất kỳ cho dụng cụ điện có nối đất. Phích cắm và ổ cắm phù hợp không bị sửa đổi sẽ giảm nguy cơ bị điện giật.
b) Tránh để cơ thể tiếp xúc với các bề mặt đã nối đất, ví dụ như ống, bộ tản nhiệt, dãy bếp và tủ lạnh. Cơ thể tiếp xúc với đất sẽ làm tăng nguy cơ bị điện giật.
c) Không để dụng cụ điện chịu mưa hoặc ướt. Nước xâm nhập vào dụng cụ điện sẽ làm tăng nguy cơ gây điện giật.
d) Không sử dụng sai dây nguồn. Không được sử dụng dây nguồn để mang, kéo hoặc rút phích cắm của dụng cụ điện. Giữ cho dây nguồn tránh xa nguồn nhiệt, dầu, các gờ sắc nhọn hoặc các bộ phận chuyển động. Dây nguồn bị hư hại hoặc bị vướng làm tăng nguy cơ gây điện giật.
e) Khi vận hành dụng cụ điện ở ngoài trời, sử dụng dây nguồn mở rộng thích hợp cho sử dụng ngoài trời. Sử dụng dây nguồn thích hợp cho sử dụng ngoài trời sẽ làm giảm nguy cơ gây điện giật.
f) Nếu vận hành dụng cụ điện ở khu vực ẩm là không thể tránh được thì sử dụng thiết bị bảo vệ dòng dư (RCD) để bảo vệ nguồn. Sử dụng RCD sẽ làm giảm nguy cơ gây điện giật.
CHÚ THÍCH: Thuật ngữ "thiết bị bảo vệ dòng dư (RCD)" có thể được thay bằng "bộ ngắt mạch điện khi có sự cố với đất" hoặc "áptômát dòng rò".
3) An toàn cho con người
a) Cảnh giác, chú tâm vào việc đang làm và cẩn thận khi vận hành dụng cụ điện. Không sử dụng dụng cụ điện khi đang mệt hoặc khi bị ảnh hưởng của chất gây nghiện, rượu hoặc dược phẩm. Một thoáng không chú ý trong khi vận hành dụng cụ điện có thể gây thương tích nghiêm trọng cho con người.
b) Sử dụng trang bị bảo vệ cá nhân. Luôn luôn mang kính bảo vệ mắt. Trang bị bảo vệ cá nhân như mặt nạ chống bụi, giầy an toàn không trơn, mũ cứng, hoặc sử dụng bảo vệ thính lực trong các điều kiện thích hợp sẽ làm giảm thương tích cho con người.
c) Ngăn ngừa khởi động không chủ ý. Đảm bảo rằng cơ cấu đóng cắt ở vị trí cắt trước khi nối với nguồn điện và/hoặc acqui, trước khi cầm dụng cụ lên hoặc mang dụng cụ đi. Mang dụng cụ điện đi mà ngón tay đặt trên cơ cấu đóng cắt hoặc khi dụng cụ điện đang có điện mà cơ cấu đóng cắt đang đóng sẽ dẫn đến tai nạn.
d) Tháo tất cả các chìa vặn hoặc mỏ lết trước khi cho chạy dụng cụ điện. Chìa vặn hoặc mỏ lết vẫn gắn với phần quay của dụng cụ điện có thể gây thương tích cho con người.
e) Không được với quá xa. Giữ đúng thế chân và ở tư thế cân bằng ở mọi thời điểm. Điều này cho phép điều khiển tốt hơn dụng cụ điện trong các tình huống không mong đợi.
f) Mặc đúng cách. Không mặc quần áo rộng hoặc đeo trang sức. Giữ cho tóc, quần áo và găng tay ở xa các bộ phận chuyển động. Quần áo rộng, trang sức hoặc tóc dài có thể bị kéo vào các bộ phận chuyển động.
g) Nếu thiết bị có trang bị để nối với cơ cấu hút bụi và phương tiện gom bụi thì phải đảm bảo rằng chúng được nối và sử dụng đúng. Sử dụng cơ cấu gom bụi có thể giảm nguy hại liên quan đến bụi.
4) Sử dụng và bảo dưỡng dụng cụ điện
a) Không gò ép dụng cụ điện hoạt động không đúng công dụng, sử dụng đúng dụng cụ điện cho các ứng dụng. Việc sử dụng đúng dụng cụ điện sẽ cho công việc tốt hơn và an toàn hơn ở thông số đặc trưng mà nó được thiết kế.
b) Không sử dụng dụng cụ điện nếu cơ cấu đóng cắt không bật và tắt nguồn được. Bất kỳ
dụng cụ điện nào nếu không thể điều khiển được bằng cơ cấu đóng cắt đều là nguy hiểm và phải sửa chữa.
c) Rút phích cắm khỏi nguồn điện và/hoặc lấy dàn acqui khỏi dụng cụ điện trước khi tiến hành điều chỉnh, thay thế phụ kiện hoặc cất giữ dụng cụ điện. Các biện pháp an toàn mang tính phòng ngừa này làm giảm rủi ro khởi động không chú ý các dụng cụ điện.
d) Cất dụng cụ điện không làm việc ở xa tầm với của trẻ em và không để người không thông thạo về dụng cụ điện hoặc chưa làm quen với các hướng dẫn vận hành dụng cụ điện. Dụng cụ điện sẽ gây nguy hiểm khi người vận hành chưa được hướng dẫn.
e) Bảo dưỡng dụng cụ điện. Kiểm tra sự không đồng chỉnh hoặc liên kết của các bộ phận chuyển động. Hỏng các bộ phận này và bất kỳ điều kiện nào khác có thể ảnh hưởng đến hoạt động của dụng cụ điện. Nếu bị hỏng thì phải sửa chữa dụng cụ điện trước khi sử dụng. Rất nhiều tai nạn là do dụng cụ điện được bảo dưỡng kém.
f) Giữ các dụng cụ dùng để cắt luôn sắc và sạch. Dụng cụ dùng để cắt có gờ cắt sắc, lại được bảo dưỡng đúng cách sẽ giảm khả năng kẹt và dễ dàng điều khiển.
g) Sử dụng dụng cụ điện, phụ kiện và các chi tiết của dụng cụ, v.v... phù hợp với các hướng dẫn trên, có tính đến các điều kiện làm việc và công việc cần thực hiện. Sử dụng dụng cụ điện trong các hoạt động khác với thiết kế của dụng cụ có thể gây ra tình huống nguy hại.
5) Bảo trì
a) Dụng cụ điện phải được bảo trì bởi người sửa chữa đã qua đào tạo và chỉ sử dụng các bộ phận thay thế tương tự. Điều này đảm bảo duy trì được an toàn của dụng cụ điện.
8.12.1.2. Thứ tự của hướng dẫn an toàn phải phù hợp với điểm A) và C) hoặc B) và C):
A) Cảnh báo ở tiêu chuẩn này, sau đó là các cảnh báo của IEC 60745-2 liên quan. Thứ tự của các cảnh báo trong tiêu chuẩn này và thứ tự của các cảnh báo trong IEC 60745-2 phải được giữ như đã nêu trên đây và như các IEC 60745-2 liên quan.
B) Cảnh báo của tiêu chuẩn này và IEC 60745-2 có thể được chia thành các tiêu để nhỏ được đánh số cho tiêu để nhỏ và các cảnh báo liên đới nằm dưới tiêu để được đánh số này. Thứ tự cảnh báo trong mỗi mục phải như ở trên và như trong IEC 60745-2 liên quan.
Khi các cảnh báo được thể hiện theo cách này, tiêu đề của tiêu chuẩn này "Cảnh báo an toàn đối với dụng cụ điện nói chung" được bỏ đi và câu thứ nhất của cảnh báo trong 8.12.1.1 và 8.12.2 phải được thay đổi như sau, nếu thuộc đối tượng áp dụng:
CẢNH BÁO Đọc tất cả các cảnh báo về an toàn được chỉ ra bằng ký hiệu
và tất cả các hướng dẫn.
Các mục của cảnh báo an toàn phải được thể hiện theo chủ đề liên quan của sổ tay hướng dẫn.
Các tiêu đề của sổ tay hướng dẫn cho cảnh báo của tiêu chuẩn này phải có dạng sau:
Cảnh báo an toàn đối với dụng cụ điện nói chung - [Tiêu đề nhỏ]
Ví dụ:
Cảnh báo an toàn đối với dụng cụ điện nói chung - An toàn cho con nguời
Tiêu đề trong sổ tay hướng dẫn cho các cảnh báo của IEC 60745-2 phải có dạng:
Cảnh báo an toàn cho [tên loại dụng cụ] - [Tiêu đề nhỏ]
Ví dụ
Cảnh báo an toàn cho máy cưa đĩa - Quá trình cưa
Nếu các cảnh báo cụ thể của IEC 60745-2 không có tiêu đề nhỏ được đánh số thì tất cả các cảnh báo yêu cầu bởi IEC 60745-2 cụ thể phải thể hiện theo thứ tự cho trước và tuân theo qui tắc định dạng ở trên mà không có [Tiêu đề nhỏ].
C) Bất kỳ cảnh báo bổ sung nào mà nhà chế tạo cho là cần thiết cũng không được đưa vào trong các cảnh báo của tiêu chuẩn này hoặc IEC 60745-2. Chúng có thể được thêm vào (các) mục của tiêu chuẩn này hoặc IEC 60745-2 theo chủ đề của cảnh báo an toàn hoặc đặt ở phần bất kỳ nào khác trong sổ tay hướng dẫn.
8.12.2. Nếu hướng dẫn về an toàn không nằm trong sổ tay hướng dẫn thì trong sổ tay hướng dẫn phải có cảnh báo dưới đây. Nếu cảnh báo này bằng tiếng Anh thì phải trích nguyên văn và nếu bằng ngôn ngữ chính thức khác thì phải tương đương.
CẢNH BÁO Đọc tất cả các cảnh báo và tất cả các hướng dẫn. Không tuân thủ các cảnh báo và hướng dẫn này có thể gây ra điện giật, cháy và/hoặc thương tích nghiêm trọng.
Lưu giữ tất cả các cảnh báo và hướng dẫn để tham khảo sau này.
Sổ tay hướng dẫn phải cung cấp các thông tin dưới đây, nếu thuộc đối tượng áp dụng.
a) Hướng dẫn trước khi sử dụng
1) Đặt hoặc cố định dụng cụ điện ở vị trí ổn định thích hợp đối với dụng cụ điện có thể được lắp đặt trên giá đỡ
2) Lắp ráp
3) Nối đến nguồn điện, đi cáp, lắp cầu chảy, kiểu ổ cắm và yêu cầu nối đất
4) Mô tả chức năng có minh họa
5) Giới hạn về điều kiện môi trường
6) Liệt kê các nội dung
b) Hướng dẫn thao tác
1) Cài đặt chế độ làm việc và kiểm tra
2) Thay dụng cụ
3) Kẹp sản phẩm
4) Giới hạn kích cỡ của sản phẩm
5) Hướng dẫn chung về sử dụng
c) Bảo dưỡng và bảo trì
1) Làm sạch thường xuyên, bảo dưỡng, phương pháp giữ cho dụng cụ sắc, và bôi trơn
2) Bảo dưỡng của nhà chế tạo hoặc đại lý; liệt kê các địa chỉ
3) Liệt kê các bộ phận mà người sử dụng có thể thay thế được
4) Dụng cụ đặc biệt có thể được yêu cầu
5) Đối với các dụng cụ điện nối dây kiểu X, trong trường hợp cần có dây dẫn được chuẩn bị đặc biệt để thay cho dây dẫn này: nếu dây nguồn của dụng cụ điện bị hỏng thì phải thay bằng dây dẫn được chuẩn bị đặc biệt sẵn có ở bộ phận bảo trì.
6) Đối với dụng cụ điện có nối dây kiểu Y: nếu cần thay dây nguồn thì việc này cần được thực hiện bởi nhà chế tạo hoặc đại lý để đảm bảo an toàn.
7) Đối với dụng cụ điện có nối dây kiểu Z: dây nguồn của dụng cụ điện không thay thế được và dụng cụ điện phải bị loại bỏ.
d) Đối với dụng cụ có hệ thống chất lỏng, phải có các nội dung dưới đây, nếu thuộc đối tượng áp dụng:
1) Hướng dẫn đối với:
- đấu nối nguồn chất lỏng;
- việc sử dụng chất lỏng và sử dụng phụ kiện đi kèm phù hợp với 14.4 để chất lỏng không ảnh hưởng đến dụng cụ;
- kiểm tra các ống mềm và các phần xung yếu khác có thể bị suy giảm chất lượng;
- áp suất lớn nhất cho phép của nguồn chất lỏng.
2) Đối với dụng cụ có RCD
- cảnh báo và hướng dẫn rằng không được sử dụng dụng cụ mà không có RCD lắp cùng dụng cụ;
- cảnh báo và hướng dẫn rằng cần thường xuyên kiểm tra tác động đúng của RCD trước khi bắt đầu làm việc, trừ khi RCD là loại tự kiểm tra.
3) Đối với dụng cụ có kết hợp với máy biến áp cách ly: cảnh báo và hướng dẫn rằng không bao giờ được sử dụng dụng cụ mà không có máy biến áp được cung cấp cùng dụng cụ hoặc là loại biến áp được qui định trong hướng dẫn này.
4) Cảnh báo và hướng dẫn rằng việc thay thế phích cắm hoặc dây nguồn phải luôn do nhà chế tạo dụng cụ hoặc bộ phận bảo trì thực hiện.
5) Cảnh báo và hướng dẫn rằng không để chất lỏng rơi lên các bộ phận của dụng cụ và để cách xa con người tại nơi làm việc.
8.13. Ghi nhãn theo yêu cầu của tiêu chuẩn này phải rõ ràng và bền. Các dấu hiệu phải tương phản với nền về màu sắc, in bóng hay mờ hoặc khắc nổi sao cho các thông tin hoặc hướng dẫn do các dấu hiệu này cung cấp là rõ ràng và nhìn thấy bằng mắt thường ở khoảng cách không nhỏ hơn 500 mm. Các dấu hiệu không cần phải phù hợp với yêu cầu về màu xanh nước biển của ISO 3864-2.
Kiểm tra sự phù hợp bằng cách xem xét và bằng cách chà xát bằng tay trong 15 s bằng giẻ đẫm nước và sau đó trong 15 s nữa bằng giẻ đẫm xăng nhẹ.
Sau tất cả các thử nghiệm của tiêu chuẩn này, nhãn vẫn phải rõ ràng, không thể dễ dàng bóc tấm nhãn ra được và không có biểu hiện bị quăn.
Khi xem xét độ bền của nhãn, cần tính đến ảnh hưởng của sử dụng bình thường. Ví dụ, ghi nhãn bằng sơn hoặc men, trừ men cứng, trên các dụng cụ chứa phải làm sạch thường xuyên, thì không được coi là đảm bảo độ bền.
Xăng nhẹ dùng cho thử nghiệm là loại dung môi hécxan mạch thẳng có hàm lượng chất thơm lớn nhất là 0,1 % thể tích, chỉ số kauri butanol là 29, điểm sôi ban đầu xấp xỉ 65 °C, điểm khô xấp xỉ 69 °C và khối lượng riêng xấp xỉ 0,689 kg/l.
8.14. Các nhãn được qui định từ 8.1 đến 8.5 phải được đặt ở bộ phận chính của dụng cụ. Nhãn qui định ở 8.1, 8.2, 8.3 và 8.5 phải được đặt cùng nhau.
Nhãn trên dụng cụ phải có thể thấy rõ được từ phía ngoài của dụng cụ sau khi tháo nắp đậy ra, nếu cần. Phải có thể tháo hoặc mở nắp này ra mà không có dụng cụ hỗ trợ.
Các chỉ dẫn đối với cơ cấu đóng cắt và các cơ cấu điều khiển phải được đặt trên hoặc gần các cơ cấu này; không được đặt chỉ dẫn trên các bộ phận mà khi định vị hoặc định vị lại, có thể làm cho nhãn bị hiểu sai.
Kiểm tra sự phù hợp bằng cách xem xét.
8.15. Nếu sự phù hợp với tiêu chuẩn này phụ thuộc vào sự tác động của dây chảy nhiệt hoặc dây chảy loại thay thế được thì số tham chiếu hoặc các thông tin khác để nhận biết dây chảy phải được ghi nhãn trên dây chảy hoặc ở vị trí nhìn thấy được một cách rõ ràng khi dây chảy hỏng, khi dụng cụ được tháo ra trong chừng mực cần thiết để thay thế dây chảy.
Yêu cầu này không áp dụng cho các dây chảy mà chỉ có thể thay thế cùng với một bộ phận của dụng cụ. Kiểm tra sự phù hợp bằng cách xem xét.
9. Bảo vệ chống chạm vào các bộ phận mang điện
Dụng cụ phải có kết cấu và che chắn sao cho có đủ bảo vệ chống tiếp xúc không chú ý vào bộ phận mang điện.
Kiểm tra sự phù hợp bằng cách xem xét và bằng các thử nghiệm từ 9.2 đến 9.4, nếu thuộc đối tượng áp dụng.
9.1. Một bộ phận chạm tới được không được xem là mang điện nếu:
- bộ phận này được cấp điện ở điện áp cực thấp an toàn với điều kiện là:
đối với điện xoay chiều, giá trị đỉnh của điện áp không lớn hơn 42 V;
đối với điện một chiều, điện áp không lớn hơn 42 V;
hoặc
- bộ phận này được cách ly với bộ phận mang điện bằng trở kháng bảo vệ.
Trong trường hợp sử dụng trở kháng bảo vệ, dòng điện giữa bộ phận này và nguồn điện không được lớn hơn 2 mA đối với điện một chiều, giá trị đỉnh của dòng điện không được lớn hơn 0,7 mA đối với điện xoay chiều, và ngoài ra:
- đối với điện áp có giá trị đỉnh lớn hơn 42 V đến và bằng 450 V, điện dung không được lớn hơn 0,1 mF;
- đối với điện áp có giá trị đỉnh lớn hơn 450 V đến và bằng 15 kV, phóng điện do tích điện không được lớn hơn 45 mC.
Kiểm tra sự phù hợp bằng cách cho dụng cụ làm việc ở điện áp danh định. Đo điện áp và dòng điện giữa các bộ phận có liên quan và từng cực của nguồn cung cấp. Phóng điện do tích điện được đo ngay sau khi ngắt nguồn điện.
9.2. Yêu cầu ở 9.1 áp dụng cho tất cả các vị trí của dụng cụ khi dụng cụ hoạt động như trong sử dụng bình thường và ngay cả khi tháo các bộ phận có thể tháo rời.
Không cần tháo các bóng đèn nằm phía sau nắp đậy tháo rời được, với điều kiện là dụng cụ được cách ly với nguồn lưới nhờ phích cắm hoặc cơ cấu đóng cắt tất cả các cực. Tuy nhiên, khi lắp hoặc tháo bóng đèn nằm phía sau một nắp đậy có thể tháo rời, phải đảm bảo bảo vệ chống chạm vào các bộ phận mang điện của đầu đèn.
Điều này loại trừ việc sử dụng các cầu chảy kiểu xoáy ren và áptômát cỡ nhỏ kiểu xoáy ren có thể tiếp cận được mà không có dụng cụ hỗ trợ.
Ngón tay thử nghiệm trên Hình 1 được đặt với lực ấn không đáng kể, dụng cụ được đặt ở mọi tư thế có thể.
Qua các lỗ, ngón tay thử nghiệm được đặt vào ở độ sâu bất kỳ mà ngón tay này cho phép và xoay đi hoặc gập lại trước, trong và sau khi đặt vào đến bất kỳ vị trí nào.
Nếu ngón tay thử nghiệm không lọt qua lỗ thì ấn ngón tay thử nghiệm với lực đến 20 N ở vị trí thẳng và lặp lại thử nghiệm ở vị trí ngón tay này gập lại.
Ngón tay thử nghiệm không được chạm tới bộ phận mang điện hoặc bộ phận mang điện chỉ được bảo vệ bằng sơn, men, giấy thông thường, vải bông, màng ôxít, hạt cườm hoặc hỗn hợp gắn.
Sơn, men, giấy thông thường, vải bông, màng ôxít, hạt cườm hoặc hỗn hợp gắn trừ nhựa tự cứng không được xem là cung cấp bảo vệ yêu cầu chống chạm vào các bộ phận mang điện.
9.3. Đối với các lỗ trong dụng cụ cấp II hoặc kết cấu cấp II, trừ các lỗ để tiếp cận với đầu đèn hoặc bộ phận mang điện trong ổ cắm của dụng cụ cấp I, chốt thử nghiệm ở Hình 2 được đặt với lực không đáng kể. Chốt thử nghiệm không thể chạm tới các bộ phận mang điện.
9.4. Ngoài ra, dụng cụ cấp II hoặc kết cấu cấp II phải có kết cấu và che chắn để đảm bảo chống chạm ngẫu nhiên với cách điện chính và các phần kim loại được cách ly với các bộ phận mang điện chỉ bằng cách điện chính.
Các bộ phận không được cách điện với bộ phận mang điện bằng cách điện kép hoặc cách điện tăng cường thì phải không thể chạm tới được.
Kiểm tra sự phù hợp bằng cách xem xét và bằng cách đặt ngón tay thử nghiệm của Hình 1.
Yêu cầu này áp dụng cho mọi tư thế của thiết bị khi được vận hành trong điều kiện sử dụng bình thường và ngay cả khi đã tháo các bộ phận tháo rời được.
10. Khởi động
10.1. Động cơ phải khởi động được trong tất cả các điều kiện điện áp bình thường có thể xuất hiện khi sử dụng.
Kiểm tra sự phù hợp bằng cách cho dụng cụ làm việc không tải 10 lần ở điện áp bằng 0,85 lần điện áp danh định, cơ cấu điều chỉnh, nếu có, được đặt như trong sử dụng bình thường.
Trong tất cả các trường hợp, dụng cụ phải hoạt động an toàn và đúng.
10.2. Cơ cấu đóng cắt khởi động kiểu ly tâm và các cơ cấu đóng cắt khởi động tự động khác phải tác động một cách tin cậy mà không bị tiếp xúc chập chờn.
Ngoài ra, dụng cụ có cơ cấu đóng cắt khởi động kiểu ly tâm và các cơ cấu đóng cắt khởi động tự động khác được cho làm việc 10 lần ở điện áp bằng 1,1 lần điện áp danh định. Thời gian giữa hai lần khởi động liên tiếp phải đủ dài để tránh quá nhiệt.
Trong tất cả các trường hợp, dụng cụ phải hoạt động an toàn và đúng.
10.3. Thiết bị bảo vệ quá tải không được tác động trong các điều kiện khởi động bình thường.
Kiểm tra sự phù hợp với yêu cầu này bằng thử nghiệm ở 10.1 và 10.2
11. Công suất vào và dòng điện
Công suất danh định hoặc dòng điện danh định ít nhất phải bằng 110 % công suất vào hoặc dòng điện không tải đo được.
Đối với dụng cụ có ghi nhãn một hoặc nhiều dải điện áp danh định thì thực hiện thử nghiệm ở cả giới hạn trên và giới hạn dưới của dải, trừ khi việc ghi nhãn hoặc công suất danh định liên quan đến giá trị trung bình của dải điện áp liên quan, trong trường hợp này, thử nghiệm được thực hiện ở điện áp bằng giá trị trung bình của dải đó.
Kiểm tra sự phù hợp bằng cách đo công suất vào hoặc dòng điện của dụng cụ khi ổn định trong khi tất cả các mạch điện có thể làm việc đồng thời đều đang làm việc.
12. Phát nóng
12.1. Dụng cụ không được bị quá nhiệt ở tải bình thường.
Kiểm tra sự phù hợp bằng cách xác định độ tăng nhiệt của các bộ phận khác nhau theo điều kiện qui định ở các điều từ 12.2 đến 12.5 ngay sau thử nghiệm ở Điều 13 với dụng cụ ở vị trí "đóng" và trong các điều kiện dưới đây.
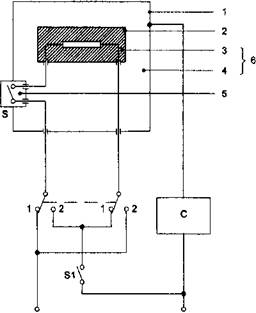
Đối với dụng cụ một pha và đối với dụng cụ ba pha thích hợp với nguồn một pha: công tắc S1 trên Hình 3 ở vị trí "đóng", đối với dụng cụ ba pha, ba phần được nối song song.
Đối với dụng cụ ba pha không thích hợp dùng nguồn một pha:
a, b và c trên Hình 4 ở vị trí "đóng", lặp lại với từng công tắc a, b, c lần lượt mở, hai công tắc còn lại ở vị trí đóng.
Đối với các phần tử gia nhiệt, phép đo được lặp lại với từng công tắc a, b, c lần lượt mở, hai công tắc còn lại ở vị trí đóng.
12.2. Dụng cụ được vận hành trong môi trường không khí không có gió lùa với tải bình thường. Trong khi vẫn duy trì mômen, điều chỉnh điện áp đến 0,94 lần điện áp danh định hoặc 1,06 lần điện áp danh định hoặc giá trị trung bình của dải điện áp danh định, chọn điều kiện bất lợi nhất.
Phần tử gia nhiệt, nếu có, làm việc trong điều kiện qui định ở Điều 11 của TCVN 5699-1 (IEC 60335-1) khi dụng cụ làm việc ở điện áp bằng 1,06 lần điện áp danh định.
12.3. Độ tăng nhiệt, ngoại trừ độ tăng nhiệt của cuộn dây, được xác định bằng nhiệt ngẫu dây mảnh được chọn và bố trí sao cho ít gây ảnh hưởng nhất đến nhiệt độ của bộ phận cần thử nghiệm.
Độ tăng nhiệt của cách điện, không phải là cách điện của cuộn dây, được xác định trên bề mặt của cách điện, ở các vị trí mà hỏng cách điện có thể gây ngắn mạch, tạo tiếp xúc giữa các bộ phận mang điện và phần kim loại chạm tới được, nối tắt qua cách điện hoặc làm giảm chiều dài đường rò hoặc khe hở không khí xuống thấp hơn giá trị qui định ở 28.1.
Độ tăng nhiệt của các cuộn dây được xác định bằng phương pháp điện trở, trừ trường hợp các cuộn dây là không đồng nhất hoặc có khó khăn trong việc thực hiện các đấu nối cần thiết để đo điện trở. Trong trường hợp này, phải dùng phương pháp đo bằng nhiệt ngẫu.
Nếu độ tăng nhiệt được xác định bằng phương pháp nhiệt ngẫu dây mảnh thì nhiệt ngẫu được chọn và bố trí sao cho ít gây ảnh hưởng nhất đến nhiệt độ của bộ phận cần thử nghiệm.
Để xác định độ tăng nhiệt của tay cầm, núm, cán và các bộ phận tương tự, cần xem xét tất cả các bộ phận có thể phải nắm chặt trong sử dụng bình thường và nếu bằng vật liệu cách điện thì cần xem xét các bộ phận tiếp xúc với kim loại nóng.
CHÚ THÍCH 1: Nếu cần phải tháo thiết bị để đặt nhiệt ngẫu thì phải đo lại công suất để kiểm tra xem dụng cụ có được lắp ráp đúng không.
CHÚ THÍCH 2: Điểm tách các ruột của sợi dây nhiều ruột là ví dụ về vị trí đặt nhiệt ngẫu.
12.4. Dụng cụ được làm việc:
- với thời gian làm việc danh định đối với các dụng cụ làm việc ngắn hạn;
- theo chu kỳ làm việc liên tiếp cho đến khi thiết lập các điều kiện ổn định, đối với các dụng cụ làm việc gián đoạn, thời gian "đóng" và "cắt" là thời gian "đóng" và "cắt" danh định.
- cho đến khi thiết lập các điều kiện ổn định đối với các dụng cụ làm việc liên tục.
12.5. Trong quá trình thử nghiệm, thiết bị bảo vệ không được tác động. Độ tăng nhiệt không được vượt quá các giá trị cho trong Bảng 1, trừ khi được phép ở 12.6.
Hỗn hợp gắn, nếu có, không được chảy ra.
Bảng 1 - Độ tăng nhiệt bình thường lớn nhất
| Bộ phận | Độ tăng nhiệt °C |
| Cuộn dây a), nếu cách điện của cuộn dây theo IEC 60085 là: |
|
| - Cấp 105 - Cấp 120 - Cấp 130 - Cấp 155 - Cấp 180 - Cấp 200 - Cấp 220 - Cấp 250 | 75 (65) 90(80) 95 (85) 115 140 160 180 210 |
| Chân của các phích cắm điện vào thiết bị: |
|
| - trong điều kiện nóng - trong điều kiện lạnh | 95 40 |
| Môi trường xung quanh các cơ cấu đóng cắt, bộ hạn chế nhiệt b) |
|
| - không có ký hiệu T - có ký hiệu T | 30 T-25 |
| Cách điện bằng cao su hoặc PVC của dây dẫn bên trong và bên ngoài kể cả dây nguồn: |
|
| - không có thông số nhiệt độ c) - có thông số nhiệt độ (T) | 50 T-25 |
| Vỏ bọc dây dẫn được sử dụng làm cách điện phụ | 35 |
| Cao su, trừ cao su tổng hợp, dùng làm các miếng đệm hoặc các bộ phận khác mà nếu hỏng có thể ảnh hưởng đến an toàn: | 40 |
| - khi sử dụng làm cách điện phụ hoặc cách điện tăng cường - trong các trường hợp khác | 40 50 |
| Đui đèn có ghi nhãn E14 và B15: |
|
| - loại kim loại hoặc gốm - loại có cách điện không phải là gốm - có ghi nhãn T | 130 90 T-25 |
| Vật liệu được sử dụng làm cách điện, trừ các loại qui định cho dây dẫn và cuộn dâyd): |
|
| - sợi, giấy hoặc bìa ép được tẩm hoặc tráng vécni - cách điện nhiều lớp được liên kết bằng: • nhựa melamin - formaldehyd, phenol-formaldehyd hoặc phenol-furfural • nhựa ure-formaldehyd - tấm mạch in được liên kết bằng nhựa epoxy - vật liệu đúc bằng. • phenol-formaldehyd có chất độn bằng xenlulô • phenol-formaldehyd có chất độn bằng chất khoáng • melamin-formaldehyd • ure-formaldehyd | 70
85 (175) 65 (150) 120
85 (175) 100 (200) 75 (175) 65 (150) |
| - polyester cốt sợi thủy tinh | 110 |
| - cao su Silicon | 145 |
| - polytetrafloethylen | 265 |
| - mica tinh khiết và vật liệu gốm thiêu kết chặt khi được sử dụng làm cách điện phụ hoặc cách điện tăng cường | 400 |
| - Vật liệu nhựa nhiệt dẻo e) | - |
| Gỗ nói chung f) | 65 |
| Bề mặt bên ngoài của các tụ điện 9): - có ghi nhãn nhiệt độ làm việc lớn nhất (T) - không ghi nhãn nhiệt độ làm việc lớn nhất: • tụ gốm cỡ nhỏ dùng để triệt nhiễu rađiô và truyền hình • tụ phù hợp với IEC 60384-14 hoặc 14.2 của IEC 60065 • các loại tụ khác9) |
T-25
50 50 20 |
| Vỏ ngoài của dụng cụ không có phần tử gia nhiệt, trừ tay cầm được cầm vào trong sử dụng bình thường | 60 |
| Tay cầm, núm, cán và các bộ phận tương tự được cầm nắm liên tục trong sử dụng bình thường: |
|
| - bằng kim loại - bằng sứ hoặc vật liệu thủy tinh - bằng vật liệu đúc, cao su hoặc gỗ | 30 40 50 |
| Tay cầm, núm, cán và các bộ phận tương tự trong sử dụng bình thường chỉ được cầm nắm trong thời gian ngắn (ví dụ như cơ cấu đóng cắt): |
|
| - bằng kim loại - bằng sứ hoặc vật liệu thủy tinh - bằng vật liệu đúc, cao su hoặc gỗ | 35 45 60 |
| Các bộ phận tiếp xúc với dầu có điểm chớp cháy ở t °C | t-50 |
| a) Để xét tới thực tế là nhiệt độ trung bình của các cuộn dây của các động cơ vạn năng, rơle, cuộn kháng và các linh kiện tương tự, thường cao hơn nhiệt độ ở các điểm đặt nhiệt ngẫu trên các cuộn dây, áp dụng các số không nằm trong ngoặc khi sử dụng phương pháp điện trở, còn áp dụng các số nằm trong ngoặc khi sử dụng nhiệt ngẫu. Đối với cuộn dây của máy rung và động cơ xoay chiều, các số không nằm trong ngoặc được áp dụng cho cả hai trường hợp. Đối với các động cơ có kết cấu làm cản trở sự lưu thông không khí giữa bên trong và bên ngoài của vỏ nhưng không kín đến mức bị coi là kín khí thì giới hạn độ tăng nhiệt có thể tăng thêm 5 °C. b) T là nhiệt độ làm việc lớn nhất. Nhiệt độ môi trường của cơ cấu đóng cắt, bộ điều nhiệt và bộ hạn chế nhiệt độ là nhiệt độ của không khí ở điểm nóng nhất cách bề mặt của cơ cấu đóng cắt và các thành phần liên quan 5 mm. Đối với thử nghiệm này, các cơ cấu đóng cắt và bộ điều nhiệt có ghi thông số danh định riêng có thể đưọc xem là không có ký hiệu nhiệt độ làm việc lớn nhất, nếu có yêu cầu của nhà chế tạo dụng cụ. c) Giới hạn này áp dụng cho cáp, dây nguồn, sợi dây phù hợp với tiêu chuẩn IEC liên quan; với các loại dây khác, giới hạn này có thể khác. d) Áp dụng các giá trị trong ngoặc nếu vật liệu được sử dụng làm tay cầm, núm, cán và bộ phận tương tự và có tiếp xúc với kim loại nóng. e) Không có giới hạn cụ thể cho vật liệu nhựa nhiệt dẻo mà phải chịu các thử nghiệm của 29.1 để xác định độ tăng nhiệt. f) Giới hạn qui định liên quan đến sự xuống cấp của gỗ mà không tính đến sự suy giảm của lớp phủ bề mặt. g) Không có giới hạn đối với độ tăng nhiệt của các tụ điện bị ngắn mạch ở 18.10. Nếu sử dụng các vật liệu này hoặc vật liệu khác, không được để chúng phải chịu nhiệt độ vượt quá khả năng chịu nhiệt như xác định bằng thử nghiệm lão hoá trên bản thân vật liệu. Độ tăng nhiệt của cuộn dây được tính theo công thức:
trong đó: Δt là độ tăng nhiệt của cuộn dây; R1 là điện trở khi bắt đầu thử nghiệm; R2 là điện trở khi kết thúc thử nghiệm; k bằng 234,5 đối với cuộn dây bằng đồng và 225 đối với cuộn dây bằng nhôm; t1 là nhiệt độ môi trường lúc bắt đầu thử nghiệm; t2 là nhiệt độ môi trường lúc kết thúc thử nghiệm. Vào lúc bắt đầu thử nghiệm, các cuộn dây phải ở nhiệt độ môi trường. Điện trở cuộn dây lúc kết thúc thử nghiệm nên xác định bằng cách đo điện trở càng sớm càng tốt sau khi ngắt điện và sau đó đo nhiều lần cách nhau một khoảng thời gian ngắn để vẽ được đường cong điện trở theo thời gian từ đó có thể xác định chính xác điện trở ở thời điểm ngắt điện. | |
12.6. Nếu các cuộn dây được phân loại theo IEC 60085 và độ tăng nhiệt không vượt quá giá trị trong Bảng 1 thì không cần tiến hành thử nghiệm dưới đây.
Ba mẫu bổ sung phải chịu các thử nghiệm dưới đây.
a) Các mẫu được tháo dỡ đến chừng mực có thể nhưng không gây hỏng bất kỳ bộ phận nào. Cuộn dây được giữ 10 ngày (240 h) trong tủ gia nhiệt, nhiệt độ của tủ lớn hơn độ tăng nhiệt của cuộn dây được xác định theo 12.3 là (80 ± 1) °C.
b) Sau xử lý này, mẫu được lắp ráp lại và không được xảy ra chạm chập giữa các vòng dây. Chạm chập giữa các vòng dây có thể được phát hiện bằng máy kiểm tra quấn dây.
c) Sau đó các mẫu phải chịu xử lý ẩm như qui định ở 14.3.
d) Sau xử lý này, chúng phải chịu được các thử nghiệm ở Điều 13 và Điều 15.
Các sự cố có thể xuất hiện trên cách điện mà độ tăng nhiệt không bị vượt quá ở thử nghiệm 12.3 thì được bỏ qua nhưng được sửa chữa, nếu cần thiết, để hoàn thành các thử nghiệm của điều 12.6 này.
13. Dòng điện rò
13.1. Dòng điện rò không được lớn quá mức.
Kiểm tra sự phù hợp bằng thử nghiệm dưới đây ở điện áp nguồn bằng 1,06 lần điện áp danh định.
Thử nghiệm dòng điện rò được thực hiện với điện xoay chiều, nếu dụng cụ chỉ dùng ở điện một chiều thì không thực hiện thử nghiệm này.
Trở kháng bảo vệ được ngắt ra khỏi các bộ phận mang điện trước khi tiến hành các thử nghiệm.
Khuyến cáo rằng dụng cụ cần được cấp nguồn qua máy biến áp cách ly; nếu không thì phải được cách ly với đất.
13.2. Đo dòng điện rò bằng mạch điện trên Hình 10, một đầu đo đặt lên một cực bất kỳ của nguồn còn đầu kia đặt lên các bộ phận kim loại chạm tới được nối với lá kim loại có diện tích không vượt quá 20 cm x 10 cm tiếp xúc với các bề mặt chạm tới được của vật liệu cách điện.
Lá kim loại có diện tích lớn nhất có thể trên bề mặt cần thử nghiệm nhưng không vượt quá kích thước qui định. Nếu diện tích của lá kim loại nhỏ hơn bề mặt cần thử nghiệm thì dịch chuyển lá kim loại này sao cho thử nghiệm được tất cả các phần của bề mặt. Tuy nhiên, lá kim loại không được ảnh hưởng đến tản nhiệt của dụng cụ.
Dụng cụ ba pha, thích hợp cho cả nguồn một pha, được thử nghiệm như dụng cụ một pha có ba phần nối song song. Đối với dụng cụ một pha và dụng cụ ba pha được thử nghiệm như dụng cụ một pha, đo dòng điện rò bằng cơ cấu đóng cắt có bộ chọn như trên Hình 3 tại từng vị trí 1 và 2 còn công tắc S1 ở vị trí "đóng".
Đối với dụng cụ ba pha không thích hợp cho nguồn một pha, dòng điện rò được đo theo Hình 4, với các công tắc a, b và c ở vị trí "đóng". Đối với dụng cụ chỉ nối hình sao thì không nối trung tính.
Sau khi đặt điện áp thử nghiệm, dòng điện rò đo được trong vòng 5 s không được vượt quá các giá trị sau:
- với bộ phận kim loại chạm tới được và lá kim loại:
đối với dụng cụ cấp I 0,75 mA
đối với thiết bị cấp II 0,25 mA
đối với dụng cụ cấp III 0,5 mA
Nếu dụng cụ có lắp một hoặc nhiều tụ điện và có cơ cấu đóng cắt một cực thì lặp lại các phép đo với cơ cấu đóng cắt ở vị trí cắt.
14. Khả năng chống ẩm
4.1. Vỏ bọc của dụng cụ phải có mức bảo vệ chống ẩm tương ứng với phân loại của dụng cụ.
Kiểm tra sự phù hợp bằng xử lý thích hợp như qui định ở 14.1.2, với tình trạng của dụng cụ như ở 14.1.1.
14.1.1. Dụng cụ không được nối đến nguồn điện.
Dụng cụ được xoay liên tục qua các vị trí bất lợi nhất trong quá trình thử nghiệm.
Dụng cụ có nối dây kiểu X được lắp với loại dây mềm nhẹ nhất cho phép, có mặt cắt nhỏ nhất qui định ở 25.2; các dụng cụ khác được thử nghiệm như khi được giao.
Các linh kiện điện, nắp đậy hoặc các bộ phận khác có thể tháo được mà không cần dụng cụ hỗ trợ thì được tháo ra và nếu cần, phải chịu xử lý liên quan cùng với bộ phận chính.
14.1.2. Dụng cụ không thuộc loại IPX0 phải chịu các thử nghiệm của TCVN 4255 (IEC 60529) như sau:
- đối với dụng cụ IPX1, thử nghiệm như mô tả trong 14.2.1;
- đối với dụng cụ IPX2, thử nghiệm như mô tả trong 14.2.2;
- đối với dụng cụ IPX3, thử nghiệm như mô tả trong 14.2.3;
- đối với dụng cụ IPX4, thử nghiệm như mô tả trong 14.2.4;
- đối với dụng cụ IPX5, thử nghiệm như mô tả trong 14.2.5;
- đối với dụng cụ IPX6, thử nghiệm như mô tả trong 14.2.6;
- đối với dụng cụ IPX7, thử nghiệm như mô tả trong 14.2.7.
Đối với thử nghiệm ở 14.2.7, dụng cụ được ngâm trong nước chứa xấp xỉ 1,0 % NaCI.
Ngay sau khi được xử lý thích hợp, dụng cụ phải chịu được thử nghiệm độ bền điện qui định ở Điều 15 và kiểm tra phải cho thấy không có vệt nước trên cách điện có thể dẫn đến giảm chiều dài đường rò và khe hở không khí xuống thấp hơn các giá trị qui định trong 28.1.
Dụng cụ không phải chịu chất lỏng tràn ra trong sử dụng bình thường thì được phép đặt đứng trong khí quyển bình thường của phòng thử nghiệm trong 24 h trước khi phải chịu thử nghiệm 14.3.
14.2. Dụng cụ trong sử dụng bình thường có thể phải chịu chất lỏng tràn ra thì phải có kết cấu sao cho chất lỏng tràn không ảnh hưởng đến cách điện của dụng cụ.
Kiểm tra sự phù hợp bằng thử nghiệm sau:
Dụng cụ có ổ cắm điện vào được lắp với bộ nối và dây dẫn mềm thích hợp; dụng cụ có nối dây kiểu X được lắp với loại dây mềm nhẹ nhất cho phép có mặt cắt nhỏ nhất qui định ở 25.2; các dụng cụ khác được thử nghiệm như khi được giao.
Các linh kiện điện, nắp đậy hoặc các bộ phận khác có thể tháo được mà không cần dụng cụ hỗ trợ thì được tháo ra, trừ các linh kiện đáp ứng thử nghiệm ở 21.22.
Bình chứa chất lỏng của dụng cụ được đổ đầy nước chứa khoảng 1,0 % NaCI và sau đó đổ đều đều thêm một lượng bằng 15 % thể tích bình chứa, hoặc 0,25 I, lấy giá trị lớn hơn, trong thời gian 1 min.
Ngay sau xử lý này, dụng cụ phải chịu được thử nghiệm độ bền điện như qui định trong Điều 15 và kiểm tra phải cho thấy không có vệt nước nào trên cách điện có thể dẫn đến giảm chiều dài đường rò hoặc khe hở không khí xuống thấp hơn giá trị qui định ở 28.1.
Dụng cụ được đặt trong khí quyển bình thường của phòng thử nghiệm trong 24 h trước khi cho chịu thử nghiệm ở 14.3.
14.3. Dụng cụ phải chịu được điều kiện ẩm có thể xuất hiện trong sử dụng bình thường.
Kiểm tra sự phù hợp bằng thử nghiệm ẩm dưới đây.
Lối cáp vào, nếu có, được để hở. Nếu có vách đột thì đột thủng một trong các vách đột đó.
Các linh kiện điện, nắp đậy hoặc các bộ phận khác có thể tháo được mà không cần dụng cụ hỗ trợ thì được tháo ra và nếu cần, phải chịu thử nghiệm ẩm cùng với bộ phận chính.
Xử lý ẩm được tiến hành trong tủ ẩm có chứa không khí có độ ẩm tương đối (93 ± 2) % đạt được bằng cách đặt vào tủ ẩm một dung dịch bão hoà Na2SO4 hoặc KNO3 trong nước, có bể mặt tiếp xúc với không khí đủ lớn. Tại tất cả các vị trí có thể đặt mẫu, nhiệt độ không khí được duy trì trong phạm vi 1 °C xung quanh giá trị t thích hợp bất kỳ từ 20 °C đến 30 °C. Để đạt được điều kiện qui định trong tủ ẩm, cần đảm bảo lưu thông không khí không đổi bên trong và thường sử dụng tủ có cách nhiệt.
Trước khi đặt vào tủ ẩm, mẫu được đưa về nhiệt độ trong phạm vi từ t đến (t+4) °C. Dụng cụ được coi là được đưa về nhiệt độ qui định bằng cách giữ nó ở nhiệt độ này ít nhất là 4 h trước khi xử lý ẩm.
Dụng cụ được giữ trong tủ trong 48 h.
Ngay sau thử nghiệm này, dụng cụ phải chịu được các thử nghiệm của Điều 13 ở điện áp danh định hoặc giá trị trung bình của dải điện áp danh định với cơ cấu đóng cắt của dụng cụ ở vị trí "đóng" và trong các điều kiện dưới đây.
Đối với dụng cụ một pha và dụng cụ ba pha cần thử nghiệm như dụng cụ một pha: công tắc S1 của Hình 3 ở vị trí "cắt".
Đối với dụng cụ ba pha không thích hợp cho nguồn một pha: công tắc a trong Hình 4 ở vị trí "đóng", các công tắc b và c ở vị trí "cắt".
Sau đó, dụng cụ phải chịu được thử nghiệm ở Điều 15 trong tủ ẩm, hoặc trong phòng ở đó dụng cụ được đưa về nhiệt độ qui định trên đây sau khi lắp lại các bộ phận mà có thể đã tháo ra.
14.4. Hệ thống chất lỏng không được làm tăng rủi ro điện giật cho người sử dụng khi sử dụng sai ở mức hợp lý dự đoán được.
Kiểm tra sự phù hợp bằng thử nghiệm sau:
Thiết bị bảo vệ dòng dư, nếu có, phải được làm mất hiệu lực trong quá trình thử nghiệm.
Cho dụng cụ làm việc ở điện áp danh định với dung dịch khoảng 1,0 % NaCI theo các phương thức dưới đây, nếu thuộc đối tượng áp dụng:
sau khi đổ tràn bình chứa chất lỏng khoảng 15 % khả năng chứa của bình, hoặc 0,25 I, chọn giá trị lớn hơn;
không lắp gioăng hoặc chi tiết mà người sử dụng tháo ra được;
lắp ráp sai các mối nối của hệ thống chất lỏng mà người sử dụng thường làm.
Trong mỗi phương thức, dụng cụ được làm việc trong 1 min ở tất cả các vị trí phù hợp với IEC 60745-2 liên quan và hướng dẫn của nhà chế tạo trong khi đó thì theo dõi dòng điện rò như ở Điều 13. Trong quá trình thử nghiệm dòng điện rò không được vượt quá:
2 mA đối với dụng cụ cấp II;
5 mA đối với dụng cụ cấp I.
Sau thử nghiệm này, dụng cụ phải đáp ứng thử nghiệm ở 13.1 sau khi để khô trong 24 h ỏ nhiệt độ môi trường.
14.5. Hệ thống chất lỏng phải được kết cấu từ các bộ phận hợp thành có khả năng chịu được áp suất trong sử dụng bình thường mà không bị rò rỉ.
Kiểm tra sự phù hợp bằng thử nghiệm sau:
Hệ thống chất lỏng được khóa lại và đặt vào dung dịch NaCI khoảng 1,0 % ở áp suất thủy tĩnh bằng hai lần áp suất chỉ ra trong 8.12.2 d) 1) trong 1 h. Đo dòng điện rò của các bộ phận chạm tới được như mô tả ở Điều 13. Trong quá trình thử nghiệm, dòng điện rò không được vượt quá:
2 mA đối với dụng cụ cấp II;
5 mA đối với dụng cụ cấp I.
Sau thử nghiệm này, dụng cụ phải đáp ứng thử nghiệm ở 13.1 sau khi để khô trong 24 h ở nhiệt độ môi trường xung quanh.
Thiết bị bảo vệ dòng dư, nếu có, phải được làm mất hiệu lực trong quá trình thử nghiệm.
14.6. Thiết bị bảo vệ dòng dư được sử dụng để cung cấp bảo vệ chống điện giật trong trường hợp hỏng hệ thống chất lỏng phải phù hợp với IEC 61540 và phải đáp ứng các yêu cầu từ a) đến c) dưới đây:
a) RCD phải ngắt cả hai dây dẫn nguồn lưới, nhưng không ngắt dây nối đất nếu có, khi dòng điện rò vượt quá 10 mA và có thời gian tác động lớn nhất là 300 ms.
Kiểm tra sự phù hợp bằng cách xem xét và thử nghiệm ở 9.9.2 của IEC 61540. Ngoài ra, trong quá trình thử nghiệm, dây nối đất không được ngắt ra.
b) RCD phải hoạt động tin cậy trong sử dụng như dự kiến.
Kiểm tra sự phù hợp ở điện áp danh định bằng cách cho tác động thiết bị bảo vệ dòng dư trong điều kiện giá trị dòng rò mô phỏng như nêu trong (a) ở trên trong điều kiện khoá cứng rôto của dụng cụ trong 50 chu kỳ. Thiết bị bảo vệ dòng dư phải tác động đúng cho tất cả các chu kỳ.
c) RCD phải được lắp đặt sao cho ít có khả năng bị tháo ra trong quá trình sử dụng hoặc trong quá trình bảo trì định kỳ thông thường.
Yêu cầu này được xem là thoả mãn nếu thiết bị bảo vệ dòng dư được cố định vào dụng cụ hoặc cố định với dây nguồn nối với dụng cụ.
Trong trường hợp RCD lắp trên dây nguồn, thiết bị bảo vệ dòng dư phải có nối dây kiểu Y hoặc nối dây kiểu Z để nối với dây nguồn và dây liên kết.
Kiểm tra sự phù hợp bằng cách xem xét.
15. Độ bền điện
15.1. Dụng cụ phải có đủ độ bền điện.
Kiểm tra sự phù hợp bằng các thử nghiệm ở 15.2.
Trở kháng bảo vệ được tháo khỏi bộ phận mang điện trước khi tiến hành các thử nghiệm.
Thử nghiệm được thực hiện với dụng cụ ở nhiệt độ phòng và không nối với nguồn.
15.2. Cách điện phải chịu trong 1 min điện áp có dạng sóng cơ bản là hình sin, có tần số 50 Hz hoặc 60 Hz. Giá trị điện áp thử nghiệm đối với các điểm đặt điện áp như thể hiện trong Bảng 2, trừ khi có qui định khác.
Các bộ phận chạm tới được là vật liệu cách điện được bọc bằng lá kim loại.
Bảng 2 - Điện áp thử nghiệm
| Điểm đặt | Điện áp thử nghiệm V | ||
| Dụng cụ và kết cấu cấp III | Dụng cụ và kết cấu cấp II | Dụng cụ khác | |
| 1. Giữa các bộ phận mang điện và bộ phận kim loại chạm tới được cách ly với bộ phận mang điện: |
|
|
|
| - chỉ bằng cách điện chính - bằng cách điện tăng cường | 500 - | - 3 750 | 1 250 3 750 |
| 2. Đối với các bộ phận có cách điện kép, giữa các bộ phận kim loại cách ly với bộ phận mang điện chỉ bằng cách điện chính và |
|
|
|
| bộ phận mang điện bộ phận chạm tới đươc | - - | 1 250 2 500 | 1 250 2 500 |
| 3. Giữa vỏ bọc hoặc nắp đậy kim loại có lót vật liệu cách điện và lá kim loại tiếp xúc với bề mặt bên trong của lớp lót, nếu khoảng cách giữa các bộ phận mang điện và vỏ bọc hoặc nắp đậy kim loại này, đo được qua lớp lót, nhỏ hơn khe hở không khí thích hợp như qui định trong 28.1 | - | 2 500 | 1 250 |
| 4. Giữa lá kim loại tiếp xúc với tay cầm, núm, cán và bộ phận tương tự và trục của chúng, nếu các trục này có thể trở nên mang điện khi có sự cố cách điện | - | 2 500 | 2 500 |
| 5. Giữa các bộ phận chạm tới được và đuờng kính trong của lớp bảo vệ dây có bọc lá kim loại. | - | 2 500 | 1 250 |
| 6. Giữa điểm mà dây quấn và tụ điện được nối với nhau, nếu điện áp cộng hưởng U xuất hiện giữa điểm này và đầu nối bất kỳ của dây dẫn bên ngoài, và |
|
|
|
| - bộ phận chạm tới được a) - phần kim loại cách ly với bộ phận mang điện chỉ bằng cách điện chính | - - | - 2 U + 1 000 | 2 U + 1 000 - |
| a) Thử nghiệm giữa điểm mà dây quấn và tụ điện được nối với nhau, và các bộ phận chạm tới được hoặc phần kim loại chỉ được thực hiện trong trường hợp cách điện phải chịu điện áp cộng hưởng ở điều kiện làm việc bình thuờng. Các bộ phận khác được ngắt ra và tụ điện được nối tắt. | |||
Ban đầu, đặt không quá một nửa giá trị điện áp qui định, sau đó, tăng nhanh đến giá trị đầy đủ.
Không được xuất hiện phóng điện bề mặt hoặc phóng điện đánh thủng trong quá trình thử nghiệm.
Máy biến áp cao áp sử dụng cho thử nghiệm phải được thiết kế sao cho khi điện áp ra được điều chỉnh đến điện áp thử nghiệm thích hợp mà nối tắt các đầu ra sau thì dòng điện ra ít nhất là 200 mA.
Rơle quá dòng không được tác động khi dòng điện ra nhỏ hơn 100 mA.
Lưu ý rằng giá trị hiệu dụng của điện áp thử nghiệm đặt vào được đo với dung sai ± 3%.
Cần đặt lá kim loại cẩn thận sao cho không xuất hiện phóng điện bề mặt tại các mép của nó hoặc các mép của cách điện.
Đối với kết cấu cấp II có cả cách điện tăng cường và cách điện kép, phải cẩn thận để điện áp đặt lên cách điện tăng cường không gây ứng suất điện quá lớn lên cách điện chính hoặc cách điện phụ.
Trong trường hợp cách điện chính và cách điện phụ không thể thử nghiệm riêng biệt, cách điện này phải chịu điện áp thử nghiệm qui định cho cách điện tăng cường.
Khi thử nghiệm lớp phủ cách điện, lá kim loại có thể được ép vào cách điện bằng túi cát có kích cỡ sao cho lực ép xấp xỉ bằng 0,5 N/cm2. Thử nghiệm này có thể được giới hạn ở vị trí mà ở đó cách điện có nhiều khả năng bị yếu, ví dụ ở chỗ có gờ kim loại sắc bên dưới cách điện.
Nếu thực hiện được thì các lớp lót cách điện được thử nghiệm riêng biệt.
Đối với dụng cụ có lắp phần tử gia nhiệt, điện áp thử nghiệm qui định ở TCVN 5699-1 (IEC 60335-1) chỉ áp dụng cho phần tử gia nhiệt mà không áp dụng cho các bộ phận khác của dụng cụ.
16. Bảo vệ quá tải máy biến áp và các mạch điện liên quan
Dụng cụ có mạch điện được cấp nguồn từ máy biến áp phải có kết cấu sao cho, trong trường hợp ngắn mạch có khả năng xảy ra trong sử dụng bình thường, máy biến áp hoặc mạch lắp cùng với máy biến áp không bị nóng quá mức.
Ví dụ ngắn mạch có khả năng xảy ra trong sử dụng bình thường là chạm chập các dây dẫn trần hoặc dây dẫn cách điện không đủ của mạch điện chạm tới được làm việc ở điện áp cực thấp an toàn và ngắn mạch bên trong của dây tóc bóng đèn.
Sự cố cách điện phù hợp với yêu cầu qui định đối với cách điện chính của kết cấu cấp I hoặc cấp II không được coi là có nhiều khả năng xảy ra trong sử dụng bình thường đối với mục đích của yêu cầu
Kiểm tra sự phù hợp bằng cách đưa vào điều kiện ngắn mạch hoặc quá tải bất lợi nhất có nhiều khả năng xuất hiện trong sử dụng bình thường, dụng cụ được làm việc ở điện áp bằng 1,06 lần hoặc 0,94 lần điện áp danh định, chọn giá trị bất lợi hơn.
Độ tăng nhiệt của cách điện dây dẫn của mạch điện áp cực thấp an toàn phải được xác định và giá trị này không được vượt quá 15 °C so với giá trị tương ứng qui định trong Bảng 1.
Nhiệt độ cuộn dây của máy biến áp không được vượt quá giá trị qui định đối với cuộn dây ở 18.9, ngoại trừ máy biến áp phù hợp với IEC 61558-1.
CHÚ THÍCH: Bảo vệ cuộn dây máy biến áp có thể đạt được, ví dụ bằng trở kháng nội tại của cuộn dây hoặc bằng cầu chảy, cơ cấu đóng cắt tự động, thiết bị cắt theo nguyên lý nhiệt hoặc thiết bị tương tự lắp trong máy biến áp, hoặc thiết bị tương tự đặt bên trong dụng cụ mà chỉ tiếp cận được khi có dụng cụ hỗ trợ.
17. Độ bền
17.1. Dụng cụ phải có kết cấu sao cho, trong sử dụng dài hạn bình thường, không bị hỏng về điện hoặc cơ đến mức không còn phù hợp với tiêu chuẩn này. Cách điện không được hỏng và các tiếp điểm và các mối nối không bị lỏng lẻo do nhiệt, do rung, v.v...
Ngoài ra, thiết bị bảo vệ quá tải không được tác động trong các điều kiện làm việc bình thường.
Kiểm tra sự phù hợp bằng thử nghiệm ở 17.2 và đối với dụng cụ có cơ cấu đóng cắt khởi động kiểu ly tâm hoặc cơ cấu đóng cắt khởi động khác, phải kiểm tra thêm bằng thử nghiệm ở 17.3.
Ngay sau các thử nghiệm này, dụng cụ phải chịu được thử nghiệm độ bền điện như qui định ở Điều 15, tuy nhiên, điện áp thử nghiệm được giảm về 75 % giá trị qui định. Các mối nối không được bị lỏng lẻo và không bị hỏng dẫn đến mất an toàn trong sử dụng bình thường.
17.2. Cho dụng cụ làm việc gián đoạn không tải trong 24 h ở điện áp bằng 1,1 lần điện áp danh định rồi sau đó cho làm việc trong 24 h ở điện áp bằng 0,9 lần điện áp danh định.
Dụng cụ có thể được đóng và cắt điện bằng cơ cấu đóng cắt không phải ià cơ cấu đóng cắt được lắp trong dụng cụ.
Mỗi chu kỳ làm việc gồm có một giai đoạn "đóng" bằng 100 s và một giai đoạn "cắt" bằng 20 s, giai đoạn "cắt" được tính vào thời gian làm việc qui định.
Giai đoạn làm việc đối với dụng cụ làm việc ngắn hạn hoặc gián đoạn là thời gian làm việc, nếu thời gian này bị giới hạn bởi kết cấu của dụng cụ; nếu không, giai đoạn này phải phù hợp với mô tả cho trong IEC 60745-2 hoặc theo ghi nhãn, chọn giá trị bất lợi hơn.
Trong quá trình thử nghiệm, dụng cụ được đặt ở ba tư thế khác nhau, thòi gian làm việc ở mỗi điện áp thử nghiệm vào khoảng 8 h ở mỗi tư thế.
Trong quá trình thử nghiệm, cho phép thay chổi than và dụng cụ được bôi dầu và mỡ như trong sử dụng bình thường.
Nếu độ tăng nhiệt của bộ phận bất kỳ của dụng cụ vượt quá độ tăng nhiệt được xác định trong thử nghiệm 12.1, thì cho làm mát cưỡng bức hoặc có giai đoạn nghỉ nhưng giai đoạn nghỉ không được tính vào thời gian làm việc qui định.
Trong suốt các thử nghiệm này, thiết bị bảo vệ quá tải không được tác động.
CHÚ THÍCH: Thay đổi tư thế để ngăn ngừa tích luỹ không bình thường của bụi than ở bất kỳ vị trí cụ thể nào. Ví dụ về ba tư thế là nằm ngang, thẳng đứng hướng lên và thẳng đứng hướng xuống.
17.3. Dụng cụ có cơ cấu đóng cắt khởi động kiểu ly tâm hoặc cơ cấu đóng cắt khởi động tự động khác được khởi động 10 000 lần với tải bình thường và ở điện áp bằng 0,9 lần điện áp danh định, chu kỳ làm việc được qui định ở 17.2.
18. Hoạt động không bình thường
18.1. Dụng cụ phải được thiết kế để ngăn ngừa tối đa các rủi ro về cháy và hư hại về cơ gây mất an toàn hoặc ảnh hưởng đến bảo vệ chống điện giật do hoạt động trong điều kiện không bình thường.
Có thể sử dụng cầu chảy, thiết bị cắt theo nguyên lý nhiệt, thiết bị bảo vệ quá dòng hoặc thiết bị tương tự lắp bên trong dụng cụ để tạo ra bảo vệ cần thiết.
Kiểm tra sự phù hợp bằng các thử nghiệm trong các điều từ 18.2 đến 18.9.
18.2. Dụng cụ có lắp phần tử gia nhiệt phải chịu các thử nghiệm ở 18.3 và 18.4. Ngoài ra, dụng cụ có bộ điều khiển hạn chế nhiệt độ trong các thử nghiệm ở Điều 12 trừ khi bị loại ra ở các IEC 60745-2, phải chịu các thử nghiệm ở 18.5, và trong trường hợp thuộc đối tượng áp dụng thì phải chịu thử nghiệm ở 18.6.
Chỉ được mô phỏng một điều kiện không bình thường tại một thời điểm. Nếu có từ hai thử nghiệm trở lên có thể phải tiến hành cho một dụng cụ thì các thử nghiệm này phải tiến hành tuần tự.
Nếu không có qui định nào khác, thì thử nghiệm được tiến hành liên tục cho đến khi thiết bị cắt theo nguyên lý nhiệt không tự phục hồi tác động hoặc đến khi điều kiện ổn định được xác lập. Trong quá trình thử nghiệm, nếu phần tử gia nhiệt hoặc bộ phận yếu có chủ ý bị hở mạch vĩnh viễn thì lặp lại thử nghiệm tương ứng trên mẫu thứ hai. Thử nghiệm thứ hai này cũng phải có cùng kết quả như trên, trừ khi thử nghiệm kết thúc thoả đáng.
Bộ phận yếu có chủ ý là bộ phận được thiết kế để hỏng ở điều kiện hoạt động không bình thường nhằm ngăn ngừa xảy ra tình trạng có thể dẫn đến không phù hợp với tiêu chuẩn này. Bộ phận này có thể là một linh kiện thay thế được như điện trở, tụ điện, cầu nhiệt hoặc một phần của linh kiện cần thay thế như thiết bị cắt theo nguyên lý nhiệt không chạm tới được và không đặt lại được lắp bên trong động cơ.
18.3. Dụng cụ có phần tử gia nhiệt được thử nghiệm ở điều kiện qui định trong Điều 12 nhưng việc tản nhiệt bị hạn chế. Điện áp nguồn được xác định trước khi thử nghiệm là điện áp cần thiết để tạo ra một công suất vào bằng 0,85 lần công suất danh định trong điều kiện làm việc bình thường khi đã thiết lập các điều kiện ổn định. Điện áp này được duy trì trong suốt thời gian thử nghiệm.
Dụng cụ được để nguội về xấp xỉ nhiệt độ phòng trước khi phải chịu thử nghiệm ở 18.4.
18.4. Lặp lại thử nghiệm ở 18.3 nhưng với điện áp nguồn, đã xác định trước khi thử nghiệm, bằng với điện áp yêu cầu để cung cấp công suất vào bằng 1,24 lần công suất danh định trong điều kiện làm việc bình thường khi đã thiết lập các điều kiện ổn định. Điện áp này được duy trì trong suốt thời gian thử nghiệm.
18.5. Dụng cụ được thử nghiệm trong các điều kiện qui định ở Điều 12 khi làm việc bình thường, điện áp cung cấp phải sao cho công suất vào bằng 1,15 lần công suất danh định nhưng tất cả các cơ cấu điều khiển hạn chế nhiệt độ trong thử nghiệm ở Điều 12 đều được nối tắt.
Nếu dụng cụ có nhiều cơ cấu điều khiển thì chúng được nối tắt lần lượt.
18.6. Nếu không xảy ra ngắt tất cả các cực trong quá trình thử nghiệm ở 18.5 đối với dụng cụ cấp I có các phần tử gia nhiệt nằm trong ống rồi đúc liền nhưng không được thiết kế để nối vĩnh viễn với hệ thống đi dây cố định thì lặp lại thử nghiệm ở 18.5 với các cơ cấu điều khiển hạn chế nhiệt độ trong thử nghiệm ở Điều 12 không nối tắt và một đầu của phần tử gia nhiệt được nối đất. Lặp lại thử nghiệm này nhưng đảo cực tính của nguồn cung cấp điện cho dụng cụ và đầu kia của phần tử gia nhiệt được nối đất.
18.7. Thử nghiệm dưới đây được thực hiện với dụng cụ dùng để cắt, như lưỡi cưa, đá mài, v.v... được tháo ra.
- Dụng cụ có lắp động cơ cổ góp cho làm việc không tải ở điện áp bằng 1,3 lần điện áp danh định, hoặc giới hạn trên của dải điện áp, trong 1 min.
Sau các thử nghiệm ở các điều từ 18.2 đến 18.7, tính an toàn của dụng cụ không bị phương hại, đặc biệt là cuộn dây và các mối nối không được bị lỏng lẻo. Sau các thử nghiệm này, dụng cụ không nhất thiết phải có khả năng để sử dụng thêm nữa.
18.8. Các loại dụng cụ dưới đây có lắp động cơ cảm ứng và:
a) có mômen khởi động nhỏ hơn mômen đầy tải; hoặc
b) được khởi động bằng tay; hoặc
c) có các bộ phận chuyển động có thể bị kẹt hoặc trong trường hợp các bộ phận chuyển động có thể dừng bằng tay trong khi động cơ vẫn có điện trong hoạt động này;
bắt đầu từ trạng thái nguội, động cơ được nối đến điện áp danh định hoặc giói hạn trên của dải điện áp danh định với các bộ phận chuyển động được hãm lại
trong 30 s đối với dụng cụ thao tác bằng tay trong quá trình sử dụng;
trong 5 min đối với dụng cụ phải quan sát khi sử dụng.
Kết thúc thời gian thử nghiệm qui định hoặc tại thời điểm tác động của cầu chảy, của thiết bị cắt theo nguyên lý nhiệt, thiết bị bảo vệ động cơ và thiết bị tương tự, nhiệt độ của cuộn dây không được vượt quá giá trị được chỉ ra trong Bảng 3.
18.9. Dụng cụ có lắp động cơ ba pha được cho làm việc, bắt đầu từ trạng thái nguội, với một pha bị ngắt và mômen tạo tải bình thường
trong 30 s nếu duy trì đóng điện bằng giữ tay hoặc mang tải liên tục bằng giữ tay;
trong 5 min đối với dụng cụ khác,
Kết thúc thời gian thử nghiệm qui định hoặc tại thời điểm tác động của cầu chảy, của thiết bị cắt theo nguyên lý nhiệt, thiết bị bảo vệ động cơ và thiết bị tương tự, nhiệt độ của cuộn dây không được vượt quá giá trị được chỉ ra trong Bảng 3.
Bảng 3 - Nhiệt độ lớn nhất của cuộn dây
| Bảo vệ cuộn dây | Nhiệt độ giới hạn °C | |||||||
| Cấp | ||||||||
| 105 | 120 | 130 | 155 | 180 | 200 | 220 | 250 | |
| Bảo vệ bằng trở kháng nội tại | 150 | 165 | 175 | 190 | 210 | 230 | 250 | 280 |
| Bảo vệ bằng thiết bị bảo vệ có tác động trong quá trình thử nghiệm | 200 | 215 | 225 | 240 | 260 | 280 | 300 | 330 |
18.10. Mạch điện tử phải được thiết kế và đặt sao cho điều kiện sự cố sẽ không làm cho dụng cụ mất an toàn về chống điện giật, nguy hiểm cháy, nguy hiểm về cơ hoặc làm việc sai gây nguy hiểm.
Kiểm tra sự phù hợp bằng cách đánh giá các điều kiện sự cố trong 18.10.2 đối với tất cả các mạch điện hoặc các phần của mạch điện, trừ khi chúng phù hợp với các điều kiện qui định ở 18.10.1.
Nếu sự an toàn của dụng cụ trong các điều kiện sự cố phụ thuộc vào tác động của dây chảy cỡ nhỏ phù hợp với IEC 60127-3 thì tiến hành thử nghiệm theo 18.10.3.
Nếu một đường dẫn của tấm mạch in bị đứt thì dụng cụ được coi là chịu được thử nghiệm cụ thể này, với điều kiện là phải thỏa mãn cả ba điều kiện sau:
- vật liệu nền của tấm mạch in phải chịu được thử nghiệm ở Phụ lục F;
- bất kỳ đường dẫn nào bị bong ra đều không làm giảm chiều dài đường rò hoặc khe hở không khí giữa các bộ phận mang điện và phần kim loại chạm tới được xuống thấp hơn các giá trị qui định trong Điều 28;
- dụng cụ chịu được các thử nghiệm ở 18.10.2 khi đường dẫn bị đứt gây bắc cầu.
CHÚ THÍCH: Việc kiểm tra dụng cụ và sơ đồ mạch điện của nó sẽ phát hiện được các điều kiện sự cố cần phải mô phỏng để cho thử nghiệm có thể được giới hạn ở các trường hợp có thể dẫn tới các hậu quả bất lợi nhất.
18.10.1. Không áp dụng các điều kiện sự cố từ a) đến f) qui định trong 18.10.2 cho các mạch điện hoặc các phần của mạch điện khi thỏa mãn cả hai điều kiện sau:
- mạch điện tử là mạch công suất nhỏ như mô tả dưới đây;
- bảo vệ chống điện giật, nguy hiểm cháy, nguy hiểm về cơ hoặc hoạt động sai gây nguy hiểm ở các phần khác của dụng cụ không chỉ dựa vào sự hoạt động đúng của mạch điện tử.
Ví dụ về mạch công suất nhỏ được thể hiện trên Hình 11 và được xác định như sau:
Dụng cụ được cho làm việc ở điện áp danh định hoặc ở giới hạn trên của dải điện áp danh định, một biến trở được điều chỉnh đến giá trị điện trở lớn nhất, được nối giữa điểm cần khảo sát và cực ngược lại của nguồn cung cấp. Sau đó giảm điện trở cho đến khi công suất tiêu thụ trên điện trở đạt đến cực đại. Các điểm gần nguồn nhất mà tại điểm đó công suất lớn nhất truyền đến điện trở này không vượt quá 15W sau 5 s thì được gọi là các điểm công suất nhỏ. Phần của mạch điện cách nguồn cung cấp xa hơn các điểm công suất nhỏ được coi là mạch công suất nhỏ.
Các phép đo chỉ được thực hiện từ một cực của nguồn cung cấp, tốt nhất là cực nào có số điểm công suất nhỏ là ít nhất.
CHÚ THÍCH: Khi xác định các điểm công suất nhỏ, nên bắt đầu từ các điểm gần nguồn cung cấp.
18.10.2. Các điều kiện sự cố dưới đây được xem xét và, nếu cần, mỗi lần áp dụng một điều kiện, các sự cố mang tính hậu quả cần được tính đến là:
a) ngắn mạch chiều dài đường rò và khe hở không khí giữa các bộ phận dẫn có cực tính khác nhau, nếu khoảng cách này nhỏ hơn các giá trị qui định ở Điều 28, trừ khi bộ phận liên quan được bao bọc đủ;
b) hở mạch tại đầu nối của bất kỳ linh kiện điện tử nào;
c) ngắn mạch các tụ điện, trừ khi chúng phù hợp với IEC 60384-14;
d) ngắn mạch ở hai chân bất kỳ của một linh kiện điện tử, không phải là mạch tích hợp. Sự cố này không áp dụng giữa hai mạch của bộ ghép nối quang;
e) hỏng triac ở chế độ điốt;
f) hỏng mạch tích hợp. Trong trường hợp này, cần đánh giá tình huống nguy hiểm có thể xảy ra đối với dụng cụ để đảm bảo rằng sự an toàn không dựa vào tình trạng hoạt động đúng của linh kiện này. Tất cả các tín hiệu đầu ra có thể có đều được xem xét trong điều kiện sự cố xuất hiện trong mạch tích hợp. Nếu chỉ ra được rằng khó có thể xuất hiện một tín hiệu đầu ra cụ thể thì khi đó không cần xem xét sự cố liên quan.
Các linh kiện như thyristor và triac không phải chịu điều kiện sự cố f).
Điều kiện sự cố f) áp dụng cho các linh kiện được bao bọc hoặc linh kiện tương tự nếu như không thể đánh giá mạch này bằng các phương pháp khác.
CHÚ THÍCH: Các bộ vi xử lý là ví dụ về các mạch tích hợp.
Các điện trở có hệ số nhiệt dương (PTC) không được bị ngắn mạch nếu chúng được sử dụng trong phạm vi qui định kỹ thuật do nhà chế tạo công bố.
Ngoài ra, mỗi mạch công suất nhỏ đều được ngắn mạch bằng cách nối điểm công suất nhỏ tới cực của nguồn cung cấp điện mà từ đó đã thực hiện phép đo.
Để mô phỏng điều kiện sự cố, dụng cụ được cho làm việc ở điều kiện qui định trong Điều 12, nhưng ở điện áp danh định hoặc điện áp bất lợi nhất trong dải điện áp danh định.
Khi mô phỏng các điều kiện sự cố bất kỳ, thời gian thử nghiệm là:
- như qui định trong 12.4, nhưng chỉ khi người sử dụng không thể nhận ra được là có sự cố, ví dụ sự thay đổi về nhiệt độ;
- như qui định trong 18.8, nếu người sử dụng có thể nhận ra được sự cố, ví dụ, khi động cơ điện ngừng hoạt động;
- cho đến khi thiết lập điều kiện ổn định, đối với mạch được nối liên tục với nguồn lưới, ví dụ, mạch chờ.
Trong từng trường hợp, nếu xảy ra gián đoạn nguồn cung cấp trong dụng cụ thì dừng thử nghiệm.
18.10.3. Đối với bất kỳ điều kiện sự cố nào được qui định trong 18.10.2, nếu sự an toàn của dụng cụ phụ thuộc vào tác động của dây chảy cỡ nhỏ phù hợp với IEC 60127-3 thì lặp lại thử nghiệm nhưng dây chảy cỡ nhỏ được thay bằng một ampemét. Nếu dòng điện đo được:
- nhỏ hơn hoặc bằng 2,1 lần dòng điện danh định của dây chảy thì mạch không được coi là có đủ bảo vệ và thử nghiệm được thực hiện với dây chảy được nối tắt;
- ít nhất bằng 2,75 lần dòng điện danh định của dây chảy, mạch được coi là có đủ bảo vệ;
- nằm trong phạm vi từ 2,1 lần đến 2,75 lần dòng điện danh định của dây chảy thì dây chảy được nối tắt và thử nghiệm được tiến hành:
trong thời gian tương ứng hoặc 30 s, lấy giá trị nhỏ hơn, đối với dây chảy tác động nhanh;
trong thời gian tương ứng hoặc 2 min, lấy giá trị nhỏ hơn, đối với dây chảy tác động chậm.
Trong trường hợp có nghi ngờ, cần tính đến điện trở lớn nhất của dây chảy khi xác định dòng điện.
Các cầu chảy khác được coi như bộ phận yếu có chủ ý phù hợp với 18.2.
CHÚ THÍCH: Việc xác minh liệu dây chảy có tác dụng như một thiết bị bảo vệ hay không dựa trên đặc tính chảy qui định trong IEC 60127-3, tiêu chuẩn IEC 60127-3 này cũng cung cấp các thông tin cần thiết để tính điện trở lớn nhất của cầu chảy.
18.10.4. Dụng cụ có lắp các thiết bị điện tử phải được thiết kế sao cho nếu hỏng thiết bị điện tử thì nó không gây ra nguy hại.
Kiểm tra sự phù hợp bằng cách cho dụng cụ làm việc không tải trong 1 min, ở điện áp bằng điện áp danh định hoặc giá trị trung bình của dải điện áp với thiết bị điện tử được nối tắt.
Sau đó lặp lại thử nghiệm với thiết bị điện tử hở mạch.
Sau các thử nghiệm ở 18.10.1 đến 18.10.4, dụng cụ phải cho thấy không bị hỏng do cháy, hỏng về cơ làm mất an toàn và mất bảo vệ chống điện giật. Bất kỳ dòng điện nào chạy qua trở kháng bảo vệ cũng không được vượt quá các giới hạn qui định ở 9.1.
Trong trường hợp dụng cụ có lắp cơ cấu hạn chế tốc độ, nếu thiết bị điện tử không tác động thì dụng cụ được xem là đã đạt được thử nghiệm này khi cơ cấu hạn chế tốc độ tác động trong quá trình thử nghiệm.
18.11. Cơ cấu đóng cắt hoặc các cơ cấu khác dùng để đổi chiều động cơ phải chịu được các ứng suất xuất hiện khi đảo chiều quay trong điều kiện làm việc mà việc đổi chiều này có thể xảy ra trong sử dụng bình thường.
Kiểm tra sự phù hợp bằng thử nghiệm dưới đây:
Dụng cụ được cho làm việc không tải ở điện áp bằng điện áp danh định hoặc giới hạn trên của dải điện áp; cơ cấu để đảo chiều quay ở vị trí sao cho rôto quay theo một hướng với tốc độ đầy đủ.
Sau đó, đảo chiều quay, không để cơ cấu đảo chiều dìmg ở vị trí "ngắt" trung gian.
Trình tự làm việc này được tiến hành 25 lần.
Sau thử nghiệm, cơ cấu đóng cắt không được có hỏng hóc về điện hoặc cơ.
18.12. Dụng cụ cấp I có kết cấu cấp II (xem 5.10) hoặc dụng cụ cấp II phải có khả năng làm việc trong điều kiện quá tải quá mức mà không gây ảnh hưởng xấu đến bảo vệ chống điện giật.
Kiểm tra sự phù hợp bằng thử nghiệm dưới đây trên mẫu riêng rẽ.
Tất cả các cầu chảy, thiết bị cắt theo nguyên lý nhiệt, bộ bảo vệ quá tải và thiết bị tương tự qui định ở 18.1 mà người sử dụng có thể tiếp cận mà không cần dụng cụ hỗ trợ phải được nối tắt.
Mẫu được nối với mạch điện có công suất tối thiểu là 12 kVA. Dụng cụ mang tải đến 160 % dòng điện tải bình thường trong 15 min hoặc cho đến khi dụng cụ bị hở mạch hoặc xuất hiện ngọn lửa. Nếu dụng cụ không hoạt động ở 160 % dòng điện tải thì dừng dụng cụ trong 15 min hoặc cho đến khi dụng cụ hở mạch hoặc xuất hiện ngọn lửa. Nếu xảy ra một trong hai điều kiện trên thì ngừng cấp điện cho dụng cụ ngay và nếu xuất hiện ngọn lửa thì phải dập bằng bình CO2 dập lửa. Dòng điện rò giữa bộ phận mang điện và bộ phận chạm tới được, đo theo Điều 13, được theo dõi trong suốt thử nghiệm và sau thử nghiệm cho đến khi dòng điện rò ổn định hoặc giảm xuống. Dòng điện rò không được vượt quá 2 mA.
Sau khi dụng cụ được làm nguội về nhiệt độ phòng, thử nghiệm độ bền điện ở Điều 15 được thực hiện giữa các bộ phận mang điện và bộ phận chạm tới được như sau:
- nếu dụng cụ không làm việc được sau 15 min, áp dụng thử nghiệm độ bền điện ở 1 500 V.
- nếu dụng cụ vẫn làm việc được sau 15 min, áp dụng thử nghiệm độ bền điện ở 2 500 V.
19. Nguy hiểm về cơ
19.1. Các bộ phận chuyển động và các bộ phận nguy hiểm khác trong phạm vi thích hợp với việc sử dụng và chế độ hoạt động của dụng cụ, phải được bố trí hoặc bao bọc đủ để bảo vệ không gây thương tích cho con người trong sử dụng bình thường.
Vỏ bọc bảo vệ, nắp đậy, tấm chắn và các bộ phận tương tự phải có đủ độ bền cơ đối với mục đích sử dụng chúng. Các bộ phận này phải không tháo rời được nếu không sử dụng dụng cụ hỗ trợ.
Khi được sử dụng làm bảo vệ của phần tử làm việc, tấm chắn phải có phương tiện tiếp cận dễ dàng để điều chỉnh chính xác với mục đích giảm thiểu việc tiếp cận đến bộ phận nguy hiểm.
Việc sử dụng và điều chỉnh tấm chắn không được gây ra các nguy hiểm khác, ví dụ làm giảm hoặc gây cản trở tầm quan sát của người vận hành, truyền nhiệt hoặc gây ra các nguy hại dự đoán được khác.
Tất cả các phần tử làm việc, kể cả các chi tiết hoặc vật gắn đặc biệt được thiết kế là một phần của dụng cụ phải được giữ chắc chắn sao cho chúng không thể gây nguy hiểm trong sử dụng bình thường do chuyển động hoặc bị nới lỏng ra khỏi phạm vi làm việc bình thường của dụng cụ.
CHÚ THÍCH 1: Các nguy hiểm này có thể do rung, đảo chiều chuyển động hoặc hãm điện gây ra.
Kiểm tra sự phù hợp bằng cách xem xét, bằng thử nghiệm ở Điều 20 và bằng thử nghiệm sử dụng ngón tay thử nghiệm tiêu chuẩn như trên Hình 1. Phải không thể chạm vào các bộ phận chuyển động nguy hiểm bằng ngón tay thử nghiệm này. Thử nghiệm này không áp dụng cho các khe để gom bụi có cơ cấu gom bụi được tháo ra vì chúng được thử nghiệm theo 19.3.
CHÚ THÍCH 2: Trong một số trường hợp, được qui định cụ thể trong IEC 60745-2 liên quan, sử dụng ngón tay thử nghiệm thẳng có các kích thước giống ngón tay thử nghiệm ở Hình 1 nhưng không có khớp.
19.2. Các bộ phận chạm tới được có khả năng bị chạm phải trong sử dụng bình thường không được có gờ sắc nhọn, bavia và tương tự.
Kiểm tra sự phù hợp bằng cách xem xét.
19.3. Phải không thể chạm đến bộ phận chuyển động khi các bộ phận để gom bụi được lấy ra, nếu có.
Kiểm tra sự phù hợp bằng thử nghiệm với ngón tay thử nghiệm thẳng như trên Hình 1. Phải không thể chạm vào các bộ phận chuyển động nguy hiểm bằng ngón tay thử nghiệm thông qua các khe gom bụi sau khi tháo bộ phận tháo ra được.
19.4. Dụng cụ phải có bề mặt để cầm đủ để đảm bảo thao tác an toàn trong khi sử dụng.
Kiểm tra sự phù hợp bằng cách xem xét.
19.5. Dụng cụ phải được thiết kế và kết cấu ở những chỗ cần thiết để cho phép kiểm tra bằng mắt sự tiếp xúc của dụng cụ dùng để cắt với vật gia công.
Kiểm tra sự phù hợp bằng cách xem xét.
19.6. Đối với tất cả các dụng cụ mà IEC 60745-2 liên quan yêu cầu ghi nhãn tốc độ không tải danh định thì tốc độ không tải của trục quay ở điện áp danh định hoặc giới hạn trên của dải điện áp danh định không được vượt quá 110 % tốc độ không tải danh định.
Kiểm tra sự phù hợp bằng cách đo tốc độ của trục quay sau khi dụng cụ làm việc trong 5 min ở chế độ không tải.
20. Độ bền cơ
20.1. Dụng cụ phải có đủ độ bền cơ và phải có kết cấu để chịu được việc vận hành thiếu cẩn thận có thể xảy ra trong sử dụng bình thường.
Kiểm tra sự phù hợp bằng các thử nghiệm qui định ở 20.2, 20.3 và 20.4.
Sau các thử nghiệm này, dụng cụ phải chịu được thử nghiệm độ bền điện qui định ở Điều 15 và không được có hư hại dẫn đến không phù hợp với tiêu chuẩn này; cụ thể, các bộ phận mang điện không được trở nên chạm tới được, như qui định ở Điều 9.
Hỏng lớp phủ, các vết lõm nhỏ không làm giảm chiều dài đường rò hoặc khe hở không khí xuống thấp hơn giá trị qui định ở 28.1 hoặc các chỗ sứt nhỏ không gây ảnh hưởng bất lợi đến việc bảo vệ chống điện giật hoặc hơi ẩm thì được bỏ qua.
Chức năng của cơ cấu bảo vệ về cơ không được bị phương hại do việc này.
Các vết nứt không nhìn thấy được bằng mắt thường và vết nứt bề mặt trên vật liệu đúc cốt sợi và các vật liệu tương tự thì được bỏ qua.
Nếu phía sau nắp trang trí còn có nắp đỡ bên trong, thì vết nứt ở nắp trang trí được bỏ qua nếu nắp bên trong chịu được thử nghiệm sau khi tháo nắp trang trí.
20.2. Đặt các va đập lên dụng cụ bằng trang bị thử nghiệm va đập tác động bằng lò xo theo Điều 5 của IEC 60068-2-75.
Lò xo được điều chỉnh sao cho búa đập với năng lượng va đập như cho trong Bảng 4.
Bảng 4 - Năng lượng va đập
| Bộ phận cần thử nghiệm | Năng lượng va đập Nm |
| Các nắp chổi than Các bộ phận khác | 0,5 ± 0,05 1,0 ± 0,05 |
Đặt ba va đập lên các điểm được cho là xung yếu của vỏ bọc.
Trong trường hợp cần thiết, va đập cũng được đặt lên thiết bị bảo vệ, tay cầm, cần gạt, núm và các bộ phận tương tự.
20.3. Dụng cụ cầm tay phải chịu được ba lần rơi từ độ cao 1 m lên bề mặt bằng bê tông. Mẫu phải có các tư thế để thay đổi điểm va đập.
20.4. Giá đỡ chổi than và nắp chổi than phải có đủ độ bền cơ.
Kiểm tra sự phù hợp bằng cách xem xét và trong trường hợp có nghi ngờ, tháo và thay thế chổi than 10 lần, mômen đặt vào khi vặn chặt nắp chổi than được cho trong Bảng 5.
Bảng 5 - Mô men thử nghiệm
| Chiều rộng của chìa vặn thử nghiệm mm | Mômen Nm |
| Đến và bằng 2,8 | 0,4 |
| Từ 2,8 đến và bằng 3,0 | 0,5 |
| Từ 3,0 đến và bằng 4,1 | 0,6 |
| Từ 4,1 đến và bằng 4,7 | 0,9 |
| Từ 4,7 đến và bằng 5,3 | 1,0 |
| Từ 5,3 đến và bằng 6,0 | 1,25 |
Sau thử nghiệm này, giá đỡ chổi than không được có hỏng hóc làm phương hại đến sử dụng sau này, ren, nếu có, không được hỏng và nắp chổi than không được có vết nứt.
Chiều rộng chìa vặn thử nghiệm phải càng rộng càng tốt nhưng không được vượt quá chiều dài của hốc ở nắp chổi than. Tuy nhiên, nếu đường kính ren nhỏ hơn chiều dài của hốc thì chiều rộng của chìa vặn không được vượt quá đường kính đã nêu. Mômen đặt vào không đượt giật.
20.5. Đối với tất cả các dụng cụ có khả năng cắt vào hệ thống dây đi ẩn hoặc cắt vào dây nối nguồn của bản thân dụng cụ, tay cầm và bề mặt để cầm, như qui định trong sổ tay hướng dẫn, phải có đủ độ bền cơ để đạt được cách ly giữa bề mặt để cầm và trục ra.
Kiểm tra sự phù hợp bằng thử nghiệm dưới đây.
Một mẫu riêng rẽ, theo lựa chọn của nhà chế tạo, phải chịu một va đập lên từng tay cầm và từng bề mặt để cầm theo khuyến cáo. Các va đập được thực hiện ở độ cao 1 m lên bề mặt bê tông sau đó thực hiện thử nghiệm độ bền điện theo Điều 15 với điện áp 1 250 V xoay chiều giữa các bề mặt để cầm tiếp xúc với lá kim loại và trục ra của dụng cụ.
21. Kết cấu
21.1. Dụng cụ có thể được điều chỉnh để phù hợp với các điện áp khác nhau hoặc tốc độ khác nhau phải được kết cấu sao cho ít có khả năng xảy ra sự thay đổi ngẫu nhiên chế độ đặt, nếu sự thay đổi này có thể gây nguy hại.
Kiểm tra sự phù hợp bằng cách xem xét và bằng thử nghiệm bằng tay.
21.2. Dụng cụ phải được kết cấu sao cho sự thay đổi ngẫu nhiên chế độ đặt của cơ cấu điều khiển ít có khả năng xảy ra.
Kiểm tra sự phù hợp bằng thử nghiệm bằng tay.
21.3. Các bộ phận để đảm bảo mức yêu cầu về bảo vệ chống ẩm thì không thể tháo ra mà không có dụng cụ hỗ trợ.
Kiểm tra sự phù hợp bằng thử nghiệm bằng tay.
21.4. Nếu tay cầm, núm và bộ phận tương tự được dùng để chỉ ra vị trí của cơ cấu đóng cắt hoặc phần tử tương tự thì không thể cố định chúng ở vị trí sai nếu điều này có thể gây ra nguy hại.
Kiểm tra sự phù hợp bằng cách xem xét và bằng thử nghiệm bằng tay.
21.5. Nếu thay thế cáp mềm hoặc dây nguồn đòi hỏi phải xê dịch cơ cấu đóng cắt mà cơ cấu này đóng vai trò là đầu nối dùng cho dây dẫn bên ngoài thì phải thay được mà không làm hệ thống đi dây bên trong phải chịu ứng suất quá mức; sau khi lắp lại cơ cấu đóng cắt và trước khi lắp ráp lại dụng cụ, phải kiểm tra được việc đi dây bên trong có ở đúng vị trí không.
Kiểm tra sự phù hợp bằng cách xem xét và bằng thử nghiệm bằng tay.
21.6. Gỗ, côtông, lụa, giấy thường và vật liệu dạng sợi hoặc vật liệu hút ẩm tương tự không được dùng làm cách điện, trừ khi đã được ngâm tẩm.
Vật liệu cách điện được xem là đã ngâm tẩm nếu kẽ hở giữa các sợi của vật liệu về cơ bản đã điền đầy chất cách điện thích hợp.
Kiểm tra sự phù hợp bằng cách xem xét.
21.7. Không được dùng amiăng trong kết cấu của dụng cụ.
Kiểm tra sự phù hợp bằng cách xem xét.
21.8. Không được dựa vào dây đai để tạo ra mức cách điện yêu cầu.
Không áp dụng yêu cầu này nếu dụng cụ có dây đai được thiết kế đặc biệt để ngăn chặn việc thay thế không thích hợp.
Kiểm tra sự phù hợp bằng cách xem xét.
21.9. Các tấm chắn để cách điện của dụng cụ cấp II và các bộ phận của dụng cụ cấp II có tác dụng như cách điện phụ hoặc cách điện tăng cường và có thể bị bỏ sót khi lắp trở lại sau khi bảo trì phải:
- được cố định theo cách nếu tháo ra thì sẽ bị hỏng nặng; hoặc
- được kết cấu sao cho chúng không thể lắp lại sai vị trí và sao cho nếu bỏ sót chúng thì dụng cụ không làm việc được hoặc hiển nhiên là chưa hoàn chỉnh.
Kiểm tra sự phù hợp bằng cách xem xét và thử nghiệm bằng tay.
Việc bảo trì bao gồm cả việc thay thế một số bộ phận như dây nguồn và cơ cấu đóng cắt.
Yêu cầu này được đáp ứng nếu tấm chắn được cố định sao cho chỉ có thể tháo ra bằng cách xé rách hoặc cắt ra.
Cho phép cố định tấm chắn bằng đinh tán miễn là không cần tháo các đinh tán này ra khi thay chổi than, tụ điện, cơ cấu đóng cắt, cáp và dây mềm không tháo ra được và bộ phận tương tự.
Chỉ cho phép cố định tấm chắn bằng chất dính nếu độ bền cơ của chỗ dán bằng với độ bền cơ của tấm chắn.
Lớp lót bên trong thích hợp là vật liệu cách điện hoặc lớp phủ cách điện bên trong thích hợp trên vỏ bọc bằng kim loại được xem là tấm chắn để cách điện với điều kiện là không thể dễ dàng loại bỏ lớp phủ bằng cách cạo.
Đối với dụng cụ cấp II, ống lót trên ruột dẫn cách điện bên trong, không phải là lõi của cáp hoặc dây mềm bên ngoài, được xem là tấm chắn để cách điện thích hợp nếu chỉ có thể tháo nó ra bằng cách làm đứt hoặc cắt ra hoặc nếu nó được kẹp cả hai đầu.
Lớp men bình thường ở phía trong của vỏ bọc bằng kim loại, vải phủ vecni, giấy mềm có liên kết nhựa, hoặc vật liệu tương tự không được xem là tấm chắn cách điện.
21.10. Bên trong dụng cụ, vỏ bọc (lớp bọc) của cáp hoặc dây mềm chỉ được sử dụng làm cách điện phụ trong trường hợp nó không phải chịu các ứng suất cơ hoặc nhiệt quá mức.
Kiểm tra sự phù hợp bằng cách xem xét.
21.11. Bất kỳ khe hở lắp ráp nào có độ rộng lớn hơn 0,3 mm ở cách điện phụ không được trùng với khe hở như vậy ở cách điện chính và khe hở như vậy ở cách điện tăng cường, gây ra tiếp xúc trực tiếp với bộ phận mang điện.
21.12. Dụng cụ cấp I phải có kết cấu sao cho nếu dây dẫn, vít, đai ốc, vòng đệm, lò xo hoặc bộ phận tương tự bị nới lỏng hoặc rơi ra khỏi vị trí thì cũng không rơi vào những vị trí làm cho phần kim loại chạm tới được trở nên mang điện.
Dụng cụ cấp II hoặc kết cấu cấp II phải có kết cấu sao cho nếu các bộ phận nói trên bị nới lỏng hoặc rơi ra khỏi vị trí thì cũng không thể rơi vào những vị trí làm cho chiều dài đường rò hoặc khe hở không khí qua cách điện phụ hoặc cách điện tăng cường bị giảm xuống thấp hơn 50 % giá trị qui định ở 28.1.
Dụng cụ cấp II hoặc kết cấu cấp II, không phải là loại được cách điện hoàn toàn, phải có tấm chắn để cách điện giữa phần kim loại chạm tới được và các bộ phận của động cơ và các bộ phận mang điện khác.
Đối với dụng cụ cấp I, yêu cầu này có thể được đáp ứng nhờ tấm chắn, hoặc bằng cách cố định các bộ phận một cách thích hợp và bằng cách tạo chiều dài đường rò và khe hở không khí đủ rộng.
Không tính đến trường hợp hai bộ phận độc lập cùng bị nới lỏng hoặc rơi ra khỏi vị trí cùng một lúc. Đối với các mối nối điện, vòng đệm đàn hồi không được xem là đủ để ngăn ngừa nới lỏng các bộ phận.
Dây dẫn được xem là có khả năng tuột ra khỏi các đầu nối hoặc mối nối hàn thiếc trừ khi dây dẫn được giữ chặt ở vị trí gần đầu nối hoặc đầu cuối, không phụ thuộc vào đầu nối hoặc mối hàn.
Dây dẫn cứng, ngắn không được xem là có khả năng rơi ra khỏi đầu nối nếu chúng vẫn ở đúng vị trí khi vít bắt của đầu nối bị nới lỏng.
Kiểm tra sự phù hợp bằng cách xem xét, đo và thử nghiệm bằng tay.
21.13. Cách điện phụ và cách điện tăng cường phải có kết cấu hoặc được bảo vệ sao cho bụi bám hoặc chất bẩn do mòn các bộ phận bên trong dụng cụ ít có khả năng làm hỏng cách điện đến mức làm giảm chiều dài đường rò hoặc khe hở không khí xuống thấp hơn giá trị qui định ở 28.1.
Vật liệu gốm không được thiêu kết chặt và các vật liệu tương tự và chỉ riêng hạt cườm thì không được dùng làm cách điện phụ hoặc cách điện tăng cường.
Các bộ phận bằng cao su tự nhiên hoặc cao su tổng hợp được sử dụng làm cách điện phụ phải chịu được lão hoá hoặc được bố trí và định kích thước sao cho chiều dài đường rò không giảm xuống thấp hơn giá trị qui định ở 28.1 ngay cả khi bị nứt.
Vật liệu cách điện để bọc các dây dẫn gia nhiệt đóng vai trò cách điện chính và không được sử dụng như cách điện tăng cường.
Kiểm tra sự phù hợp bằng cách xem xét, đo và đối với cao su, bằng thử nghiệm dưới đây:
Các bộ phận bằng cao su được cho già hoá ở nhiệt độ (100 ± 2) °C trong 70 h. Sau thử nghiệm, kiểm tra mẫu và không được có vết nứt nhìn thấy bằng mắt thường.
CHÚ THÍCH: Trong trường hợp có nghi ngờ, đối với các vật liệu không phải là cao su, có thể tiến hành các thử nghiệm đặc biệt.
21.14. Dụng cụ phải có kết cấu sao cho dây dẫn bên trong, cuộn dây, cổ góp, vành trượt và bộ phận tương tự và cách điện nói chung không bị dính dầu, mỡ hoặc các chất tương tự.
Nếu kết cấu này đòi hỏi cách điện bị dính dầu hoặc mỡ hoặc các chất tương tự như ở bánh răng và bộ phận tương tự thì dầu hoặc mỡ hoặc các chất tương tự phải có đủ các đặc tính cách điện để không ảnh hưởng đến sự phù hợp với tiêu chuẩn này và không có ảnh hưởng đến cách điện.
Kiểm tra sự phù hợp bằng cách xem xét và bằng các thử nghiệm của tiêu chuẩn này.
21.15. Không thể tiếp cận các chổi than mà không có dụng cụ hỗ trợ.
Nắp chổi than kiểu bắt ren phải được thiết kế sao cho khi vặn chặt, hai bề mặt được kẹp với nhau.
Giá đỡ chổi than, để giữ chổi than đúng vị trí bằng cơ cấu hãm, phải được thiết kế sao cho việc hãm này không phụ thuộc vào độ căng lò xo của chổi than nếu như việc nới lỏng cơ cấu hãm có thể làm cho các phần kim loại chạm tới được trở nên mang điện.
Nắp chổi than kiểu bắt ren có khả năng chạm tới từ bên ngoài dụng cụ phải là vật liệu cách điện hoặc được bọc vật liệu cách điện có đủ độ bền cơ và độ bền điện; chúng không được nhô ra khỏi bề mặt bao quanh dụng cụ.
Kiểm tra sự phù hợp bằng cách xem xét và thử nghiệm bằng tay, các đặc tính của vật liệu cách điện được kiểm tra bằng:
- thử nghiệm ở 20.2 và 20.4 đối với nắp giá đỡ chổi than kiểu bắt ren có khả năng chạm tới từ bên ngoài dụng cụ;
- thử nghiệm qui định cho cách điện phụ đối với dụng cụ cấp I và dụng cụ cấp Ill;
- thử nghiệm qui định cho cách điện tăng cường đối với dụng cụ cấp II.
21.16. Dụng cụ có hệ thống chất lỏng phải bảo vệ người sử dụng khỏi nguy cơ bị điện giật gia tăng do có chất lỏng trong các điều kiện sử dụng bình thường và sự cố của hệ thống chất lỏng.
Dụng cụ có hệ thống chất lỏng phải:
có kết cấu cấp III;
có kết cấu cấp I hoặc cấp II được bảo vệ bằng thiết bị bảo vệ dòng dư và phù hợp với 14.4, 14.5 và 14.6; hoặc
có kết cấu cấp I hoặc cấp II và được thiết kế để sử dụng kết hợp với máy biến áp cách ly và phù hợp với 14.4 và 14.5.
Kiểm tra sự phù hợp bằng cách xem xét.
21.17. Cơ cấu đóng cắt và nút đặt lại của cơ cấu điều khiển không tự phục hồi phải được bố trí sao cho chúng ít có khả năng bị tác động ngẫu nhiên.
Kiểm tra sự phù hợp bằng cách xem xét và bằng thử nghiệm sau:
Dụng cụ được nối với nguồn điện, đặt ở tư thế bất kỳ có thể và được kéo trượt ngang qua bề mặt nằm ngang.
Khi đó, cơ cấu đóng cắt không được tác động không có chủ ý.
21.18. Dụng cụ, không phải là loại có trục mềm, phải được lắp cơ cấu đóng cắt nguồn lưới để ngưởi sử dụng có thể ngắt nguồn mà không phải thả dụng cụ ra. Khi cơ cấu đóng cắt có bố trí chốt để giữ nó vào vị trí "đóng", yêu cầu ở 21.18 được xem là được đáp ứng với điều kiện là cơ cấu đóng cắt tự động mở chốt khi tác động vào lẫy hoặc cơ cấu điều khiển.
Kiểm tra sự phù hợp bằng cách xem xét và thử nghiệm bằng tay.
21.18.1. Trong trường hợp có rủi ro liên quan đến hoạt động liên tục, cơ cấu đóng cắt không đưọc có bất kỳ cơ cấu chốt nào để chốt nó vào vị trí "đóng" và không được duy trì ở vị trí "đóng" khi nhả lẫy. Điều này phải được chỉ ra ở IEC 60745-2 liên quan.
21.18.2. Trong trường hợp có rủi ro liên quan đến khởi động không chủ ý, cơ cấu đóng cắt phải có cơ cấu chốt để chốt nó vào vị trí "cắt". Điều này phải được chỉ ra ở IEC 60745-2 liên quan.
21.19. Dụng cụ phải được thiết kế sao cho việc bảo vệ chống điện giật không bị ảnh hưởng khi các vít được thiết kế để thay từ phía ngoài trong quá trình bảo trì định kỳ lại được thay bằng các vít có chiều dài lớn hơn.
Kiểm tra sự phù hợp bằng cách lắp các vít dài hơn vào mà không dùng lực đáng kể, sau đó, chiều dài đường rò và khe hở không khí giữa các bộ phận mang điện và phần kim loại chạm tới được không được giảm thấp hơn các giá trị qui định ở 28.1.
21.20. Nếu dụng cụ được ghi nhãn chữ số đặc trưng thứ nhất của mã IP thì phải đáp ứng các yêu cầu liên quan của TCVN 4255 (IEC 60529).
Kiểm tra sự phù hợp bằng cách thực hiện các thử nghiệm liên quan.
21.21. Dụng cụ phải được thiết kế sao cho trong sử dụng bình thường không có rủi ro điện giật từ tụ điện đã nạp điện khi chạm vào các chân cắm của phích cắm. Tụ điện có điện dung danh định nhỏ hơn hoặc bằng 0,1 mF không được xem là có thể gây rủi ro điện giật. Yêu cầu này không áp dụng cho các tụ điện phù hợp với yêu cầu đối với trở kháng bảo vệ qui định ở 9.1 và 21.36.
Kiểm tra sự phù hợp bằng thử nghiệm dưới đây, thử nghiệm được thực hiện 10 lần.
Dụng cụ được cho làm việc ở điện áp danh định.
Sau đó, đặt tất cả các cơ cấu đóng cắt, nếu có, ở vị trí "cắt" và ngắt dụng cụ khỏi nguồn nhờ phích cắm.
Sau khi ngắt điện một giây, đo điện áp giữa các chân cắm của phích cắm bằng thiết bị đo không gây ảnh hưởng đáng kể đến giá trị cần đo.
Điện áp này không được vượt quá 34 V.
21.22. Các bộ phận không tháo rời được, dùng để cung cấp bảo vệ cần thiết chống điện giật, chống ẩm hoặc tiếp xúc với các bộ phận chuyển động, phải được cố định chắc chắn và phải chịu được ứng suất cơ học xuất hiện trong sử dụng bình thường.
Chốt sập dùng để cố định các bộ phận nói trên phải có vị trí khóa rõ ràng. Đặc tính dùng để cố định của chốt sập dùng trong các bộ phận mà sẽ phải tháo ra khi bảo trì thì không được bị suy giảm chất lượng.
Kiểm tra sự phù hợp bằng thử nghiệm dưới đây.
Bộ phận sẽ phải tháo ra khi lắp đặt hoặc bảo trì thì được tháo ra rồi lắp vào 10 lần trước khi tiến hành thử nghiệm.
Việc bảo trì bao gồm cả thay thế dây nguồn.
Dụng cụ được đặt ở nhiệt độ phòng. Tuy nhiên, trong trường hợp sự phù hợp có thể bị ảnh hưởng bởi nhiệt độ thì thử nghiệm cũng được thực hiện ngay sau khi dụng cụ được vận hành trong điều kiện qui định ở Điều 12.
Thử nghiệm này áp dụng cho tất cả các bộ phận có khả năng tháo rời được cho dù chúng có được cố định bằng vít, đinh tán hay các chi tiết tương tự hay không.
Lực được đặt không giật vào các phần của nắp hoặc các bộ phận yếu trong 10 s theo phương bất lợi nhất. Giá trị lực như sau:
- lực đẩy, 50 N
- lực kéo:
a) 50 N, nếu hình dạng của các bộ phận này khiến cho các đầu ngón tay không tuột qua một cách dễ dàng;
b) 30 N, nếu phần nhô ra của bộ phận được cầm vào nhỏ hơn 10 mm theo hướng cạy ra.
Lực đẩy được đặt qua ngón tay thử nghiệm thẳng có kích thước như ngón tay thử nghiệm tiêu chuẩn chỉ ra trên Hình 1.
Lực kéo được đặt bằng phương tiện phù hợp như giác hút sao cho kết quả thử nghiệm không bị ảnh hưởng.
Trong khi đặt lực kéo a) hoặc b), móng tay thử nghiệm chỉ ra trong Hình 7 được ấn vào khe hở hoặc mối ghép bất kỳ với lực 10 N. Sau đó cạy móng tay thử nghiệm này sang một bên với lực 10 N; không xoắn hoặc dùng móng tay thử nghiệm như một đòn bẩy.
Nếu hình dạng của các bộ phận này khiến cho khó có thể đặt lực kéo theo hướng trục thì không đặt lực kéo mà ấn móng tay thử nghiệm vào khe hở hoặc mối ghép bất kỳ với lực 10 N và sau đó kéo với lực 30 N trong 10 s theo hướng cạy ra bằng vòng kéo.
Nếu nắp hoặc bộ phận có nhiều khả năng phải chịu lực xoắn thì đồng thời với lực kéo hoặc lực đẩy còn đặt mômen như sau:
- 2 Nm, đối với kích thước chính đến và bằng 50 mm;
- 4 Nm, đối với kích thước chính lớn hơn 50 mm.
Mômen này cũng được đặt khi móng tay thử nghiệm được kéo bằng vòng kéo.
Nếu chỗ nhô ra của bộ phận nắm vào được nhỏ hơn 10 mm thì mômen trên đây được giảm đi 50 % giá trị.
Các bộ phận không được bật ra mà vẫn phải duy trì ở vị trí khóa.
21.23. Tay cầm, núm, tay nắm, cần gạt và các bộ phận tương tự phải được cố định một cách tin cậy sao cho chúng không bị lỏng ra trong sử dụng bình thường nếu sự nới lỏng có thể gây ra nguy hiểm.
Kiểm tra sự phù hợp bằng cách xem xét, thử nghiệm bằng tay và bằng cách cố gắng tháo tay cầm, núm, tay nắm hoặc cần gạt bằng cách đặt lực kéo hoặc đẩy dọc trục bằng 30 N trong 1 min.
21.24. Móc quấn dây và các cơ cấu tương tự dùng cho dây mềm phải nhẵn và lượn tròn đều.
Kiểm tra sự phù hợp bằng cách xem xét.
21.25. Các bộ phận mang dòng và các bộ phận khác mà nếu bị ăn mòn có thể gây ra nguy hiểm phải có khả năng chống ăn mòn trong điều kiện sử dụng bình thường.
Kiểm tra sự phù hợp bằng cách kiểm tra các bộ phận liên quan sau khi tiến hành các thử nghiệm ở Điều 30 không được cho thấy có dấu hiệu bị ăn mòn. Thép không gỉ và các hợp kim chống ăn mòn tương tự và thép mạ được coi là thỏa mãn yêu cầu này.
CHÚ THÍCH: Ví dụ về nguyên nhân ăn mòn là tính không tương thích của các vật liệu và ảnh huởng của gia nhiệt.
21.26. Để trống
21.27. Dụng cụ không phải dụng cụ cấp II, có các bộ phận dựa vào điện áp cực thấp an toàn để có bảo vệ chống điện giật phải được thiết kế sao cho cách điện giữa các bộ phận làm việc ở điện áp cực thấp an toàn và các bộ phận mang điện khác đáp ứng các yêu cầu đối với cách điện kép hoặc cách điện tăng cường.
Kiểm tra sự phù hợp bằng các thử nghiệm qui định cho cách điện kép hoặc cách điện tăng cường.
21.28. Bộ phận được cách ly bằng trở kháng bảo vệ phải phù hợp với các yêu cầu đối với cách điện kép hoặc cách điện tăng cường.
Kiểm tra sự phù hợp bằng các thử nghiệm qui định cho cách điện kép hoặc cách điện tăng cường.
21.29. Để trống
21.30. Các trục của núm, tay cầm, cần gạt và bộ phận tương tự không được mang điện trừ khi trục này không chạm tới được khi núm, tay cầm, cần gạt và bộ phận tương tự được tháo ra.
Kiểm tra sự phù hợp bằng cách xem xét và bằng cách đặt ngón tay thử nghiệm như qui định ở 9.2 sau khi tháo núm, tay cầm, cần gạt hoặc bộ phận tương tự, kể cả có dụng cụ hỗ trợ.
21.31. Đối với các kết cấu không phải kết cấu cấp III, tay cầm, cần gạt và các núm được cầm hoặc thao tác trong sử dụng bình thường không được trở nên mang điện trong trường hợp hỏng cách điện. Nếu tay cầm, cần gạt hoặc núm làm bằng kim loại, và nếu trục hoặc bộ phận cố định chúng có nhiều khả năng trở nên mang điện trong trường hợp hỏng cách điện chính thì chúng phải được bọc thích hợp bằng vật liệu cách điện hoặc các bộ phận chạm tới được của chúng phải được cách ly với trục hoặc bộ phận cố định của chúng bằng cách điện.
Vật liệu phủ hoặc vật liệu cách điện phải phù hợp với thử nghiệm độ bền điện ở Điều 15, Bảng 2, điểm 4, nhưng không nhất thiết là cách điện phụ.
Kiểm tra sự phù hợp bằng cách xem xét và nếu cần, bằng thử nghiệm qui định cho cách điện.
21.32. Đối với tất cả các dụng cụ có khả năng cắt vào hệ thống dây đi ẩn hoặc cắt vào dây nối nguồn của bản thân dụng cụ, tay cầm và bề mặt để cầm, như qui định trong sổ tay hướng dẫn, phải được làm từ vật liệu cách điện hoặc nếu làm bằng kim loại, phải được phủ thích hợp bằng vật liệu cách điện hoặc các bộ phận chạm tới được của chúng phải được cách ly bằng (các) tấm chắn cách điện với các phần kim loại chạm tới được mà có khả năng trở nên mang điện do trục đầu ra. Các tấm chắn cách điện này không được xem là cách điện chính, cách điện phụ hoặc cách điện tăng cường.
Phải trang bị tay gạt phụ trợ, kiểu đũa, được cách điện có gờ có chiều cao không nhỏ hơn 12 mm bên trên bề mặt để cầm nằm giữa phần để cầm và phần chạm tới được có thể trở nên mang điện bởi trục đầu ra.
Kiểm tra sự phù hợp bằng cách xem xét và các thử nghiệm ở 20.5.
21.33. Đối với dụng cụ cấp II, không được nối tụ điện với các phần kim loại chạm tới được và vỏ bọc của tụ điện, nếu bằng kim loại, thì phải được cách ly với các phần kim loại chạm tới được bằng cách điện phụ.
Yêu cầu này không áp dụng cho các tụ điện phù hợp với các yêu cầu đối với trở kháng bảo vệ qui định trong 9.1 và 21.36.
Kiểm tra sự phù hợp bằng cách xem xét và bằng các thử nghiệm qui định cho cách điện phụ.
21.34. Không được nối tụ điện giữa các tiếp điểm của cơ cấu cắt theo nguyên lý nhiệt.
Kiểm tra sự phù hợp bằng cách xem xét.
21.35. Chỉ sử dụng đui đèn để nối điện cho bóng đèn.
Kiểm tra sự phù hợp bằng cách xem xét.
21.36. Trở kháng bảo vệ phải gồm ít nhất hai thành phần riêng biệt có trở kháng ít có khả năng thay đổi đáng kể trong suốt tuổi thọ của dụng cụ. Nếu một trong hai thành phần bị ngắn mạch hoặc hở mạch thì các giá trị qui định trong 9.1 không được bị vượt quá.
Điện trở phù hợp với 14.1 của IEC 60065 và tụ điện loại phù hợp với 14.2 của IEC 60065 được xem là phù hợp với yêu cầu này.
Kiểm tra sự phù hợp bằng cách xem xét và bằng phép đo.
21.37. Lối không khí vào không được có khả năng để vật thể từ bên ngoài xâm nhập làm mất an toàn. Kiểm tra sự phù hợp bằng thử nghiệm sau:
Không thể đưa một viên bi thép đường kính 6 mm qua lối không khí vào không phải là các lối ở gần quạt.
22. Dây dẫn bên trong
22.1. Đường đi dây phải nhẵn và không có gờ sắc.
Dây dẫn phải được bảo vệ sao cho chúng không tiếp xúc với gờ sắc, cánh tản nhiệt, v.v... có thể gây hỏng cách điện của dây dẫn.
Lỗ trong các phần bằng kim loại để luồn dây có cách điện phải có ống lót hoặc, trừ khi có yêu cầu khác trong IEC 60745-2, phải có gờ nhẵn, lượn tròn. Bán kính 1,5 mm được xem là đủ tròn.
Dây phải được ngăn ngừa có hiệu quả để không tiếp xúc với các bộ phận chuyển động.
Kiểm tra sự phù hợp bằng cách xem xét.
22.2. Dây dẫn bên trong và các mối nối điện giữa các bộ phận khác nhau của dụng cụ phải được bảo vệ thích hợp và bọc kín.
Kiểm tra sự phù hợp bằng cách xem xét.
22.3. Dây dẫn bên trong phải cứng vững và được cố định hoặc cách điện sao cho trong sử dụng bình thường, chiều dài đường rò và khe hở không khí không bị giảm xuống nhỏ hơn các giá trị qui định trong 28.1. Cách điện, nếu có, phải sao cho không bị hỏng trong sử dụng bình thường.
Kiểm tra sự phù hợp bằng cách xem xét, đo và thử nghiệm bằng tay.
Đối với dây dẫn bên trong được cách điện, cách điện phải được kiểm tra để tương đương về điện với cách điện của các dây phù hợp với TCVN 6610 (IEC 60227) hoặc IEC 60245, hoặc phù hợp với thử nghiệm độ bền điện dưới đây.
Đặt điện áp 2 000 V trong 15 min giữa ruột dẫn và lá kim loại bọc xung quanh cách điện. Không được xảy ra đánh thủng cách điện.
Khi sử dụng ống lót làm cách điện phụ trên dây dẫn bên trong thì phải giữ nó ở đúng vị trí bằng phương tiện chắc chắn. Ống lót được xem là được cố định bằng phương tiện chắc chắn nếu chỉ có thể lấy ra bằng cách làm gãy hoặc cắt đứt, hoặc nếu nó được kẹp cả hai đầu.
Kiểm tra sự phù hợp bằng cách xem xét và thử nghiệm bằng tay.
22.4. Dây dẫn được nhận biết bằng màu xanh/vàng kết hợp không được nối với các đầu nối không phải đầu nối đất.
Kiểm tra sự phù hợp bằng cách xem xét.
22.5. Không được dùng dây nhôm để đi dây bên trong. Cuộn dây của động cơ không được xem là dây dẫn bên trong.
Kiểm tra sự phù hợp bằng cách xem xét.
22.6. Không được làm chắc đầu dây dẫn bện bằng cách hàn chì - thiếc ở các chỗ chúng phải chịu lực ép tiếp xúc, trừ khi phương tiện kẹp có kết cấu sao cho không có rủi ro tiếp xúc kém do lún mối hàn.
Gia cố ruột dẫn bện bằng cách hàn chì-thiếc là được phép nếu các sử dụng các đầu nối đàn hồi; vặn chặt chỉ bằng các vít kẹp không được xem là đủ.
Cho phép hàn đầu ruột dẫn bện.
Kiểm tra sự phù hợp bằng cách xem xét.
23. Linh kiện
23.1. Các linh kiện phải phù hợp với yêu cầu an toàn được qui định trong các tiêu chuẩn IEC liên quan trong phạm vi áp dụng hợp lý.
Nếu các linh kiện được ghi nhãn đặc tính làm việc của chúng thì điều kiện để sử dụng chúng trong dụng cụ phải theo ghi nhãn đó, trừ khi có ngoại lệ cụ thể.
23.1.1. Các tụ điện trong các cuộn dây phụ của động cơ phải được ghi nhãn điện áp danh định và, điện dung danh định.
23.1.2. Tụ điện cố định dùng để triệt nhiễu tần số rađiô phải phù hợp với IEC 60384-14.
23.1.3. Đui đèn nhỏ tương tự như đui đèn E10 phải phù hợp với yêu cầu đối với đui đèn E10; chúng không đòi hỏi phải lắp vừa với đầu đèn E10 phù hợp với xuất bản hiện hành của tờ rời tiêu chuẩn 700422 của IEC 60061.
23.1.4. Máy biến áp cách ly và máy biến áp cách ly an toàn phải phù hợp với IEC 61558-1.
23.1.5. Cơ cấu đấu nối thiết bị không phải loại được sử dụng cho dụng cụ IPX0 phải phù hợp với IEC 60309. Các cơ cấu đấu nối sử dụng cho IPX0 phải phù hợp với IEC 60320.
Trong trường hợp sử dụng cơ cấu đấu nối thiết bị không theo tiêu chuẩn IEC thì nhà chế tạo phải thông báo với người sử dụng trong hướng dẫn để chỉ sử dụng bộ nối thích hợp được nhà chế tạo qui định khi nối dụng cụ.
23.1.6. Cơ cấu điều khiển tự động không phù hợp với IEC 60730-1 thì phải được thử nghiệm theo tiêu chuẩn này, ngoài ra, còn phải thử nghiệm theo 11.3.5 đến 11.3.8 và Điều 17 của IEC 60730-1. Cơ cấu điều khiển có thể được thử nghiệm tách rời khỏi dụng cụ.
Thực hiện thử nghiệm theo IEC 60730-1 trong các điều kiện xuất hiện trên dụng cụ.
Đối với các thử nghiệm ở Điều 17 của IEC 60730-1, số chu kỳ thao tác là:
- 10 000 chu kỳ thao tác đối với bộ điều nhiệt;
- 1 000 chu kỳ thao tác đối với bộ hạn chế nhiệt độ;
- 300 chu kỳ thao tác đối với thiết bị cắt theo nguyên lý nhiệt tự phục hồi;
- 10 chu kỳ thao tác đối với thiết bị cắt theo nguyên lý nhiệt không tự phục hồi được phục hồi bằng tay.
Cơ cấu điều khiển tự động phù hợp với các yêu cầu của IEC 60730-1 và được sử dụng theo ghi nhãn của nó được xem là đáp ứng yêu cầu của tiêu chuẩn này (thuật ngữ "ghi nhãn" bao gồm ở dạng tài liệu và công bố như qui định ở Điều 7 của IEC 60730-1).
Không thực hiện các thử nghiệm ở Điều 17 của IEC 60730-1 trên cơ cấu điều khiển tự động tác động trong quá trình thử nghiệm ở Điều 12 nếu dụng cụ đáp ứng các yêu cầu của tiêu chuẩn này khi bộ điều khiển được nối tắt.
Ngoại lệ cụ thể có liên quan đến thử nghiệm bộ điều nhiệt và bộ hạn chế nhiệt độ được cho ở chú thích b) của Bảng 1 ở Điều 12.
23.1.7. Nhìn chung, thử nghiệm các linh kiện phải phù hợp với các tiêu chuẩn khác được thực hiện riêng rẽ, theo tiêu chuẩn liên quan như dưới đây.
Nếu linh kiện được ghi nhãn và sử dụng theo ghi nhãn của nó thì được thử nghiệm theo ghi nhãn, số lượng mẫu như tiêu chuẩn liên quan yêu cầu.
Đặc biệt, linh kiện không được đề cập trong Bảng 1 của Điều 12 được thử nghiệm như một phần của dụng cụ đó.
23.1.8. Trong trường hợp không có tiêu chuẩn IEC đối với linh kiện liên quan hoặc linh kiện chưa được ghi nhãn hoặc không được sử dụng theo ghi nhãn của nó thì linh kiện được thử nghiệm trong điều kiện xảy ra trên dụng cụ, số lượng mẫu nói chung như yêu cầu trong qui định kỹ thuật tương tự.
23.1.9. Đối với các tụ điện mắc nối tiếp vâi cuộn dây động cơ, cần kiểm tra để chứng tỏ, khi thiết bị được cấp điện ở điện áp bằng 1,1 lần điện áp danh định và trong tình trạng mang tải nhỏ nhất, thì điện áp trên tụ điện không vượt quá 1,1 lần điện áp danh định của tụ điện.
23.1.10. Cơ cấu đóng cắt nguồn lưới phải có đủ khả năng cắt và phải được đóng cắt 50 000 chu kỳ thao tác.
Kiểm tra sự phù hợp bằng cách xem xét và bằng thử nghiệm sau:
Cơ cấu đóng cắt nguồn lưới được thử nghiệm cùng dụng cụ ở điện áp danh định hoặc ở giới hạn trên của dải điện áp danh định của dụng cụ.
Sau đó, dừng động cơ và thao tác cơ cấu đóng cắt 50 lần, mỗi giai đoạn "đóng" không quá 0,5 s và mỗi giai đoạn "cắt" không nhỏ hơn 10 s.
Trong sử dụng bình thường, nếu cơ cấu điều khiển bằng điện tử ngắt dòng điện trước khi mở các cực tiếp xúc chính thì số lần thao tác giảm xuống còn năm lần với cơ cấu điều khiển bằng điện tử được nối tắt.
Sau thử nghiệm, cơ cấu đóng cắt không được có hỏng về điện hoặc cơ.
Cơ cấu đóng cắt nguồn lưới có thông số đặc trưng riêng rẽ cũng được thử nghiệm theo IEC 61058-1.
23.1.11. Cơ cấu đóng cắt chưa được thử nghiệm riêng rẽ và nhận thấy là phù hợp với IEC 61058-1 trong các điều kiện xảy ra trên dụng cụ thì phải phù hợp với Phụ lục I.
Thử nghiệm ở 17.2.4.4 của IEC 61058-1 được thực hiện với 50 000 chu kỳ thao tác.
Cơ cấu đóng cắt được thiết kế để tác động khi không có tải và chỉ có thể tác động khi có dụng cụ hỗ trợ thì không phải chịu các thử nghiệm ở Điều 17 của IEC 61058-1. Điều này cũng áp dụng cho các cơ cấu đóng cắt tác động bằng tay, được khoá liên động sao cho chúng không thể bị tác động khi có tải nhưng cơ cấu đóng cắt không có khoá liên động phải chịu thử nghiệm ở 17.2.4.4 với 100 chu kỳ thao tác.
Không thực hiện thử nghiệm ở 17.2.4.4 của IEC 61058-1 trên cơ cấu đóng cắt nếu dụng cụ đáp ứng yêu cầu của tiêu chuẩn này khi cơ cấu đóng cắt được nối tắt.
23.2. Không được lắp dụng cụ với:
- cơ cấu đóng cắt hoặc cơ cấu điều khiển tự động trên dây dẫn mềm, tuy nhiên cho phép lắp với RCD;
- cơ cấu được thiết kế để làm tác động thiết bị bảo vệ lắp trên hệ thống đi dây cố định trong trường hợp có sự cố trên dụng cụ;
- thiết bị cắt theo nguyên lý nhiệt có thể phục hồi bằng cách hàn.
Kiểm tra sự phù hợp bằng cách xem xét.
23.3. Cơ cấu bảo vệ quá tải phải là loại không tự phục hồi.
Kiểm tra sự phù hợp bằng cách xem xét.
23.4. Phích cắm và ổ cắm dùng làm cơ cấu đấu nối cho các phần tử gia nhiệt và phích cắm và ổ cắm dùng cho mạch điện áp cực thấp phải không lắp lẫn được với phích cắm và ổ cắm được liệt kê trong TCVN 6188 (IEC 60884) và với các bộ nối và ổ điện vào dụng cụ phù hợp với các tờ rời tiêu chuẩn của IEC 60320.
Kiểm tra sự phù hợp bằng cách xem xét.
23.5. Động cơ nối với nguồn lưới và có cách điện chính không đủ đối với điện áp danh định của dụng cụ phải phù hợp với các yêu cầu của Phụ lục B.
Kiểm tra sự phù hợp bằng các thử nghiệm ở Phụ lục B.
24. Đấu nối nguồn và dây dẫn mềm bên ngoài
24.1. Dụng cụ phải có một trong các phương tiện sau đây để nối với nguồn:
- dây nguồn được lắp với phích cắm đối với dụng cụ có điện áp hoặc tần số danh định để đấu nối với nguồn điện công cộng;
- dây nguồn không lắp với phích cắm nếu dụng cụ được thiết kế để nối với nguồn điện không công cộng;
- ổ cắm điện vào có ít nhất là cùng cấp bảo vệ chống ẩm như yêu cầu của dụng cụ và có cơ cấu hãm để ngăn ngừa ngắt điện không chủ ý;
- dây nguồn không dài quá 0,5 m và được cố định với bộ nối nối tiếp (cơ cấu đấu nối cáp) và bộ phận tương ứng phù hợp của nó. Bộ nối nối tiếp phải có ít nhất là cùng cấp bảo vệ chống ẩm như yêu cầu đối với dụng cụ.
Kiểm tra sự phù hợp bằng cách xem xét và đối với cơ cấu chốt, bằng thử nghiệm kéo ở 24.14.
24.2. Dây nguồn phải được lắp vào dụng cụ bằng một trong các phương pháp sau đây:
- nối dây kiểu X;
- nối dây kiểu Y;
- nối dây kiểu Z, chỉ đối với dụng cụ loại thay thế, nếu cho phép ở IEC 60745-2 liên quan.
Dây nguồn có nối dây kiểu X và kiểu Y có thể là dây mềm bình thường hoặc dây đặc biệt mà chỉ sẵn có từ nhà chế tạo hoặc đại lý dịch vụ. Dây đặc biệt cũng có thể là một phần của dụng cụ.
Kiểm tra sự phù hợp bằng cách xem xét và, nếu cần, bằng thử nghiệm bằng tay.
24.3. Không được lắp phích cắm với nhiều dây dẫn mềm.
Kiểm tra sự phù hợp bằng cách xem xét.
24.4. Dây nguồn không được nhẹ hơn:
- dây mềm có vỏ bọc cao su thông thường (mã 60245 IEC 53);
- dây mềm có vỏ bọc nhựa PVC thông thường (mã 60227 IEC 53).
Không được sử dụng dây mềm có cách điện PVC cho dụng cụ có các phần kim loại bên ngoài, độ tăng nhiệt của chúng vượt quá 75 °C trong quá trình thử nghiệm ở Điều 12.
Kiểm tra sự phù hợp bằng cách xem xét và bằng phép đo.
Nếu có phích cắm thì dây nguồn của dụng cụ một pha có dòng điện danh định không quá 16 A phải được cung cấp phích cắm phù hợp với TCVN 6188 (IEC 60884) hoặc IEC 60309.
Nếu lắp phích cắm phù hợp với IEC 60309 thì áp dụng các tờ rời tiêu chuẩn sau:
- dụng cụ cấp I Tờ 2-I
- dụng cụ cấp II Tờ 2
- dụng cụ cấp III Tờ 2-I
Thân của phích cắm phải bằng hoặc được bọc cao su, PVC hoặc vật liệu có độ bền cơ không kém.
Dây nguồn của dụng cụ một pha, có dòng điện danh định lớn hơn 16 A nhưng không vượt quá 63 A và của dụng cụ nhiều pha có dòng điện danh định không vượt quá 63 A phải được cung cấp phích cắm phù hợp với IEC 60309, áp dụng các tờ rời tiêu chuẩn sau:
- dụng cụ cấp I Tờ 2 - III theo dòng điện
- dụng cụ cấp II Tờ 2
- dụng cụ cấp III Tờ 2-III
Phích cắm hai cực, ổ cắm điện vào và bộ nối dùng cho cơ cấu đấu nối cáp và phích cắm của tờ rời tiêu chuẩn 2 được phép sử dụng cho dụng cụ cấp II.
24.5. Dây nguồn phải có diện tích mặt cắt danh nghĩa không nhỏ hơn các giá trị chỉ ra trong Bảng 6.
Bảng 6 - Diện tích danh nghĩa của mặt cắt của dây nguồn
| Dòng điện danh định của dụng cụ A | Diện tích danh nghĩa của mặt cắt mm2 |
| Đến và bằng 6 | 0,75 |
| Lớn hơn 6 đến và bằng 10 | 1 |
| Lớn hơn 10 đến và bằng 16 | 1,5 |
| Lớn hơn 16 đến và bằng 25 | 2,5 |
| Lớn hơn 25 đến và bằng 32 | 4 |
| Lớn hơn 32 đến và bằng 40 | 6 |
| Lớn hơn 40 đến và bằng 63 | 10 |
Kiểm tra sự phù hợp bằng cách đo.
24.6. Dây nguồn của dụng cụ cấp I phải có một lõi màu xanh/vàng; lõi này phải được nối tới đầu nối đất bên trong của dụng cụ và tới cực nối đất của phích cắm.
Kiểm tra sự phù hợp bằng cách xem xét.
24.7. Không được làm chắc ruột dẫn của dây nguồn bằng cách hàn chì-thiếc ở những nơi chịu áp lực tiếp xúc, trừ khi các phương tiện kẹp có kết cấu để không có nguy cơ tiếp xúc kém do chảy nguội vật liệu hàn.
Kiểm tra sự phù hợp bằng cách xem xét.
Yêu cầu này có thể đạt được bằng cách sử dụng các đầu nối đàn hồi. Chỉ khóa chặt các vít kẹp thì không được xem là đảm bảo.
24.8. Đối với tất cả các kiểu đồ gá, việc đúc cùng với dây nguồn vào vỏ hoặc một phần của vỏ không được ảnh hưởng đến cách điện của dây.
Kiểm tra sự phù hợp bằng cách xem xét
24.9. Các lối vào dây phải có ống lót hoặc phải có kết cấu sao cho vỏ bọc bảo vệ của dây nguồn có thể lọt qua mà không có rủi ro hỏng hóc.
Kiểm tra sự phù hợp bằng cách xem xét và thử nghiệm bằng tay.
24.10. Ống lót lối vào phải:
- có hình dạng sao cho ngăn hỏng dây nguồn;
- được cố định chắc chắn;
- không tháo ra được khi không dùng dụng cụ hỗ trợ.
Kiểm tra sự phù hợp bằng cách xem xét và thử nghiệm bằng tay.
24.11. Để trống
24.12. Chi tiết bảo vệ dây phải có đủ độ bền cơ và phải duy trì các đặc tính này trong suốt quá trình sử dụng bình thường kéo dài.
Kiểm tra sự phù hợp bằng thử nghiệm sau:
Phần của dụng cụ bao gồm lối vào cáp, có lắp chi tiết bảo vệ dây và cáp hoặc dây mềm mà dụng cụ được thiết kế để sử dụng, được cố định trên thanh lắc của thiết bị tương tự như thiết bị được chỉ ra trên Hình 9. Mẫu được lắp đặt sao cho trục lắc tiếp tuyến với bề mặt ngoài của phần mà chi tiết bảo vệ dây được giữ chắc chắn vào và khi thanh lắc ở giữa hành trình thì trục của cáp hoặc dây, tại đó nó rời khỏi chi tiết bảo vệ dây, là thẳng đứng.
Vật nặng, có khối lượng bằng với khối lượng dụng cụ, nhưng không nhỏ hơn 2 kg hoặc không lớn hơn 6 kg được gắn với cáp hoặc dây.
Thanh lắc chuyển động qua lại một góc 90° (45° ở mỗi phía của trục thẳng đứng), số lần bẻ uốn là 20 000 lần và tốc độ uốn là 60 lần/min. Một lần uốn là một chuyển động, chuyển động qua hoặc lại. Sau 10 000 lần uốn, mẫu được xoay qua góc 90° qua đường thẳng giữa của chi tiết bảo vệ dây.
Sau thử nghiệm, chi tiết bảo vệ dây không được bị lỏng và cả chi tiết bảo vệ dây lẫn cáp hoặc dây mềm không được bị hỏng làm mất sự phù hợp với tiêu chuẩn này, ngoài ra, cho phép không quá 10 % số sợi bện của từng ruột dẫn bị đứt.
Ngay sau thử nghiệm này, nới lỏng cơ cấu chặn dây hoặc các vít đầu nối nhưng không tháo ruột dẫn của cáp hoặc dây mềm. Tuy nhiên, nếu chi tiết bảo vệ dây được kẹp vào cơ cấu chặn dây thì không được nới lỏng cơ cấu chặn dây.
Sau đó, nâng dụng cụ bằng chi tiết bảo vệ dây nhưng không giật lên khoảng cách xấp xỉ 500 mm trong khoảng 1 s và đặt lại lên giá đỡ.
Thực hiện thao tác này 10 lần.
Trong suốt thử nghiệm này, chi tiết bảo vệ dây không được trượt ra khỏi vị trí của nó.
24.13. Cáp hoặc dây mềm của dụng cụ phải được bảo vệ chống bị uốn quá mức ở lối vào của dụng cụ nhờ chi tiết bảo vệ dây bằng vật liệu cách điện.
Chi tiết bảo vệ phải được cố định theo cách có thể tin cậy và có thiết kế sao cho chúng nhô ra ngoài dụng cụ với khoảng cách cách lối vào ít nhất bằng năm lần đường kính ngoài của cáp hoặc dây đi kèm dụng cụ.
Kiểm tra sự phù hợp bằng cách xem xét, bằng cách đo và thử nghiệm dưới đây:
Dụng cụ được thiết kế dùng cho dây nguồn thì được lắp chi tiết bảo vệ dây, cáp hoặc dây mềm dài hơn chi tiết bảo vệ xấp xỉ 100 mm.
Dụng cụ được giữ sao cho trục của chi tiết bảo vệ, tại đó dây hoặc cáp đi ra, hướng lên trên một góc 45° so với phương nằm ngang khi cáp hoặc dây không phải chịu ứng suất.
Sau đó, gắn vật nặng bằng 10 D2 g vào đầu tự do của cáp hoặc dây. D là đường kính ngoài của cáp mềm được đi kèm dụng cụ, tính bằng milimét.
Nếu chi tiết bảo vệ dây nhạy với nhiệt độ thì thử nghiệm được thực hiện ở nhiệt độ (23 ± 2) °C.
Ngay sau khi gắn khối lượng này, độ võng của cáp hoặc dây không được nhỏ hơn 1,5 D.
24.14. Dụng cụ được cung cấp cùng dây nguồn phải có cơ cấu chặn dây để dây dẫn không phải chịu kéo căng, kể cả bị xoắn tại chỗ được nối với dụng cụ và để bảo vệ được cách điện của dây không bị mài mòn.
Không thể đẩy dây dẫn vào trong dụng cụ đến mức dây dẫn hoặc các bộ phận bên trong thiết bị có thể bị hư hại.
Kiểm tra sự phù hợp bằng cách xem xét, thử nghiệm bằng tay và bằng thử nghiệm sau:
Dây dẫn phải chịu 25 lần kéo với giá trị cho trong Bảng 7. Đặt lực kéo nhưng không giật theo hướng bất lợi nhất mỗi lần 1 s.
Ngay sau đó, dây dẫn, không phải là dây của cơ cấu quấn dây tự động, phải chịu mômen xoắn trong 1 min có giá trị như trong Bảng 7.
Bảng 7 - Lực kéo và mômen xoắn
| Khối lượng của dụng cụ kg | Lực kéo N | Mômen xoắn Nm |
| Đến và bằng 1 | 30 | 0,1 |
| Lớn hơn 1 đến và bằng 4 | 60 | 0,25 |
| Lớn hơn 4 | 100 | 0,35 |
Trong quá trình thử nghiệm, dây dẫn không được hỏng.
Sau thử nghiệm, dây dẫn không được dịch chuyển theo chiều dọc quá 2 mm và ruột dẫn không được di chuyển trong đầu nối với khoảng cách quá 1 mm hoặc phải không có độ kéo căng đáng kể tại mối nối.
Chiều dài đường rò và khe hở không khí không được giảm thấp hơn giá trị qui định ở 28.1.
Để đo sự dịch chuyển theo chiều dọc, đánh dấu trên dây dẫn trong lúc dây đang chịu lực kéo ở khoảng cách xấp xỉ 2 cm tính từ cơ cấu chặn dây hoặc một điểm thích hợp khác trước khi bắt đầu thử nghiệm.
Sau thử nghiệm, đo độ dịch chuyển điểm đánh dấu trên dây dẫn so với điểm chặn dây hoặc điểm khác trong khi dây phải chịu lực kéo.
24.15 Cơ cấu chặn dây phải được bố trí sao cho chỉ có thể tiếp cận được cơ cấu này khi có dụng cụ hỗ trợ hoặc phải được thiết kế sao cho chỉ có thể lắp dây khi có dụng cụ hỗ trợ.
Kiểm tra sự phù hợp bằng cách xem xét.
24.16. Đối với nối dây kiểu X, cơ cấu chặn dây phải được thiết kế hoặc bố trí sao cho:
- có thể dễ dàng thay dây dẫn;
- cách để giảm bớt sức căng và ngăn ngừa xoắn dây phải rõ ràng, dể hiểu;
- thích hợp với các loại dây nguồn khác nhau có thể được nối vào, trừ khi dụng cụ được thiết kế để lắp với một loại dây duy nhất;
- dây dẫn không thể chạm tới các vít kẹp của cơ cấu chặn dây nếu các vít này có thể chạm tới được, trừ khi chúng được cách ly với các phần kim loại chạm tới được bằng cách điện phụ;
- dây dẫn không được kẹp bằng vít kim loại đè trực tiếp lên dây dẫn;
- ít nhất một phần của cơ cấu chặn dây được cố định chắc chắn vào dụng cụ, trừ khi nó là bộ phận của dây dẫn được chuẩn bị đặc biệt;
- vít, nếu có, mà phải thao tác khi thay thế dây dẫn thì không được dùng để cố định bất kỳ chi tiết nào khác trừ nếu bỏ sót vít hoặc được lắp không đúng thì dụng cụ sẽ không hoạt động được hoặc rõ ràng là không hoàn chỉnh, hoặc trừ khi các bộ phận theo thiết kế được kẹp chặt bằng các vít đó thì không thể tháo ra được nếu không có dụng cụ hỗ trợ khi thay thế dây dẫn;
- trong trường hợp là chữ chi thì không thể dẫn qua đường chữ chi theo cách không phù hợp với thử nghiệm ở 24.14;
- không được sử dụng miếng đệm làm cơ cấu chặn dây đối với dây nguồn cung cấp;
- đối với các dụng cụ cấp I, cơ cấu chặn dây phải làm bằng vật liệu cách điện hoặc được lót cách điện, nếu không thì sự cố cách điện trên dây dẫn có thể làm cho các phần kim loại chạm tới được trở nên mang điện;
- đối với thiết bị cấp II, cơ cấu chặn dây phải làm bằng vật liệu cách điện hoặc nếu làm bằng kim loại thì chúng phải được cách điện với các phần kim loại chạm tới được bằng cách đáp ứng các yêu cầu đối với cách điện phụ.
Nếu cơ cấu chặn dây đối với nối dây kiểu X có một hoặc nhiều má kẹp nhận lực ép từ một hoặc nhiều đai ốc bắt ren với vít cấy được ghép chắc chắn vào dụng cụ thì cơ cấu chặn dây được xem là có một phần được cố định chắc chắn vào dụng cụ, cho dù má kẹp có thể tháo rời khỏi vít cấy.
Tuy nhiên, nếu lực ép lên các má kẹp được tạo ra nhờ một hoặc nhiều vít bắt ren với các đai ốc riêng hoặc với phần có ren liền với dụng cụ thì cơ cấu chặn dây vẫn không được xem là có một phần được cố định chắc chắn với dụng cụ, trừ khi bản thân một trong các má kẹp được cố định vào dụng cụ, hoặc bề mặt của dụng cụ được làm bằng vật liệu cách điện và có hình dạng để bề mặt này hiển nhiên là một trong các má kẹp (xem Hình 6).
Kiểm tra sự phù hợp bằng cách xem xét và thử nghiệm ở 24.14 trong các điều kiện dưới đây.
Thử nghiệm được thực hiện với loại dây nhẹ nhất cho phép có diện tích mặt cắt nhỏ nhất qui định ở 25.2 và sau đó thực hiện với loại dây liền đó nặng hơn tiếp theo có diện tích mặt cắt lớn nhất qui định trừ khi dụng cụ được thiết kế chỉ để lắp với một loại dây duy nhất.
Dụng cụ chỉ sử dụng dây dẫn được chuẩn bị đặc biệt thì được thử nghiệm với dây dẫn được cung cấp.
Các ruột dẫn được đặt vào các đầu nối, các vít đầu nối, nếu có, được xiết vừa đủ để ngăn ruột dẫn dễ dàng thay đổi vị trí của chúng. Sử dụng cơ cấu chặn dây theo cách thông thường, các vít kẹp, nếu có, được xiết chặt với mômen bằng 2/3 giá trị qui định trong 27.1.
Vít bằng vật liệu cách điện ép trực tiếp lên dây dẫn được xiết chặt với mômen lực bằng 2/3 giá trị qui định ở cột I của Bảng 9; chiều dài rãnh trên mũ vít được lấy bằng đường kính danh nghĩa của vít.
24.17. Đối với nối dây kiểu Y và nối dây kiểu Z, cơ cấu chặn dây phải thích hợp.
Kiểm tra sự phù hợp bằng thử nghiệm 24.14 trên dây dẫn được cung cấp.
24.18. Đối với nối dây kiểu X, các phương pháp chế tạo như thắt nút dây dẫn hoặc buộc chặt các đầu dây dẫn bằng dây ngoài là không được phép.
Kiểm tra sự phù hợp bằng cách xem xét.
24.19. Ruột dẫn được cách điện của dây nguồn phải được cách điện với các phần kim loại chạm tới được bằng cách điện phù hợp với các yêu cầu đối với cách điện chính đối với dụng cụ cấp I và phù hợp với các yêu cầu đối với cách điện phụ đối với dụng cụ cấp II. Cách điện này phải bao gồm:
- lớp lót cách điện riêng được cố định với cơ cấu chặn dây;
- ống lót hoặc vòng dây cố định với dây dẫn; hoặc
- đối với dụng cụ cấp I, vỏ bọc của dây dẫn có vỏ bọc.
Kiểm tra sự phù hợp bằng cách xem xét.
24.20. Khoảng trống dành cho cáp nguồn hoặc dây nguồn được cung cấp bên trong, hoặc là một phần của dụng cụ có nối dây kiểu X phải được thiết kế sao cho:
- trước khi lắp nắp đậy, nếu có, cho phép kiểm tra ruột dẫn nguồn được nối và đặt đúng hay chưa;
- có thể lắp nắp đậy, nếu có, mà không có rủi ro hỏng ruột dẫn nguồn hoặc cách điện của chúng;
- đầu không có cách điện của ruột dẫn nếu bị tuột khỏi đầu nối thì vẫn không thể tiếp xúc với các phần kim loại chạm tới được trừ khi dây dẫn được cung cấp cùng các đầu cốt ít có khả năng trượt tự do trên ruột dẫn.
Kiểm tra sự phù hợp bằng cách xem xét và đối với nối dây kiểu X, bằng thử nghiệm lắp đặt với cáp hoặc dây mềm có diện tích mặt cắt lớn nhất qui định ở 25.2 và bằng thử nghiệm bổ sung dưới đây.
Đối với các đầu nối kiểu trụ trong đó ruột dẫn được kẹp riêng rẽ ở khoảng cách 30 mm hoặc nhỏ hơn tính từ đầu nối này và đối với các đầu nối khác có vịt kẹp, vít kẹp hoặc đai ốc kẹp được nới lỏng lần lượt. Không lấy ruột dẫn ra khỏi khoảng trống dành cho ruột dẫn, đặt một lực bằng 2 N lên dây dẫn theo hướng bất kỳ tại vị trí gần với đầu nối, vít hoặc vít cấy. Đầu không có cách điện của ruột dẫn không được trở nên tiếp xúc với phần kim loại chạm tới được hoặc phần kim loại khác được nối vào.
Đối với các đầu nối kiểu trụ trong đó ruột dẫn được kẹp riêng rẽ ở khoảng cách 30 mm hoặc nhỏ hơn tính từ đầu nối này, dụng cụ được xem là đáp ứng yêu cầu rằng đầu không có cách điện của ruột dẫn không được trở nên tiếp xúc với phần kim loại chạm tới được.
24.21. Ổ cắm điện vào phải:
- được bố trí hoặc che chắn sao cho không thể chạm tới được các bộ phận mang điện trong quá trình cắm hoặc rút bộ nối;
- được bố trí sao cho có thể cắm bộ nối vào một cách dễ dàng;
- được bố trí sao cho sau khi cắm bộ nối thì dụng cụ không đè lên bộ nối khi đặt dụng cụ ở tất cả các vị trí sử dụng bình thường trên một bề mặt phẳng.
Kiểm tra sự phù hợp bằng cách xem xét và, liên quan đến yêu cầu thứ nhất, bằng ngón tay thử nghiệm tiêu chuẩn được chỉ ra trên Hình 1 đối với ổ cắm điện vào dụng cụ không phải loại được tiêu chuẩn hoá trong IEC 60320.
Dụng cụ được cung cấp cùng ổ cắm điện vào phù hợp với IEC 60320 được xem là phù hợp với yêu cầu thứ nhất.
25. Đầu nối dùng cho dây dẫn bên ngoài
25.1. Dụng cụ có nối dây kiểu X, trừ các dụng cụ có dây dẫn chuẩn bị đặc biệt, phải có các đầu nối trong đó việc đấu nối được thực hiện bằng vít, đai ốc hoặc các chi tiết có hiệu quả tương đương. Đầu nối kiểu bắt ren phù hợp với IEC 60998-2-1, đầu nối không bắt ren phù hợp với IEC 60998-2-2 và các chi tiết kẹp phù hợp với IEC 60999-1 được xem là các chi tiết có hiệu quả tương đương.
Không được dùng vít hoặc đai ốc để cố định linh kiện bất kỳ nào khác, trừ khi chúng có thể kẹp các ruột dẫn bên trong, nếu các ruột dẫn này được đặt sao cho chúng khó có thể dịch chuyển khi lắp dây dẫn nguồn.
Kiểm tra sự phù hợp bằng cách xem xét.
Đối với dụng cụ nối dây kiểu X, có thể sử dụng mối nối hàn thiếc để đấu nối các dây dẫn bên ngoài miễn là dây dẫn này được định vị hoặc cố định sao cho việc giữ ruột dẫn ở đúng vị trí không chỉ dựa vào mối hàn thiếc trừ khi có các tấm chắn để đảm bảo chiều dài đường rò và khe hở không khí giữa các bộ phận mang điện và các phần kim loại khác không giảm xuống nhỏ hơn 50 % các giá trị qui định ở 28.1 nếu dây dẫn tuột ra khỏi mối hàn thiếc.
Đối với nối dây kiểu Y hoặc nối dây kiểu Z, có thể sử dụng các mối hàn thiếc, hàn điện, kẹp hoặc các mối nối tương tự để nối các dây dẫn bên ngoài; ngoài ra, đối với dụng cụ cấp II, dây dẫn phải được định vị hoặc cố định sao cho việc giữ ruột dẫn ở đúng vị trí không chỉ dựa vào mối hàn thiếc, hàn điện hoặc kẹp trừ khi có các tấm chắn để đảm bảo chiều dài đường rò và khe hở không khí giữa các bộ phận mang điện và các phần kim loại khác không giảm xuống nhỏ hơn 50 % các giá trị qui định ỏ 28.1 nếu dây dẫn tuột ra khỏi mối hàn thiếc hoặc hàn điện hoặc mối kẹp.
Không tính đến việc hai chi tiết dùng để cố định độc lập cùng bị lỏng ra.
Dây dẫn được nối bằng cách hàn thiếc không được xem là được cố định đủ trừ khi chúng được giữ ở vị trí gần với đầu cốt, không phụ thuộc vào mối hàn thiếc; tuy nhiên, nói chung việc móc dây vào lỗ của đầu nối trước khi hàn được xem là phương pháp thích hợp để giữ ruột dẫn của dây nguồn, không phải là dây tinsel, đúng vị trí miễn là lỗ móc ruột dẫn qua không quá rộng.
Đầu nối của thành phần (ví dụ như cơ cấu đóng cắt) được lắp bên trong dụng cụ có thể được dùng làm đầu nối cho dây dẫn bên ngoài.
Dây dẫn nối vào đầu nối hoặc đầu cốt bằng các chi tiết khác không được xem là được cố định đủ, trừ khi có chi tiết cố định bổ sung gần đầu nối hoặc đầu cốt; chi tiết cố định bổ sung này kẹp cả cách điện và ruột dẫn trong trường hợp các ruột dẫn được bện.
Kiểm tra sự phù hợp bằng cách xem xét và bằng cách đo.
25.2. Đầu nối dùng cho nối dây kiểu X trừ các đầu nối của dây dẫn chuẩn bị đặc biệt, phải cho phép nối các ruột dẫn có diện tích mặt cắt danh nghĩa cho trong Bảng 8 trừ khi dụng cụ được thiết kế chỉ để lắp với một loại dây duy nhất, trong trường hợp này thì các đầu nối phải thích hợp cho việc nối dây đó.
Bảng 8 - Mặt cắt danh nghĩa của ruột dẫn
| Dòng điện danh định của dụng cụ A | Diện tích mặt cắt danh nghĩa của cáp và dây mềm mm2 |
| Đến và bằng 6 | 0,75 và 1 |
| Lớn hơn 6 đến và bằng 10 | 1 và 1,5 |
| Lớn hơn 10 đến và bằng 16 | 1,5 và 2,5 |
| Lớn hơn 16 đến và bằng 25 | 2,5 và 4 |
| Lớn hơn 25 đến và bằng 32 | 4 và 6 |
| Lớn hơn 32 đến và bằng 40 | 6 và 10 |
| Lớn hơn 40 đến và bằng 63 | 10 và 16 |
Kiểm tra sự phù hợp bằng cách xem xét, bằng phép đo và bằng cách lắp cáp hoặc dây có mặt cắt nhỏ nhất và lớn nhất qui định.
Đầu nối dùng cho dây dẫn nguồn phải thích hợp với mục đích của nó.
Kiểm tra sự phù hợp bằng cách xem xét và bằng cách đặt một lực kéo bằng 5 N vào chỗ nối.
Sau thử nghiệm, mối nối phải không bị hư hại đến mức không phù hợp với tiêu chuẩn này.
25.3. Đối với các dụng cụ có nối dây kiểu X, đầu nối phải được cố định sao cho khi phương tiện kẹp được xiết chặt hoặc nới lỏng, đầu nối không bị lỏng, dây dẫn bên trong không phải chịu ứng suất, chiều dài đường rò và khe hở không khí không giảm thấp hơn giá trị qui định ở 28.1.
Kiểm tra sự phù hợp bằng cách xem xét và bằng thử nghiệm ở 9.6 của IEC 60999-1, tuy nhiên mômen đặt vào bằng 2/3 mômen xoắn qui định ở Bảng 4 của tiêu chuẩn đó.
Đầu nối có thể được ngăn không bị nới lỏng khi làm việc bằng cách cố định bằng hai vít, cố định bằng một vít đặt trong hốc để không có độ hở đáng kể hoặc bằng phương tiện thích hợp khác.
Yêu cầu về cố định đầu nối không cản trở việc có đầu nối cung cấp trên cơ cấu đóng cắt hoặc cơ cấu tương tự ở trong hốc nếu sau khi nối cáp nguồn và sau khi định vị lại cơ cấu đóng cắt hoặc cơ cấu tương tự trong hốc của nó thì có thể chứng minh được bằng cách xem xét rằng các linh kiện này và cáp nguồn, sau khi lắp ráp lại dụng cụ, đã ở đúng vị trí.
Che phủ bằng hỗn hợp gắn mà không dùng phương tiện giữ nào khác không được xem là đủ. Tuy nhiên, có thể sử dụng nhựa tự cứng để giữ các đầu nối không phải chịu mômen xoắn trong sử dụng bình thường.
25.4. Đối với dụng cụ có nối dây kiểu X, đầu nối phải được thiết kế sao cho đầu nối kẹp dây dẫn giữa các bề mặt kim loại với đủ áp lực tiếp xúc mà không gây hư hại cho dây dẫn.
Kiểm tra sự phù hợp bằng cách xem xét đầu nối và dây dẫn sau thử nghiệm ở 25.3.
25.5. Đối với dụng cụ có nối dây kiểu X, trừ các dụng cụ có ruột dẫn được chuẩn bị đặc biệt, đầu nối không đòi hỏi sự chuẩn bị đặc biệt của ruột dẫn để thực hiện nối đúng và chúng phải được thiết kế hoặc được đặt sao cho ruột dẫn không thể tuột ra ngoài khi xiết vít hoặc đai ốc kẹp.
Kiểm tra sự phù hợp bằng cách xem xét các đầu nối và ruột dẫn sau ở thử nghiệm 25.3.
Thuật ngữ "sự chuẩn bị đặc biệt của ruột dẫn” bao gồm hàn thiếc các sợi bện, sử dụng đầu cốt cáp, lỗ xâu v.v... nhưng không gồm việc sửa lại dạng ruột dẫn trước khi đưa vào trong đầu nối hoặc xoắn ruột dẫn bện để làm chắc đầu ruột dẫn.
Ruột dẫn bị coi là hư hại nếu có các vết lõm sâu hoặc sắc.
25.6. Đầu nối kiểu trụ phải được bố trí sao cho có thể nhìn thấy được đầu của ruột dẫn được luồn vào trong lỗ hoặc sao cho có thể đưa đầu ruột dẫn qua bên kia của lỗ ren một đoạn ít nhất bằng một nửa đường kính danh nghĩa của vít hoặc 2,5 mm, chọn giá trị lớn hơn.
Kiểm tra sự phù hợp bằng cách xem xét và bằng cách đo.
25.7. Đối với nối dây kiểu X, phải nhận biết được rõ ràng và có thể tiếp cận được đầu nối sau khi mở dụng cụ. Tất cả các đầu nối phải được đặt sau một nắp hoặc một phần vỏ dụng cụ.
Kiểm tra sự phù hợp bằng cách xem xét.
25.8. Không được chạm đến đầu nối khi không dùng dụng cụ hỗ trợ ngay cả nếu các bộ phận mang điện của nó là không chạm tới được.
Kiểm tra sự phù hợp bằng cách xem xét và thử nghiệm bằng tay.
25.9. Đầu nối của dụng cụ có nối dây kiểu X phải được đặt hoặc che chắn sao cho nếu có một sợi dây của ruột dẫn bên tuột ra khi lắp các ruột dẫn thì không được có rủi ro nối ngẫu nhiên giữa các bộ phận mang điện và các phần kim loại chạm tới được và, trong trường hợp dụng cụ cấp II, giữa các bộ phận mang điện và các phần kim loại cách ly với phần kim loại chạm tới được chỉ bằng cách điện phụ.
Kiểm tra sự phù hợp bằng thử nghiệm sau:
Tuốt bỏ 8 mm cách điện của một đầu ruột dẫn mềm có diện tích mặt cắt danh nghĩa như qui định ở 24.5.
Một sợi của ruột dẫn bện được tách riêng ra, còn các sợi khác được lồng hoàn toàn và được kẹp trong đầu nối.
Sợi dây tách riêng được uốn cong, nhưng không làm rách cách điện ở phía sau, theo mọi hướng có thể nhưng không bẻ gập qua tấm chắn.
Sợi dây tách riêng của ruột dẫn được nối với đầu nối mang điện không được chạm vào bất kỳ phần kim loại chạm tới được nào hoặc được nối với phần kim loại chạm tới được hoặc, đối với dụng cụ cấp II, không được chạm vào bất kỳ phần kim loại nào được cách ly với phần kim loại chạm tới được chỉ bằng cách điện phụ. Sợi dây tách riêng của ruột dẫn được nối với đầu nối đất không được chạm vào bộ phận mang điện bất kỳ.
26. Qui định cho nối đất
26.1. Phần kim loại chạm tới được của dụng cụ cấp I có thể trở nên mang điện trong trường hợp cách điện bị hỏng phải được nối cố định và tin cậy tới đầu nối đất hoặc đầu cực nối đất nằm bên trong dụng cụ hoặc tới tiếp điểm nối đất của ổ cắm điện vào dụng cụ.
Đường dẫn của tấm mạch in không được dùng để cung cấp tính liên tục cho mạch điện có nơi đất bảo vệ.
Đầu nối đất và tiếp điểm nối đất không được nối điện tới đầu nối trung tính.
Dụng cụ cấp II và dụng cụ cấp III không có phương tiện nối đất.
Nếu các phần kim loại chạm tới được được che chắn với bộ phận mang điện bằng các phần kim loại mà các phần kim loại này được nối tới đầu nối đất hoặc tiếp điểm nối đất thì đối với yêu cầu này, chúng không được coi là có thể trở nên mang điện trong trường hợp hỏng cách điện.
Phần kim loại chạm tới được, được cách ly với các bộ phận mang điện bằng cách điện kép hoặc cách điện tăng cường thì không được xem là có khả năng trở nên mang điện trong trường hợp hỏng cách điện.
Phần kim loại bên dưới vỏ trang trí không chịu được thử nghiệm ở Điều 20 được xem là phần kim loại chạm tới được.
Kiểm tra sự phù hợp bằng cách xem xét.
26.2. Phương tiện kẹp của đầu nối đất phải được khoá đủ để không bị nới lỏng ngẫu nhiên và không thể nới lỏng chúng nếu không dùng dụng cụ hỗ trợ. Các đầu nối kiểu kẹp bắt ren phù hợp với Điều 25 hoặc đầu nối không bắt ren phù hợp với IEC 60998-2-2 được xem là phù hợp với yêu cầu của điều này.
Đối với các dây dẫn được chuẩn bị đặc biệt, đầu nối phù hợp với IEC 60760 được xem là phù hợp với yêu cầu của điều này.
Kiểm tra sự phù hợp bằng cách xem xét, bằng thử nghiệm bằng tay và đối với các đầu nối không bắt ren bằng thử nghiệm qui định ở IEC 60998-2-2.
26.3. Nếu bộ phận tháo ra được có mối nối đất thì phải thực hiện đấu nối trước khi các mối nối mang dòng được thiết lập khi đặt bộ phận này vào vị trí và các mối nối mang dòng phải được tách ra trước khi mối nối đất bị hỏng khi tháo bộ phận này.
Đối với dụng cụ có dây nguồn, cách bố trí các đầu nối hoặc chiều dài của các ruột dẫn giữa cơ cấu chặn dây và các đầu nối phải sao cho các ruột dẫn mang dòng bị kéo căng trước ruột dẫn nối đất nối dây bị trượt ra khỏi cơ cấu chặn dây.
Kiểm tra sự phù hợp bằng cách xem xét và thử nghiệm bằng tay.
26.4. Tất cả các phần của đầu nối đất dùng để nối ruột dẫn ngoài phải sao cho không có rủi ro bị ăn mòn do tiếp xúc giữa các phần đó và kim loại đồng của ruột dẫn nối đất hoặc bất kỳ kim loại khác tiếp xúc với các phần đó.
Các phần có thể truyền dòng điện trong trường hợp hỏng cách điện, không phải các phần thuộc khung hoặc vỏ kim loại, phải bằng kim loại có hoặc không có lớp phủ có đủ khả năng chịu ăn mòn. Nếu các phần đó bằng thép, chúng phải được mạ điện ở các chỗ thiết yếu với độ dày ít nhất là 5 mm.
Các phần bằng kim loại, có hoặc không có lớp phủ, chỉ dùng để tạo ra hoặc truyền áp lực tiếp xúc thì phải được bảo vệ đủ để chống gỉ.
Ví dụ về các phần có thể truyền dòng điện trong trường hợp hỏng cách điện và các phần chỉ dùng để tạo ra hoặc truyền áp lực tiếp xúc được thể hiện trên Hình 8.
Nếu thân của đầu nối đất là một phần của khung hoặc vỏ bọc bằng nhôm hoặc hợp kim nhôm thì phải có biện pháp phòng ngừa để tránh nguy cơ bị ăn mòn do tiếp xúc giữa đồng và nhôm hoặc hợp kim nhôm.
Các phần bằng hợp kim đồng chứa ít nhất là 58 % đồng đối với các phần được gia công nguội và ít nhất 50 % đồng đối với các phần khác, và các phần bằng thép không gỉ chứa ít nhất 13 % crôm, được xem là có đủ khả năng chịu ăn mòn. Các phần phải chịu xử lý như lớp phủ chuyển hóa crôm nhìn chung không được xem là được bảo vệ đủ để tránh ăn mòn nhưng có thể sử dụng các phần này để cung cấp hoặc truyền áp lực tiếp xúc.
Các chỗ thiết yếu của các phần bằng thép, trong thực tế, là các phần có khả năng dẫn dòng. Khi đánh giá các khu vực như vậy phải xét đến chiều dày lớp phủ trong mối tương quan với hình dạng của phần đó. Trong trường hợp có nghi ngờ, chiều dày lớp phủ phải được đo như mô tả trong TCVN 5878 (ISO 2178) hoặc trong ISO 1463.
Kiểm tra sự phù hợp bằng cách xem xét, bằng phép đo, bằng thử nghiệm bằng tay và bằng thử nghiệm ở 30.1.
26.5. Mối nối giữa đầu nối đất hoặc tiếp điểm nối đất và các phần kim loại đòi hỏi được nối đất phải có điện trở nhỏ.
Kiểm tra sự phù hợp bằng thử nghiệm sau:
Dòng điện được lấy từ nguồn có điện áp không tải không lớn hơn 12 V (xoay chiều hoặc một chiều) và bằng 1,5 lần dòng điện danh định của dụng cụ hoặc bằng 25 A, chọn giá trị lớn hơn, được dẫn qua đầu nối đất hoặc tiếp điểm nối đất và lần lượt tới từng phần kim loại chạm tới được.
Đo điện áp rơi giữa đầu nối đất của dụng cụ hoặc tiếp điểm nối đất của ổ cắm điện vào dụng cụ và phần kim loại chạm tới được, và điện trở được tính theo dòng điện và điện áp rơi.
Trong mọi trường hợp điện trở này không được lớn hơn 0,1 W.
Trong trường hợp có nghi ngờ, thử nghiệm được thực hiện đến khi thiết lập các điều kiện ổn định.
Điện trở của dây mềm không được tính vào phép đo điện trở.
Phải chú ý để điện trở tiếp xúc giữa đầu của dụng cụ đo và phần kim loại cần thử nghiệm không ảnh hưởng đến kết quả thử nghiệm.
27. Vít và các mối nối
27.1. Các chi tiết cố định và các mối nối điện mà nếu bị hỏng có thể làm mất sự phù hợp với tiêu chuẩn này phải chịu được các ứng suất cơ học xuất hiện trong sử dụng bình thường.
Vít dùng cho các mục đích này không được bằng kim loại mềm hoặc dễ dão như kẽm hoặc nhôm.
Các vít này nếu là vật liệu cách điện thì chúng phải có đường kính danh nghĩa ít nhất là 3 mm; chúng không được dùng để nối điện.
Vít để truyền áp lực tiếp xúc về điện phải được vặn vào kim loại.
Vít không được làm bằng vật liệu cách điện nếu việc thay thế chúng bằng vít kim loại có thể làm hỏng cách điện phụ hoặc cách điện tăng cường.
Các vít có thể bị tháo ra khi thay dây nguồn có nối dây kiểu X hoặc trong quá trình bảo dưỡng của người sử dụng thì không được bằng vật liệu cách điện nếu sự thay thế chúng bằng vít kim loại có thể làm hỏng cách điện chính.
CHÚ THÍCH: Mối nối đất là ví dụ của mối nối điện.
Kiểm tra sự phù hợp bằng cách xem xét và bằng thử nghiệm sau đây:
Vít hoặc đai ốc được xiết chặt hoặc nới lỏng:
- 10 lần đối với các vít bắt vào ren bằng vật liệu cách điện;
- 5 lần đối với đai ốc và các vít khác.
Vít bắt vào ren bằng vật liệu cách điện thì được tháo ra hoàn toàn rồi vặn lại mỗi lần.
Khi thử nghiệm vít và đai ốc của đầu nối, đặt một ruột dẫn mềm có diện tích mặt cắt lớn nhất qui định ở 25.2 vào đầu nối.
Thử nghiệm được thực hiện bằng tuốc nơ vít, chìa vặn đai ốc hoặc chìa khóa thích hợp bằng cách đặt mômen xoắn cho trong Bảng 9, cột thích hợp là:
- đối với vít kim loại không có mũ nếu vít không nhô ra khỏi lỗ khi đã xiết chặt Cột I
- đối với các vít kim loại khác và đai ốc Cột II
- đối với các vít bằng vật liệu cách điện:
• có mũ sáu cạnh, khoảng cách giữa các mặt đối diện của các cạnh lớn hơn đường kính ren ngoài; hoặc
• có mũ hình trụ và lỗ chìm cho chìa khóa, khoảng cách giữa các đỉnh đối diện lớn hơn đường kính ren ngoài; hoặc
• có mũ có rãnh hoặc rãnh chữ thập, chiều dài của rãnh lớn hơn 1,5 lần đường kính ren ngoài Cột II
- đối với các vít khác bằng vật liệu cách điện Cột III
Bảng 9 - Mômen xoắn để thử nghiệm vít và đai ốc
| Đường kính danh nghĩa của vít mm | Mômen xoắn Nm | ||
|
| I | II | III |
| Đến và bằng 2,8 | 0,2 | 0,4 | 0,4 |
| Lớn hơn 2,8 đến và bằng 3,0 | 0,25 | 0,5 | 0,5 |
| Lớn hơn 3,0 đến và bằng 3,2 | 0,3 | 0,6 | 0,5 |
| Lớn hơn 3,2 đến và bằng 3,6 | 0,4 | 0,8 | 0,6 |
| Lớn hơn 3,6 đến và bằng 4,1 | 0,7 | 1,2 | 0,6 |
| Lớn hơn 4,1 đến và bằng 4,7 | 0,8 | 1,8 | 0,9 |
| Lớn hơn 4,7 đến và bằng 5,3 | 0,8 | 2,0 | 1,0 |
| Lớn hơn 5,3 | - | 2,5 | 1,25 |
Dịch chuyển ruột dẫn mỗi khi nới lỏng vít hoặc đai ốc.
Trong quá trình thử nghiệm, không được có hỏng hóc làm ảnh hưởng đến sử dụng sau này của chi tiết cố định hoặc mối nối điện.
Hình dạng của má tuốcnơvít thử nghiệm phải vừa với đầu của vít cần thử nghiệm. Vít và đai ốc được xiết không giật.
27.2. Các mối nối điện phải được thiết kế sao cho áp lực tiếp xúc không truyền qua vật liệu cách điện có khả năng co ngót hoặc biến dạng trừ khi có đủ độ đàn hồi trong phần kim loại để bù cho sự co ngót hoặc biến dạng bất kỳ có thể có của vật liệu cách điện. Vật liệu gốm không có khả năng co ngót hoặc biến dạng.
Kiểm tra sự phù hợp bằng cách xem xét.
27.3. Các vít có ren cách quãng (bắt vào tấm kim loại) không được sử dụng cho việc đấu nối các bộ phận mang dòng trừ khi chúng kẹp các bộ phận tiếp xúc trực tiếp với nhau và có phương tiện để hãm thích hợp.
Các vít cắt ren (tự điều chỉnh bước) không được dùng để nối điện các bộ phận mang dòng trừ khi chúng tạo ra ren vít máy tiêu chuẩn dạng đầy đủ. Tuy nhiên, các vít như vậy không được dùng nếu chúng có khả năng được thao tác bởi người sử dụng hoặc người lắp đặt trừ khi ren được tạo thành bằng cách rập nóng.
Vít cắt ren và vít có ren cách quãng có thể dùng để cung cấp nối đất liên tục, với điều kiện là trong sử dụng bình thường không buộc phải tháo lắp mối nối đó và có ít nhất hai vít được dùng cho mỗi mối nối.
Kiểm tra sự phù hợp bằng cách xem xét.
27.4. Các vít tạo ra nối cơ khí giữa các phần khác nhau của dụng phải được vặn chặt để chống nới lỏng nếu chúng cũng để tạo ra mối nối điện.
Yêu cầu này không áp dụng đối với các vít trong mạch nối đất, nếu sử dụng ít nhất hai vít để nối hoặc nếu có mạch nối đất thay thế.
Vòng đệm đàn hồi và chi tiết tương tự có thể cung cấp độ an toàn hợp lý. Hỗn hợp gắn mềm ra khi có nhiệt chỉ đảm bảo đủ an toàn cho các mối nối dùng vít không chịu xoắn trong sử dụng bình thường.
Vít cấy dùng cho các mối nối điện phải được xiết chặt để chống nới lỏng nếu các mối nối đó phải chịu lực xoắn trong sử dụng bình thường, cổ vít không tròn hoặc khía hình chữ V thích hợp có thể đủ để phù hợp với yêu cầu này.
Yêu cầu này không hàm ý là cần phải có hai vít cấy trở lên cho việc nối đất liên tục.
Kiểm tra sự phù hợp bằng cách xem xét và thử nghiệm bằng tay.
28. Chiều dài đường rò, khe hở không khí và khoảng cách qua cách điện
28.1. Chiều dài đường rò và khe hở không khí không được nhỏ hơn các giá trị tính bằng milimét cho trong Bảng 10. Các giá trị qui định trong bảng không áp dụng cho các điểm cắt nhau của các cuộn dây động cơ.
Nếu xuất hiện điện áp cộng hưởng giữa điểm mà dây quấn và tụ điện được nối với nhau và các phần kim loại được cách ly với bộ phận mang điện chỉ bằng cách điện chính thì chiều dài đường rò và khe hở không khí không được nhỏ hơn các giá trị qui định đối với giá trị điện áp đặt lên do cộng hưởng, các giá trị này được tăng lên 4 mm trong trường hợp cách điện tăng cường.
Kiểm tra sự phù hợp bằng cách đo.
Đối với dụng cụ có ổ cắm điện vào, thực hiện phép đo với bộ nối thích hợp cắm vào; đối với dụng cụ có nối dây kiểu X, thực hiện phép đo với dây dẫn nguồn có diện tích mặt cắt lớn nhất như qui định ở 25.2 và cũng thực hiện phép đo khi không có dây dẫn; đối với dụng cụ khác, thực hiện phép đo trên dụng cụ được cung cấp.
Đối với dụng cụ có dây đai, thực hiện phép đo với dây đai ở đúng vị trí và cơ cấu được thiết kế để thay đổi độ căng của dây đai được điều chỉnh đến vị trí bất lợi nhất trong dải điều chỉnh của nó và cũng thực hiện phép đo với dây đai được tháo ra.
Các bộ phận dịch chuyển được được đặt ở vị trí bất lợi nhất; đai ốc và vít có mũ không tròn được giả thiết là được xiết chặt vào vị trí bất lợi nhất.
Khe hở không khí giữa các đầu nối và phần kim loại chạm tới được cũng được đo với vít hoặc đai ốc không xiết ở mức có thể nhưng khe hở không khí không được nhỏ hơn 50 % giá trị trong Bảng 10.
Khoảng cách qua khe hoặc lỗ trong bộ phận bên ngoài của vật liệu cách điện được đo đến lá kim loại tiếp xúc với bề mặt chạm tới được; lá kim loại được ấn vào trong góc và phần tương tự bằng ngón tay thử nghiệm tiêu chuẩn ở Hình 1 nhưng không được ấn vào các lỗ.
Nếu cần, lực đặt vào điểm bất kỳ trên các dây dẫn trần, không phải các dây dẫn của phần tử gia nhiệt, đến điểm bất kỳ trên ống mao dẫn kim loại không được cách điện của bộ điều nhiệt và cơ cấu tương tự và đến phía ngoài của vỏ kim loại để cố gắng làm giảm chiều dài đường rò và khe hở không khí trong khi thực hiện phép đo.
Bảng 10 - Chiều dài đường rò nhỏ nhất và khe hở không khí nhỏ nhất
Kích thước tính bằng milimét
| Khoảng cách mm | Dụng cụ cấp III | Dụng cụ khác | ||||||
| Điện áp làm việc £ 130V | Điện áp làm việc >130 V và £ 250 V | Điện áp làm việc >250 V và £ 440 V | ||||||
| Chiều dài đường rò | Khe hở không khí | Chiều dài đường rò | Khe hở không khí | Chiều dài đường rò | Khe hở không khí | Chiều dài đường rò | Khe hở không khi | |
| Giữa các bộ phận mang điện có cực tính khác nhaua: |
|
|
|
|
|
|
|
|
| - nếu có bảo vệ chống đọng chất bẩnb | 1,0 | 1,0 | 1,0 | 1,0 | 2,0 | 2,0 | 2,0 | 2,0 |
| - nếu không có bảo vệ chống đọng chất bẩn | 2,0 | 1,5 | 2,0 | 1,5 | 3,0 | 2,5 | 4,0 | 3,0 |
| - nếu cuộn dây được phủ sơn hoặc tráng men | 1,0 | 1,0 | 1,5 | 1,5 | 2,0 | 2,0 | 3,0 | 3,0 |
| - đối với điện trở có hệ số nhiệt độ dương (PTC) kể cả các sợi dây dùng để nối của chúng, nếu có bảo vệ chống đọng hơi ẩm hoặc chất bẩnb | - | - | 1,0 | 1,0 | 1,0 | 1,0 | - | - |
| Giữa các bộ phận mang điện và phần kim loại qua cách điện chính: |
|
|
|
|
|
|
|
|
| - nếu có bảo vệ chống đọng chất bẩnb |
|
|
|
|
|
|
|
|
| • nếu bằng vật liệu gốm, mica tinh khiết và vật liệu tương tự | 1,0 | 1,0 | 1,0 | 1,0 | 2,5c | 2,5c | - | - |
| • nếu bằng vật liệu khác | 1,5 | 1,0 | 1,5 | 1,0 | 3,0 | 2,5c | - | - |
| - nếu không có bảo vệ chống đọng chất bẩn | 2,0 | 1,5 | 2,0 | 1,5 | 4,0 | 3,0 | - | - |
| - nếu các bộ phận mang điện là cuộn dây được phủ sơn hoặc tráng men | 1,0 | 1,0 | 1,5 | 1,5 | 2,0 | 2,0 | - | - |
| - tại đầu của phần tử gia nhiệt dạng ống có vỏ bọc | - | - | 1,0 | 1,0 | 1,0e | 1,0d | - | - |
| Giữa các bộ phận mang điện và bộ phận kim loại khác qua cách điện tăng cường: |
|
|
|
|
|
|
|
|
| - nếu bộ phận mang điện là cuộn dây được phủ sơn hoặc tráng men hoăc có bảo vệ chống đọng chất bẩn | - | - | 5,0 | 5,0 | 6,0 | 6,0 | - | - |
| - đối với các bộ phận mang điện khác không được bảo vệ chống đọng chất bẩn | - | - | 8,0 | 5,0 | 8,0 | 8,0 | - | - |
| Giữa các bộ phận kim loại được phân cách bằng cách điện phụ | - | - | 2,5 | 2,5 | 4,0 | 4,0 | - | - |
| a Khe hở không khí qui định không áp dụng cho khoảng hở không khí giữa tiếp điểm của cơ cấu khống chế nhiệt, cơ cấu bảo vệ quá tải, ca cấu đóng cắt có kết cấu có khoảng hở rất nhỏ và cơ cấu tương tự, hoặc không áp dụng cho khoảng hở không khí giữa các phần tử mang dòng điện của các cơ cấu trong đó khe hở không khí thay đổi theo sự di chuyển của cực tiếp xúc. b Nói chung, phần bên trong của dụng cụ có vỏ bọc chống bụi thích hợp được xem là được bảo vệ chống đọng chất bẩn, miễn là dụng cụ không tự tạo ra bụi; không yêu cầu hàn kín. c Nếu các bộ phận là một khối cứng và được đặt bằng cách đúc hoặc nếu thiết kế có dạng làm cho ít có khả năng khoảng cách bị giảm do méo hoặc do chuyển động của các bộ phận thì giá trị này có thể giảm đến 2,0 mm. d Nếu có bảo vệ chống đọng chất bẩn. e Nếu bằng sứ, mica tinh khiết và vật liệu tương tự, có bảo vệ chống đọng chất bẩn. | ||||||||
Lực được đặt bằng ngón tay ở Hình 1 và có giá trị bằng:
- 2 N, đối với dây dẫn trần và đối với ống mao dẫn không có cách điện của bộ điều nhiệt và cơ cấu tương tự;
- 30 N, đối với vỏ bọc.
Cách đo chiều dài đường rò và khe hở không khí được cho trong Phụ lục A.
Nếu đặt một tấm chắn vào giữa và nếu ở trong hai bộ phận không được gắn với nhau thì chiều dài đường rò cũng được đo qua mối nối.
Nếu đặt một tấm chắn vào giữa thì khe hở không khí được đo qua tấm chắn hoặc nếu tấm chắn ở trong hai bộ phận có các bể mặt ghép với nhau nhưng không được gắn lại thì đo qua mối nối.
Đối với dụng cụ có các bộ phận có cách điện kép, trong đó không có kim loại giữa cách điện chính và cách điện phụ thì thực hiện phép đo như khi có lá kim loại giữa hai cách điện.
Khi đánh giá chiều dài đường rò và khe hở không khí, ảnh hưởng của lớp lót cách điện của vỏ bọc bằng kim loại hoặc nắp kim loại cũng được xem xét.
Phương tiện để cố định dụng cụ vào giá đỡ được xem là chạm tới được.
Đối với dạng đường dẫn trên tấm mạch in, trừ tại các mép, giá trị trong bảng giữa các bộ phận có cực tính khác nhau có thể được giảm bớt, miễn là giá trị đỉnh của ứng suất điện áp không vượt quá:
- 150 V/mm với khoảng cách tối thiểu là 0,2 mm nếu có bảo vệ chống đọng chất bẩn;
- 100 V/mm với khoảng cách tối thiểu là 0,5 mm nếu không có bảo vệ chống đọng chất bẩn.
Khi các giới hạn kể trên dẫn đến các giá trị cao hơn các giá trị trong bảng thì áp dụng giá trị trong bảng.
Đối với điện áp đỉnh vượt quá 50 V, chỉ áp dụng chiều dài đường rò giảm bớt nếu chỉ số phóng điện bề mặt (PTI) của tấm mạch in, đo được theo Phụ lục G, lớn hơn 175.
Các khoảng cách này có thể được giảm thêm miễn là dụng cụ phù hợp với các yêu cầu của Điều 18 khi nối tắt lần lượt các khoảng cách này.
Không đo chiều dài đường rò và khe hở không khí trong bộ ghép nối quang nếu cách điện riêng rẽ được gắn đủ và nếu không có không khí giữa các lớp vật liệu riêng rẽ.
Đối với các bộ phận mang điện khác cực tính chỉ được cách ly bằng cách điện chính thì cho phép chiều dài đường rò và khe hở không khí nhỏ hơn các giá trị qui định trong bảng miễn là đáp ứng các yêu cầu của Điều 18 khi nối tắt lần lượt chiều dài đường rò và khe hở không khí này.
28.2. Đối với điện áp làm việc đến và bằng 130 V, khoảng cách qua cách điện giữa các phần kim loại không được nhỏ hơn 1,0 mm nếu chúng được phân cách bằng cách điện phụ và không được nhỏ hơn 1,5mm nếu chúng được cách ly bằng cách điện tăng cường. Khi sử dụng cách điện tăng cường giữa cuộn dây và kim loại chạm tới được thì khoảng cách qua cách điện không được nhỏ hơn 1,0 mm.
Đối với điện áp làm việc lớn hơn 130 V đến và bằng 250 V, khoảng cách qua cách điện giữa các phần kim loại không được nhỏ hơn 1,0 mm nếu chúng được phân cách bằng cách điện phụ và không được nhỏ hơn 2,0 mm nếu chúng được phân cách bằng cách điện tăng cường.
Không áp dụng yêu cầu này nếu cách điện được đặt vào ở dạng lá mỏng, không phải là mica hoặc vật liệu có vảy tương tự và:
- đối với cách điện phụ, gồm ít nhất hai lớp, với điều kiện là một lớp bất kỳ chịu được thử nghiệm độ bền điện được qui định đối với cách điện phụ;
- đối với cách điện tăng cường, gồm ít nhất là ba lớp, với điều kiện là khi hai lớp bất kỳ chịu được đặt tiếp xúc với nhau thì chịu được thử nghiệm độ bền điện được qui định đối với cách điện tăng cường.
Điện áp thử nghiệm được đặt giữa các bề mặt phía ngoài của lớp cách điện hoặc của hai lớp cách điện, nếu thuộc đối tượng áp dụng.
Ngoài ra không áp dụng yêu cầu này nếu cách điện phụ hoặc cách điện tăng cường là không chạm tới được và đáp ứng một trong các điều kiện sau:
- nếu độ tăng nhiệt lớn nhất xác định trong thử nghiệm ở Điều 12 không vượt quá giá trị cho phép qui định ở 12.5;
- sau khi được ổn định trong bảy ngày (168 h) trong lò có nhiệt độ được duy trì lớn hơn 50 °C so với độ tăng nhiệt lớn nhất xác định được trong các thử nghiệm ở Điều 12, cách điện vẫn chịu được thử nghiệm độ bền điện ở Điều 15, thử nghiệm này được thực hiện trên cách điện ở cả nhiệt độ trong lò lẫn xấp xỉ nhiệt độ phòng.
Yêu cầu này không hàm ý rằng khoảng cách qui định chỉ đo qua cách điện răn; khoảng cách có thể gồm chiều dày của cách điện rắn cộng với một hoặc nhiều lớp không khí.
Kiểm tra sự phù hợp bằng cách xem xét và bằng phép đo.
Đối với bộ ghép nối quang, qui trình ổn định được thực hiện ở nhiệt độ lớn hơn 50 °C so với độ tăng nhiệt lớn nhất đo được trên bộ ghép nối quang trong thử nghiệm ở Điều 12 và Điều 18, bộ ghép nối quang được cho làm việc trong các điều kiện nặng nề nhất có thể xảy ra trong các thử nghiệm đó.
29. Khả năng chịu nhiệt, cháy và phóng điện bề mặt
CHÚ THÍCH: Phụ lục J nêu cách chọn và trình tự của các thử nghiệm ở điều này.
29.1. Các bộ phận bên ngoài bằng vật liệu phi kim loại, các phần bằng vật liệu cách điện đỡ các bộ phận mang điện kể cả các mối nối và các bộ phận bằng vật liệu nhựa nhiệt dẻo tạo nên cách điện phụ hoặc cách điện tăng cường, mà nếu như bị hỏng có thể khiến cho dụng cụ không phù hợp với tiêu chuẩn này, phải có đủ khả năng chịu nhiệt.
Kiểm tra sự phù hợp bằng cách áp dụng thử nghiệm ép viên bi lên các phần có liên quan, được thực hiện với trang bị thể hiện trên Hình 5.
Trước khi bắt đầu thử nghiệm, bộ phận này được duy trì trong 24 h trong không khí có nhiệt độ từ 15 °C đến 35 °C và độ ẩm tương đối từ 45 % đến 75 %.
Bộ phận này được đỡ sao cho bề mặt bên trên của nó nằm ngang và phần hình cầu của trang bị được ép vào bề mặt này với lực bằng 20 N. Chiều dày của phần chịu thử nghiệm phải tối thiểu là 2,5 mm.
Chiều dày yêu cầu có thể có được bằng cách sử dụng hai hoặc nhiều phần của bộ phận.
Thử nghiệm được thực hiện trong tủ gia nhiệt ở nhiệt độ (40 ± 2) °C cộng với độ tăng nhiệt lớn nhất được xác định trong quá trình thử nghiệm của Điều 12, nhưng ít nhất phải bằng:
- (75 ± 2) °C đối với các bộ phận bên ngoài;
- (125 ± 2) °C đối với các bộ phận giữ các bộ phận mang điện ở đúng vị trí.
Trước khi bắt đầu thử nghiệm, trang bị thử nghiệm được đưa về nhiệt độ xác định ở trên.
Sau 1 h, lấy trang bị ra và bộ phận này được nhúng ngay vào nước lạnh để được làm mát về nhiệt độ phòng trong vòng 10 s. Đường kính của vết lõm không được vượt quá 2 mm.
Đối với vật đỡ cuộn dây, chỉ các bộ phận đỡ hoặc giữ đầu nối hoặc đầu cốt đúng vị trí mới phải chịu thử nghiệm này.
Nếu không có qui định khác, các bộ phận làm việc ở điện áp cực thấp an toàn không vượt quá 24 V không được xem là bộ phận mang điện.
Thử nghiệm không thực hiện đối với các bộ phận bằng vật liệu gốm.
29.2. Các bộ phận bằng vật liệu phi kim loại phải có khả năng chịu mồi cháy và lửa lan ra.
Yêu cầu này không áp dụng cho các chi tiết trang trí, núm và các bộ phận khác ít có khả năng bị mồi cháy hoặc lan truyền lửa bắt nguồn từ bên trong dụng cụ.
Kiểm tra sự phù hợp bằng cách cho các bộ phận bằng vật liệu phi kim loại chịu thử nghiệm sợi dây nóng đỏ theo IEC 60695-2-11, được tiến hành ở 550 °C.
Thử nghiệm sợi dây nóng đỏ không được thực hiện trên các bộ phận bằng vật liệu được phân loại ít nhất là HB40 theo IEC 60695-11-10, với điều kiện là mẫu thử nghiệm không dày hơn bộ phận liên quan.
Các bộ phận không thể thực hiện thử nghiệm sợi dây nóng đỏ, như là các bộ phận được làm từ vật liệu mềm hoặc vật liệu bọt, phải đáp ứng được các yêu cầu qui định trong ISO 9772 đối với vật liệu cấp HBF, mẫu thử nghiệm này không dày hơn bộ phận liên quan.
29.3. Vật liệu cách điện, qua nó có thể xuất hiện tuyến phóng điện bề mặt phải có đủ khả năng chịu phóng điện bề mặt, có tính đến mức khắc nghiệt của các điều kiện làm việc của nó.
Dòng điện phóng điện bề mặt có thể xuất hiện:
- giữa các bộ phận mang điện khác cực tính;
- giữa các bộ phận mang điện và phần kim loại nối đất;
- qua vật liệu cách điện của cổ góp và nắp chổi than.
Tất cả các dụng cụ được xem là làm việc ở chế độ bình thường trừ khi được chỉ ra khác trong IEC 60745-2 liên quan.
Đối với các bộ phận bằng vật liệu cách điện được sử dụng trong các điều kiện làm việc nặng nề hoặc rất nặng nề, kiểm tra sự phù hợp bằng thử nghiệm chịu phóng điện bề mặt được đề cập trong Phụ lục G.
Đối với các bộ phận bằng vật liệu cách điện được sử dụng ở điều kiện làm việc bình thường và các bộ phận bằng vật liệu gốm, không cần thực hiện thử nghiệm phóng điện bề mặt.
Đối với các bộ phận bằng vật liệu cách điện được sử dụng trong các điều kiện làm việc nặng nề, điện áp thử nghiệm là 175 V. Nếu mẫu không chịu được thử nghiệm này và có nguy cơ khác ngoài nguy cơ cháy thì các bộ phận bao quanh phải chịu thử nghiệm ngọn lửa hình kim được đề cập ở Phụ lục F.
Đối với các bộ phận bằng vật liệu cách điện được sử dụng trong các điều kiện làm việc rất nặng nề, điện áp thử nghiệm là 250 V. Nếu mẫu không chịu được thử nghiệm này nhưng chịu được thử nghiệm với điện áp 175 V và không có nguy cơ khác ngoài nguy cơ cháy thì các bộ phận bao quanh phải chịu thử nghiệm ngọn lửa hình kim được đề cập ở Phụ lục F.
Thử nghiệm ngọn lửa hình kim được thực hiện trên tất cả các bộ phận bằng vật liệu phi kim loại nằm trong phạm vi 50 mm tính từ vị trí bất kỳ có thể xuất hiện tuyến phóng điện bề mặt, trừ khi các bộ phận này được che chắn với tuyến phóng điện đó bằng tấm chắn riêng hoặc vỏ bọc, trong trường hợp này, tấm chắn hoặc vỏ bọc phải chịu thử nghiệm ngọn lửa hình kim.
30. Khả năng chống gỉ
30.1. Các bộ phận bằng sắt, mà nếu bị gỉ có thể khiến dụng cụ không phù hợp với tiêu chuẩn này, thì phải được bảo vệ đủ để chống gỉ.
Kiểm tra sự phù hợp bằng thử nghiệm sau:
Loại bỏ dầu mỡ ra khỏi các bộ phận cần thử nghiệm bằng cách ngâm chúng trong chất tẩy dầu mỡ thích hợp trong 10 min.
Sau đó, các bộ phận được ngâm 10 min trong dung dịch amoni clorua trong nước ở nhiệt độ (20 ± 5) °C.
Không làm khô nhưng sau khi vẩy hết các giọt nước, các bộ phận này được đặt 10 min trong hộp có chứa không khí bão hoà hơi ẩm ở nhiệt độ (20 ± 5) °C.
Sau khi các bộ phận này được làm khô 10 min trong tủ gia nhiệt ở nhiệt độ (100 ± 5) °C, bề mặt của chúng phải không bị gỉ.
Khi sử dụng chất lỏng qui định cho thử nghiệm này, cần có đủ phòng ngừa để ngăn ngừa hít phải hơi chất lỏng.
Các vết gỉ trên các gờ sắc và màng mỏng ngả vàng có thể lau đi được thì được bỏ qua.
Đối với lò xo nhỏ kiểu xoắn ốc và chi tiết tương tự và đối với các bộ phận có thể bị mài mòn, lớp dầu mỡ có thể cung cấp đủ bảo vệ chống gỉ. Các bộ phận này chỉ phải chịu thử nghiệm này nếu có nghi ngờ về tính hiệu quả của màng dầu mỡ và thử nghiệm được thực hiện mà không loại bỏ trước dầu mỡ.
31. Bức xạ, tính độc hại và các nguy hiểm tương tự
31.1. Dụng cụ không được phát ra bức xạ có hại hoặc gây nguy hiểm độc hại hoặc các nguy hiểm tương tự.
Kiểm tra sự phù hợp bằng thử nghiệm.
CHÚ THÍCH: Các thử nghiệm được nêu trong IEC 60745-2 khi cần thiết.
31.2. Nếu dụng cụ lắp thiết bị laze để chỉ ra đường cắt hoặc tương tự thì thiết bị laze phải là cấp II hoặc thấp hơn, theo IEC 60825-1.
Kiểm tra sự phù hợp bằng cách xem xét.
Kích thước thẳng tính bằng milimét
_0509094004.jpg)
| Vật liệu: kim loại, trừ khi có qui định khác. Dung sai kích thước chưa qui định dung sai: góc: 0/-10' kích thước thẳng: đến 25 mm: 0/-0,05 lớn hơn 25 mm: ±0,2 | Chú giải A Tay cầm B Tấm chắn C Vật liệu cách điện D Mối nối E Mặt chặn |
F Vát tất cả các cạnh sắc G Chỏm cầu H Hình trụ |
Cả hai mối nối phải cho phép chuyển động trong cùng một mặt phẳng và cùng chiều qua góc 90° với dung sai 0' đến +10'.
Hình 1 - Ngón tay thử nghiệm tiêu chuẩn
Kích thước tính bằng milimét
_0509094004.jpg)
Hình 2 - Trục thử nghiệm
_0509094004.jpg)
Chú giải
| C | Mạch điện Hình 10 đối với đồng hồ đo dòng điện rò |
| S | Cơ cấu đóng cắt nguồn lưới của sản phẩm cần thử nghiệm |
| 1 | Bộ phận chạm tới được |
| 2 | Phần kim loại không chạm tới được |
| 3 | Cách điện chính |
| 4 | Cách điện phụ |
| 5 | Cách điện tăng cường |
| 6 | Cách điện kép |
Hình 3 - Sơ đồ mạch điện để đo dòng điện rò tại nhiệt độ làm việc đối với đấu nối một pha và dụng cụ ba pha thích hợp với nguồn một pha
_0509094004.jpg)
Chú giải
| C | Mạch điện Hình 10 đối với đồng hồ đo dòng điện rò |
| 1 | Bộ phận chạm tới được |
| 2 | Phần kim loại không chạm tới được |
| 3 | Cách điện chính |
| 4 | Cách điện phụ |
| 5 | Nguồn ba pha |
| 6 | Cách điện kép |
Hình 4 - Sơ đồ mạch điện để đo dòng điện rò tại nhiệt độ làm việc đối với đấu nối ba pha
_0509094004.jpg)
Hình 5 - Trang bị thử nghiệm ép viên bi
_0509094004.jpg)
Kết cấu được chấp nhận
_0509094004.jpg)
Các vít xuyên qua lỗ có ren nằm trong dụng cụ (hoặc các vít xuyên qua lỗ hở trong dụng cụ và được xiết bằng đai ốc) đều không được chấp nhận.
Kết cấu không được chấp nhận
Hình 6 - Sơ đồ thể hiện cơ cấu chặn dây
_0509094004.jpg)
Hình 7 - Móng tay thử nghiệm
_0509094004.jpg)
Chú giải
A Bộ phận cung cấp nối đất liên tục
B Bộ phận tạo hoặc truyền lực ép tiếp xúc
(Mời xem tiếp trong file tải về)
Bạn chưa Đăng nhập thành viên.
Đây là tiện ích dành cho tài khoản thành viên. Vui lòng Đăng nhập để xem chi tiết. Nếu chưa có tài khoản, vui lòng Đăng ký tại đây!
_0509094004.jpg)