- Tổng quan
- Nội dung
- Tiêu chuẩn liên quan
- Lược đồ
- Tải về
Tiêu chuẩn Quốc gia TCVN 7697-2:2007 Máy biến đổi đo lường - Máy biến điện áp kiểu cảm ứng
| Số hiệu: | TCVN 7697-2:2007 | Loại văn bản: | Tiêu chuẩn Việt Nam |
| Cơ quan ban hành: | Bộ Khoa học và Công nghệ | Lĩnh vực: | Công nghiệp , Điện lực |
|
Ngày ban hành:
Ngày ban hành là ngày, tháng, năm văn bản được thông qua hoặc ký ban hành.
|
2007 |
Hiệu lực:
|
Đã biết
|
| Người ký: | Đang cập nhật |
Tình trạng hiệu lực:
Cho biết trạng thái hiệu lực của văn bản đang tra cứu: Chưa áp dụng, Còn hiệu lực, Hết hiệu lực, Hết hiệu lực 1 phần; Đã sửa đổi, Đính chính hay Không còn phù hợp,...
|
Đã biết
|
TÓM TẮT TIÊU CHUẨN VIỆT NAM TCVN 7697-2:2007
Nội dung tóm tắt đang được cập nhật, Quý khách vui lòng quay lại sau!
Tải tiêu chuẩn Việt Nam TCVN 7697-2:2007
TIÊU CHUẨN QUỐC GIA
TCVN 7697-2:2007
MÁY BIẾN ĐỔI ĐO LƯỜNG - PHẦN 2: MÁY BIẾN ĐIỆN ÁP KIỂU CẢM ỨNG
Instrument transformers - Part 2: Inductive voltage transformers
Lời nói đầu
TCVN 7697-2: 2007 thay thế TCVN 3199-79 và TCVN 6097: 1996;
TCVN 7697-2: 2007 hoàn toàn tương đương với IEC 60044-2: 2003;
TCVN 7697-2: 2007 do Ban kỹ thuật tiêu chuẩn TCVN/TC/E1 Máy điện và khí cụ điện biên soạn, Tổng cục Tiêu chuẩn Đo lường Chất lượng đề nghị, Bộ khoa học và Công nghệ công bố.
Lời giới thiệu
TCVN 7697-1: 2007 là một phần của bộ tiêu chuẩn Việt Nam TCVN 7697 (IEC 60044).
Bộ tiêu chuẩn Việt nam TCVN 7697 (IEC 60044) có các tiêu chuẩn dưới đây:
1) TCVN 7697-1: 2007 (IEC 60044-1: 2003), Máy biến đổi đo lường - Phần 1: Máy biến dòng
2) TCVN 7697-2: 2007 (IEC 60044-2: 2003), Máy biến đổi đo lường - Phần 2: Máy biến điện áp kiểu cảm ứng
Bộ tiêu chuẩn IEC 60044 gồm các tiêu chuẩn sau:
1) IEC 60044-1: 2003, Máy biến đổi đo lường - Phần 1: Máy biến dòng
2) IEC 60044-2: 2003, Máy biến đổi đo lường - Phần 2: Máy biến điện áp kiểu cảm ứng
3) IEC 60044-3: 2002, Máy biến đổi đo lường - Phần 3: Máy biến đổi hỗn hợp
4) IEC 60044-5: 2004, Máy biến đổi đo lường - Phần 5: Máy biến điện áp kiểu tụ điện
5) IEC 60044-6: 1992, Máy biến đổi đo lường - Phần 6: Yêu cầu đối với máy biến dòng bảo vệ dùng cho các chức năng quá độ
6) IEC 60044-7: 1998, Máy biến đổi đo lường - Phần 7: Máy biến điện áp kiểu điện tử
7) IEC 60044-8: 2002, Máy biến đổi đo lường - Phần 8: Máy biến dòng kiểu điện tử
MÁY BIẾN ĐỔI ĐO LƯỜNG - PHẦN 2: MÁY BIẾN ĐIỆN ÁP KIỂU CẢM ỨNG
Instrument transformers - Part 2: Inductive voltage transformers
1. Qui định chung
1.1. Phạm vi áp dụng
Tiêu chuẩn này áp dụng cho máy biến điện áp kiểu cảm ứng chế tạo mới được sử dụng cùng với thiết bị đo điện và thiết bị bảo vệ bằng điện tại tần số nằm trong dải từ 15 Hz đến 100 Hz.
Mặc dù các yêu cầu chỉ liên quan đến máy biến đổi có các cuộn dây riêng rẽ nhưng cũng có thể áp dụng cho máy biến đổi kiểu tự ngẫu, trong trường hợp thích hợp. Tiêu chuẩn này không áp dụng đối với máy biến đổi dùng trong phòng thí nghiệm.
CHÚ THÍCH: Các yêu cầu qui định cho máy biến điện áp ba pha không được đề cập trong tiêu chuẩn này, nhưng cho đến nay các yêu cầu trong các điều từ điều 3 đến điều 11 vẫn áp dụng cho các loại biến điện áp ba pha và một số tham khảo đối với chúng cũng được đề cập đến ở các điều này (ví dụ, xem 2.1.4, 5.1.1, 5.2 và 11.2).
Ngoài các yêu cầu và thử nghiệm qui định từ điều 3 đến điều 12, các yêu cầu và thử nghiệm đề cập trong điều 13 là cần thiết đối với máy biến điện áp một pha kiểu cảm ứng dùng trong bảo vệ. Các yêu cầu trong điều 13 áp dụng cụ thể cho các máy biến đổi đòi hỏi có đủ độ chính xác để tác động hệ thống bảo vệ tại các điện áp xuất hiện trong các điều kiện sự cố.
1.2. Tài liệu viện dẫn
Các tài liệu viện dẫn dưới đây là cần thiết để áp dụng tiêu chuẩn này. Đối với các tài liệu ghi năm công bố thì áp dụng bản được nêu. Đối với các tài liệu không ghi năm công bố thì áp dụng bản mới nhất, bao gồm cả các sửa đổi.
TCVN 6099-1: 2006 (IEC 60060-1:1989), Kỹ thuật thử nghiệm điện áp cao - Phần 1: Định nghĩa chung và yêu cầu thử nghiệm
TCVN 7379-2: 2004 (CISPR 18-2: 1986), Đặc tính nhiễu tần số rađiô của đường dây tải điện trên không và thiết bị điện cao áp - Phần 2: Phương pháp đo và qui trình đo để xác định các giới hạn
IEC 60028: 1925, International standard of resistance for copper (Tiêu chuẩn quốc tế về điện trở của đồng)
IEC 60038: 1983, IEC standard voltages (Điện áp theo tiêu chuẩn IEC)
IEC 66050(321): 1986, International Electrotechnical Vocabulary (IEV) - Chapter 321: Instrument transformers (Từ vựng kỹ thuật điện quốc tế (IEV) - Chương 321: Máy biến đổi đo lường)
IEC 60071-1: 1993, Insulation co-ordination - Part 1: Definitions, principles and rules (Phối hợp cách điện - Phần 1: Định nghĩa, nguyên tắc và qui tắc)
IEC 60085: 1984, Thermal evaluation and classification of electrical insulation (Đánh giá và phân loại theo nhiệt độ của cách điện)
IEC 60270: 1981, Partial discharge measurements (Phép đo phóng điện cục bộ)
IEC 60721, Classification of environmental conditions (Phân loại điều kiện môi trường)
IEC 60815: 1986, Guide for the selection of insulators in respect of polluted conditions (Hướng dẫn chọn vật cách điện liên quan đến nhiễm bẩn)
2. Định nghĩa
Tiêu chuẩn này áp dụng các định nghĩa sau đây
2.1. Định nghĩa chung
2.1.1. Máy biến đổi đo lường (instrument transformer)
Máy biến đổi để cấp nguồn cho các thiết bị đo, công tơ, rơle và các khí cụ tương tự.
[IEV 321-01-01, có sửa đổi]
2.1.2. Máy biến điện áp (voltage transformer)
Máy biến đổi đo lường trong đó điện áp thứ cấp, trong điều kiện sử dụng bình thường, về cơ bản tỷ lệ với điện áp sơ cấp và lệch pha một góc xấp xỉ bằng không theo tổ nối dây thích hợp.
[IEV 321-03-01]
2.1.3. Máy biến điện áp không nối đất (unearthed voltage transformer)
Máy biến điện áp mà tất cả các phần cuộn sơ cấp bao gồm cả các đầu nối đều được cách ly với đất đến mức tương ứng với mức cách điện danh định của nó.
2.1.4. Máy biến điện áp nối đất (earthed voltage transformer)
Máy biến điện áp một pha có một đầu cuộn sơ cấp được nối đất trực tiếp hoặc máy biến điện áp ba pha có điểm đấu sao của cuộn sơ cấp được nối đất trực tiếp.
2.1.5. Cuộn sơ cấp (primary winding)
Cuộn dây mà điện áp được đặt vào để biến đổi.
2.1.6. Cuộn thứ cấp (secondary winding)
Cuộn dây cung cấp cho mạch điện áp của thiết bị đo, công tơ, rơle hoặc các khí cụ tương tự.
2.1.7. Mạch điện thứ cấp (secondary circuit)
Mạch điện bên ngoài được cung cấp điện từ cuộn thứ cấp của máy biến đổi.
2.1.8. Điện áp sơ cấp danh định (rated primary voltage)
Giá trị điện áp sơ cấp được ấn định cho máy biến đổi và dùng làm cơ sở cho tính năng của máy biến đổi.
[IEV 321-01-12, có sửa đổi]
2.1.9. Điện áp thứ cấp danh định (rated secondary voltage)
Giá trị điện áp thứ cấp được ấn định cho máy biến đổi và dùng làm cơ sở cho tính năng của máy biến đổi.
[IEV 321-01-16, có sửa đổi]
2.1.10. Tỷ số biến áp thực tế (actual transformation radio)
Tỷ số giữa điện áp sơ cấp thực tế và điện áp thứ cấp thực tế.
[IEV 321-01-18, có sửa đổi]
2.1.11. Tỷ số biến áp danh định (reted transformation ratio)
Tỷ số giữa điện áp sơ cấp danh định và điện áp thứ cấp danh định.
[IEV 321-01-20, có sửa đổi]
2.1.12. Sai số điện áp (sai số tỷ số) (voltage error (ratio error))
Sai số mà máy biến đổi gây ra trong phép đo điện áp và do tỷ số biến áp thực tế khác với tỷ số biến áp danh định.
[IEV 321-01-22, có sửa đổi]
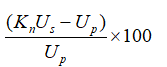
Sai số điện áp, tính bằng phần trăm, được tính bằng công thức sau:
Sai số điện áp % = 
trong đó
Kn là tỷ số biến áp danh định;
Up là điện áp sơ cấp thực tế;
Us là điện áp thứ cấp thực tế khi đặt điện áp Up trong điều kiện đo.
2.1.13. Lệch pha (phase displacement)
Độ lệch về góc pha giữa vectơ điện áp sơ cấp và vectơ điện áp thứ cấp, chiều của vectơ được chọn sao cho góc lệch pha bằng không đối với máy biến đổi hoàn hảo.
[IEV 321-01-23, có sửa đổi].
Lệch pha được coi là dương nếu vectơ điện áp thứ cấp vượt trước vectơ điện áp sơ cấp. Lệch pha thường biểu thị bằng phút hoặc centiradian.
CHÚ THÍCH: Định nghĩa này chỉ chính xác đối với điện áp hình sin.
2.1.14. Cấp chính xác (accuracy class)
Trị số ấn định cho một máy biến điện áp có sai số nằm trong giới hạn qui định trong điều kiện sử dụng cho trước.
2.1.15. Tải (burden)
Khả năng chịu đựng của mạch thứ cấp được tính bằng đơn vị simen và hệ số công suất (chậm sau hoặc vượt trước).
CHÚ THÍCH: Thông thường tải được biểu thị bằng công suất biểu kiến tính bằng von-ampe được tiêu thụ ở hệ số công suất qui định và điện áp thứ cấp danh định.
2.1.16. Tải danh định (rated burden)
Giá trị của tải mà dựa vào đó qui định các yêu cầu về độ chính xác.
2.1.17. Công suất (output)
2.1.17.1. Công suất danh định (rated output)
Giá trị của công suất biểu kiến (biểu thị bằng von-ampe ứng với hệ số công suất qui định) mà máy biến đổi được thiết kế để cung cấp điện áp thứ cấp danh định cho mạch thứ cấp khi nối với tải danh định.
[IEV 321-01-27, có sửa đổi]
2.1.17.2. Công suất giới hạn nhiệt (thermal limiting output)
Giá trị công suất biểu kiến ứng với điện áp danh định, điện áp này có thể lấy từ cuộn thứ cấp khi đặt điện áp sơ cấp danh định vào mà không gây ra quá giới hạn độ tăng nhiệt qui định trong 5.4.
CHÚ THÍCH 1: Trong điều kiện này cho phép vượt quá giới hạn sai số.
CHÚ THÍCH 2: Trong trường hợp có từ hai cuộn thứ cấp trở lên, công suất giới hạn nhiệt cần được cho riêng rẽ.
CHÚ THÍCH 3: Không cho phép sử dụng đồng thời nhiều cuộn thứ cấp, trừ khi có sự thỏa thuận giữa nhà chế tạo và người mua.
2.1.18. Điện áp cao nhất dùng cho thiết bị (highest voltage of equipment)
Điện áp hiệu dụng cao nhất giữa pha-pha mà máy biến đổi được thiết kế liên quan đến mức cách điện của nó.
2.1.19. Điện áp cao nhất của hệ thống (highest voltage of a system)
Giá trị điện áp làm việc cao nhất có thể xuất hiện trong điều kiện làm việc bình thường tại bất kỳ thời điểm nào và tại bất kỳ điểm nào trong hệ thống.
2.1.20. Mức cách điện danh định (rated insulation level)
Sự phối hợp của các giá trị điện áp đặc trưng cho cách điện của máy biến đổi liên quan đến khả năng chịu ứng suất điện môi của nó.
2.1.21. Hệ thống trung tính cách ly (isolated neutral system)
Hệ thống trong đó điểm trung tính không được chủ ý nối đất trừ các mối nối trở kháng lớn dùng cho các mục đích bảo vệ hoặc đo lường.
[IEV 601-02-24]
2.1.22. Hệ thống trung tính nối đất trực tiếp (solidly earthed neutral system)
Hệ thống có (các) điểm trung tính được nối đất trực tiếp.
[IEV 601-02-25]
2.1.23. Hệ thống (trung tính) nối đất trở kháng (impedance earthed (neutral) system)
Hệ thống có (các) điểm trung tính được nối đất qua trở kháng để hạn chế dòng điện sự cố chạm đất.
[IEV 601-02-26]
2.1.24. Hệ thống (trung tính) nối đất cộng hưởng (resonant earthed (neutral) system)
Hệ thống trong đó có một hoặc nhiều điểm trung tính được nối đất qua cảm kháng có giá trị sao cho bù lại gần đúng thành phần điện dung của dòng điện sự cố chạm đất một pha.
[IEV 601-02-27]
CHÚ THÍCH: Với hệ thống nối đất cộng hưởng, dòng điện dư khi có sự cố được giới hạn trong phạm vi sao cho tự dập tắt sự cố hồ quang trong không khí.
2.1.25. Hệ số sự cố chạm đất (earth fault factor)
Tại một vị trí cho trước của hệ thống ba pha và đối với cấu trúc cho trước của hệ thống, tỷ số giữa điện áp tần số công nghiệp pha-đất lớn nhất (giá trị hiệu dụng) trên một pha không có sự cố chạm đất trong thời gian có sự cố chạm đất ảnh hưởng lên một hay nhiều pha còn lại tại điểm bất kỳ của hệ thống và điện áp tần số công nghiệp pha-đất (giá trị hiệu dụng) lẽ ra có thể đạt được tại vị trí đã chọn nếu như không có sự cố như vậy.
[IEV 604-03-06]
2.1.26. Hệ thống trung tính nối đất (earthed neutral system)
Hệ thống trong đó trung tính được nối đất trực tiếp hoặc nối qua một điện trở hoặc cảm kháng đủ nhỏ để giảm có hiệu quả dao động quá độ và đảm bảo tạo ra dòng điện đủ để bảo vệ chọn lọc sự cố chạm đất.
a) Một hệ thống ba pha có trung tính nối đất hiệu quả tại vị trí cho trước là hệ thống được đặc trưng bởi hệ số sự cố chạm đất tại điểm đó không vượt quá 1,4.
CHÚ THÍCH: Nhìn chung, điều kiện này đạt được khi, đối với tất cả các cấu trúc hệ thống, tỷ số giữa cảm kháng thứ tự không và cảm kháng thứ tự thuận nhỏ hơn 3 và tỷ số giữa điện trở thứ tự không và cảm kháng thứ tự thuận nhỏ hơn 1.
b) Một hệ thống ba pha có trung tính nối đất không hiệu quả tại vị trí cho trước là hệ thống được đặt trưng bởi hệ số sự cố chạm đất tại điểm đó có thể vượt quá 1,4.
2.1.27. Hệ thống lắp đặt hở (exposed installation)
Hệ thống lắp đặt trong đó khí cụ phải chịu quá điện áp có nguồn gốc khí quyển.
CHÚ THÍCH: Hệ thống lắp đặt này thường nối vào đường dây tải điện trên không, hoặc trực tiếp, hoặc qua một đoạn cáp ngắn.
2.1.28. Hệ thống lắp đặt kín (non- exposed installation)
Hệ thống lắp đặt trong đó khí cụ không phải chịu quá điện áp có nguồn gốc khí quyển.
CHÚ THÍCH: Hệ thống lắp đặt này thường nối vào mạng cáp.
2.1.29. Tần số danh định (rated frequency)
Giá trị tần số làm cơ sở cho các yêu cầu của tiêu chuẩn này.
2.1.30. Hệ số điện áp danh định (rated voltage factor)
Hệ số khi nhân với điện áp sơ cấp danh định sẽ cho điện áp lớn nhất mà tại đó máy biến đổi phải tuân thủ các yêu cầu về nhiệt tương ứng trong thời gian qui định và tuân thủ các yêu cầu về độ chính xác thích hợp.
2.1.31. Máy biến áp đo lường (measuring voltage transformer)
Máy biến áp được thiết kế để cấp nguồn cho dụng cụ chỉ thị, công tơ tích hợp và các khí cụ tương tự.
2.2. Định nghĩa bổ sung đối với máy biến điện áp bảo vệ một pha kiểu cảm ứng
2.2.1. Máy biến điện áp bảo vệ (protective voltage transformer)
Máy biến điện áp dùng để cung cấp điện cho rơle bảo vệ bằng điện.
2.2.2. Cuộn dây điện áp dư (residual voltage winding)
Cuộn dây của máy biến điện áp một pha được dùng trong bộ ba máy biến điện áp một pha để nối trong mạch tam giác hở nhằm:
a) tạo ra điện áp dư trong điều kiện sự cố chạm đất;
b) làm tắt dần dao động tự kích (cộng hưởng sắt từ).
3. Yêu cầu chung
Tất cả các loại máy biến đổi phải phù hợp với mục đích đo lường, tuy nhiên, một số loại có thể sử dụng thêm cho mục đích bảo vệ. Máy biến đổi dùng cho cả hai mục đích đo lường và bảo vệ phải phù hợp với tất cả các điều của tiêu chuẩn này.
4. Điều kiện vận hành bình thường và điều kiện vận hành đặc biệt
Thông tin chi tiết liên quan đến phân loại điều kiện môi trường được nêu trong bộ tiêu chuẩn IEC 60721.
4.1. Điều kiện vận hành bình thường
4.1.1. Nhiệt độ không khí bao quanh
Máy biến điện áp được chia thành ba cấp như nêu trong bảng 1.
Bảng 1 - Cấp nhiệt độ
| Cấp | Nhiệt độ tối thiểu oC | Nhiệt độ tối đa oC |
| - 5/40 | - 5 | 40 |
| - 25/40 | - 25 | 40 |
| - 40/40 | - 40 | 40 |
| CHÚ THÍCH: Khi chọn cấp nhiệt độ cần quan tâm đến điều kiện vận chuyển và bảo quản. | ||
4.1.2. Độ cao so với mực nước biển
Độ cao so với mực nước biển không vượt quá 1 000 m.
4.1.3. Rung hoặc chấn động
Các rung động hoặc chấn động do nguyên nhân từ bên ngoài máy biến dòng là không đáng kể.
4.1.4. Điều kiện vận hành khác dùng cho máy biến điện áp lắp đặt trong nhà
Các điều kiện vận hành khác được xem xét gồm:
a) tác động của bức xạ mặt trời có thể được bỏ qua;
b) không khí không bị nhiễm bẩn đáng kể do bụi, khói, khí ăn mòn, hơi hoặc muối;
c) tình trạng độ ẩm như sau:
1) giá trị trung bình của độ ẩm tương đối đo trong 24 h không vượt quá 95 %;
2) giá trị trung bình của áp suất hơi nước trong 24 h không vượt quá 2,2 kPa;
3) giá trị trung bình của độ ẩm tương đối trong một tháng không vượt quá 90 %;
4) giá trị trung bình của áp suất hơi nước trong một tháng không được vượt quá 1,8 kPa.
Với các điều kiện này đôi khi có thể xuất hiện ngưng tụ.
CHÚ THÍCH 1: Ngưng tụ có thể xảy ra trong trường hợp xuất hiện thay đổi nhiệt độ đột ngột trong giai đoạn độ ẩm cao.
CHÚ THÍCH 2: Để chịu được các ảnh hưởng do độ ẩm cao và ngưng tụ ví dụ như đánh thủng cách điện hoặc ăn mòn ở các bộ phận kim loại, cần sử dụng các máy biến điện áp được thiết kế cho các điều kiện này.
CHÚ THÍCH 3: Có thể ngăn ngừa ngưng tụ bằng cách thiết kế đặc biệt cho mái che, thông gió và gia nhiệt thích hợp hoặc sử dụng thiết bị khử ẩm.
4.15. Điều kiện vận hành khác dùng cho máy biến điện áp lắp đặt ngoài trời
a) giá trị trung bình của nhiệt độ không khí môi trường, đo trong suốt thời gian 24 h, không vượt quá 35 oC;
b) bức xạ mặt trời đạt đến mức 1 000 W/m2 (được đo giữa trưa một ngày ít mây);
c) không khí môi trường có thể bị nhiễm bẩn do bụi, khói, khí ăn mòn, hơi nước hoặc hơi mặn. Độ nhiễm bẩn không được vượt quá giá trị cho trong bảng 8;
d) áp suất gió không vượt quá 700 Pa (tương đương tốc độ gió 34m/s);
e) cần tính đến ngưng tụ hoặc mưa, tuyết.
4.2. Điều kiện vận hành đặc biệt
Khi máy biến điện áp có thể được sử dụng trong các điều kiện khác với điều kiện vận hành bình thường nêu trong 4.1, các yêu cầu của người sử dụng cần tham khảo các bước đã được tiêu chuẩn hóa dưới đây.
4.2.1. Độ cao so với mực nước biển
Đối với hệ thống lắp đặt ở độ cao lớn hơn 1 000 m so với mực nước biển, khoảng cách hồ quang trong điều kiện khí quyển chuẩn tiêu chuẩn phải được xác định bằng cách nhân điện áp chịu thử yêu cầu ở vị trí vận hành với hệ số k theo hình 1.
CHÚ THÍCH: Đối với cách điện bên trong, độ cao so với mực nước biển không làm ảnh hưởng đến độ bền điện môi. Phương pháp để kiểm tra cách điện bên ngoài phải được thỏa thuận giữa nhà chế tạo và người mua.
4.2.2. Nhiệt độ không khí môi trường
Đối với hệ thống lắp đặt ở nơi mà nhiệt độ môi trường có thể khác đáng kể so với dải điều kiện vận hành bình thường nêu trong 4.1.1, dải nhiệt độ tối đa và tối thiểu ưu tiên cần được qui định như sau:
a) - 50 oC và 40 oC đối với khí hậu rất lạnh;
b) - 5 oC và 50 oC đối với khí hậu rất nóng.
Trong các vùng nhất định có gió nóng ẩm thường xuyên, có thể xuất hiện sự thay đổi nhiệt độ đột ngột, dẫn đến ngưng tụ ngay cả ở trong nhà.
CHÚ THÍCH: Trong điều kiện bức xạ mặt trời nhất định, có thể cần thiết phải tiến hành các biện pháp thích hợp, ví dụ làm mái che, thông gió cưỡng bức, v.v.. để độ tăng nhiệt qui định không bị vượt quá.
4.2.3. Động đất
Các yêu cầu và các thử nghiệm đang được xem xét
4.3. Hệ thống nối đất
Hệ thống nối đất cần xem xét là:
a) hệ thống trung tính cách ly (xem 2.1.21);
b) hệ thống nối đất cộng hưởng (xem 2.1.24);
c) hệ thống trung tính nối đất (xem 2.1.26);
1) hệ thống trung tính nối đất trực tiếp (xem 2.1.22);
2) hệ thống trung tính nối đất trở kháng (xem 2.1.23).
5. Thông số đặc trưng
5.1. Giá trị tiêu chuẩn của điện áp danh định
5.1.1. Điện áp sơ cấp danh định
Giá trị tiêu chuẩn của điện áp sơ cấp danh định của máy biến đổi ba pha và máy biến đổi một pha dùng trong hệ thống một pha hoặc giữa các pha trong hệ thống ba pha, phải là một trong những giá trị của điện áp hệ thống danh định, thường là các giá trị qui định trong IEC 60038. Giá trị tiêu chuẩn của điện áp sơ cấp danh định của máy biến đổi một pha được nối giữa một pha của hệ thống ba pha và đất hoặc giữa điểm trung tính hệ thống và đất phải bằng 1/
lần của một trong các giá trị điện áp danh định hệ thống.
CHÚ THÍCH: Đặc tính của máy biến điện áp như máy biến áp đo lường và máy biến điện áp bảo vệ dựa vào điện áp sơ cấp danh định, trong khi đó mức cách điện danh định lại dựa vào một trong các điện áp cao nhất dùng cho thiết bị nêu trong IEC 60038.
5.1.2. Điện áp thứ cấp danh định
Điện áp thứ cấp danh định phải được chọn tương ứng với thực tế tại vị trí đặt máy biến đổi.
Các giá trị cho dưới đây được coi là giá trị tiêu chuẩn đối với máy biến đổi một pha trong hệ thống một pha hoặc được nối pha-pha trong hệ thống ba pha và đối với máy biến đổi ba pha:
a) dựa trên thông lệ của Châu Âu:
- 100 V và 110 V;
- 200 V đối với mạch thứ cấp mở rộng;
b) dựa trên thông lệ của Mỹ và Canada:
- 120 V đối với hệ thống phân phối;
- 115 V đối với hệ thống truyền tải;
- 230 V đối với mạch thứ cấp mở rộng.
Đối với máy biến đổi một pha được thiết kế để nối pha - đất trong hệ thống ba pha, trong trường hợp điện áp sơ cấp danh định là một số chia cho
, điện áp thứ cấp danh định cũng phải là một trong các giá trị trên đây chia cho
, do đó duy trì được giá trị của tỉ số biến đổi danh định.
CHÚ THÍCH 1: Điện áp thứ cấp danh định của các cuộn dây được thiết kế để tạo ra điện áp thứ cấp dư được cho trong 13.3.
CHÚ THÍCH 2: Trong mọi trường hợp, tỷ số biến áp danh định nên là một số nguyên. Nếu sử dụng một trong các giá trị sau: 10 - 12 - 15 - 20 - 25 - 30 - 40 - 50 - 60 - 80 và nhân với bội số thập phân của chúng làm tỷ số biến áp danh định, cùng với một trong các điện áp thứ cấp danh định của điều 5.1.2 này, thì phần lớn các giá trị tiêu chuẩn của điện áp hệ thống danh định của IEC 60038 sẽ được bao trùm.
5.2. Giá trị tiêu chuẩn của công suất danh định
Giá trị tiêu chuẩn của công suất danh định tại hệ số công suất là 0,8 điện cảm, biểu thị bằng vôn-ampe là:
10, 15, 25, 30, 50, 75, 100, 150, 200, 300, 400, 500 VA
Các giá trị có gạch dưới là giá trị ưu tiên. Công suất danh định của máy biến đổi ba pha phải là công suất danh định của từng pha.
CHÚ THÍCH: Đối với một máy biến đổi đã cho, với điều kiện là một trong các giá trị công suất danh định là giá trị tiêu chuẩn và kết hợp với cấp chính xác tiêu chuẩn vẫn có thể công bố các công suất danh định khác, có thể không tiêu chuẩn, nhưng gắn liền với cấp chính xác tiêu chuẩn khác.
5.3. Giá trị tiêu chuẩn của hệ số điện áp danh định
Hệ số điện áp được xác định bằng điện áp làm việc lớn nhất, lần lượt phụ thuộc vào điều kiện nối đất của hệ thống và điều kiện nối đất của cuộn sơ cấp của máy biến điện áp.
Hệ số điện áp tiêu chuẩn ứng với các điều kiện nối đất khác nhau được cho trong bảng 2, với khoảng thời gian cho phép của điện áp làm việc lớn nhất (có nghĩa là thời gian danh định).
Bảng 2 - Giá trị tiêu chuẩn của hệ số điện áp danh định
| Hệ số điện áp danh định | Thời gian danh định | Phương pháp nối cuộn sơ cấp và điều kiện nối đất hệ thống |
| 1,2 | Liên tục | Giữa hai pha trong lưới điện bất kỳ Giữa điểm nối sao của máy biến đổi và đất trong lưới điện bất kỳ |
| 1,2 | Liên tục | Giữa pha và đất trong hệ thống trung tính nối đất hiệu quả (2.1.25 a)) |
| 1,5 | 30 s | |
| 1,2 | Liên tục | Giữa pha và đất trong hệ thống trung tính nối đất không hiệu quả (2.1.25 b)) có giải trừ sự cố chạm đất tự động |
| 1,9 | 30 s | |
| 1,2 | Liên tục | Giữa pha và đất trong hệ thống trung tính cách ly (2.1.20) không có giải trừ sự cố chạm đất tự động hoặc trong hệ thống nối đất cộng hưởng (2.1.23) không có giải trừ sự cố chạm đất tự động |
| 1,9 | 8 h | |
| CHÚ THÍCH 1: Điện áp làm việc liên tục cao nhất của máy biến điện áp cảm ứng là bằng với điện áp cao nhất dùng cho thiết bị (chia cho CHÚ THÍCH 2: Cho phép giảm thời gian danh định nếu có thỏa thuận giữa nhà chế tạo và người mua. | ||
5.4. Giới hạn độ tăng nhiệt
Nếu không có qui định nào khác, độ tăng nhiệt của máy biến điện áp tại điện áp qui định, ở tần số và tải danh định, hoặc tải danh định lớn nhất nếu có một số giá trị tải danh định, tại bất kỳ hệ số công suất nằm trong khoảng 0,8 điện cảm và 1 không được vượt quá giá trị thích hợp cho trong bảng 3.
Điện áp đặt vào máy biến đổi phải phù hợp với điểm a), b) hoặc c) dưới đây:
a) Tất cả các máy biến đổi, không xét đến hệ số điện áp và thời gian, phải được thử nghiệm ở 1,2 lần điện áp sơ cấp danh định.
Nếu có qui định công suất giới hạn nhiệt, máy biến đổi phải được thử nghiệm ở điện áp sơ cấp danh định, ở tải tương ứng với công suất giới hạn nhiệt tại hệ số công suất bằng 1, không đấu tải cho cuộn điện áp dư.
Nếu công suất giới hạn nhiệt được qui định cho một hoặc nhiều cuộn thứ cấp, thì máy biến điện áp phải được thử nghiệm riêng rẽ với từng cuộn thứ cấp này, mỗi cuộn ở một thời điểm, được nối với tải tương ứng với công suất giới hạn nhiệt tại hệ số công suất bằng 1.
Thử nghiệm phải được tiếp tục cho đến khi nhiệt độ của máy biến đổi đạt tới mức ổn định.
b) Máy biến đổi có hệ số điện áp bằng 1,5 trong thời gian 30 s, hoặc 1,9 trong thời gian 30 s phải thử nghiệm tại hệ số điện áp tương ứng với thời gian 30 s bắt đầu sau khi cấp 1,2 lần điện áp danh định trong thời gian đủ để đạt đến điều kiện ổn định nhiệt; độ tăng nhiệt không được vượt quá 10 oC so với giá trị cho trong bảng 3.
Một cách khác, máy biến đổi như vậy có thể được thử nghiệm ở hệ số điện áp tương ứng trong thời gian 30 s bắt đầu từ trạng thái nguội, độ tăng nhiệt của cuộn dây không được vượt quá 10oC.
CHÚ THÍCH: Có thể bỏ qua thử nghiệm này nếu có thể sử dụng phương tiện khác để chứng tỏ máy biến điện áp đáp ứng được trong những điều kiện này.
c) Máy biến đổi có hệ số điện áp bằng 1,9 trong thời gian 8 h phải được thử nghiệm ở 1,9 lần điện áp danh định trong 8 h bắt đầu sau khi cấp 1,2 lần điện áp danh định trong thời gian đủ để đạt đến điều kiện ổn định nhiệt; độ tăng nhiệt không được vượt quá 10 oC so với giá trị cho trong bảng 3.
Các giá trị cho trong bảng 3 dựa vào điều kiện vận hành đã cho trong điều 4.
Nếu có qui định nhiệt độ xung quanh vượt quá giá trị trong 4.1 thì độ tăng nhiệt độ cho phép trong bảng 3 phải được giảm đi một lượng bằng giá trị vượt quá này.
Nếu một máy biến áp được qui định làm việc tại độ cao vượt quá 1 000 m so với mực nước biển nhưng lại thử nghiệm ở độ cao thấp hơn 1 000 m, thì giới hạn độ tăng nhiệt cho trong bảng 3 phải giảm đi một lượng ứng với mỗi độ cao 100 m ở vị trí làm việc vượt quá 1 000 m là:
| a) máy biến đổi ngâm trong dầu | 0,4 %; |
| b) máy biến đổi kiểu khô | 0,5 %. |
Độ tăng nhiệt của cuộn dây được giới hạn bởi cấp cách điện nhỏ nhất của chính cuộn dây hoặc của môi chất xung quanh cuộn dây. Độ tăng nhiệt lớn nhất của cấp cách điện được cho trong bảng 3.
Bảng 3 - Giới hạn độ tăng nhiệt của cuộn dây
| Cấp cách điện (theo IEC 60085) | Độ tăng nhiệt lớn nhất oC |
| Tất cả các cấp ngâm trong dầu | 60 |
| Tất cả các cấp ngâm trong dầu và được gắn kín hoàn toàn | 65 |
| Tất cả các cấp ngâm trong hợp chất bitum | 50 |
| Các cấp không ngâm trong dầu hoặc hợp chất bitum |
|
| Y | 45 |
| A | 60 |
| E | 75 |
| B | 85 |
| F | 110 |
| H | 135 |
| CHÚ THÍCH: Đối với một số sản phẩm (ví dụ như chất dẻo tổng hợp) nhà chế tạo cần qui định cấp cách điện liên quan. | |
Khi máy biến đổi có lắp thùng dãn nở, có lớp khí trơ ở bên trên lớp dầu hoặc được gắn kín hoàn toàn, độ tăng nhiệt của dầu tại chỗ cao nhất của thùng hoặc vỏ không được vượt quá 55 oC.
Khi máy biến đổi không lắp với hoặc không bố trí thùng dãn nở, độ tăng nhiệt của dầu tại chỗ cao nhất của thùng hoặc vỏ không được vượt quá 55 oC.
Độ tăng nhiệt đo ở bề mặt ngoài của lõi và các bộ phận kim loại khác tại nơi tiếp giáp với hoặc sát với cách điện không được lớn hơn giá trị tương ứng trong bảng 3.
6. Yêu cầu về thiết kế
6.1. Yêu cầu về cách điện
Các yêu cầu này áp dụng cho tất cả các loại cách điện của máy biến điện áp kiểu cảm ứng. Đối với các máy biến điện áp có cách điện bằng khí có thể cần thiết có các yêu cầu bổ sung (đang được xem xét).
6.1.1. Mức cách điện danh định đối với cuộn sơ cấp
Mức cách điện danh định của cuộn sơ cấp máy biến biến điện áp kiểu cảm ứng phải dựa trên điện áp cao nhất dùng cho thiết bị Um.
6.1.1.1. Đối với cuộn dây có Um = 0,72 kV hoặc 1,2 kV, mức cách điện danh định được xác định bằng điện áp chịu thử tần số công nghiệp danh định theo bảng 4.
6.1.1.2. Đối với cuộn dây có Um = 3,6 kV và lớn hơn nhưng không quá 300 kV, mức cách điện danh định được xác định bằng điện áp xung sét danh định và điện áp chịu thử tần số công nghiệp danh định, và phải được chọn theo bảng 4.
Để chọn giữa các mức thay thế cho cùng giá trị Um, xem IEC 60071-1.
6.1.1.3. Đối với cuộn dây có Um lớn hơn hoặc bằng 300 kV, mức cách điện danh định được xác định bằng điện áp đóng cắt danh định và điện áp chịu xung sét danh định, và phải được chọn theo bảng 5.
Để chọn giữa các mức thay thế cho cùng giá trị Um, xem IEC 60071-1.
Bảng 4 - Mức cách điện danh định đối với cuộn sơ cấp của máy biến đổi có điện áp cao nhất dùng cho thiết bị Um < 300 kV
| Điện áp cao nhất dùng cho thiết bị Um (giá trị hiệu dụng) kV | Điện áp chịu thử tần số công nghiệp (giá trị hiệu dụng) kV | Điện áp chịu xung sét danh định (giá trị đỉnh) kV |
| 0,72 | 3 | - |
| 1,2 | 6 | - |
| 3,6 | 10 | 20 |
| 40 | ||
| 7,2 | 20 | 40 |
| 60 | ||
| 12 | 28 | 60 |
| 75 | ||
| 17,5 | 38 | 75 |
| 95 | ||
| 24 | 50 | 95 |
| 125 | ||
| 36 | 70 | 145 |
| 170 | ||
| 52 | 95 | 250 |
| 72,5 | 140 | 325 |
| 100 | 185 | 450 |
| 123 | 185 | 450 |
| 230 | 550 | |
| 145 | 230 | 550 |
| 275 | 650 | |
| 170 | 275 | 650 |
| 325 | 750 | |
| 245 | 395 | 950 |
| 460 | 1050 | |
| CHÚ THÍCH: Đối với hệ thống lắp đặt hở, nên chọn mức cách điện cao nhất. | ||
Bảng 5 - Mức cách điện danh định đối với cuộn sơ cấp có điện áp cao nhất dùng cho thiết bị Um ≥ 300 kV
| Điện áp cao nhất dùng cho thiết bị Um (giá trị hiệu dụng) kV | Điện áp chịu xung đóng cắt danh định (giá trị đỉnh) kV | Điện áp chịu xung sét danh định (giá trị đỉnh) kV |
| 300 | 750 | 950 |
| 850 | 1050 | |
| 362 | 850 | 1050 |
| 950 | 1175 | |
| 420 | 1050 | 1300 |
| 1050 | 1425 | |
| 525 | 1050 | 1425 |
| 1175 | 1550 | |
| 765 | 1425 | 1950 |
| 1550 | 2100 | |
| CHÚ THÍCH 1: Đối với hệ thống lắp đặt hở, nên chọn mức cách điện cao nhất. CHÚ THÍCH 2: Mức điện áp thử nghiệm dùng cho Um = 765 kV cho đến nay chưa thống nhất, sự đổi lẫn giữa các mức thử nghiệm xung đóng cắt và xung sét có thể trở nên cần thiết. | ||
Bảng 6 - Điện áp chịu thử tần số công nghiệp đối với cuộn sơ cấp của máy biến đổi có điện áp cao nhất dùng cho thiết bị Um ≥ 300 kV
| Điện áp chịu xung sét danh định (giá trị đỉnh) kV | Điện áp chịu thử tần số công nghiệp (giá trị hiệu dụng) kV |
| 950 | 395 |
| 1050 | 460 |
| 1175 | 510 |
| 1300 | 570 |
| 1425 | 630 |
| 1550 | 680 |
| 1950 | 880 |
| 2100 | 975 |
6.1.2. Các yêu cầu khác đối với cách điện của cuộn sơ cấp
6.1.2.1. Điện áp chịu thử tần số công nghiệp
Các cuộn dây có điện áp cao nhất dùng cho thiết bị Um ≥ 300 kV phải chịu được điện áp chịu thử tần số công nghiệp tương ứng với điện áp chịu xung sét được chọn theo bảng 6.
6.1.2.2. Điện áp chịu thử tần số công nghiệp đối với đầu nối đất
Đầu nối của cuộn sơ cấp được thiết kế để nối đất, khi được cách ly với vỏ hoặc khung, phải có khả năng chịu được điện áp chịu thử ngắn hạn tần số công nghiệp danh định là 3 kV (giá trị hiệu dụng).
6.1.2.3. Phóng điện cục bộ
Các yêu cầu về phóng điện cục bộ có thể áp dụng cho máy biến điện áp cảm ứng có Um lớn hơn hoặc bằng 7,2 kV.
Mức phóng điện cục bộ không được vượt quá các giới hạn qui định trong bảng 7, tại điện áp thử nghiệm phóng điện cục bộ qui định trong bảng này, sau khi một ứng suất trước được thực hiện theo qui trình của 9.2.4.
Bảng 7 - Điện áp thử nghiệm phóng điện cục bộ và các mức cho phép
| Kiểu nối đất của hệ thống | Nối cuộn sơ cấp | Điện áp thử nghiệm phóng điện cục bộ (giá trị hiệu dụng) kV | Mức phóng điện cục bộ cho phép pC | |
| Loại cách điện | ||||
| Ngâm trong chất lỏng | Rắn | |||
| Hệ thống trung tính nối đất (hệ số sự cố chạm đất ≤ 1,5) | Pha - đất | Um | 10 | 50 |
|
| 1,2 Um/ | 5 | 20 | |
| Pha - pha | 1,2 Um | 5 | 20 | |
| Hệ thống trung tính cách ly hoặc hệ thống trung tính nối đất không hiệu quả (hệ số sự cố chạm đất > 1,5) | Pha - đất | 1,2 Um | 10 | 50 |
|
| 1,2 Um/ | 5 | 20 | |
| Pha - pha | 1,2 Um | 5 | 20 | |
| CHÚ THÍCH 1: Nếu không ấn định hệ thống trung tính thì áp dụng các giá trị đưa ra đối với hệ thống trung tính cách ly hoặc hệ thống nối đất không hiệu quả. CHÚ THÍCH 2: Mức phóng điện cục bộ (PD) cho phép cũng có hiệu lực đối với các tần số khác với tần số danh định. CHÚ THÍCH 3: Khi điện áp danh định của một máy biến điện áp thấp hơn nhiều so với điện áp hệ thống cao nhất Um của nó, có thể cần có thỏa thuận giữa nhà chế tạo và người mua về điện áp ứng suất trước và điện áp đo thấp hơn. | ||||
6.1.2.4. Xung sét cắt
Nếu có qui định bổ sung thì cuộn sơ cấp cũng phải có khả năng chịu được điện áp xung sét cắt có giá trị đỉnh bằng 115 % điện áp xung sét đầy đủ.
CHÚ THÍCH: Nhà chế tạo và người mua có thể thỏa thuận về các giá trị điện áp thử nghiệm thấp hơn.
6.1.2.5. Dung kháng và hệ số tổn thất điện môi
Yêu cầu này chỉ áp dụng cho máy biến đổi có cách điện của cuộn sơ cấp được ngâm trong chất lỏng có Um ≥ 72,5 kV.
Các giá trị của dung kháng và hệ số tổn thất điện môi (tg d) phải qui về tần số danh định và mức điện áp trong dải từ 10 kV đến Um/
.
CHÚ THÍCH 1: Mục đích là để kiểm tra tính thống nhất của sản xuất. Nhà chế tạo và người mua có thể thỏa thuận về các giới hạn thay đổi cho phép.
CHÚ THÍCH 2: Hệ số tổn thất điện môi phụ thuộc vào thiết kế cách điện và phụ thuộc vào điện áp và nhiệt độ.
Giá trị này ở Um/
và nhiệt độ môi trường thường không vượt quá 0,005.
CHÚ THÍCH 3: Đối với một số loại thiết kế máy biến điện áp, việc làm rõ các kết quả này có thể khó đánh giá được.
6.1.3. Yêu cầu cách điện giữa các đoạn
Đối với các cuộn thứ cấp được chia thành hai hoặc nhiều đoạn, điện áp chịu thử tần số công nghiệp danh định của cách điện giữa các đoạn phải là 3 kV (giá trị hiệu dụng).
6.1.4. Yêu cầu cách điện đối với cuộn thứ cấp
Điện áp chịu thử tần số công nghiệp danh định dùng cho cách điện của cuộn thứ cấp phải là 3 kV (giá trị hiệu dụng).
6.1.5. Yêu cầu đối với cách điện bên ngoài
6.1.5.1. Nhiễm bẩn
Đối với máy biến điện áp kiểu cảm ứng lắp đặt ngoài trời có cách điện bằng sứ dễ bị nhiễm bẩn, chiều dài đường rò dùng cho mức nhiễm bẩn cho trước được nêu trong bảng 8.
6.1.6. Yêu cầu đối với điện áp nhiễu tần số rađiô (RIV)
Các yêu cầu này áp dụng cho máy biến điện áp kiểu cảm ứng có Um ≥ 123 kV cần lắp đặt trong các trạm điện có cách điện bằng không khí.
Điện áp nhiễu tần số rađiô không được vượt quá 2 500 mV ở 1,1 Um/
trong điều kiện thử nghiệm và đo được mô tả trong 8.5.
Bảng 8 - Chiều dài đường rò
| Mức nhiễm bẩn | Chiều dài đường rò danh nghĩa riêng tối thiểu mm/kV 1) 2) | Chiều dài đường rò |
| Khoảng cách hồ quang | ||
| I Nhẹ | 16 | ≤ 3,5 |
| II Trung bình | 20 | |
| III Nặng | 25 | ≤ 4,0 |
| IV Rất nặng | 31 | |
| 1) Tỷ số của chiều dài đường rò giữa pha và đất trên tất cả giá trị hiệu dụng pha-pha của điện áp cao nhất dùng cho thiết bị (xem IEC 60071-1). 2) Để có thêm thông tin và dung sai chế tạo liên quan đến chiều dài đường rò, xem IEC 60815. | ||
| CHÚ THÍCH 1: Lưu ý là tính năng của cách điện bề mặt chịu ảnh hưởng rất lớn bởi hình dáng của vật cách điện. CHÚ THÍCH 2: Ở các vùng bị nhiễm bẩn nhẹ, có thể sử dụng chiều dài đường rò danh nghĩa riêng thấp hơn 16 mm/kV tùy thuộc vào kinh nghiệm vận hành. 12 mm/kV được xem là giới hạn thấp hơn. CHÚ THÍCH 3: Trong trường hợp nhiễm bẩn cực kỳ nặng nề, chiều dài đường rò danh nghĩa riêng 31 mm/kV có thể là không đủ. Tùy thuộc vào kinh nghiệm vận hành và/hoặc kết quả thử nghiệm trong phòng thí nghiệm, có thể sử dụng giá trị chiều dài đường rò riêng cao hơn, nhưng trong một số trường hợp nhất định có thể tính đến khả năng rửa sứ cái cách điện. | ||
6.1.7. Quá điện áp truyền dẫn
Yêu cầu này áp dụng cho máy biến điện áp kiểu cảm ứng có Um ≥ 72,5 kV;
Quá điện áp truyền dẫn từ các đầu nối sơ cấp sang đầu nối thứ cấp không được vượt quá các giá trị cho trong bảng 14, trong các điều kiện thử nghiệm và đo nêu trong 10.4.
Yêu cầu đặt xung loại A áp dụng cho máy biến điện áp dùng cho các trạm điện cách điện bằng không khí, trong khi đó yêu cầu xung loại B áp dụng cho máy biến dòng lắp đặt trong trạm điện có vỏ bọc bằng kim loại, cách điện bằng khí (GIS).
Giới hạn đỉnh của quá điện áp truyền dẫn được cho trong bảng 14 và được đo theo phương pháp qui định trong 10.4, cần đảm bảo có đủ bảo vệ cho các thiết bị điện tử nối với cuộn thứ cấp.
Bảng 14 - Giới hạn quá điện áp truyền dẫn
| Loại xung | A | B |
| Giá trị đỉnh của điện áp đặt (Up) | 1,6 x | 1,6 x |
| Đặc trưng dạng sóng: |
|
|
| - thời gian đầu sóng qui ước (T1)a | 0,50 ms ± 20% | - |
| - thời gian đến nửa giá trị (T2) | ≥ 50 ms | - |
| - thời gian đầu sóng (T1) | - | 10 ns ± 20% |
| - chiều dài đuôi sóng (T2) | - | > 100 ns |
| Giới hạn giá trị đỉnh quá điện áp truyền dẫn (Us)b | 1,6 kV | 1,6 kV |
| a Đặc trưng dạng sóng đại diện cho dao động điện áp do thao tác đóng cắt. b Nhà chế tạo và người mua có thể thỏa thuận các giới hạn quá điện áp truyền dẫn khác. | ||
6.2. Khả năng chịu ngắn mạch
Máy biến điện áp phải được thiết kế và kết cấu để chịu được mà không bị hỏng khi được cấp điện ở điện áp danh định, có các ảnh hưởng về cơ và nhiệt do ngắn mạch ở bên ngoài trong thời gian 1 s.
6.3. Yêu cầu về cơ
Yêu cầu này chỉ áp dụng cho máy biến điện áp kiểu cảm ứng có điện áp cao nhất dùng cho thiết bị là lớn hơn hoặc bằng 72,5 kV.
Bảng 9 đưa ra giá trị tải tĩnh mà máy biến điện áp kiểu cảm ứng phải chịu được. Số liệu này đã chứa cả tải do gió và do băng tuyết.
Tải thử nghiệm được qui định cần đặt theo hướng bất kỳ lên đầu nối sơ cấp.
Bảng 9 - Tải thử nghiệm khả năng chịu tải tĩnh
| Điện áp cao nhất dùng cho thiết bị Um kV | Tải thử nghiệm khả năng chịu tải tĩnh FR N | ||
| Máy biến điện áp có: | |||
| Đầu nối điện áp | Đầu nối có dòng điện chạy qua | ||
| Tải cấp I | Tải cấp II | ||
| 72,5 đến 100 | 500 | 1250 | 2 500 |
| 123 đến 170 | 1 000 | 2 000 | 3 000 |
| 245 đến 362 | 1250 | 2 500 | 4 000 |
| ≥ 420 | 1500 | 4 000 | 5 000 |
| CHÚ THÍCH 1: Tổng các tải tác động trong điều kiện làm việc bình thường không nên vượt quá 50 % tải thử nghiệm khả năng chịu tải tĩnh qui định. CHÚ THÍCH 2: Trong một số ứng dụng, máy biến điện áp có các đầu nối có dòng điện chạy qua cần chịu được tải điện động quá mức đôi khi xuất hiện (ví dụ do ngắn mạch) không vượt quá 1,4 lần tải thử nghiệm khả năng chịu tải tĩnh này. CHÚ THÍCH 3: Đối với một số ứng dụng, có thể cần phải thiết lập khả năng chống xoay cho các đầu nối sơ cấp. Giá trị mômen đặt trong quá trình thử nghiệm phải được thỏa thuận giữa nhà chế tạo và người mua. | |||
7. Phân loại các thử nghiệm
Các thử nghiệm qui định trong tiêu chuẩn này chia thành: thử nghiệm điển hình, thử nghiệm thường xuyên và thử nghiệm đặc biệt.
Thử nghiệm điển hình
Thử nghiệm tiến hành trên từng loại máy biến đổi để chứng tỏ rằng tất cả các máy biến đổi chế tạo theo cùng một qui định kỹ thuật là phù hợp với các yêu cầu không đề cập trong thử nghiệm thường xuyên.
CHÚ THÍCH: Thử nghiệm điển hình cũng được coi là có hiệu lực nếu được thực hiện trên một máy biến đổi có sai lệch nhỏ. Sai lệch như vậy phải được thỏa thuận giữa nhà chế tạo và người mua.
Thử nghiệm thường xuyên
Thử nghiệm mà từng máy biến đổi riêng rẽ đều phải chịu.
Thử nghiệm đặc biệt
Thử nghiệm không phải là thử nghiệm điển hình hoặc thử nghiệm thường xuyên, dựa trên thỏa thuận giữa nhà chế tạo và người mua.
7.1. Thử nghiệm điển hình
Các thử nghiệm dưới đây là thử nghiệm điển hình; để biết chi tiết cần tham khảo ở các điều khoản liên quan:
a) thử nghiệm độ tăng nhiệt (xem 8.1);
b) thử nghiệm khả năng chịu ngắn mạch (xem 8.2).
c) thử nghiệm xung sét (xem 8.8.2);
d) thử nghiệm xung đóng cắt (xem 8.3.3);
e) thử nghiệm ướt đối với máy biến đổi loại lắp đặt ngoài trời (xem 8.4);
f) xác định sai số (xem 12.3 và 13.6.2);
g) đo điện áp nhiễu tần số rađiô (RIV) (xem 8.5).
Tất cả các thử nghiệm điển hình điện môi phải được thực hiện trên cùng một máy biến điện áp, nếu không có qui định nào khác.
Các máy biến đổi sau khi chịu thử nghiệm điển hình điện môi của 7.1, phải chịu tất cả các thử nghiệm thường xuyên của 7.2.
7.2. Thử nghiệm thường xuyên
Các thử nghiệm dưới đây áp dụng cho từng máy biến đổi riêng rẽ:
a) kiểm tra việc ghi nhãn trên các đầu nối (xem 9.1);
b) thử nghiệm điện áp tần số công nghiệp trên cuộn sơ cấp (xem 9.2);
c) phép đo phóng điện cục bộ (xem 9.2.4);
d) thử nghiệm điện áp tần số công nghiệp trên cuộn thứ cấp (xem 9.3);
e) thử nghiệm điện áp tần số công nghiệp, giữa các đoạn (xem 9.3);
f) xác định sai số (xem 12.4 và 13.7)
Tuy không tiêu chuẩn hóa thứ tự các thử nghiệm nhưng việc xác định sai số phải thực hiện sau khi hoàn thành các thử nghiệm khác.
Các thử nghiệm lặp lại ở tần số công nghiệp trên cuộn sơ cấp cần được thực hiện ở 80 % điện áp thử nghiệm qui định.
7.3. Thử nghiệm đặc biệt
Các thử nghiệm sau đây được thực hiện trên cơ sở thỏa thuận giữa nhà chế tạo và người mua:
a) thử nghiệm xung cắt trên cuộn sơ cấp (xem 10.1);
b) dung kháng và hệ số tổn thất điện môi (xem 10.2);
c) thử nghiệm về cơ (xem 10.3);
d) đo quá điện áp truyền dẫn (xem 10.4).
8. Thử nghiệm điển hình
8.1. Thử nghiệm độ tăng nhiệt
Phải thực hiện thử nghiệm để chứng tỏ phù hợp với các yêu cầu của 5.4. Với thử nghiệm này, máy biến đổi được coi là đạt đến ổn định nhiệt, nếu tốc độ tăng nhiệt độ không quá 1 oC sau mỗi giờ. Nhiệt độ môi trường tại vị trí thử nghiệm phải nằm trong khoảng từ 10 oC đến 30 oC.
Khi có từ hai cuộn thứ cấp trở lên, thử nghiệm phải thực hiện với tải danh định thích hợp nối vào từng cuộn thứ cấp, trừ khi có thỏa thuận giữa nhà chế tạo và người mua. Cuộn dây điện áp dư phải mang tải theo 13.6.1 hoặc 5.4.
Đối với thử nghiệm này, máy biến đổi phải được lắp đặt theo cách đại diện cho việc lắp đặt khi vận hành.
Độ tăng nhiệt của các cuộn dây phải được đo bằng phương pháp điện trở.
Có thể đo độ tăng nhiệt của các bộ phận không phải là cuộn dây bằng nhiệt kế hoặc nhiệt ngẫu.
8.2. Thử nghiệm khả năng chịu ngắn mạch
Thử nghiệm được thực hiện để chứng tỏ sự phù hợp với 6.2.
Với thử nghiệm này, nhiệt độ ban đầu của máy biến đổi phải nằm trong khoảng từ 10 oC đến 30 oC.
Máy biến điện áp được cấp nguồn từ phía sơ cấp và cho ngắn mạch các đầu của cuộn thứ cấp.
Mỗi lần ngắn mạch khoảng 1 s.
CHÚ THÍCH: Yêu cầu này cũng áp dụng khi cầu chảy là một bộ phận không tách rời của máy biến đổi.
Trong quá trình ngắn mạch, giá trị hiệu dụng của điện áp đặt tại các đầu nối của máy biến đổi không được nhỏ hơn điện áp danh định.
Trong trường hợp máy biến đổi có nhiều cuộn thứ cấp, nhiều đoạn hoặc nhiều đầu ra, thì đầu nối thử nghiệm phải được thỏa thuận giữa nhà chế tạo và người mua.
CHÚ THÍCH: Đối với máy biến điện áp kiểu cảm ứng, thử nghiệm này có thể được thực hiện bằng cách cấp nguồn cho cuộn thứ cấp và làm ngắn mạch các đầu nối của cuộn sơ cấp.
Máy biến điện áp được coi là đạt yêu cầu nếu, sau khi để nguội về nhiệt độ môi trường, vẫn thỏa mãn các yêu cầu sau đây:
a) không có hư hại nhìn thấy được;
b) sai số không được sai khác so với sai số ghi lại trước khi thử nghiệm quá 50 % giới hạn sai số ứng với cấp chính xác đã cho;
c) chịu được các thử nghiệm điện môi qui định trong 9.2 và 9.3, nhưng với điện áp thử nghiệm bằng 90 % giá trị đã cho;
d) bằng cách xem xét bên ngoài, cách điện gần bề mặt của cuộn sơ cấp và thứ cấp không được có hư hại rõ rệt (ví dụ cacbon hóa).
Không yêu cầu kiểm tra theo điểm d) nếu mật độ dòng điện trong cuộn dây không vượt quá 160 A/mm2 đối với dây đồng có độ dẫn điện không nhỏ hơn 97 % so với giá trị cho trong IEC 60028. Mật độ dòng điện dựa trên dòng ngắn mạch hiệu dụng đối xứng đo được trong cuộn thứ cấp (chia cho tỷ số biến áp danh định trong trường hợp cuộn sơ cấp).
8.3. Thử nghiệm xung trên cuộn sơ cấp
8.3.1. Qui định chung
Thử nghiệm xung được thực hiện theo TCVN 6099-1 (IEC 60060-1).
Điện áp thử nghiệm phải đặt giữa từng đầu nối pha của cuộn sơ cấp và đất. Đầu nối đất của cuộn sơ cấp hoặc đầu nối pha không thử nghiệm trong trường hợp máy biến điện áp không nối đất, ít nhất một đầu nối của từng cuộn thứ cấp, khung, vỏ (nếu có) và lõi sắt (nếu được thiết kế để nối đất) phải được nối đất trong thời gian thử nghiệm.
Thử nghiệm xung thường gồm cả việc đặt điện áp ở mức điện áp chuẩn và mức điện áp danh định. Điện áp xung chuẩn phải trong khoảng từ 50 % đến 75 % của điện áp chịu xung danh định. Phải ghi lại giá trị đỉnh và dạng sóng của điện áp xung.
Dấu hiệu hỏng cách điện trong thử nghiệm này có thể được phát hiện bằng sự thay đổi theo dạng sóng ở cả điện áp chuẩn và điện áp chịu thử danh định.
Để phát hiện sự cố, ngoài việc ghi lại giá trị điện áp còn phải ghi lại giá trị (các) dòng điện chạm đất hoặc điện áp xuất hiện trên (các) cuộn thứ cấp.
CHÚ THÍCH: Việc nối đất có thể thực hiện thông qua cơ cấu ghi dòng điện thích hợp
8.3.2. Thử nghiệm xung sét
Điện áp thử nghiệm phải có giá trị thích hợp theo bảng 4 hoặc bảng 5 tùy thuộc vào điện áp lớn nhất dùng cho thiết bị và mức cách điện qui định.
8.3.2.1. Cuộn dây có điện áp Um < 300 kV
Thử nghiệm phải được thực hiện với cả cực tính dương và cực tính âm. Phải đặt mười lăm xung liên tiếp cho mỗi cực tính, không hiệu chỉnh theo điều kiện khí quyển.
Máy biến đổi được coi là đạt thử nghiệm này nếu đối với mỗi cực tính:
- không xuất hiện phóng điện đánh thủng ở cách điện bên trong loại không tự phục hồi;
- không xuất hiện phóng điện bề mặt dọc theo cách điện bên ngoài loại không tự phục hồi;
- không xuất hiện phóng điện bề mặt quá hai lần trên cách điện bên ngoài loại tự phục hồi;
- không phát hiện được các bằng chứng khác về hỏng cách điện (ví dụ sự thay đổi theo dạng sóng của các đại lượng được ghi lại).
Đối với máy biến điện áp không nối đất, phải đặt xấp xỉ nửa số xung lần lượt cho từng đầu nối pha, đầu nối pha còn lại được nối với đất.
CHÚ THÍCH: Đặt 15 xung dương và 15 xung âm là số lượng qui định để thử nghiệm cách điện bên ngoài. Nếu có các thử nghiệm khác được thỏa thuận giữa nhà chế tạo và người mua để kiểm tra cách điện bên ngoài thì số lượng các xung sét có thể giảm xuống còn ba xung cho mỗi cực tính, không hiệu chỉnh các điều kiện khí quyển.
8.3.2.2. Cuộn dây có điện áp Um ≥ 300 kV
Thử nghiệm phải được thực hiện với cả cực tính dương và cực tính âm. Phải đặt ba xung liên tiếp cho mỗi cực tính, không hiệu chỉnh các điều kiện khí quyển.
Máy biến đổi được coi là đạt thử nghiệm này nếu:
- không xuất hiện phóng điện đánh thủng;
- không phát hiện được các bằng chứng khác về hỏng cách điện (ví dụ sự thay đổi theo dạng sóng của các đại lượng được ghi lại).
8.3.3. Thử nghiệm xung đóng cắt
Điện áp thử phải có giá trị tương ứng cho trong bảng 5, tùy thuộc vào điện áp cao nhất dùng cho thiết bị và mức cách điện qui định.
Thử nghiệm phải được thực hiện với cực tính dương. Phải đặt 15 xung liên tiếp, có hiệu chỉnh theo điều kiện khí quyển.
Đối với máy biến đổi lắp đặt ngoài trời, thử nghiệm phải được thực hiện trong điều kiện ẩm ướt (xem 8.4).
CHÚ THÍCH: Để giảm ảnh hưởng bão hòa từ của lõi sắt, cho phép thay đổi trạng thái từ của lõi sắt bằng qui trình thích hợp giữa các xung liên tiếp.
Máy biến đổi được coi là đạt thử nghiệm này nếu:
- không xuất hiện phóng điện đánh thủng ở cách điện bên trong loại không tự phục hồi.
- không xuất hiện phóng điện bề mặt ở cách điện bên ngoài loại không tự phục hồi;
- không xuất hiện quá hai lần phóng điện bề mặt trên cách điện bên ngoài loại tự phục hồi;
- không phát hiện được các bằng chứng khác về hỏng cách điện (ví dụ sự thay đổi theo dạng sóng của các đại lượng được ghi lại).
CHÚ THÍCH: Phải bỏ qua các xung có phóng điện đánh thủng lên các vách hoặc trần của phòng thí nghiệm.
8.4. Thử nghiệm ướt đối với máy biến đổi lắp đặt ngoài trời
Qui trình thử ướt phải theo TCVN 6099-1 (IEC 60060-1).
Đối với cuộn dây có điện áp Um < 300 kV, thử nghiệm phải được thực hiện với điện áp tần số công nghiệp có giá trị tương ứng cho trong bảng 4, tùy thuộc vào điện áp cao nhất dùng cho thiết bị, có hiệu chỉnh theo điều kiện khí quyển.
Đối với cuộn dây có điện áp Um ≥ 300 kV, thử nghiệm phải được thực hiện với điện áp xung đóng cắt có cực tính dương, có giá trị tương ứng cho trong bảng 5, tùy thuộc vào điện áp cao nhất dùng cho thiết bị với mức cách điện danh định.
8.5. Đo điện áp nhiễu tần số rađiô
Máy biến điện áp phải được lắp ráp hoàn chỉnh, ở điều kiện khô, sạch và có nhiệt độ xấp xỉ nhiệt độ phòng thí nghiệm mà ở đó sẽ tiến hành thử nghiệm.
Theo tiêu chuẩn này, thử nghiệm cần được thực hiện trong các điều kiện khí quyển có:
- nhiệt độ từ 10 o C đến 30 o C;
- áp suất từ 0,870 x 105 Pa đến 1,070 x 105 Pa;
- độ ẩm tương đối từ 45 % đến 75 %.
CHÚ THÍCH 1: Các thử nghiệm này có thể thực hiện trong điều kiện khí quyển khác nếu có thỏa thuận giữa nhà chế tạo và người mua.
CHÚ THÍCH 2: Thử nghiệm nhiễu tần số rađiô không áp dụng các hệ số điều chỉnh điều kiện khí quyển theo TCVN 6099-1 (IEC 60060-1).
Các mối nối thử nghiệm và các đầu của mối nối không được là nguồn điện áp nhiễu tần số rađiô.
Cần có tấm che của các đầu nối sơ cấp giống như trong điều kiện làm việc để ngăn ngừa phóng điện giả. Nên sử dụng các đoạn ống có phần kết thúc là hình cầu.
Phải đặt điện áp thử nghiệm lên một trong các đầu nối của cuộn sơ cấp của đối tượng thử nghiệm (Ca) và đất. Khung, vỏ, nếu có, và lõi (nếu được thiết kế để nối đất) cùng với một đầu nối của từng cuộn thứ cấp đều phải nối đất.
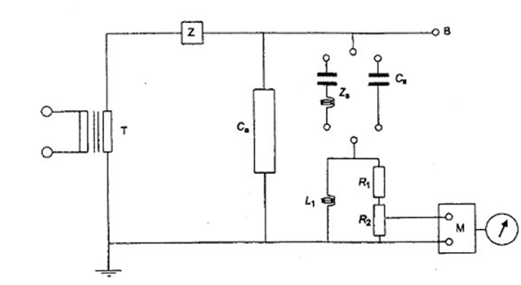
Mạch đo (xem hình 17) phải phù hợp với TCVN 7379-2 (CISPR 18-2). Tốt nhất là mạch đo phải được điều chỉnh về tần số nằm trong dải tần từ 0,5 MHz đến 2 MHz, phải ghi lại tần số đo này. Các kết quả được thực hiện bằng microvôn.
Trở kháng giữa dây dẫn thử nghiệm và đất (Zs + (R1 + R2) theo hình 17) phải là 300 W ± 40 W với góc pha không vượt quá 20o tại tần số đo.
Tụ điện Cs cũng có thể sử dụng vào chỗ của bộ lọc Zs và nói chung, Cs có điện dung 1 000 pF là đủ.
CHÚ THÍCH 3: Có thể cần một tụ điện có thiết kế riêng để tránh tần số cộng hưởng quá thấp.
Bộ lọc Z phải có trở kháng cao tại tần số đo để khử ghép nguồn tần số công nghiệp khỏi mạch đo. Giá trị thích hợp đối với trở kháng này có thể từ 10 000 W đến 20 000 W ở tần số đo.
Mức nền của nhiễu tần số rađiô (nhiễu tần số rađiô được tạo bởi trường bên ngoài và bởi máy biến đổi điện áp cao) phải thấp hơn ít nhất là 6 dB (tốt nhất là 10 dB) so với mức nhiễu tần số rađiô qui định.
CHÚ THÍCH 4: Chú ý để tránh nhiễu từ các vật bên cạnh đến máy biến điện áp và đến phép thử cũng như đến mạch đo.
Phương pháp hiệu chuẩn thiết bị đo và mạch đo được cho trong TCVN 7379-2 (CISR 18-2).
Phải đặt điện áp ứng suất trước có giá trị là 1,5 Um/
và duy trì trong 30 s.
Sau đó giảm điện áp xuống còn 1,1 Um/
trong khoảng 10 s và duy trì ở giá trị này trong 30 s trước khi đo điện áp nhiễu tần số rađiô.
Máy biến điện áp được coi là đạt nếu mức nhiễu tần số rađiô ở 1,1 Um/
không vượt quá giới hạn qui định trong 6.1.6.
CHÚ THÍCH 5: Thử nghiệm RIV như mô tả trên đây có thể được thay bằng phép đo phóng điện cục bộ bằng cách đặt ứng suất trước và điện áp thử nghiệm qui định như trên, nếu có thỏa thuận giữa nhà chế tạo và người mua.
Trong quá trình thực hiện phép đo phóng điện cục bộ theo 9.2 cần loại bỏ tất cả các phòng ngừa để tránh phóng điện ra bên ngoài (tức là tấm che), Trong trường hợp đó, mạch thử nghiệm cân bằng là không thích hợp.
Tuy không chuyển đổi trực tiếp được RIV microvon và picoculong nhưng máy biến điện áp vẫn được coi là đạt thử nghiệm này nếu ở 1,1 Um/
mức phóng điện cục bộ không vượt quá 300 pC.

Chú giải
| T | Máy biến đổi thử nghiệm |
| Cs | Đối tượng thử nghiệm |
| Z | Bộ lọc |
| B | Đầu nối không bị hiện tượng vầng quang |
| M | Máy đo |
| Zs + (R1 + R2) = 300W |
|
| Zs, Cs, L1, R1, R2 xem TCVN 7379-2 (CISPR 18-2) | |
Hình 17 - Mạch đo
9. Thử nghiệm thường xuyên
9.1. Kiểm tra việc ghi nhãn các đầu nối
Phải kiểm tra chứng tỏ rằng việc ghi nhãn các đầu nối là đúng (xem 11.2).
9.2. Thử nghiệm điện áp tần số công nghiệp trên cuộn sơ cấp và phép đo phóng điện cục bộ
9.2.1. Qui định chung
Thử nghiệm điện áp tần số công nghiệp phải được thực hiện phù hợp với TCVN 6099-1 (IEC 60060-1).
Khi thử nghiệm với nguồn riêng rẽ, phải thử trong 60 s.
Đối với thử nghiệm chịu điện áp cảm ứng, tần số của điện áp thử nghiệm có thể tăng cao hơn giá trị danh định để tránh bão hòa lõi sắt. Thời gian thử phải là 60 s. Tuy nhiên, nếu tần số thử nghiệm vượt gấp hai lần tần số danh định thì thời gian thử có thể giảm xuống từ 60 s xuống còn:
Thời gian thử nghiệm (s) = x 60
nhưng tối thiểu là 15 s.
9.2.2. Cuộn dây có điện áp Um < 300 kV
Điện áp thử nghiệm đối với cuộn dây có Um < 300 kV phải phù hợp với giá trị cho trong bảng 4 tùy thuộc vào điện áp cao nhất dùng cho thiết bị.
Khi có sự khác nhau lớn giữa điện áp cao nhất qui định dùng cho thiết bị (Um) và điện áp sơ cấp danh định qui định, điện áp cảm ứng phải được giới hạn ở năm lần điện áp sơ cấp danh định.
9.2.2.1. Máy biến điện áp không nối đất
Máy biến điện áp không nối đất phải chịu các thử nghiệm sau:
a) Thử nghiệm điện áp chịu thử có nguồn riêng rẽ
Điện áp thử nghiệm phải đặt lên tất cả các đầu của cuộn sơ cấp nối với nhau và đất. Khung, vỏ (nếu có), lõi sắt (nếu có đầu nối đất riêng) và tất cả các đầu nối của cuộn thứ cấp phải nối với nhau và nối với đất.
b) Thử nghiệm chịu điện áp cảm ứng
Khi có ý kiến của nhà chế tạo, thử nghiệm phải được thực hiện bằng cách kích thích cuộn thứ cấp với điện áp có biên độ đủ để cảm ứng điện áp thử nghiệm qui định ở cuộn sơ cấp, hoặc kích thích trực tiếp cuộn sơ cấp tại điện áp thử nghiệm qui định.
Đo điện áp thử nghiệm ở phía cao áp trong từng trường hợp. Khung, vỏ (nếu có), lõi sắt (nếu dự kiến nối đất) và một đầu của mỗi cuộn thứ cấp và một đầu của mỗi cuộn sơ cấp phải được nối với nhau và nối đất.
Thử nghiệm có thể được thực hiện bằng cách đặt điện áp thử nghiệm lên từng đầu nối pha trong khoảng nửa thời gian yêu cầu, ít nhất là 15 s cho mỗi một đầu nối.
9.2.2.2. Máy biến điện áp nối đất
Máy biến điện áp nối đất phải chịu các thử nghiệm sau:
a) Thử nghiệm điện áp chịu thử có nguồn riêng rẽ (nếu thuộc đối tượng áp dụng).
Điện áp thử phải có giá trị tương ứng cho trong 6.1.2.2 và phải đưa vào đầu nối được thiết kế để nối đất của cuộn sơ cấp. Khung, vỏ (nếu có), lõi (nếu dùng để nối đất) và tất cả các đầu nối của cuộn thứ cấp phải được nối với nhau và nối đất.
b) Thử chịu quá điện áp cảm ứng
Thử nghiệm phải được thực hiện như qui định trong 9.2.2.1. Đầu nối điện áp của cuộn sơ cấp được thiết kế để nối với đất khi làm việc thì phải nối đất trong suốt quá trình thử nghiệm.
9.2.3. Cuộn dây có điện áp Um ≥ 300 kV
Máy biến đổi phải chịu những thử nghiệm sau:
a) Thử nghiệm điện áp chịu thử khi sử dụng nguồn riêng rẽ (nếu thuộc đối tượng áp dụng).
Điện áp thử nghiệm phải có giá trị tương ứng cho trong 6.1.2.2 và thử nghiệm phải được thực hiện như qui định trong 9.2.2.2.
b) Thử chịu điện áp cảm ứng
Điện áp thử nghiệm phải có giá trị tương ứng trong bảng 6, tùy thuộc vào điện áp chịu xung sét danh định. Thử nghiệm phải được thực hiện như qui định trong 9.2.2.2.
9.2.4. Phép đo phóng điện cục bộ
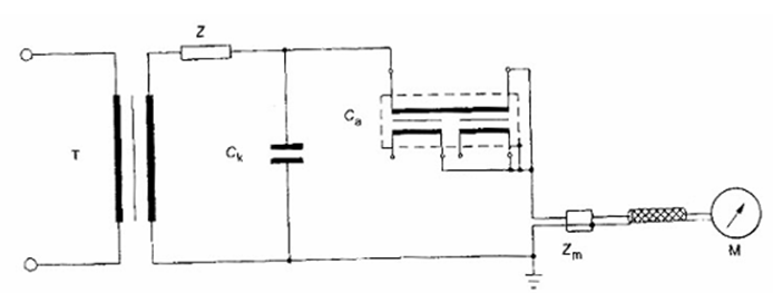
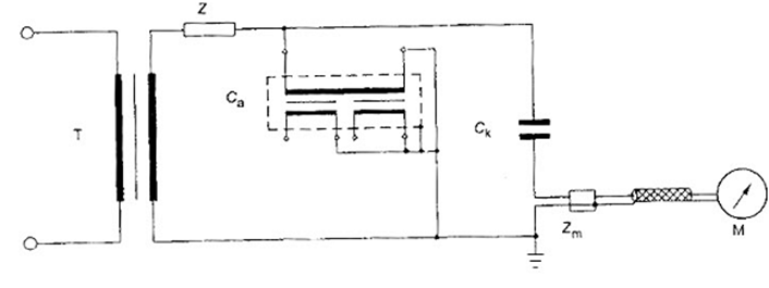
9.2.4.1. Mạch thử nghiệm và thiết bị đo
Mạch thử nghiệm và thiết bị đo phải theo IEC 60270. Một số ví dụ về mạch đo thể hiện trên các hình từ hình 2 đến hình 5.
Thiết bị đo phải đo được điện tích nạp biểu kiến q, tính bằng pico culong (pC). Việc hiệu chuẩn thiết bị đo phải được thực hiện trong mạch thử nghiệm (xem ví dụ trên hình 5).
Thiết bị đo băng tần rộng phải có độ rộng băng ít nhất là 100 kHz, có tần số ngưỡng trên không vượt quá 1,2 MHz.
Thiết bị đo băng tần hẹp phải có tần số cộng hưởng nằm trong dải từ 0,15 MHz đến 2 MHz. Giá trị ưu tiên nên ở dải từ 0,5 MHz đến 2 MHz nhưng nếu có thể thì phép đo cần được thực hiện ở tần số cho độ nhạy cao nhất.
Độ nhạy phải ở mức cho phép phát hiện được mức phóng điện cục bộ 5 pC.
CHÚ THÍCH 1: Tạp phải ở mức thấp hơn đáng kể so với độ nhạy. Các xung nhận biết được hình thành từ nhiễu bên ngoài có thể được bỏ qua.
CHÚ THÍCH 2: Để chặn tạp từ bên ngoài mạch thử nghiệm thích hợp là mạch thử nghiệm bằng (xem hình 4). Việc sử dụng tụ ghép để cân bằng mạch điện có thể không đủ để loại nhiễu bên ngoài.
CHÚ THÍCH 3: Khi sử dụng mạch xử lý tín hiệu bằng điện tử và mạch phục hồi để giảm tạp nền, mạch này phải được chứng tỏ bằng cách thay đổi tham số của nó để cho phép tách các xung xuất hiện lặp lại.
9.2.4.2. Qui trình thử nghiệm đối với máy biến điện áp nối đất
Sau khi đặt ứng suất trước theo qui trình A hoặc qui trình B, đạt được điện áp thử nghiệm phóng điện cục bộ qui định trong bảng 7 rồi đo mức phóng điện cục bộ tương ứng trong vòng 30 s.
Phóng điện cục bộ đo được không được vượt quá các giá trị cho trong bảng 7.
Qui trình A: Điện áp thử nghiệm phóng điện cục bộ đạt được trong khi giảm điện áp sau thử nghiệm chịu điện áp cảm ứng.
Qui trình B: Thử nghiệm phóng điện cục bộ được thực hiện sau thử nghiệm chịu điện áp cảm ứng. Điện áp này được tăng đến 80 % điện áp chịu thử cảm ứng, duy trì trong thời gian không nhỏ hơn 60 s, sau đó giảm, nhưng không làm gián đoạn, về điện áp thử nghiệm phóng điện cục bộ qui định.
Nếu không có qui ước khác thì việc chọn qui trình nào phải có ý kiến của nhà chế tạo. Phương pháp thử nghiệm sử dụng phải được ghi trong báo cáo thử nghiệm.
9.2.4.3. Qui trình thử nghiệm đối với máy biến điện áp không nối đất
Mạch thử nghiệm máy biến điện áp không nối đất phải giống như mạch thử nghiệm của máy biến điện áp nối đất nhưng phải thực hiện hai thử nghiệm bằng cách đặt điện áp luân phiên lên từng đầu nối điện áp cao, còn đầu nối điện áp cao còn lại được nối đến đấu nối điện áp thấp, khung và vỏ (nếu có) (xem các hình từ 2 đến 4).
9.3. Thử nghiệm điện áp tần số công nghiệp giữa các đoạn và trên cuộn thứ cấp
Phải đặt điện áp thử nghiệm có giá trị thích hợp cho trong 6.1.3 và 6.1.4 tương ứng trong 60 s lần lượt giữa các đầu nối ngắn mạch của từng đoạn của cuộn dây hoặc từng cuộn thứ cấp và đất.
Khung, vỏ (nếu có), lõi (nếu dùng để nối đất) và các đầu nối của tất cả các cuộn thứ cấp và đoạn còn lại phải được nối với nhau và nối đất.
10. Thử nghiệm đặc biệt
10.1. Thử nghiệm xung cắt trên cuộn sơ cấp
Thử nghiệm phải được thực hiện chỉ với cực tính âm, và cần kết hợp với thử nghiệm xung sét cực tính âm theo cách mô tả dưới đây.
Điện áp phải là xung sét tiêu chuẩn như định nghĩa trong TCVN 6099-1 (IEC 60060-1), bị cắt giữa 2ms và 5ms. Mạch cắt phải được bố trí sao cho biên độ quá dao động của cực tính ngược của xung thử nghiệm thực tế phải được giới hạn đến khoảng 30 % giá trị đỉnh.
Điện áp thử nghiệm của xung đầy đủ phải có giá trị thích hợp cho trong bảng 4 hoặc bảng 5, tùy thuộc vào điện áp cao nhất dùng cho thiết bị và mức cách điện qui định.
Điện áp thử nghiệm xung cắt phải phù hợp với 6.1.2.4.
Trình tự đặt xung phải như sau:
a) đối với cuộn dây có Um < 300 kV:
- một xung đầy đủ;
- hai xung cắt;
- mười bốn xung đầy đủ.
b) đối với cuộn dây có Um ≥ 300 kV:
- một xung đầy đủ;
- hai xung cắt;
- hai xung đầy đủ.
Sự khác nhau về dạng sóng khi đặt sóng đầy đủ trước và sau khi đặt xung cắt thể hiện một sự cố bên trong.
Bỏ qua phóng điện bề mặt dọc theo cách điện bên ngoài loại không tự phục hồi trong thời gian có xung cắt khi đánh giá hoạt động của cách điện.
10.2. Độ dung kháng và hệ số tổn thất điện môi
Thử nghiệm phải thực hiện theo 6.1.2.5, sau khi thử nghiệm điện áp tần số công nghiệp trên cuộn sơ cấp.
Mạch thử nghiệm phải được thỏa thuận giữa nhà chế tạo và người mua, ưu tiên phương pháp mạch cầu.
Thử nghiệm phải thực hiện với máy biến điện áp ở nhiệt độ môi trường, ghi lại tất cả các giá trị thử nghiệm
10.3. Thử nghiệm về cơ
Thực hiện các thử nghiệm này để chứng tỏ máy biến điện áp kiểu cảm ứng có khả năng phù hợp với các yêu cầu qui định trong 6.3.
Máy biến điện áp phải được lắp ráp hoàn chỉnh, được lắp đặt theo vị trí thẳng đứng, khung được cố định chắc chắn.
Máy biến điện áp loại ngâm trong chất lỏng phải được đổ đầy môi chất cách điện và phải chịu áp suất làm việc.
Phải đặt tải thử nghiệm trong 60 s cho từng tình trạng được chỉ ra trong bảng 10.
Máy biến điện áp được coi là đạt thử nghiệm này nếu không có dấu hiệu hỏng (biến dạng, nứt hoặc rò rỉ).
10.4. Đo quá điện áp truyền dẫn
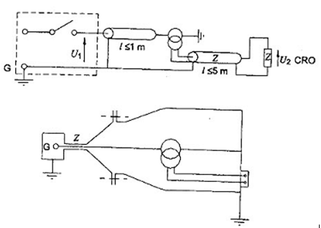
Đặt một xung điện áp thấp (U1) lên một đầu nối sơ cấp và đất.
Đối với máy biến điện áp một pha dùng cho các trạm điện có vỏ bằng kim loại GIS, phải đặt xung qua một cáp đồng trục 50 W theo hình 18. Vỏ của đoạn GIS phải được nối với đất như trong vận hành.
Đối với các ứng dụng khác, mạch thử nghiệm phải như mạch mô tả trong hình 19.
(Các) đầu nối của (các) cuộn thứ cấp được thiết kế để nối đất phải được nối đến khung rồi nối với đất.
Điện áp truyền dẫn (U2) phải được đo tại các đầu nối thứ cấp hở, qua một cáp đồng trục 50 W nối với trở kháng đầu vào 50 W của máy hiện sóng có độ rộng băng tần là lớn hơn hoặc bằng 100 MHz để đọc được giá trị đỉnh.
CHÚ THÍCH: Nhà chế tạo và người mua có thể thỏa thuận phương pháp thử nghiệm khác để dụng cụ đo không phải chịu sự xâm nhập không mong muốn.
Nếu máy biến điện áp có nhiều hơn một cuộn thứ cấp, phải thực hiện các phép đo liên tiếp trên từng cuộn dây.
Trong trường hợp cuộn thứ cấp có các nấc trung gian, chỉ phải thực hiện phép đo trên nấc tương ứng với cuộn dây đầy đủ.
Quá điện áp truyền đến cuộn thứ cấp (Us) ứng với quá điện áp qui định (Up) đặt đến cuộn sơ cấp phải được tính như sau:
Us =
x Up
Trong trường hợp có dao động trên các đỉnh, cần vẽ đường cong trung bình, và biên độ cực đại của đường cong này được coi là giá trị đỉnh U1, dùng để tính điện áp truyền dẫn (xem hình 20).
CHÚ THÍCH: Biên độ và tần số của dao động trên sóng điện áp có thể ảnh hưởng đến điện áp truyền dẫn.
Máy biến điện áp được coi là đạt thử nghiệm này nếu giá trị của quá điện áp truyền dẫn không vượt quá giới hạn nêu trong bảng 14.
Bảng 10 - Phương thức đặt tải thử nghiệm lên các đầu nối sơ cấp loại nối pha
| Loại máy biến điện áp | Phương thức đặt lực | |
| Có đầu nối điện áp | Nằm ngang |
|
| Thẳng đứng |
| |
| Có đầu nối dòng điện | Nằm ngang đến từng đầu nối |
|
|
| ||
| Thẳng đứng đến từng đầu nối |
| |
| CHÚ THÍCH: Tải thử nghiệm phải đặt đến tâm của đầu nối. | ||
11. Ghi nhãn
11.1. Ghi nhãn trên tấm thông số
Tất cả các máy biến điện áp phải có nhãn với các nội dung tối thiểu sau đây:
a) tên của nhà chế tạo hoặc dấu hiệu khác cho phép dễ dàng nhận biết nhà chế tạo;
b) số seri hoặc ấn định kiểu, tốt nhất là cả hai;
c) điện áp sơ cấp và thứ cấp danh định (ví dụ 66/0, 11 kV);
d) tần số danh định (ví dụ 50 Hz);
e) công suất danh định và cấp chính xác tương ứng (ví dụ 50 VA cấp chính xác 1,0);
CHÚ THÍCH: Khi có hai cuộn thứ cấp riêng rẽ, việc ghi nhãn phải thể hiện dải công suất tính bằng VA của từng cuộn thứ cấp, cấp chính xác tương ứng và điện áp danh định của từng cuộn dây.
f) điện áp hệ thống lớn nhất (ví dụ: 72,5 kV);
g) mức cách điện danh định (ví dụ: 140/325 kV);
CHÚ THÍCH: Hai điểm f) và g) có thể ghép vào một nội dung (ví dụ: 72,5/140/325 kV),
Tất cả các thông tin phải được ghi nhãn theo cách không phai mờ được dù ghi trên máy biến điện áp hay trên các tấm thông số được gắn vào máy biến điện áp.
Ngoài ra các thông tin dưới đây có thể bố trí trên máy biến điện áp nếu có thể.
h) hệ số điện áp danh định và thời gian danh định tương ứng;
i) cấp cách điện, nếu khác cấp A;
CHÚ THÍCH: Nếu sử dụng một số cấp chịu nhiệt của vật liệu cách điện thì cần chỉ ra một cấp mà cấp đó giới hạn độ tăng nhiệt.
j) trên máy biến đổi có hai cuộn thứ cấp trở lên, cách sử dụng từng cuộn dây và đầu nối tương ứng của nó.
11.2. Ghi nhãn đầu nối
11.2.1. Qui tắc chung
Việc ghi ký hiệu này áp dụng cho máy biến điện áp một pha và tổ hợp các máy biến điện áp một pha thành máy biến điện áp ba pha hoặc máy biến điện áp ba pha có lõi chung cho cả ba pha.
11.2.2. Nhận biết đầu nối
Việc ký hiệu phải phù hợp với các hình từ hình 6 đến hình 15, tùy theo từng trường hợp.
Chữ cái viết hoa A, B, C và N biểu thị đầu nối của cuộn sơ cấp và chữ cái viết thường a, b, c và n biểu thị đầu nối của cuộn thứ cấp tương ứng.
Các chữ cái A, B và C biểu thị các đầu nối được cách điện hoàn toàn và N biểu thị đầu nối dùng để nối đất và độ cách điện của nó nhỏ hơn độ cách điện của (các) đầu nối khác.
Các chữ cái da và dn biểu thị đầu nối của cuộn dây dùng để cung cấp điện áp dư.
11.2.3. Cực tính liên quan
Các đầu nối có ghi nhãn bằng chữ cái viết hoa và chữ cái viết thường tương ứng phải có cùng cực tính tại cùng một thời điểm.
12. Yêu cầu về độ chính xác đối với máy biến điện áp đo lường một pha kiểu cảm ứng
12.1. Ấn định độ chính xác đối với máy biến điện áp đo lường
Đối với máy biến điện áp đo lường, cấp chính xác được ấn định bởi sai số điện áp lớn nhất cho phép, tính bằng phần trăm tại giá trị điện áp danh định và tải danh định qui định đối với cấp chính xác tương ứng.
12.1.1. Cấp chính xác tiêu chuẩn dùng cho máy biến điện áp đo lường
Cấp chính xác tiêu chuẩn đối với máy biến điện áp đo lường một pha kiểu cảm ứng là:
0,1 - 0,2 - 0,5 - 1,0 - 3,0
12.2. Giới hạn về sai số điện áp và độ lệch pha đối với máy biến điện áp đo lường
Sai số điện áp và độ lệch pha ở tần số danh định không được lớn hơn giá trị cho trong bảng 11 tại bất kỳ giá trị điện áp nào nằm trong phạm vi từ 80 % đến 120 % điện áp danh định và tải nằm trong phạm vi từ 25 % đến 100 % của tải danh định ở hệ số công suất bằng 0,8 điện cảm.
Có thể qui định dải mở rộng của tải đối với máy biến áp có cấp chính xác 0,1 và 0,2 và có tải danh định nhỏ hơn 10 VA. Sai số điện áp và độ lệch pha không được vượt quá các giá trị cho trong bảng 11, khi tải thứ cấp ở giá trị bất kỳ từ 0 VA đến 100 % tải danh định, tại hệ số công suất bằng 1.
CHÚ THÍCH: Yêu cầu này có thể được yêu cầu để chứng nhận độ chính xác của phép đo điện năng.
Sai số phải được xác định tại các đầu nối của máy biến đổi và phải bao gồm cả ảnh hưởng của cầu chảy hoặc điện trở bất kỳ là bộ phận không tách rời của máy biến đổi.
Bảng 11 - Giới hạn sai số điện áp và độ lệch pha của máy biến điện áp đo lường
| Cấp chính xác | Sai số (tỉ số) điện áp tính theo phần trăm ± | Độ lệch pha ± | |
| Phút | Centiradian | ||
| 0,1 | 0,1 | 5 | 0,15 |
| 0,2 | 0,2 | 10 | 0,3 |
| 0,5 | 0,5 | 20 | 0,6 |
| 1,0 | 1,0 | 40 | 1,2 |
| 3,0 | 3,0 | Không qui định | Không qui định |
| CHÚ THÍCH: Khi đặt hàng máy biến điện áp có hai cuộn thứ cấp riêng rẽ, do sự phụ thuộc lẫn nhau của chúng, nên khách hàng phải qui định hai dải công suất cho hai cuộn dây, giới hạn trên của mỗi dải công suất tương ứng với một giá trị công suất danh định chuẩn. Mỗi cuộn dây phải đáp ứng các yêu cầu về độ chính xác tương ứng trong dải công suất của nó, trong khi cuộn dây còn lại có công suất bằng giá trị bất kỳ nằm trong khoảng từ 0 % đến 100 % giới hạn trên của dải công suất qui định cho cuộn dây khác. Để chứng tỏ sự tuân thủ với yêu cầu này, việc thử nghiệm chỉ cần tiến hành tại giá trị cuối là đủ. Nếu không có qui định nào khác thì dải công suất coi như có giá trị từ 25 % đến 100 % của công suất danh định đối với mỗi cuộn dây. Nếu một trong các cuộn dây chỉ thỉnh thoảng mang tải trong thời gian ngắn hoặc nó chỉ được sử dụng như cuộn dây điện áp dư thì ảnh hưởng của nó lên cuộn dây khác có thể bỏ qua. | |||
12.3. Thử nghiệm điển hình đối với độ chính xác của máy biến điện áp đo lường
Để chứng tỏ sự phù hợp với 12.2, thử nghiệm điển hình phải được thực hiện tại 80 %, 100 % và 120 % của điện áp danh định ở tần số danh định và tại 25 % và 100 % tải danh định.
12.4. Thử nghệm thường xuyên đối với độ chính xác của máy biến điện áp đo lường
Thử nghệm thường xuyên đối với độ chính xác, về nguyên tắc giống như thử nghiệm điển hình ở 12.3, nhưng cho phép giảm điện áp và/hoặc tải với điều kiện là lượng giảm đó vẫn được chứng tỏ trên các thử nghiệm điển hình ở máy biến đổi tương tự vẫn đảm bảo sự phù hợp với 12.2.
12.5. Ghi nhãn tấm thông số của máy biến điện áp đo lường
Tấm thông số phải có những thông tin thích hợp phù hợp với 11.1.
Cấp chính xác phải được ghi ngay sau công suất danh định tương ứng (ví dụ 100 VA, cấp 0,5).
Đối với máy biến điện áp có tải danh định không vượt quá 10 VA và có tải mở rộng giảm đến 0 VA, thông số này phải được ghi ngay trước giá trị tải (ví dụ, 0 VA - 10 VA cấp 0,2)
CHÚ THÍCH: Tấm thông số có thể có những thông tin liên quan đến một số phối hợp giữa công suất và cấp chính xác mà máy biến đổi có thể đáp ứng.
13. Yêu cầu bổ sung đối với máy biến điện áp bảo vệ kiểu cảm ứng một pha
13.1. Cấp chính xác đối với máy biến áp bảo vệ
Tất cả các máy biến điện áp dùng để bảo vệ, trừ cuộn dây điện áp dư, phải được ấn định cấp chính xác đo lường phù hợp với 12.1 và 12.2. Ngoài ra, máy biến điện áp còn phải được qui định một trong những cấp chính xác nêu trong 13.1.1.
Cấp chính xác đối với máy biến điện áp bảo vệ được tính theo sai số điện áp lớn nhất cho phép, tính bằng phần trăm đối với cấp chính xác liên quan, từ 5 % điện áp danh định đến điện áp tương ứng với hệ số điện áp danh định (xem 5.3). Cấp chính xác này biểu thị tiếp sau bằng chữ "P".
13.1.1. Cấp chính xác tiêu chuẩn đối với máy biến điện áp bảo vệ
Cấp chính xác tiêu chuẩn đối với máy biến điện áp bảo vệ là "3P" và "6P" và thông thường sẽ áp dụng cùng một giới hạn sai số điện áp và độ lệch pha tại 5 % điện áp danh định và tại điện áp tương ứng với hệ số điện áp danh định. Tại 2 % điện áp danh định, giới hạn sai số lớn gấp hai lần giới hạn sai số tại 5 % điện áp danh định.
Trong trường hợp máy biến điện áp có giới hạn sai số khác nhau tại 5 % điện áp danh định và ở giới hạn điện áp trên (ví dụ điện áp tương ứng với hệ số điện áp danh định 1,2; 1,5 hoặc 1,9) thì phải có thỏa thuận giữa nhà chế tạo và người mua.
13.2. Giới hạn sai số điện áp và độ lệch pha đối với máy biến điện áp bảo vệ
Sai số điện áp và độ lệch pha tại tần số danh định không được vượt quá các giá trị trong bảng 12 ở 5 % điện áp danh định và ở điện áp danh định nhân với hệ số điện áp danh định (1,2, 1,5 hoặc 1,9) cùng với tải trong khoảng từ 25 % đến 100 % tải danh định tại hệ số công suất là 0,8 điện cảm.
Ở 2 % điện áp danh định, các giới hạn sai số và độ lệch pha có tải nằm trong khoảng từ 25 % đến 100 % tải danh định tại hệ số công suất là 0,8 điện cảm sẽ lớn hơn gấp hai lần giá trị cho trong bảng 12.
Bảng 12 - Giới hạn sai số điện áp và độ lệch pha đối với máy biến điện áp bảo vệ
| Cấp chính xác | Sai số (tỉ số) điện áp tính theo phần trăm + hoặc - | Độ lệch pha ± | |
| Phút | Centiradian | ||
| 3P | 3,0 | 120 | 3,5 |
| 6P | 6,0 | 240 | 7,0 |
| CHÚ THÍCH: Khi đặt hàng máy biến điện áp có hai cuộn thứ cấp riêng rẽ, do sự phụ thuộc lẫn nhau của chúng, nên khách hàng phải qui định hai dải công suất cho hai cuộn dây, giới hạn trên của mỗi dải công suất tương ứng với một giá trị công suất danh định chuẩn. Mỗi cuộn dây phải đáp ứng các yêu cầu về độ chính xác tương ứng trong dải công suất của nó, trong khi cuộn dây còn lại có công suất bằng giá trị bất kỳ nằm trong khoảng từ 0 % đến 100 % giới hạn trên của dải công suất qui định cho cuộn dây khác. Để chứng tỏ sự tuân thủ với yêu cầu này, việc thử nghiệm chỉ cần tiến hành tại giá trị cuối là đủ. Nếu không có qui định nào khác thì dải công suất coi như có giá trị từ 25 % đến 100 % của công suất danh định đối với mỗi cuộn dây. | |||
13.3. Điện áp danh định của các cuộn thứ cấp được thiết kế để tạo ra điện áp dư
Điện áp thứ cấp danh định của các cuộn dây được thiết kế để nối vào mạch tam giác hở có các cuộn dây tương tự để tạo ra điện áp dư nêu trong bảng 13.
Bảng 13 - Điện áp danh định của các cuộn thứ cấp được thiết kế để tạo ra điện áp dư
| Giá trị ưu tiên V | Giá trị thay thế (không ưu tiên) V | |
| 100 | 110 | 200 |
|
|
|
|
|
|
|
|
| CHÚ THÍCH: Trong trường hợp hệ thống ở điều kiện mà khi sử dụng giá trị ưu tiên của điện áp thứ cấp danh định chỉ tạo ra điện áp dư quá nhỏ thì có thể sử dụng giá trị không ưu tiên nhưng cần có các phòng ngừa về an toàn. | ||
13.4. Công suất của cuộn thứ cấp được thiết kế để tạo ra điện áp dư
13.4.1. Công suất danh định
Công suất danh định của các cuộn dây được thiết kế để nối vào mạch tam giác hở có các cuộn dây tương tự để tạo ra điện áp dư phải được biểu thị bằng vôn ampe và giá trị phải được chọn từ các giá trị qui định trong 5.2.
13.4.2. Công suất giới hạn nhiệt danh định
Công suất giới hạn nhiệt danh định của cuộn dây điện áp dư phải được biểu thị bằng vôn ampe, phải có giá trị là 15, 25, 50, 75, 100 VA và bội số thập phân của chúng, liên quan đến điện áp thứ cấp danh định cùng với hệ số công suất bằng 1. Các giá trị được gạch dưới là các giá trị cần ưu tiên.
CHÚ THÍCH: Vì cuộn dây điện áp dư được nối vào mạch tam giác hở nên các cuộn dây này chỉ mang tải trong điều kiện sự cố.
Khác với định nghĩa trong 2.1.17.2, công suất nhiệt danh định của cuộn dây điện áp dư cần được xem xét trong khoảng thời gian là 8 h.
13.5. Cấp chính xác đối với cuộn thứ cấp được thiết kế để tạo ra điện áp dư
Cấp chính xác đối với cuộn dây điện áp dư phải là 6P như được xác định trong 13.1.1 và 13.2.
CHÚ THÍCH 1: Nếu cuộn dây điện áp dư được sử dụng vào mục đích đặc biệt thì nhà chế tạo và người mua có thể thỏa thuận cấp chính xác tiêu chuẩn khác theo 12.1.1, 12.1.2, 13.1.1 và 13.2.
CHÚ THÍCH 2: Nếu cuộn dây điện áp dư chỉ để sử dụng cho mục đích làm tắt dần thì việc ấn định cấp chính xác là không bắt buộc.
13.6. Thử nghiệm điển hình đối với máy biến điện áp bảo vệ
13.6.1. Thử nghiệm độ tăng nhiệt đối với cuộn dây điện áp dư
Nếu một trong các cuộn thứ cấp được sử dụng làm cuộn dây điện áp dư thì thử nghiệm phải được tiến hành theo 8.1, bắt đầu là thử nghiệm theo 5.4 điểm a) tại 1,2 lần điện áp sơ cấp danh định và ngay sau đó là thử nghiệm theo 5.4 điểm c).
Trong thời gian thử nghiệm ổn định trước với 1, 2 lần điện áp sơ cấp danh định, cuộn dây điện áp dư không mang tải. Trong thời gian thử nghiệm ở 1,9 lần điện áp sơ cấp danh định trong 8 h, cuộn dây điện áp dư phải chịu tải tương ứng với công suất giới hạn nhiệt danh định (xem 13.4.2) trong khi các cuộn dây khác chịu tải danh định.
Nếu có qui định công suất giới hạn nhiệt cho các cuộn thứ cấp khác, thì các thử nghiệm bổ sung phải được thực hiện theo điểm a) của 5.4 ở điện áp sơ cấp danh định nhưng cuộn dây điện áp dư không mang tải.
CHÚ THÍCH: Phép đo điện áp cần thực hiện trên cuộn sơ cấp nếu điện áp thứ cấp thực tế được coi là nhỏ hơn điện áp thứ cấp danh định nhân với hệ số điện áp.
13.6.2. Thử nghiệm độ chính xác
Để chứng tỏ máy biến đổi phù hợp với 13.2, các thử nghiệm điển hình phải thực hiện ở 2 %, 5 % và 100 % điện áp danh định và tại điện áp danh định nhân với hệ số điện áp danh định, ở 25 % và 100 % tải danh định ở hệ số công suất là 0,8 điện cảm.
Khi máy biến đổi có nhiều cuộn thứ cấp, chúng được mang tải như được nêu trong chú thích 13.2.
Cuộn dây điện áp dư không được mang tải trong thời gian thử nghiệm với điện áp đến 100 % điện áp danh định và cho mang tải danh định trong thời gian thử nghiệm với điện áp bằng điện áp danh định nhân với hệ số điện áp danh định.
13.7. Thử nghiệm thường xuyên đối với máy biến điện áp bảo vệ
13.7.1. Thử nghiệm độ chính xác
Thử nghiệm thường xuyên đối với độ chính xác về nguyên tắc giống như các thử nghiệm điển hình nêu trong 13.6.2, nhưng cho phép thử nghiệm thường xuyên được giảm số lần đặt điện áp và/hoặc tải với điều kiện là lượng giảm này được chứng tỏ bằng thử nghiệm điển hình trên một máy biến đổi tương tự vẫn đủ để chứng tỏ phù hợp với 13.2.
13.8. Ghi nhãn tấm thông số của máy biến điện áp bảo vệ
Tấm thông số phải có các thông tin thích hợp theo 11.1.
Cấp chính xác phải được thể hiện ngay sau công suất danh định tương ứng.
Ví dụ về tấm thông số điển hình được cho trong hình 16.

Hệ số này được tính bằng công thức dưới đây:
k = em (H-1000) /8150
trong đó:
| H | là độ cao so với mực nước biển, tính bằng mét; |
| m = 1 | đối với điện áp xung sét và điện áp tần số công nghiệp; |
| m = 0,75 | đối với điện áp xung đóng cắt |
Hình 1 - Hệ số hiệu chỉnh độ cao so với mực nước biển

| T | Máy biến đổi thử nghiệm |
| Ca | Máy biến đổi đo lường cần thử nghiệm |
| Ck | Tụ điện mạch ghép |
| M | Thiết bị đo PD |
| Zm | Trở kháng dùng để đo |
| Z | Bộ lọc (không có nếu Ck là tụ điện của máy biến đổi thử nghiệm) |
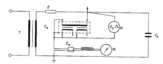
Hình 2 - Mạch thử nghiệm để đo phóng điện cục bộ

Ký hiệu như trong hình 2
Hình 3 - Mạch thử nghiệm thay thế để đo phóng điện cục bộ

| T | Máy biến đổi thử nghiệm |
| Ca | Máy biến đổi đo lường cần thử nghiệm |
| Ca1 | Cụm không bị phóng điện cục bộ phụ (hoặc Ck có ghép nối tụ điện) |
| M | Thiết bị đo PD |
| Zm1 và Zm2 | Trở kháng dùng để đo |
| Z | Bộ lọc |
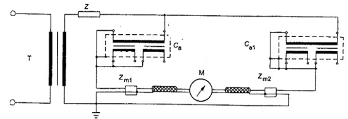
Hình 4 - Ví dụ về mạch thử nghiệm cân bằng để đo phóng điện cục bộ

Ký hiệu như trong hình 2
G Máy phát xung có tụ điện Co.
Hình 5 - Ví dụ mạch điện hiệu chuẩn để đo phóng điện cục bộ
|
|
|
| Hình 6 - Máy biến đổi một pha có các đầu nối được cách điện hoàn toàn và có một cuộn thứ cấp | Hình 7 - Máy biến đổi một pha, sơ cấp nối trung tính có cách điện suy giảm và có một cuộn thứ cấp |

Hình 8 - Cụm ba pha có một cuộn thứ cấp
|
|
|
| Hình 9 - Máy biến đổi một pha có hai cuộn thứ cấp | Hình 10 - Cụm ba pha có hai cuộn thứ cấp |
|
|
|
| Hình 11 - Máy biến đổi một pha có một cuộn thứ cấp nhiều đầu ra | Hình 12 - Cụm ba pha có một cuộn thứ cấp nhiều đầu ra |

Hình 13 - Máy biến đổi một pha có hai cuộn thứ cấp nhiều đầu ra
|
|
|
| Hình 14 - Máy biến đổi một pha có một cuộn dây điện áp dư | Hình 15 - Máy biến đổi ba pha có một cuộn dây điện áp dư |
| Máy biến điện áp | A - N 22000: | ||||
| Nhà chế tạo | 1a - 1n | (2a - 2n) | da - dn | ||
| Số seri............ | 110: |
| 110:3 | ||
| Loại | 50Hz | VA - 25 | 50 |
| 25 |
| 245/460/1050 kV | 1,9 Un 30 s | CI:0,5 | 3P |
| 6P |
Hình 16 - Ví dụ về tấm thông số điển hình

Hình 18 - Phép đo quá điện áp truyền dẫn: mạch thử nghiệm bố trí thử nghiệm GIS

Hình 19 - Đo quá điện áp truyền dẫn: bố trí thử nghiệm chung

Dạng sóng A

Dạng sóng B
Hình 20 - Phép đo quá điện áp truyền dẫn: dạng sóng thử nghiệm
MỤC LỤC
Lời nói đầu
Lời giới thiệu
1 Qui định chung
1.1 Phạm vi áp dụng
1.2 Tài liệu viện dẫn
2 Định nghĩa
2.1 Định nghĩa chung
2.2 Định nghĩa bổ sung đối với máy biến điện áp bảo vệ một pha kiểu cảm ứng
3 Yêu cầu chung
4 Điều kiện vận hành bình thường và điều kiện vận hành đặc biệt
4.1 Điều kiện vận hành bình thường
4.2 Điều kiện vận hành đặc biệt
4.3 Hệ thống nối đất
5 Thông số đặc trưng
5.1 Giá trị tiêu chuẩn của điện áp danh định
5.2 Giá trị tiêu chuẩn của công suất danh định
5.3 Giá trị tiêu chuẩn của hệ số điện áp danh định
5.4 Giới hạn độ tăng nhiệt
6 Yêu cầu về thiết kế
6.1 Yêu cầu về cách điện
6.2 Khả năng chịu ngắn mạch
6.3 Yêu cầu về cơ
7 Phân loại các thử nghiệm
7.1 Thử nghiệm điển hình
7.2 Thử nghiệm thường xuyên
7.3 Thử nghiệm đặc biệt
8 Thử nghiệm điển hình
8.1 Thử nghiệm độ tăng nhiệt
8.2 Thử nghiệm khả năng chịu ngắn mạch
8.3 Thử nghiệm xung trên cuộn sơ cấp
8.4 Thử nghiệm ướt đối với máy biến đổi đặt ngoài trời
8.5 Đo điện áp nhiễu tần số rađiô
9 Thử nghiệm thường xuyên
9.1 Kiểm tra việc ghi nhãn các đầu nối
9.2 Thử nghiệm điện áp tần số công nghiệp trên cuộn sơ cấp và đo phóng điện cục bộ
9.3 Thử nghiệm điện áp tần số công nghiệp đối với máy biến điện áp không nối đất
10 Thử nghiệm đặc biệt
10.1 Thử nghiệm xung cắt trên cuộn sơ cấp
10.2 Đo dung kháng và hệ số tổn thất điện môi
10.3 Thử nghiệm về cơ
10.4 Đo quá điện áp truyền dẫn
11 Ghi nhãn
11.1 Ghi nhãn trên tấm thông số
11.2 Ghi nhãn đầu nối
12 Yêu cầu về độ chính xác đối với máy biến áp đo lường một pha kiểu cảm ứng
12.1 Ấn định cấp chính xác đối với máy biến áp đo lường
12.2 Giới hạn về sai số điện áp và độ lệch pha đối với máy biến áp đo lường
12.3 Thử nghiệm điển hình đối với độ chính xác của máy biến áp đo lường
12.4 Thử nghiệm thường xuyên đối với độ chính xác của máy biến áp đo lường
12.5 Ghi nhãn tấm thông số của máy biến điện áp đo lường
13 Yêu cầu bổ sung đối với máy biến điện áp bảo vệ một pha kiểu cảm ứng
13.1 Ấn định cấp chính xác đối với máy biến áp bảo vệ
13.2 Giới hạn sai số điện áp và độ lệch pha đối với máy biến điện áp bảo vệ
13.3 Điện áp danh định của các cuộn thứ cấp được thiết kế để tạo ra điện áp dư
13.4 Công suất của cuộn thứ cấp được thiết kế để tạo ra điện áp dư
13.5 Cấp chính xác đối với cuộn thứ cấp được thiết kế để tạo ra điện áp dư
13.6 Thử nghiệm điển hình đối với máy biến điện áp bảo vệ
13.7 Thử nghiệm thường xuyên đối với máy biến điện áp bảo vệ
13.8 Ghi nhãn tấm thông số của máy biến điện áp bảo vệ
Các hình vẽ
Bạn chưa Đăng nhập thành viên.
Đây là tiện ích dành cho tài khoản thành viên. Vui lòng Đăng nhập để xem chi tiết. Nếu chưa có tài khoản, vui lòng Đăng ký tại đây!
đối với máy biến đổi nối giữa một pha của hệ thống ba pha và đất) hoặc điện áp sơ cấp danh định nhân với 1,2, chọn giá trị nào thấp hơn.

x Um
x Um


















V