- Tổng quan
- Nội dung
- Tiêu chuẩn liên quan
- Lược đồ
- Tải về
Tiêu chuẩn Quốc gia TCVN 6102:2020 ISO 7202:2018 Phòng cháy chữa cháy - Chất chữa cháy - Bột
| Số hiệu: | TCVN 6102:2020 | Loại văn bản: | Tiêu chuẩn Việt Nam |
| Cơ quan ban hành: | Bộ Khoa học và Công nghệ | Lĩnh vực: | Khoa học-Công nghệ , An ninh trật tự |
|
Ngày ban hành:
Ngày ban hành là ngày, tháng, năm văn bản được thông qua hoặc ký ban hành.
|
31/12/2020 |
Hiệu lực:
|
Đã biết
|
| Người ký: | Đang cập nhật |
Tình trạng hiệu lực:
Cho biết trạng thái hiệu lực của văn bản đang tra cứu: Chưa áp dụng, Còn hiệu lực, Hết hiệu lực, Hết hiệu lực 1 phần; Đã sửa đổi, Đính chính hay Không còn phù hợp,...
|
Đã biết
|
TÓM TẮT TIÊU CHUẨN VIỆT NAM TCVN 6102:2020
Tiêu chuẩn Quốc gia TCVN 6102:2020 - Bột chữa cháy và yêu cầu kĩ thuật
Ngày 31/12/2020, Bộ Công an đã công bố Tiêu chuẩn Quốc gia TCVN 6102:2020, quy định các yêu cầu về bột chữa cháy, thay thế cho TCVN 6102:1996 và hoàn toàn tương đương với ISO 7202:2018. Tiêu chuẩn có hiệu lực ngay từ ngày công bố.
Tiêu chuẩn này áp dụng cho các bột chữa cháy dùng để dập tắt các loại đám cháy A, B, C và D. Nó quy định các yêu cầu về tính chất vật lý, hóa học và hiệu suất tối thiểu của các loại bột chữa cháy.
Yêu cầu về tính chất bột chữa cháy
Thành phần hóa học và công suất chữa cháy: Bột chữa cháy phải được công bố thành phần hóa học, với tỷ lệ phần trăm cho các thành phần chiếm từ 10% trở lên. Công suất chữa cháy của bột phải được xác minh bằng phương pháp thử nghiệm tương ứng với đám cháy loại A, B, C và D.
Khối lượng riêng: Khối lượng riêng của bột phải nằm trong khoảng sai lệch quy định để đảm bảo chất lượng và hiệu quả sử dụng.
Hàm lượng độc hại: Các nguyên liệu và phụ gia sử dụng sản xuất bột chữa cháy phải không gây độc hại cho con người trong điều kiện sử dụng thông thường.
Yêu cầu kỹ thuật và thử nghiệm
Tính chảy và vón cục: Bột phải có khả năng rót chảy tốt và không được vón cục quá mức để đảm bảo hoạt động hiệu quả khi sử dụng trong tình huống chữa cháy.
Khả năng chống ẩm và độ ẩm: Bột chữa cháy phải có độ ẩm không vượt quá 0,25% khối lượng và phải có khả năng chống thấm nước, đảm bảo không bị hấp thụ nước từ môi trường xung quanh.
Đánh giá khả năng chữa cháy: Bột chữa cháy phải được kiểm tra khả năng chữa cháy theo các phương pháp tiêu chuẩn, nhằm đảm bảo hiệu suất trong các tình huống khẩn cấp.
Thông tin ghi nhãn và đóng gói
Nhà sản xuất phải ghi rõ thông tin trên bao bì, bao gồm tên thương mại, phân loại đám cháy, ngày sản xuất, quy định về bảo quản và thành phần hóa học chính của bột chữa cháy.
Đây là những điểm nổi bật của tiêu chuẩn TCVN 6102:2020, giúp đảm bảo các loại bột chữa cháy được sản xuất và sử dụng hiệu quả, an toàn trong công tác phòng cháy chữa cháy.
TIÊU CHUẨN QUỐC GIA
TCVN 6102 : 2020
ISO 7202:2018
PHÒNG CHÁY CHỮA CHÁY - CHẤT CHỮA CHÁY - BỘT
Fire protection - Fire extinguishing media - Powder
Lời nói đầu
TCVN 6102:2020 thay thế TCVN 6102:1996
TCVN 6102:2020 hoàn toàn tương đương với ISO 7202:2018
TCVN 6102:2020 do Cục Cảnh sát Cảnh sát phòng cháy, chữa cháy và cứu nạn, cứu hộ biên soạn, Bộ Công an đề nghị, Tổng cục Tiêu chuẩn Đo lường Chất lượng thẩm định, Bộ Khoa học và Công nghệ công bố.
PHÒNG CHÁY CHỮA CHÁY - CHẤT CHỮA CHÁY - BỘT
Fire protection - Fire extinguishing media - Powder
1 Phạm vi áp dụng
Tiêu chuẩn này quy định các yêu cầu về tính chất vật lý, hóa học và các yêu cầu về hiệu suất tối thiểu, được xác định bằng phương pháp thử nghiệm của các loại bột thích hợp cho việc dập tắt các loại đám cháy A, B, C và D. Tiêu chuẩn cũng quy định những yêu cầu về thông tin và số liệu phải được nhà sản xuất công bố.
CHÚ THÍCH: Phân loại các đám cháy theo TCVN 4878 (ISO 3941).
2 Tài liệu viện dẫn
Các tài liệu viện dẫn sau rất cần thiết cho việc áp dụng tiêu chuẩn này. Đối với các tài liệu viện dẫn có ghi năm công bố thì áp dụng phiên bản được nêu. Đối với các tài liệu viện dẫn không ghi năm công bố thì áp dụng phiên bản mới nhất, bao gồm cả các sửa đổi bổ sung (nếu có).
ISO 3310-1, Kiểm tra bằng rây - Yêu cầu kỹ thuật và thử nghiệm - Phần 1: kiểm tra bằng rây tấm lưới kim loại;
TGVN 8488 (ISO 4788), Dụng cụ thí nghiệm bằng thủy tinh - Ống đong hình trụ có chia độ;
TCVN 7026 (ISO 7165), Chữa cháy - Bình chữa cháy xách tay - Tính năng và cấu tạo.
3 Thuật ngữ và định nghĩa
Những định nghĩa sau đây được sử dụng trong tiêu chuẩn này.
3.1
Mẻ (batch)
Lượng bột của một lần nạp vào thiết bị xử lý mà thiết bị này đã được làm đồng nhất bằng cách đưa vào cùng và xử lý vật lý để cơ quan có thẩm quyền chấp thuận và thử nghiệm kiểm tra.
CHỦ THÍCH: Đây là cho mục đích chấp nhận và xác minh của cơ quan quản lý
3.2
Đặc tính được công bố (characterization statement)
Thông tin và số liệu về tính chất vật lý, hóa học của bột do người sản xuất công bố.
3.3
Bột chữa cháy (extinguishing powder)
Chất chữa cháy được trộn bằng những hóa chất rắn, tán mịn, gồm một hoặc nhiều thành phần chủ yếu kết hợp các chất phụ gia nhằm hoàn thiện các đặc tính của nó.
CHÚ THÍCH 1: Thuật ngữ "bột khô" đôi khi được sử dụng để biểu thị các chất chữa cháy kim loại đặc biệt và thuật ngữ "chất chữa cháy hóa chất khô" dùng để chỉ chất chữa cháy thuộc phạm vi điều chỉnh của tiêu chuẩn này;
CHÚ THÍCH 2: Khi cần biểu thị một loại bột đặc biệt chỉ được chỉ định để chữa loại đám cháy nào thì thêm chữ hoa vào sau thuật ngữ bột. Những chữ hoa sử dụng trong tiêu chuẩn này theo TCVN 4878:2009 (ISO 3941:2007).
VÍ DỤ: "Bột BC” được chỉ định để dập các loại đám cháy B (các chất lỏng hoặc chất rắn có thể hóa lỏng) và loại đám cháy C (chất khí); “Bột ABC” được chỉ định để dập các loại đám cháy A (chất cháy rắn, khi cháy thường kèm theo sự tạo than hồng), loại đám cháy B và loại đám cháy C; "Bột D" được chỉ định để dập tắt đám cháy D (chất cháy kim loại).
3.4.
Lô (lot)
Một lô chứa một hoặc nhiều mẻ, nhưng không quá 25 tấn bột, được sản xuất theo một công thức, theo cùng một quy trình sản xuất trong điều kiện môi trường như nhau.
CHÚ THÍCH: Bất kỳ thay đổi thực sự nào về người sản xuất, về nguồn nhiên liệu hoặc về điều kiện môi trường đều coi bột đó thuộc về một lô hàng khác.
4 Lấy mẫu
Những mẫu dùng để thử phù hợp với tiêu chuẩn này phải là những mẫu đại diện lấy theo phương pháp ngẫu nhiên. Để tránh vón cục, điều cốt yếu là nhiệt độ bột trong thùng chứa ban đầu phải không nhỏ hơn nhiệt độ không khí của môi trường khi lấy mẫu. Bình đựng mẫu không được mở khi chưa có sự cân bằng về nhiệt độ với không khí trong phòng thí nghiệm.
Khi lấy mẫu ở một lô, phải lấy tối thiểu 12 kg bột từ một mẻ ngẫu nhiên. Khi thử một mẻ phải lấy không dưới 2,5 kg bột từ một thùng chứa ngẫu nhiên. Các mẫu đã đã được đánh dấu phân biệt theo cách thích hợp phải đựng vào những chai riêng biệt, khô, kín, không gây phản ứng.
Ngoài các mẫu đó, cơ quan có thẩm quyền có thể yêu cầu lấy thêm mẫu để thử nghiệm kiểm chứng.
CHÚ THÍCH: Một phương pháp lấy mẫu phù hợp được đề cập trong Phụ lục C.
5 Đặc tính và yêu cầu kỹ thuật
5.1 Quy định chung
Tùy theo yêu cầu, nhà sản xuất phải công bố thông tin và số liệu như quy định từ Điều 5.2 đến 5.5. Người sản xuất phải quản lý phép đo thống kê, đảm bảo những trị số được công bố tương đương với những trị số trung bình trong dãy trị số được gắn liền với quá trình sản xuất.
CHÚ THÍCH: Trước hết, đặc tính được công bố nhằm mục đích xác nhận thông tin và cung cấp những trị số tham khảo với các yêu cầu cho phép theo Điều 5.2, 5.3 và 5.4, nhưng cần đặc biệt chú ý Điều 5.5.
5.2 Khối lượng riêng
Khối lượng riêng của bột được xác định theo Điều 13.1. Sai lệch về khối lượng riêng phải trong khoảng ±0,07 g/ml của trị số do nhà sản xuất công bố.
5.3 Phân tích bằng rây
Khi thử bằng phương pháp nêu tại Điều 13.2.2 hoặc Điều 13.2.3, lượng bột còn lại trên rây 40 μm và rây 63 µm so với trị số được công bố không quá ± 8% tổng khối lượng mẫu, và lượng bột còn lại trên rây 125 µm so với trị số được công bố không quá ± 5 % tổng khối lượng mẫu. Phương pháp thử được công bố cùng với kết quả thử.
5.4 Thành phần hóa học
Giá trị đặc tính của các thành phần hóa học phải được hiển thị dưới dạng tỷ lệ phần trăm (tỷ lệ % khối lượng) của tổng thành phần.
Trong thành phần hóa học của bột chữa cháy, phải công bố những thành phần hóa học có tỷ lệ chiếm từ 10 % trở lên. Tổng các thành phần hóa học được công bố của bột chữa cháy phải chiếm lớn hơn hoặc bằng 90 %. Mỗi thành phần hóa học đặc trưng được xác định bởi tên hóa học của nó hoặc là sản phẩm phản ứng của một quá trình hóa học giữa các chất được xác định bởi tên hóa học của nó.
Trong trường hợp công bố theo sản phẩm phản ứng, ví dụ bằng cách tham chiếu đến một bằng sáng chế được công bố. Sai số cho phép về giá trị của các thành phần hóa học công bố cụ thể như sau:
- Không được vượt quá ± 1,0 % của tổng hàm lượng được công bố đối với thành phần hóa học chiếm từ 10 % đến 15 % tổng thành phần của bột chữa cháy.
- Không được vượt quá ± 1,5 % của tổng hàm lượng được công bố đối với thành phần hóa học chiếm từ trên 15 % đến 25 % tổng thành phần của bột chữa cháy.
- Không được vượt quá ± 2,0 % của tổng hàm lượng được công bố đối với thành phần hóa học chiếm từ trên 25 % đến 65 % tổng thành phần của bột chữa cháy.
- Không được vượt quá ± 3,0 % của tổng hàm lượng được công bố đối với thành phần hóa học chiếm trên 65 % tổng thành phần của bột chữa cháy.
CHÚ THÍCH 1: Thí dụ, một thành phần có trị số được công bố là 20 % thì giới hạn cho phép nằm trong khoảng từ 18,5 % đến 21,5 %; một thành phần có trị số được công bố là 80 % thì giới hạn cho phép nằm trong khoảng từ 77 % đến 83 %.
CHÚ THÍCH 2: Sự tương thích giữa bột với bọt tùy thuộc vào thành phần hóa học của bột. Xem thử nghiệm ở Phụ lục A để xác định sự tương thích giữa bọt và bột.
CẢNH BÁO 1 - Ở điều kiện sử dụng thông thường, nguyên liệu và phụ gia dùng để sản xuất bột phải được chứng nhận không gây độc hại cho con người. Ở một số quốc gia, có thể nhà sản xuất phải trình với cơ quan có thẩm quyền toàn bộ các thành phần hóa học cũng như bất kì thay đổi về thành phần hóa học và các chi tiết về phi độc tính;
CẢNH BÁO 2 - Khi trộn lẫn các loại bột (ví dụ Bột ABC và Bột BC) cấu tạo từ nhiều thành phần khác nhau (ví dụ NH4H2PO4, NaHCO3 hoặc CaCO3) và/hoặc trộn lẫn các hợp chất này dưới dạng nguyên liệu thô thành bột đông cứng, khí sinh ra có thể làm gia tăng áp suất lên bình chứa đến mức độ không an toàn. Sự gia tăng áp suất như vậy có thể khiến cho bình chứa bị vỡ, gây thương tích và thiệt hại;
CẢNH BÁO 3 - Các loại bột khi tái sử dụng có thể bị bẩn và bị ẩm. Nếu như tái sử dụng, bột có thể bị vón cục và lưu lượng bột có thể bị gián đoạn trong lúc chữa cháy.
5.5 Hàm lượng Mono Ammonium Phosphate (NH4H2PO4) trong bột ABC
Hàm lượng Mono Ammonium Phosphate (NH4H2PO4) với bột ABC được xác định theo 13.10.
5.6 Tính độc
Những nguyên liệu và phụ gia khác nhau dùng để sản xuất bột chữa cháy phải được công nhận là không gây độc cho con người trong những điều kiện sử dụng bình thường theo quy định của pháp luật hiện hành.
6 Công suất chữa cháy
6.1 Yêu cầu chung
Công suất chữa cháy của bột phải được đánh giá theo phương pháp được đưa ra trong TCVN 7026 (ISO 7165).
6.2 Loại A
Khi thử nghiệm bằng phương pháp trong Điều 13.3.1, bột chữa cháy được người sản xuất xác nhận là thích hợp để chữa đám cháy loại A, phải đạt công suất chữa cháy quy định trong TCVN 7026 (ISO 7165).
6.3 Loại B
Khi thử nghiệm bằng phương pháp trong Điều 13.3.2, bột chữa cháy được người sản xuất xác nhận là thích hợp để chữa đám cháy loại B, phải đạt công suất chữa cháy quy định trong TCVN 7026 (ISO 7165).
6.4 Loại C
Bất cứ loại bột nào đáp ứng được các điều kiện 6.3 cũng được xem như có đủ khả năng dập tắt đám cháy loại C.
CHÚ THÍCH: Không yêu cầu thử nghiệm bột chữa cháy dùng cho đám cháy loại C trong tiêu chuẩn này. Bột chữa cháy thích hợp để chữa cháy đám cháy loại C thì phù hợp với việc sử dụng cho đám cháy loại B hoặc loại AB.
6.5 Loại D
Khi thử nghiệm bằng phương pháp trong Điều 13.3.3, bột chữa cháy được người sản xuất xác nhận là thích hợp để chữa đám cháy loại D, phải đạt công suất chữa cháy quy định trong TCVN 7026 (ISO 7165).
Bột chữa cháy dùng cho đám cháy loại D thường không phù hợp đối với các loại đám cháy khác. Thông thường phải sử dụng các phương tiện trung gian hoặc thiết bị phun chuyên dụng.
7 Kiểm tra tính chảy
Khi thử nghiệm bằng phương pháp trong Điều 13.4, yêu cầu đối với bột chữa cháy về thời gian cháy trung bình của 20 lần đo không được vượt quá 8 s.
8 Chống đóng bánh và vón cục
Khi thử nghiệm bằng phương pháp trong Điều 13.5, phải bảo đảm bột vón cục nếu có đều lọt qua rây 425 μm.
9 Khả năng chống thấm nước
Khi thử nghiệm bằng phương pháp trong Điều 13.6, yêu cầu đối với bột chữa cháy không được hấp thụ hoàn toàn các giọt nước.
10 Độ ẩm
Khi thử nghiệm bằng phương pháp trong Điều 13.7, yêu cầu bột chữa cháy phải có độ ẩm không vượt quá 0,25 % khối lượng.
CHÚ THÍCH 1: Phương pháp phân tích độ ẩm là dùng thước đo độ ẩm hồng ngoại, được điều chỉnh để đưa ra kết quả tương đương với phương pháp trong Điều 13.7.
CHÚ THÍCH 2: Phương pháp khác được mô tả cụ thể ở Phụ lục D.
11 Khả năng cách điện
Khi thử nghiệm bằng phương pháp được quy định trong Điều 13.8, yêu cầu bột chữa cháy phải có độ bền điện môi không dưới 5 KV.
Không cần thử nghiệm thông số này đối với bột chữa cháy loại D.
12 Hút ẩm
Khi thử nghiệm bằng phương pháp trong Điều 13.9, trong khoảng thời gian 48 h mức độ tăng khối lượng của bột khô bão hòa đặt ở môi trường có nhiệt độ 30 °C và độ ẩm tương đối 60 % tăng nhỏ hơn 2 % so với đặt ở môi trường có nhiệt độ 30 °C và độ ẩm tương đối 80 %.
13 Phương pháp thử
13.1 Khối lượng riêng
13.1.1 Thiết bị
13.1.1.1 Ống đong hình trụ bằng thủy tinh có nắp đậy, dung tích 250 ml, phù hợp với TCVN 8488 (ISO 4788), có chiều cao xấp xỉ 320 mm và đường kính trong xấp xỉ 40 mm.
13.1.1.2 Cân, chính xác đến 0,001 g.
CHÚ THÍCH: Xem Điều 5.2.
13.1.2 Tiến hành thử
Cho (100 ± 0,1) g bột vào một ống đong hình trụ bằng thủy tinh 250 ml, sạch, khô và có nút, phù hợp với ISO 4788, cao khoảng 320 mm và có đường kính bên trong khoảng 40 mm. Đậy nút chặt. Quay ống lộn đầu đuôi 10 vòng, mỗi vòng khoảng 2 s. Ngay sau vòng thứ 10, dựng ống thẳng đứng trên một mặt phẳng cho bột lắng xuống trong 180 s. Đọc thể tích bột. Tính khối lượng riêng, Pb theo công thức (1):
|
| (1) |
Trong đó:
m là khối lượng bột (tức là 100 g);
v là thể tích đo được.
CHÚ THÍCH 1: Hiện tượng tĩnh điện có thể gây khó khăn cho việc thử loại bột có chứa stearates. Có thể giảm bớt trở ngại đó bằng cách thử loại bột được silicon hóa trước đó;
CHÚ THÍCH 2: Sau khi bảo quản lâu, khối lượng riêng có thể tăng lên.
13.2 Phân tích bằng rây
13.2.1 Tổng quát
Hai phương pháp ở 13.2.2 và 13.2.3 có thể cho kết quả khác nhau không nhiều.
CHÚ THÍCH: Xem Điều 5.3.
13.2.2 Phương pháp 1
Khuyến cáo sử dụng bóng rây hoặc hình khối trên mỗi sàn khi sử dụng phương pháp rotap rây.
13.2.2.1 Thiết bị
Thiết bị bao gồm các mục sau:
13.2.2.1.1 Ba chiếc rây có kích thước danh nghĩa là 125, 63 và 40 µm, phù hợp với ISO 3310-1, một cái nắp và một khay đựng. Rây 125 µm đặt trên cùng, đã đậy nắp, rây 40 µm để dưới cùng, dưới rây này để khay đựng.
13.2.2.1.2 Cơ cấu lắc rây, có thể làm chuyển động cả bộ rây theo hình elip nằm ngang và cứ tới lần hành trình thứ 9 thì lại có một lần va đập từ rây dưới cùng tới rây trên cùng.
13.2.2.2 Tiến hành thử
Cân 20 g bột chính xác tới ± 0,02 g cho vào rây trên cùng. Lắp rây vào cơ cấu lắc và lắc trong 10 min. Cân lượng bột còn lại trên mỗi rây và ghi lại số phần trăm lượng bột còn lại trên mỗi rây so với khối lượng mẫu ban đầu.
13.2.3 Phương pháp 2
13.2.3.1 Thiết bị
Thiết bị bao gồm các mục sau:
13.2.3.1.1 Bộ rây thiết bị, đã tả ở Điều 13.2.2.1.1.
13.2.3.1.2 Thiết bị rây dùng vòi phun không khí để tạo ra một luồng không khí thổi từ trên xuống mặt rây và một luồng không khí thổi ngược lại từ một tay quay đặt bên dưới rây (xem Hình 1).
13.2.3.2 Tiến hành thử
Thực hiện lần lượt ba lần kiểm tra với rây 125 µm, 63 µm và 40 µm.
Tiến hành thử theo chỉ dẫn của người sản xuất thiết bị rây dùng vòi phun không khí. Dùng 20 g bột mẫu và tiến hành thử trong 5 min. Ghi lại số phần trăm bột còn lại trên mỗi rây.

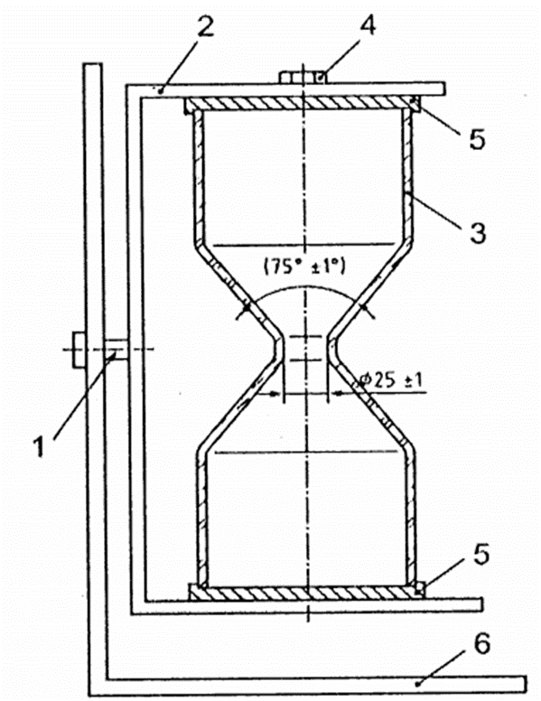
CHÚ DẪN:
1 Rây
2 Tay quay có rãnh ở đỉnh
3 Không khí thổi vào
4 Không khí và các phân tử nhỏ thoát ra
Hình 1 - Cơ cấu rây băng phun không khí
13.3 Thử khả năng chữa cháy
Thử nghiệm khả năng chữa cháy cho bột chữa cháy phải được thực hiện theo tiêu chuẩn TCVN 7026 (ISO 7165).
Đánh giá sự phù hợp khi chữa cháy các loại đám cháy như sau:
13.3.1 Thử chữa cháy loại đám cháy A
Bột chữa cháy được đánh giá về khả năng chữa cháy đối với đám cháy loại A theo như chỉ định trong TCVN 7026 (ISO 7165). Lượng bột sử dụng phải nằm trong phạm vi chỉ định trong TCVN 7026 (ISO 7165) với xếp hạng loại A tương ứng.
CHÚ THÍCH: Một lượng 3 kg bột được yêu cầu sử dụng cho đám cháy có công suất 2A thường được sử dụng cho thử nghiệm.
13.3.2 Thử chữa cháy loại đám cháy B
Bột chữa cháy được đánh giá về khả năng chữa cháy đối với đám cháy loại B theo như chỉ định trong TCVN 7026 (ISO 7165). Lượng bột sử dụng phải nằm trong phạm vi chỉ định trong TCVN 7026 (ISO 7165) với xếp hạng loại B tương ứng.
CHÚ THÍCH: Một lượng 3 kg bột được yêu cầu sử dụng cho đám cháy có công suất 55B thường được sử dụng cho thử nghiệm.
13.3.3 Thử chữa cháy loại đám cháy D
Bột chữa cháy được đánh giá về khả năng chữa cháy đối với đám cháy loại D theo như chỉ định trong TCVN 7026 (ISO 7165). Bột chữa cháy phù hợp cho các đám cháy loại D thường không phù hợp với các loại đám cháy loại khác. Khi thực hiện thử nghiệm cần sử dụng các phương tiện và thiết bị phun chuyên dụng.
13.4 Kiểm tra tính chảy
13.4.1 Dụng cụ
13.4.1.1 Thiết bị kiểm tra lưu lượng (xem Hình 2).
13.4.1.2 Bình thủy tinh (xem Hình 3) và giá đỡ.
13.4.1.3 Cân, chính xác đến 0,001 g.
13.4.1.4 Đồng hồ bấm giờ, chính xác đến 0,1 s
13.4.2 Cách tiến hành
Chuẩn bị 300 g mẫu bột, chính xác đến 0,5 g cho vào bình thủy tinh.
Cố định bình lên giá đỡ, lật bình (đảo chiều) liên tục trong 30 s.
Sau khi mẫu bột bị giữ trong bình ở trạng thái sôi, ghi lại thời gian mẫu bột trôi vào giữa bình. Kiểm tra lại 20 lần, và ghi lại giá trị của cả 20 lần.
13.4.3 Kết quả
Kết quả kiểm tra là giá trị trung bình của 20 lần kiểm tra.
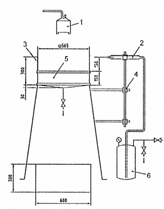
Kích thước tính bằng milimét

Chú dẫn:
| 1 Trục | 4 Ốc cố định |
| 2 Giá đỡ | 5 Nắp bình |
| 3 Bình thủy tinh | 6 Đáy |
Hình 2 - Thiết bị kiểm tra lưu lượng
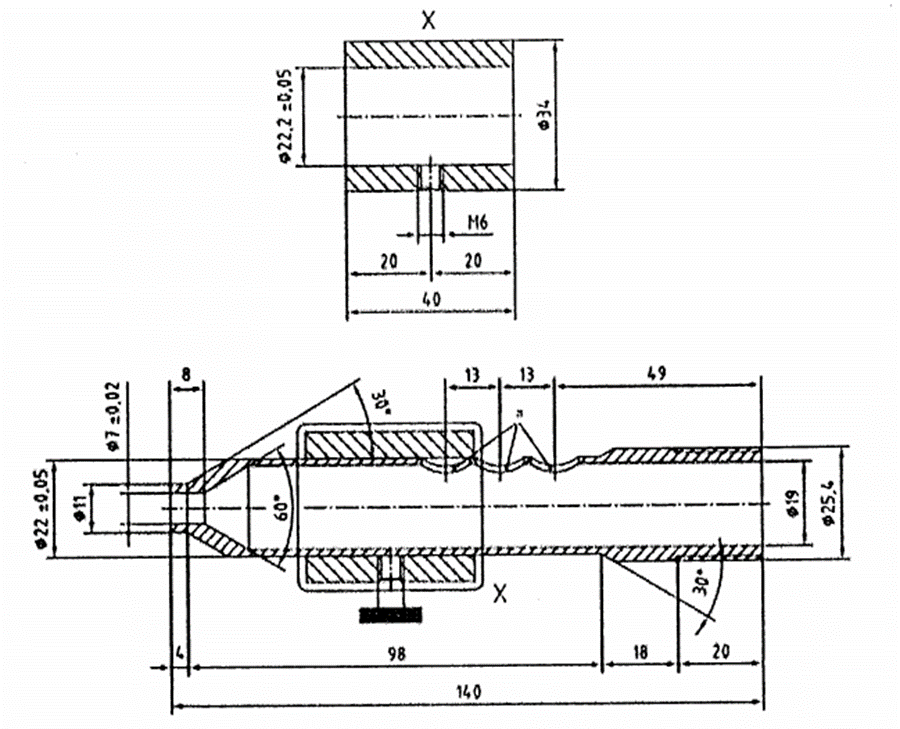
Kích thước tính bằng milimét

Hình 3 - Cấu trúc bình thủy tinh
13.5 Kiểm tra chống đóng bánh và vón cục
CHÚ THÍCH: Xem Điều 8
13.5.1 Dụng cụ
13.5.1.1 Đĩa petri, đường kính xấp xỉ 70 mm, viền cao >10 mm
13.5.1.2 Dao palet
13.5.1.3 Bình hút ẩm với dung dịch Natri clorua bão hòa cho độ ẩm tương đối 75 %
13.5.1.4 Tủ sấy điều chỉnh ở mức (48 ± 3) °C
13.5.1.5 Rây 425 µm theo tiêu chuẩn ISO 3310-1
13.5.1.6 Thìa
13.5.1.7 Một tờ giấy sạch
13.5.1.8 Cân, chính xác đến 0,001 g
13.5.1.9 Đồng hồ bấm giờ, tỷ lệ 0,1 s
13.5.2 Cách tiến hành
Cho một lượng bột đầy tràn đĩa petri, dùng dao palet gạt phẳng bằng mặt vành đĩa. Đặt đĩa petri vào bình hút ẩm ở nhiệt độ (20 ± 5) °C trong khoảng thời gian (24 ± 1) h, sau đó đặt đĩa petri vào tủ sấy trong khoảng thời gian (24 ± 1) h. Sau đó làm mát đĩa petri ở nhiệt độ (20 ± 5) °C trong khoảng thời gian (60 ± 10) min, sau đó mở nắp và úp đĩa Petri lên một tờ giấy trắng.
Để bột trượt vào rây sao cho cục vón không bị vỡ.
Lắc rây quay vòng theo hướng ngang để tách các cục vón khỏi bột sao cho các cục vón không bị vỡ.
Dùng thìa để xúc các cục vón rồi thả từ độ cao (200 ± 10) mm lên tờ giấy sạch đặt trên bề mặt cứng. Để bột trượt vào rây một lần nữa rồi lắc quay vòng theo chiều ngang để tách cục vón bột giống như mô tả trước. Sau bước này không còn cục vón nào trên rây.
13.6 Thử nghiệm khả năng chống hút nước
CHÚ THÍCH: Xem Điều 9
13.6.1 Dụng cụ
13.6.1.1 Đĩa petri, như mô tả ở Điều 13.5.1.1
13.6.1.2 Dao palet
13.6.1.3 Bình hút ẩm, như mô tả ở Điều 13.5.1.3
13.6.2 Cách tiến hành
Cho một lượng bột đầy tràn đĩa petri, dùng dao palet gạt phẳng bằng mặt vành đĩa.
Nhỏ 3 giọt nước (mỗi giọt gần 0,3 ml) lên bề mặt bột tại 3 vị trí khác nhau. Đặt đĩa Petri vào bình hút ẩm trong khoảng thời gian (120 ± 5) min ở nhiệt độ (20 ± 5) °C. Lấy đĩa từ bình hút ẩm ra, kiểm tra, quan sát các giọt nước. Nếu các giọt nước không bị hút hết hoàn toàn là đạt yêu cầu.
13.7 Phương pháp kiểm tra độ ẩm - tính hút ẩm bằng axit sunfuric
13.7.1 Dụng cụ
13.7.1.1 Đĩa petri, như mô tả ở Điều 13.5.1.1
13.7.1.2 Bình hút ẩm chứa axit sunfuric đặc
13.7.1.3 Cân, chính xác đến 0,001 g
13.7.2 Cách tiến hành
Cân 20 g bột có độ chính xác đến ± 0,001 g, cho lượng bột này trên đĩa petri, sau đó đưa đĩa petri vào trong bình hút ẩm ở nhiệt độ (20 ± 3) °C trong khoảng thời gian (48 ± 2) h. Cân lại và tính toán hao hụt trọng lượng. Ghi lại tỷ lệ phần trăm trọng lượng hao hụt so với trọng lượng ban đầu.
13.8 Kiểm tra trị số cách điện
CHÚ THÍCH: Xem Điều 11
13.8.1. Thiết bị
13.8.1.1 Một cốc thử, đại thể như hình 4, được lắp chặt hai điện cực song song, đồng trục nằm ngang mà kết cấu của nó ở bất cứ điểm nào cách các đĩa điện cực thử không dưới 13 mm. Cốc làm bằng vật liệu có độ bền điện môi cao và chống hút ẩm tốt. Đỉnh cốc cao hơn đỉnh các điện cực ít nhất 32 mm. Cốc được chế tạo để có thể dễ dàng tháo điện cực ra lau chùi và đánh bóng, chịu được phương pháp thử ở 13.8.2 và dễ hiệu chỉnh khoảng cách phóng điện. Điện cực là những chi tiết hình đĩa bằng đồng thau đã đánh bóng, đường kính 25 mm, dày ít nhất 3 mm, cạnh rìa thẳng góc với mặt đĩa. Khoảng cách giữa hai điện cực là (2,5 ± 0,01) mm.
13.8.1.2 Máy biến áp, được tiếp điện từ một nguồn điện áp thấp, có điện áp thay đổi một cách liên tục được tới trên 5 kV.
13.8.2. Cách tiến hành
Đổ bột chữa cháy vào cốc thử, cô đọng lại bằng cách thả cốc 500 lần với tần số 1 Hz từ độ cao 15 mm sử dụng máy tác động. Máy tác động truyền xung sốc lặp lại đến cốc bằng cách thả cốc từ độ cao nói trên xuống bề mặt cứng. Khi đập, nếu muốn, có thể để cốc vào trong một cái hộp thích hợp để bảo vệ cốc. Dùng máy điện áp tác động một điện áp vào 2 cực rồi tăng áp lên đều đều cho đến khi xẩy ra đâm xuyên tức là phóng điện liên tục giữa 2 cực. Ghi lại giá trị điện áp phá vỡ độ bền điện môi.

CHÚ DẪN: 1 Điện cực bằng đồng thau cách nhau 2,5 mm.
Hình 4 - Cốc thử tính dẫn điện
13.9 Kiểm tra khả năng hút ẩm
13.9.1 Dụng cụ
13.9.1.1 Đĩa petri, đường kính khoảng 70 mm và chiều cao vành lớn hơn 10 mm.
13.9.1.2 Dao pallet
13.9.1.3 Buồng mô phỏng môi trường, điều chỉnh nhiệt độ ở mức (30 ± 2) °C, độ ẩm tương đối ở mức (60 ± 2) % và (80 ± 2) %
13.9.1.4 Cân, chính xác đến 0,001 g
13.9.1.5 Tủ sấy, kiểm soát ở mức (30 ± 2) °C
13.9.1.6 Bình hút ẩm chứa (38,12 ± 0,1) % axit sunfuric (H2SO4)
13.9.1.7 Bình hút ẩm chứa dung dịch cô đặc (NH4Cl)
13.9.2 Cách tiến hành
Cân chính xác 10 g mẫu thử và đặt lên đĩa Petri. Tán đều sao cho bề mặt bột trở nên mịn và bằng phẳng. Đặt đĩa Petri vào trong tủ sấy ở nhiệt độ 30 °C, điều chỉnh độ ẩm tương đối ở mức 60 %. Cách khác, có thể đặt đĩa petri vào trong bình hút ẩm chứa 38,12% axit sunfuric (H2SO4) ở nhiệt độ 30 °C trong 48 h. Sau khi hoàn thành quá trình phơi chất thử trong vòng 48 h, lấy chất thử khỏi tủ. Cân chính xác lượng mẫu thử (trọng lượng A).
Cân chính xác 10 g mẫu thử và đặt lên đĩa Petri. Tán đều sao cho bề mặt bột trở nên mịn và bằng phẳng. Đặt đĩa Petri vào trong tủ sấy ở nhiệt độ 30 °C, điều chỉnh độ ẩm tương đối ở mức 80 %. Cách khác, có thể đặt đĩa petri vào trong bình hút ẩm chứa 38,12 % axit sunfuric (H2SO4) ở nhiệt độ 30 °C trong 48h. Sau khi hoàn thành quá trình phơi chất thử trong vòng 48 h, lấy chất thử khỏi tủ. Cân chính xác lượng mẫu thử (trọng lượng B).
Tỷ lệ hút ẩm được tính bằng công thức (2):
|
| (2) |
13.10 Phân tích hàm lượng Mono Ammonium Phosphate (NH4H2PO4)
13.10.1 Lấy mẫu
Lấy ít nhất 3 mẫu từ 3 đến 5 vị trí khác nhau, trộn các mẫu với nhau trong thời gian tối thiểu 15 min bằng máy trộn và lấy 200 g mẫu đã trộn đều, đồng nhất để phân tích ở các bước tiếp theo. Nếu bột bị đóng cục thì dùng máy nghiền để tán rời mẫu bột trước khi trộn đồng nhất.
13.10.2 Dụng cụ
13.10.2.1 Cốc 600 ml
13.10.2.2 Bình chia độ 250 ml
13.10.2.3 Máy khuấy
13.10.2.4 Ống burette (ví dụ 50 ml)
13.10.2.5 Máy đo pH, có bù nhiệt độ.
13.10.2.6 Cân phân tích
13.10.2.7 Máy nghiền
CHÚ THÍCH: Máy nghiền được sử dụng để đồng nhất hóa hóa chất khô
13.10.2.8 Máy lọc (ví dụ lưới lọc hoặc phễu có bộ lọc)
13.10.2.9 Kính đồng hồ
13.10.2.10 Ống hút có chia độ 50 ml
13.10.3 Hóa chất
13.10.3.1 KCl
13.10.3.2 NaOH (0,1 mol/l)
13.10.3.3 Nước sạch
13.10.3.4 (CH3)2CO Acetone
13.10.4 Chuẩn bị mẫu
Lấy 2,5 g mẫu bột đổ vào cốc dung tích 600 ml, thêm 10 ml (CH3)2CO và lắc trong thời gian tối thiểu 10 phút. Thêm 150 ml nước khử ion và lắc đều trong thời gian tối thiểu 30 min.
Đậy cốc bằng nắp kính trong suốt và đun ở nhiệt độ (85 ± 5) °C và giữ ổn nhiệt trong thời gian ít nhất 15 min, vẫn khuấy đều. Sau đó đổ dung dịch vào bình chia độ. Sau đó đổ 40 ml nước vào cốc, đun ở nhiệt độ (85 ± 5) °C rồi đổ qua bộ lọc vào bình chia độ. Lặp lại bước này thêm 2 lần nữa để mẫu bột trong cốc được đổ hoàn toàn và bình chia độ.
Sau khi để nguội xuống nhiệt độ trong khoảng 20 °C đến 25 °C. Đậy nắp bình lại và lắc đảo chiều trên dưới ít nhất 10 lần để đồng nhất chất lỏng trước khi lấy mẫu ra khỏi bình để thực hiện các bước tiếp theo.
13.10.5 Định phân
Lấy 50 ml mẫu đổ vào cốc dung tích 250 ml, thêm 20 g KCl và 20 ml nước cất, sau đó đặt que thử của máy đo pH vào dung dịch. Bắt đầu định phân trong khi nhẹ nhàng khuấy đều và ghi lại giá trị pH của dung dịch sau mỗi lần đổ thêm 1 ml dung dịch NaOH.
Khi pH của dung dịch đạt giá trị trong khoảng từ 7,2 đến 7,7 thì dừng việc đổ NaOH.
13.10.6 Đánh giá kết quả
Đưa dữ liệu thu hồi vào biểu đồ khối lượng và pH NaOH. Điểm uốn của đường cong cho thấy điểm tương đương, công thức để tính toán hàm lượng MAP (3):
|
| (3) |
CHÚ THÍCH: Phụ lục E đưa ra một phương pháp thay thế để kiểm tra hàm lượng nhãn và đóng gói mono ammonium phosphate.
14 Ghi nhãn và đóng gói
Khi có thể, nhà sản xuất hoặc nhà cung cấp sẽ ghi chú trên mỗi gói sản phẩm (hoặc trên nhãn gắn chắc chắn vào gói sản phẩm) các thông tin sau:
a) Tên thương mại của sản phẩm đi sau cụm từ “Bột chữa cháy”.
b) Khẳng định ngắn gọn rằng sản phẩm và việc phân loại đám cháy phù hợp với tiêu chuẩn này, ví dụ “Chiếu theo tiêu chuẩn TCVN 6102:2020 (ISO 7202:2018), dùng cho đám cháy loại A,B,C,D”.
c) Ngày sản xuất, thời hạn sử dụng.
d) Xuất xứ của sản phẩm.
e) Tên và địa chỉ của tổ chức, cá nhân chịu trách nhiệm về sản phẩm.
f) Cảnh báo “Đảm bảo sản phẩm tương thích với thiết bị đang dùng”.
g) Thành phần hóa học chính của bột chữa cháy.
h) Các khuyến cáo về điều kiện lưu trữ.
CHÚ THÍCH: Cần đóng gói các loại bột chữa cháy trong các vỏ bao chứa chống va đập và chống ẩm. Nhà cung cấp phải đảm bảo mọi lô hàng được đóng gói sao cho bảo toàn các đặc tính cốt lõi khi cất kho và xử lý theo khuyến nghị của nhà sản xuất.
Phụ lục A
(Tham khảo)
Tính tương thích giữa bột và bọt chữa cháy
CẢNH BÁO: Trong một số trường hợp, bọt và bột chữa cháy có thể không tương thích. Người sử dụng cần biết chắc chắc rằng, bất cứ sự sử dụng kết hợp giữa bột và bọt chữa cháy sẽ dẫn đến việc mất hiệu quả chữa cháy do tác động qua lại bất lợi giữa chúng với nhau khi phun đồng thời hoặc nối tiếp nhau.
CHÚ THÍCH: Dưới đây là phương pháp kiểm tra đánh giá độ tương thích giữa bọt và bột.
A.1 Tổng quan
Có thể dùng phương pháp thử nghiệm chữa cháy quy mô nhỏ sau để kiểm tra độ tương thích giữa bột và bọt chữa cháy.
CHÚ THÍCH: Phương pháp thử nghiệm quy mô nhỏ này được miêu tả trong Điều EN 1568-3:2008, Phụ lục I.
Bài thử nghiệm này được thực hiện với loại bọt dưới đây, và được lặp lại sau khi chất đốt được phủ bột. Nếu thời gian dập lửa lớn hơn hoặc bằng 25 % so với kết quả không dùng bột, thì sự kết hợp bột và bọt có thể coi là không hiệu quả.
Cách khác, cân (500 ± 1) g bột lên một chiếc rây 180 µm, đặt trên tờ giấy hoặc miếng bìa.
Giữ rây trên chất đốt, loại bỏ tấm bìa hoặc tờ giấy. Rắc đều bột chữa cháy lên bề mặt chất đốt từ độ cao (150 ± 10) mm. Thực hiện đốt cháy chất đốt không quá 60 s sau rải bột. Thời gian đợi cháy ở mức 25 % hoặc lớn hơn khi sử dụng bột có nghĩa bột và bọt không tương thích.
A.2 Dụng cụ
A.2.1 Khay lửa tròn bằng đồng thau
Dụng cụ được thể hiện ở Hình A.1, có kích thước như sau:
a) Đường kính trên miệng: (565 ± 5) mm
b) Chiều cao thành khay: (150 ± 5) mm
c) Chiều cao trụ nón: (30 ± 5) mm
d) Độ dày khay: (1,2 ± 0,2) mm
Khay có viền đảo ngược, điểm hút với van ở giữa trụ nón.
CHÚ THÍCH: Khay có diện tích xấp xỉ 0,25 m2, được đỡ bởi khung thép bốn chân, cách mặt đất khoảng 1 m. Khay thường được đặt dưới nắp chụp hút khói, có chức năng hút khói mà không ảnh hưởng đến lửa.
A.2.2 Nồi đồng thau đợi cháy
Dụng cụ có các kích thước sau:
a) Đường kính trong: (120 ± 2) mm
b) Độ sâu: (80 ± 2) mm
c) Độ dày vách: (1,2 ± 0,2) mm, với mép viền được tăng cứng, gắn bốn thanh đỡ ở đế, nâng chiều cao tổng lên (96 ± 2) mm. Gắn 1 sợi dây xích vào vào vành rìa để nâng nồi cháy bằng gậy sắt.
A.2.3 Lăng phun bọt
Lăng phun trong Hình A.2 có lưu lượng 5,0 l/min ở áp suất 7 bar. Lăng được gắn bằng đai và có thể chỉnh để phun bọt từ cạnh bên, nhờ đó có thể điều chỉnh tốc độ chảy của bọt ở đầu ra. Lưu lượng của bọt cũng có thể được điều khiển bằng cách điều chỉnh áp suất tại thùng chứa chất bọt.
A.2.4 Chất đốt
Hỗn hợp hydrocacbon béo có các chỉ tiêu sau:
a) Phạm vi chưng cất: 84 °C đến 105 °C
b) Khác biệt tối đa giữa điểm sôi ban đầu và điểm sôi cuối cùng: 10 °C
c) Lượng chất thơm tối đa: theo tỷ lệ về khối lượng 1 %
d) Mật độ ở 15 °C: (700 ± 20) kg/m3
CHÚ THÍCH 1: Giá trị thông thường của sức căng bề mặt hỗn hợp hydrocacbon béo đo theo tiêu chuẩn ISO 304 ở (20 ± 1) °C là (21 ¸ 22) mN/m
CHÚ THÍCH 2: Các loại chất đốt đạt yêu cầu thông thường là các loại dung môi, thường được gọi là Heptane
A.3 Quy trình thử nghiệm
A.3.1 Điều kiện thử nghiệm
Thực hiện thử nghiệm dưới những điều kiện sau:
a) Nhiệt độ không khí (15 ± 5) °C
b) Nhiệt độ chất đốt (17,5 ± 2,5) °C
c) Nhiệt độ chất bọt (17,5 ± 2,5) °C
A.3.2 Chuẩn bị
Đặt lăng phun bọt theo chiều ngang, cách viền khay (150 ± 5) mm (xem Hình A.1). Chuẩn bị chất bọt theo khuyến nghị của nhà cung cấp về nồng độ, thời gian trộn trước tối đa, độ tương thích với dụng cụ thử nghiệm để tránh làm hỏng các loại bọt khác, v.v...Đặt áp suất phun của lăng 7 bar và điều chỉnh vòng đai sao cho lưu lượng của lăng đạt (0,75 ± 0,25) l/min bằng cách, có thể giảm áp suất vòi nếu cần thiết. Thu thập toàn bộ bọt vào một thùng nhựa trong 6 s, sau đó cân để tính tốc độ chảy. Đặt lăng theo chiều ngang sao cho bọt phun vào trung tâm khay lửa. Ngừng phun bọt. Lau khay và đóng van thoát nước.
A.3.3 Thử nghiệm chữa cháy
Cho (9 ± 0,1) l nhiên liệu (Heptane) vào khay và (0,3 ± 0,01) l nhiên liệu vào nồi đợi cháy.
Sau khi đổ nhiên liệu khoảng (120 ± 2) s, châm lửa và để cháy trong vòng (60 ± 2) s trước khi phun bọt. Phun bọt trong vòng (120 ± 2) s vào giữa khay, ghi lại thời gian từ lúc bắt đầu phun bọt cho đến khi kiểm soát ngọn lửa trong khay 90 %, 99 % và lửa dập tắt hoàn toàn.
Sau khi hoàn thành phun bọt, đốt nhiên liệu trong nồi đợi cháy. Sau khi phun bọt (60 ± 2) s, hạ nồi vào giữa khay bằng gậy sắt, tránh để bọt lọt vào nồi. Ghi lại thời gian từ lúc đặt nồi vào cho đến khi bề mặt khay lửa cháy lại hoàn toàn, đây được tính là thời gian cháy lại.
Kích thước tính bằng milimét

CHÚ DẪN:
| 1 Nồi đợi cháy | 4 Đe định hình |
| 2 Lăng phun bọt chữa cháy | 5 Khay cháy |
| 3 Ván chắn | 6 Dung dịch bọt chữa cháy |
Hình A.1 - Thử nghiệm cháy quy mô nhỏ

CHÚ DẪN:
| 1 Đầu lăng, van rẽ và ống bọc (xem Hình A.3) | 6 Màng cách G (xem Hình A.8) |
| 2 Khớp nối (xem Hình A.4) | 7 Miếng đệm (xem Hình A.9) |
| 3 Ống trộn (xem Hình A.5) | 8 Màng cách P (xem Hình A.10) |
| 4 Ống ổn định (xem Hình A.6) | 9 Đầu vào (xem Hình A.11) |
| 5 Ống venture (xem Hình A.7) |
|
Hình A.2 - Lăng phun bọt chữa cháy với quy mô nhỏ
Kích thước tính bằng milimét

Hình A.3 - Đầu lăng, van rẽ và ống bọc
Kích thước tính bằng milimét

CHÚ DẪN: 1 Cán vân thô
Hình A.4 - Chi tiết 2 - Khớp nối
Kích thước tính bằng milimét

Hình A.5 - Chi tiết 3 - Ống trộn
Kích thước tính bằng milimét

Hình A.6 - Chi tiết 4 - Ống ổn định
Kích thước tính bằng milimét

Hình A.7 - Chi tiết 5 - Ống venture
Kích thước tính bằng milimét

CHÚ DẪN: 1 Màng cách nhìn ngang
Hình A.8 - Chi tiết 6 - Màng cách G
Kích thước tính bằng milimét

Hình A.9 - Chi tiết 7 - Miếng đệm
Kích thước tính bằng milimét

Hình A.10 - Chi tiết 8 - Màng cách P
Kích thước tính bằng milimét

Hình A.11 - Chi tiết 9 - Đầu vào
Phụ lục B
(Tham khảo)
Tính tương hợp và tính tương đương của bột chữa cháy trong thiết bị
Tiêu chuẩn này không đánh giá hiệu quả của bột chữa cháy cùng với thiết bị đặc biệt, cũng không có ý định so sánh hiệu quả của các loại bột chữa cháy khác nhau.
Những thử nghiệm trong Điều 6 chỉ nhằm xác định chất lượng của bột có cao hơn mức tối thiểu có thể chấp nhận hay không và không gợi ý rằng có thể dùng các thử nghiệm ấy để so sánh hiệu quả chữa cháy của các loại bột chữa cháy khác nhau.
Điều quan trọng là một loại bột thỏa mãn các yêu cầu tiêu chuẩn này, muốn được sử dụng cho thiết bị chữa cháy đặc biệt thì phải thử nghiệm như quy định của tiêu chuẩn này hoặc tiêu chuẩn khác có liên quan để đảm bảo hiệu quả chữa cháy.
Phụ lục C
(Tham khảo)
Phương pháp lấy mẫu
Nếu lấy mẫu bột với lượng nhỏ, nên dùng gậy sắt 25 mm (như hình C.1) ở 5 vị trí trở xuống. Độ dài gậy phải theo quy định như trên để có thể rút mẫu tận đáy thùng đựng.
Cắm gậy vào thùng mẫu ở một góc nhất định sao cho đầu mở của cây gậy ở phía bên dưới, sau đó xoay hai hoặc ba lần. Sau khi quay đầu mở lên trên, từ từ rút gậy ra sao cho gậy vẫn chứa đầy bột để cho vào thùng riêng.
Kích thước tính bằng milimét

Hình C.1 - Gậy lấy mẫu
Phụ lục D
(Tham khảo)
Kiểm tra độ ẩm - Hút chân không
D.1 Dụng cụ
D.1.1 Cân, chính xác đến 0,001 g
D.1.2 Bình cân, 50 mm x 30 mm
D.1.3 Bình hút ẩm, đường kính 220 mm
D.1.4 Buồng hút chân không, chính xác đến ± 2 °C
D.2 Quy trình
Chuẩn bị 5 g bột mẫu, chính xác đến 0,2 mg và cho vào bình cân. Bình luôn phải đặt trong trạng thái cân liên tục.
Bỏ nắp bình ra, cho bình vào buồng hút chân không dưới áp suất chân không 0,095 mPa đến 0,096 mPa ở (50 ± 2) °C trong 1 h.
Bỏ bình cân ra khỏi buồng, đặt nắp lên và cho bình vào thùng/bình sấy trong 15 min, sau đó tiến hành cân đo. Giá trị phải chính xác đến 0,2 mg.
Buồng hút chân không phải được đưa về áp suất khí quyển bằng nitơ hoặc không khí khô để tránh nhiễm bẩn độ ẩm xung quanh.
D.3 Kết quả
Kết quả tính X1 theo% độ ẩm:

Trong đó:
m1 là trọng lượng mẫu trước quá trình sấy, tính bằng g;
m2 là trọng lượng mẫu sau quá trình sấy, tính bằng g.
Phụ lục E
(Tham khảo)
Phân tích hàm lượng Mono Ammonium Phosphate (NH4H2PO4)
E.1. Thiết bị
E.1.1 Cân, chính xác đến 0,001 g
E.1.2 Cốc thủy tinh, 200 ml
E.1.3 Bộ lọc thủy tinh, G4
E.1.4 Máy đo pH có bù nhiệt
E.1.5 Bộ lọc
E.1.6 Buret
E.1.7 Thiết bị khuấy
E.2 Hóa chất
E.2.1 Nước cất
E.2.2 Ethanol
E.2.3 Dung dịch nước amoni (15 mol/l)
E.2.4 Dung dịch nước amoni (1,5 mol/l)
E.2.5 Axit sulfuric (0,5 mol/l)
E.3 Chuẩn bị mẫu
Cân chính xác 1 đến 2 g bột khô ABC và cho vào cốc 200 ml. Làm ẩm mẫu với vài ml entanol đủ để bột chỉ được phủ hoàn toàn và hòa tan nó với 70 ml nước cất.
Sau khi thêm 20 ml hỗn hợp Magie clorua (MgCl2) vào dung dịch trên, thêm 10 ml dung dịch amoni (NH3) 15 mol/l, liên tục khuấy để tạo ra sự kết tủa của ammonium magnesium phosphate (NH4MgPO4)
Lọc kết tủa bằng cách sử dụng một bộ lọc thủy tinh (G4) và rửa lọc 3 lần với dung dịch nước amoni 1,5 mol/l và 5 lần với 70 % dung dịch etanol.
CHÚ THÍCH: Điều quan trọng là chuyển lượng kết tủa. Bất kỳ thiếu sót nào khi thực hiện sẽ ảnh hưởng đến kết quả.
E.4 Chuẩn độ
Chuyển chất kết tủa vào một cốc 200 ml. Thêm 150 ml nước cất và đồng nhất hỗn hợp bằng cách khuấy, chuẩn độ phân tán với axit sulfuric 0,5 m/l đến điểm trung hòa của nó (pH = 4.2) bằng cách sử dụng một máy đo độ pH.
E.5 Đánh giá kết quả
Báo cáo dữ liệu về pH trên khối lượng H2SO4. Công thức tính MAP (E1):
|
| (E.1) |
Trong đó:
x là khối lượng của H2SO4 0,5 mol/l, đơn vị là ml;
F là chuẩn độ của H2SO4 0,5 mol/l;
Sample là trọng lượng của mẫu bột hóa chất khô, đơn vị là g;
C là hàm lượng NH4H2PO4, %.
CHÚ THÍCH: hỗn hợp magiê: hỗn hợp từ 100 g magiê clorua (MgCl2) và tạo dung dịch bằng cách thêm 50 ml nước ammonium và 100 g amoni clorua (NH3). Pha loãng đến 1 000 ml bằng cách thêm nước.
THƯ MỤC TÀI LIỆU THAM KHẢO
[1] ISO 304, Các chất hoạt tính trên bề mặt - Xác định sức căng bề mặt bằng màng lỏng
[2] ISO 2591-1, Rây thử nghiệm - Phần 1: Các phương thức dùng rây thử nghiệm từ vải dây dệt và tấm kim loại có lỗ
[3] ISO 3941, Phân loại các đám cháy
[4] ISO 11601, Phòng cháy chữa cháy - Bình chữa cháy có bánh xe - Hiệu năng và chế tạo
[5] EN 1568-3:2008, Phương tiện phòng cháy chữa cháy - Chất bọt cô đặc - Phần 3: Thông số kỹ thuật của các chất bọt cô đặc giãn nở thấp áp dụng trong việc láng bề mặt lên các chất lỏng không lẫn nước.
Bạn chưa Đăng nhập thành viên.
Đây là tiện ích dành cho tài khoản thành viên. Vui lòng Đăng nhập để xem chi tiết. Nếu chưa có tài khoản, vui lòng Đăng ký tại đây!



